рефераты
Главная

Рефераты по рекламе

Рефераты по физике

Рефераты по философии

Рефераты по финансам

Рефераты по химии

Рефераты по хозяйственному праву

Рефераты по цифровым устройствам

Рефераты по экологическому праву

Рефераты по экономико-математическому моделированию

Рефераты по экономической географии

Рефераты по экономической теории

Рефераты по этике

Рефераты по юриспруденции

Рефераты по языковедению

Рефераты по юридическим наукам

Рефераты по истории

Рефераты по компьютерным наукам

Рефераты по медицинским наукам

Рефераты по финансовым наукам

Рефераты по управленческим наукам

Психология и педагогика

Промышленность производство

Биология и химия

Языкознание филология

Издательское дело и полиграфия

Рефераты по краеведению и этнографии

Рефераты по религии и мифологии

Рефераты по медицине

Рефераты по сексологии

Рефераты по информатике программированию

Краткое содержание произведений

Реферат: Датчик влажности

Реферат: Датчик влажности

МИНИСТЕРСТВО ОБРАЗОВАНИЯ РОССИЙСКОЙ ФЕДЕРАЦИИ


НОВГОРОДСКИЙ ГОСУДАРСТВЕННЫЙ УНИВЕРСИТЕТ

ИМЕНИ ЯРОСЛАВА МУДРОГО


ДАТЧИК ВЛАЖНОСТИ

Курсовая работа по дисциплине «Датчики физических величин»


а) Доцент кафедры ОЭФ


б) Студент группы 9012

_______ Руппель Д.А.

«__»________2000


Новгород Великий 2000


Содержание


Перечень условных обозначений


5 Основная часть


5.1 Описание физической величины

Для характеристики содержания влаги в материалах применяются две величины: влагосодержание и влажность. Ранее эти величины назывались соответственно абсолютной и относительной влажностью.

Под влагосодержанием и понимается отношение массы влаги М, содержащейся в теле, к массе абсолютно сухого тела M0:


U=M/M0 (1)


Под влажностью W -понимается отношение массы влаги M, содержащейся в теле, к массе влажного ма­териала М1.


W=M/(M+M0) (2)


Иногда эти величины выражают через веса и в про­центах. В таком случае выражения (1) и (2) прини­мают вид:


U%=((P-P0)/P0)*100%


W%=((P-P0)/P)*100%

где Р—вес влажного тела;

Р0вес абсолютно сухого тела.

Для указания содержания влаги в материале может быть применена любая из этих величин. Переход от од­ной величины к другой может быть осуществлен по со­отношениям:


W=U/(1+U) (3)


U=W/(1-W) (4)


Так, например, и=1 соответствует W=0,5. На рис. показана зависимость между U и W, построенная по соот­ношениям (1-4).

В определенных отраслях промышленности для указа­ния содержания влаги в материале применяются влагосодержание U или влажность W в зависимости от устано­вившихся традиций. Большей частью в теоретических исследованиях и расчетах содержание влаги задается влагосодержанием и; в производственных услови­ях в экспериментах для той же цели чаще приме­няют влажность W.

При измерениях влаж­ности необходимо учиты­вать формы ее связи с материалом, а также осо­бенности гигротермического равновесия мате­риала с окружающей воз­душной средой.

Естественные и про­мышленные влагосодержащие материалы отно­сятся к коллоидным, ка­пиллярно-пористым или капиллярно-пористым ко­ллоидным телам. К коллоидным телам принадлежат эластичные гели, студни, желатины, мучное тесто и т. д. Примером капиллярно-пористых тел являются квар­цевый песок, слабо обожженные керамические материалы и т. д. Большинство влажных материалов являются кол­лоидными, капиллярно-пористыми телами. Коллоидные те­ла характеризуются малыми размерами капилляров, близкими к радиусу действия молекулярных сил, и могут рассматриваться в общем случае также как капиллярно-пористые тела. Способность материалов поглощать и отда­вать влагу определяется, с одной стороны, свойствам и твер­дого «скелета» материала, а с другой - формой связи с ним влаги. На первую группу свойств наибольшее влияние оказывают размеры капилляров. Разли­чает три группы капиллярно-пористых тел: микрокапил­лярные, макрокапиллярные и гетеропорозные. У первых радиус капилляров меньше 10-5 см, у вторых - больше этой величины, у третьих - капилляры имеют разные размеры. На перенос влаги внутри капиллярно-пористых тел влияют также форма капилляров, их расположение и соединение, а также механические свойства материалов.

Наиболее полная классификация форм связи влаги с ма­териалом дана П. А. Ребиндером, исходя из интенсивности форм связи. В зависимости от энергии, необходимой для удаления влаги из тела, связи делятся на химические, фи­зико-химические и физико-механические. К первой группе относятся наиболее сильные связи: ионная и молекулярная. При этих формах связи вода как таковая исчезает и ее мо­лекулы входят в состав нового вещества (гидратная вода). Химически связанная влага резко отличается по своим свойствам от свободной; ее нельзя удалить сушкой или отжатием.

К физико-химическим связям относятся адсорбционная и осмотическая связи. Первая характерна для гидрофиль­ных и гидрофобных тел; удаление влаги происходит испа­рением, десорбцией у гидрофильных тел или дезадсорбцией - у гидрофобных. Осмотическая связь имеет место у растительных клеток с концентрированным раствором, в которые вода проникает из окружающей среды, с менее концентрированным раствором.

При наиболее слабой связи - физико-механической - вода удерживается в неопределенных соотношениях. Связь может иметь структурный характер, например, в студне образующих веществах. В микрокапиллярах связь образуется поглощением воды из влажного воздуха или непосред­ственным соприкосновением материала с водой, в макрокапиллярах—поглощением воды прямым соприкоснове­нием. В обоих случаях вода механически удерживается адсорбционными силами у стенок. Основная масса воды, кроме связанной адсорбционно, сохраняет свои свойства. Условием нарушения связи является действие давления, превосходящего капиллярное. Наконец, связь смешиванием образуется в непористых смачиваемых телах прилипанием воды при ее соприкосновении с поверхностью тела. Удаление влаги, как и при структурной связи, производится испарением.

Разграничение влаги по форме ее связи с сухим мате­риалом представляет сложную задачу, хотя для этого был предложен ряд методов, основанных на использовании из­менения физических (в том числе и электрических) характеристик.


5.2 Описание и выбор метода измерения влажности


Методы измерения-влажности принято делить на пря­мые и косвенные. В прямых методах производится непо­средственное разделение влажного материала на сухое ве­щество и влагу. В косвенных методах измеряется другая величина, функционально связанная с влажностью мате­риала. Косвенные методы требуют предварительной калиб­ровки с целью установления зависимости между влажно­стью материала и измеряемой величиной.


5.2.1 Метод высушивания


Наиболее распространенным прямым методом является метод высушивания, заключающийся в воздушно-тепловой сушке образца материала до достижения равно­весия с окружающей средой; это равновесие условно счи­тается равноценным полному удалению влаги. На практи­ке применяется высушивание до постоянного веса; чаще применяют так называемые ускоренные методы сушки

В первом случае сушку заканчивают, если два последова­тельных взвешивания исследуемого, образца дают одина­ковые или весьма близкие результаты. Так как скорость сушки постепенно уменьшается, предполагается, что при этом удаляется почти вся влага, содержащаяся в образце. Длительность определения этим методом составляет обыч­но от нескольких часов до суток и более. В ускоренных методах сушка ведется в течение определенного, значитель­но более короткого промежутка времени, при повышенной температуре (например, стандартный метод определения влажности зерна сушкой размолотой навески при +130°С в течение 40 мин). В последние годы для ускоренной сушки ряда материалов стали применять инфракрасные лучи, а в отдельных случаях—диэлектрический нагрев (токи высокой частоты). Определению влажности твердых материалов высушиванием присущи следующие методические погрешности:

а) При высушивании органических материалов наряду с потерей гигроскопической влаги происходит потеря лету­чих; одновременно при сушке в воздухе имеет, место погло­щение кислорода вследствие окисления вещества.

б) Прекращение сушки соответствует не полному уда­лению влаги, а равновесию между давлением водяных паров в материале и давлением водяных паров в воздухе.

в) Удаление связанной влаги в коллоидных материалах невозможно без разрушения коллоидной частицы и не до­стигается при высушивании.

г) В некоторых веществах в результате сушки обра­зуется водонепроницаемая корка, препятствующая удалению влаги.

Некоторые из указанных погрешностей можно умень­шить сушкой в вакууме при пониженной температуре или в потоке инертного газа. Однако для вакуумной сушки требуется более громоздкая и сложная аппаратура, чем для воздушно-тепловой.

При наиболее распространенной сушке (в сушильных шкафах) имеются погрешности, зависящие от применяемой аппаратуры и техники высушивания. Так, например, результаты определения влажности зависят от длительности сушки, от температуры и атмосферного давления, при кото­рых протекала сушка. Температура имеет особенно боль­шое значение при использовании ускоренных методов, когда понижение температуры сильно влияет на количество удаленной влаги. На результаты высушивания влияют также форма и размеры бюкс и сушильного шкафа, рас­пределение температуры в сушильном шкафу, скорость движения воздуха в нем, возможность уноса пыли или мелких частиц образца и т. д. Для материалов, подвергаю­щихся перед определением влажности измельчению, боль­шое значение имеет убыль влаги в образце в процессе измельчения. Эта убыль особенно велика, если при размоле имеет место нагрев образца. С другой стороны, возможно поглощение влаги из окружающей среды в промежутках

времени между окончанием сушки и взвешиванием образца.

В итоге высушивание представляет собой чисто эмпири­ческий метод, которым определяется не истинная величина влажности, а некая условная величина, более или менее близкая к ней. Определения влажности, выполненные в неодинаковых условиях, дают плохо сопоставимые резуль­таты. Более точные результаты дает вакуумная сушка, выполняемая обычно в камере при пониженном давлении (25 мм рт. ст. и ниже) до постоянного веса.


5.2.2 Дистилляционный метод


В дистилляционных методах исследуемый об­разец подогревается в сосуде с определенным количеством жидкости, не смешивающейся с водой (бензол, толуол, ксилол, минеральное масло и т. д.), до температуры кипе­ния этой жидкости. Пары, проходя через холодильник, кон­денсируются в измерительном сосуде, в котором измеряет­ся объем, или вес воды. Дистилляционные методы в раз­личных модификациях и с использованием разных конструкций аппаратуры были разработаны для различных материалов, в том числе и для жидких. Однако дистилляционным методам также свойственны многие недостатки. Капли воды, остающиеся на стенках холодильника и тру­бок, вызывают погрешности в определениях. Применяемые растворители, как правило, огнеопасны, а аппаратура хрупка и громоздка.

Методы высушивания и дистилляционные приняты в качестве стандартных методов определения влажности большинства материалов.


5.2.3 Экстракционные методы


Экстракционные методы основаны на (извле­чении влаги из исследуемого образца твердого материала водопоглощающей жидкостью (диоксан, спирт) и определе­нии характеристик жидкого экстракта, зависящих от его влагосодержания: удельного веса, показателя преломления, температуры кипения или замерзания и т.п. В электриче­ских экстракционных методах измеряются электрические свойства (удельное сопротивление, диэлектрическая проницаемость) экстракта. Экстракционные методы дают наилучшие результаты в применении к материалам, мелко измельченным или обладающим пористой структурой, обеспечивающей проникновение экстрагирующей жидкости в. капилляры.


5.2.4 Химический метод


Основой химических (методов является обработка образца твердого материала реагентом, вступающим в химическую реакцию только с влагой, содержащейся в образце. Количество воды в образце определяется по количеству жидкого или газообразного продукта реакции. Наиболее распространенными химическими методами являются карбидный (газометрический) метод и применена реактива Фишера.

В первом методе измельченный образец влажного материала тщательно смешивают с карбидом кальция в избыточном количестве, причем имеет место реакция:

СаС2 + 2Н20 =Са(ОН)2 -\-С2Н2

Количество выделенного ацетиленового газа определяют измерением его объема или по повышению давление в плотно закрытом сосуде. Обычно прибор градуируют эмпирически, так как практически не вся вода участвует в реакции и количество выделенного ацетилена не соответствует уравнению реакции.

Менее распространен химический метод определению влажности по повышению температуры вследствие химической реакции реагента с влагой вещества; чаще всего в качестве реагента используется серная кислота. Повышение температуры смеси карбида кальция с материалом можно использовать также в карбидном методе, так как реакция воды с СаС3 протекает с выделением тепла.

Иногда необходимо раздельное определение «поверхностной» и «внутренней» влажности материала. Кроме способов, основанных на удалении поверхностной влаги силикагелем, фильтровальной бумагой и т. п., можно применить предложенный И. К. Петровым метод, по которому предварительно взвешенную навеску материала опускают в воду измеряют ареометром, отградуированным в грам­мах (для данного материала), силу, действующую на на­веску, н по разности весов навески определяют вес поверх­ностной влаги.


5.2.5 Метод СВЧ-влагометрии

Из методов измерения влажности, применяемых в промышленности, только высокочастотная влагометрия может конкурировать по широ­те использования с СВЧ-методом. Преимуществами СВЧ-влагометрии являются: возможность бесконтактного измерения, относительная просто­та и дешевизна аппаратуры, а в ряде случаев и хорошие метрологические характеристики. Метод основан на измерении электрических параметров датчика с материалом или амплитуды или (и) фазы прошедшей или отра­женной волны в диапазоне до 30 ГГц. Различие высокочастотных и СВЧ-методов вызвано как соизмеримостью длины волны с минимальными характеристическими размерами объекта, так и особенностью поведения связанной воды в гигагерцевом диапазоне.

Одно из уникальных свойств воды - аномально высокая диэлектри­ческая проницаемость, вызванная тем, что оси 0-Н в молекуле воды имеют угол, близкий к 105°. Эта особенность, обусловленная законами квантовой механики, приводит к тому, что даже в отсутствие внешнего электрического поля молекула воды обладает собственным дипольным моментом. Ориентация полярной молекулы во внешнем поле отлична от ориентации неполярной молекулы при электронной или ионной поля­ризации, когда деформируется только электронное облако. При дипольной поляризации молекула поворачивается как единое целое, поэтому на процесс поляризации влияют энергия связи воды со скелетом и температура. Вращение молекулы отстает от вращающего момента, вызванного переменным электромагнитным полем, за счет сил трения, уменьшающих также и амплитуду результирующей поляризации. Это отставание удобно характеризовать временем релаксации, которое для воды равно 0,6*10-11 с (Т = 293 К) и для льда 10"5 с (Т< 273 К) [2.3J. Полимеризация воды со скелетом вблизи поверхности твердой фазы при­водит к увеличению времени релаксации до 10-9—10-7 с. При совпадении частоты внешнего поля с собственной частотой диполей (область диспер­сии) возрастают потери и диэлектрическая проницаемость начинает зависеть от частоты.


5.2.6 Нейтронный метод


Нейтронный метод измерения влажности основан на замедлении быст­рых нейтронов при упругом столкновении их с атомами вещества. Так как массы ядра и нейтрона соизмеримы, то при упругом столкновении происходит уменьшение энергии нейтрона, равное энергии отдачи ядра. При столкновении с легкими атомами, в частности с атомами водорода. потеря энергии может быть весьма значительной. Анизотропный поток быстрых нейтронов, сохраняющий при прохождении через вещество свое первоначальное направление, превращается в изотропный поток тепловых нейтронов, которые можно регистрировать детектором, расположенным в непосредственной близости от источника быстрых нейтронов или в точке, удаленной на некоторое фиксированное расстояние.

В реальных средах, содержащих не только легкие, но и средние (с заря­дом Z > 35) ядра, быстрые нейтроны испытывают как упругие, так и неупругие столкновения, а затем, когда в результате столкновений нейт­рон потеряет большую часть энергии, он начнет терять энергию только на упругих столкновениях. В среде с легкими атомами роль неупругих столкновений значительно слабее. Так, замедляющая способность воды вычислена с учетом кислорода. Несколько большая замедляющая спо­собность у парафина. Высокую замедляющую способность углеводоро­дов объясняет сильное влияние органических примесей на точность при измерении влажности почв нейтронным методом. Используя свойство разной замедленности нейтронов в материалах, создаются нейтронные влагомеры.


5.2.7 Инфракрасные влагомеры


Известно, что в молекуле существуют два основных вида колебаний — валентные и деформационные. Колебания, в условиях которых атомы остаются на осях валентной связи, а расстояния между атомами периодически изменяются, называют валентными. Под деформационными понимают колебания, в условиях которых атомы отходят от оси валентных связей. Поскольку энергия деформационных колебаний значительно меньше энергии валентных колебаний, то деформационные колебания наблюдаются при больших длинах волн.

Валентные и деформационные колебания создают основные, обладаю­щие наибольшей интенсивностью полосы поглощения, а также обертонные полосы, имеющие частоты, кратные основной. Интенсивность обертонных полос поглощения меньше интенсивности основных.

Разграничение спектров по характеру поглощения совпадает с энерге­тическим делением инфракрасной (ИК) области излучений на ближ­нюю область, соответствующую области обертонов, и среднюю, соот­ветствующую области основных колебаний.

Главной особенностью ИК-спектров является то, что поглощение излу­чения зависит не только от молекулы в целом, но и от отдельных групп присутствующих в этой молекуле атомов. Это положение является основополагающим для ИК спектрального анализа вещественного состава и определения количеств тех или иных групп атомов, присутствующих в исследуемом материале.

Получают и исследуют ИК-спектры с помощью специальных прибо­ров — спектрометров или спектрофотометров, в которых излучение ис­точника направляется на исследуемый образец через монохроматор, вы­деляющий из интегрального пучка излучений монохроматическое излу­чение той или иной длины волны.

Излучение, прошедшее через контролируемый материал, улавливает­ся приемником, а сигнал, формируемый приемником, усиливается и об­рабатывается электронным блоком. Обычно в видимой и ближней ИК-областях источниками излучения служат лампы накаливания, а приемника­ми — фоторезисторы, например PbS, GaS, InSb и т.п. В средней и дальней ИК-областях источниками излучений могут быть накапливаемые керами­ческие стержни, а приемниками - термопары, болометры и т.п.

Количественный анализ содержания в контролируемом материале того или иного компонента достаточно прост, если имеется полоса погло­щения данного компонента, не перекрывающаяся полосами поглощения других компонентов. Тогда глубина полосы хорошо коррелируют с кон­центрацией исследуемого компонента.

Прибор обычно регистрирует прозрачность характеризующую отношение потока, прошедшего через вещество, к потоку, падающему на вещество:


5.2.8 Кондуктометрические датчики


Капиллярно-пористые влажные материалы с точки зре­ния физики диэлектриков относятся к макроскопически неоднородным диэлектрикам. Их неоднородность обуслов­лена в первую очередь наличием вкраплений влаги в основ­ной (сухой) материал. Кроме того, подавляющее большин­ство естественных и промышленных материалов неодно­родно по своему химическому составу, содержит примеси, загрязнения и воздушные включения.

Для таких материалов характерно превалирующее влия­ние влажности на электрические свойства материала. Являясь в сухом виде изоляторами с удельным объемным сопротивлением Pv=1010—1015 ом-см и выше, в результа­те увлажнения они становятся проводниками: величина Py понижается до 10-2—10-3 ом-см. Удельное сопротивление изменяется, следовательно, в зависимости от влажности в чрезвычайно широком диапазоне, охватывающем 12—18 порядков. Неоднородность диэлектрика, наличие в нем влаги сказываются не только на величине удельной прово­димости, но и на качественных особенностях электропро­водности: на ее зависимости от температуры и напряжен­ности электрического поля.


5.2.9 Выбор метода


Для моего технического задания наиболее полно подходит кондуктометрический метод измерения влажности.

Метод высушивания очень надежен, но имеет большую погрешность и достаточно ограниченную область применения. Конструкция сушильных шкафов достаточно сложна и дорогостояща.

Дистилляционный метод, как уже оговаривалось, имеет много недостатков, таких как: огнеопасное и хрупкое оборудование, большая погрешность.

Экстракционный метод слишком сложн в своей постановке. Используются расходные материалы.

Химический метод в отличие от других методов учитывает содержание связанной воды в материале, достаточно прост, но использует расходные материалы.

СВЧ-технология измерения влажности надежна, позволяет бесконтактно измерять влажность материала, но по сравнению с кондуктометрическим методом более сложен в исполнении.

Нейтронный метод измерения влажности имеет очень маленькую погрешность (0,3-1%), удобен для измерения влажности почвы, бетона. Но слишком большой объем навески (слой 10-20см или сфера D=15-40см), влияние на показания органических примесей, фоновая радиоактивность, делает его не применимым к текущему техническому заданию.

Инфракрасный влагомер сложен. Требует дополнительное дорогостоящее оборудование (спектрометр, монохроматор).

В отличие от всех выше перечисленных методов кондуктометрические датчики являются очень чувствительными (изменение удельного сопротивления на 10-12 порядков), конструктивно легко выполнимы, не требуют дополнительно дорогостоящих приборов в большей степени отвечает моему техническому заданию, а главное дополнительному условию: измерение влажности сыпучих материалов.


    1. Выбор и описание датчика

Основным требованием, предъявляемым к датчикам электрических влагомеров, является требование воспроизводимости факторов, влияющих на результаты измерения. В связи с этим в некоторых датчиках предусматриваются дополнительные устройства, предназначенные для создания одинаковых условий подготовки или введения образца ма­териала в междуэлектродное пространство. Кроме того, к конструкции датчиков предъявляются и другие требова­ния, как-то: небольшой вес (особенно в переносных влаго­мерах), высокое сопротивление изоляции, которое должно быть в несколько раз выше максимального сопротивления материала между электродами. Последнее требование вле­чет за собой необходимость тщательной очистки и наблю­дения за состоянием изоляции в процессе эксплуатации, особенно при возможности загрязнения или увлажнения изоляции исследуемым материалом.

Для кондуктометрических влагомеров было разработано много конструкций датчиков; ниже рассматриваются наи­более характерные датчики, нашедшие практическое при­менение.


По принципу действия датчики для сыпучих материалов их можно разделить на две группы:

  1. датчики без уплотнения сыпучего материала

  2. дат­чики с принудительным уплотнением материала в между­электродном пространстве.

Основным недостатком датчиков первой группы явля­ется различная степень уплотнения материала между элек­тродами, сильно влияющая па электрические характеристи­ки материала. Скорость и высота падения материала при его введении в датчик, случайные сотрясения и удары по датчику меняют уплотнение. Для получения воспроизводи­мых условий измерения необходимы специальные приспо­собления и соблюдение определенной методики введения образца, обеспечивающие постоянство высоты и скорости падения материала в таких датчиках. Даже при соблюде­нии этих условий электрическое сопротивление материала при низкой влажности (до 12—13%) весьма велико, что несколько усложняет измерение. Еще важнее то обстоя­тельство, что при измерении сопротивления зернистых и кусковых материалов результат измерения зависит от со­стояния поверхности отдельных зерен или кусков (напри­мер, от ее шероховатости, запыленности). Также сильно влияет на результаты гранулометрический состав матери­ала. В этих датчиках трудно получить постоянное сопротив­ление контакта материала с электродами.

По указанным причинам в настоящее время датчики без уплотнения применяются только в автоматических вла­гомерах, где постоянство уплотнения материала обеспечено самим измеряемым объектом и где полностью использу­ются преимущества рассматриваемого типа датчиков — простота конструкции и удобство установки на потоке сы­пучих материалов.

В датчиках неавтоматических кондуктометрических вла­гомеров чаще всего применяют принудительное уплотнение образца сыпучего материала. При сжатии сыпучих матери­алов их проводимость увеличивается вначале достаточно резко; с повышением давления рост проводимости замед­ляется и, начиная с некоторой величины давления, измене­ния давления почти не влияют на величину сопротивления. Для уменьшения влияния колебаний степени уплотнения на результаты измерении нередко приходится применять достаточно высокие давления. В этом заключается ос­новной недостаток датчиков с уплотнением: большие уси­лия деформируют образец и в ряде случаев (например, при измерении влажности зерна) частично его разрушают. Вместо материала в естественном его состоянии объектом измерения становится искусственно спрессованный брикет из этого материала. Электрическое сопротивление такого брикета зависит и от механических свойств материала, таких, как твердость, стекловидность зерна и т. п. При прессо­вании образцов высокой влажности возможен частичный отжим влаги с ее вы­делением на электродах. Кроме того, большие усилия приводят к повышенному износу датчика. Деформация или разрушение образца материала при из­мерении влажности исключают возможность повторного измерения, что также является эксплуатационным недостат­ком.


      1. Влагомер ВП-4


Г. Б. Пузрин предложил в конце 30-х годов конструкцию зерна, в котором постоянная навеска зер­на подвергается сжатию в постоянном объеме с помощью ручного пресса. Эта конструкция была применена, во вла­гомере ВП-4 Г. Б. Пузрина для зерна, нашедшем в последующем значительное распространение в хле­бозаготовительной системе На рис.1 приложения … показана кон­струкция электродного устройства влагомера ВЭ-2, представляющего собой модификацию прибора ВП-4, разработанную в последние годы. Навеска зерна 1 (для пшеницы, ржи, ячменя — 8 г, для овса — 7 г) насыпается в металли­ческий стакан 2. Одним из электродов служит кольцо 3. изолированное от стакана с помощью прокладок 4. Второй, центральный, электрод 5 соединен с корпусом датчика.

Конструкция электродов рассчитана на уменьшение влияния сопротивления торцовых частей брикета зерна. Пуансон 6 служит для уплотнения образца; давление на пуан­сон создает ручной винтовой пресс, снабженный визирным устройством, указывающим предел вращения зажимного винта при каждом прессовании образца. Это устройство должно обеспечить постоянство давления на образец при определениях влажности. Стакан 2 заключен в футляр 7 из диэлектрика, который по замыслу авторов конструкции при выполнении измерения предохраняет датчик от нагре­вания руками лаборанта. У описанного датчика необходимо часто (по инструкции к прибору ВЭ-2 перед каждой сме­ной) проверять правильность установки визирного устрой­ства. Проверка выполняется с помощью контрольного ци­линдра, вставляемого в датчик; в случае необходимости положение визирного устройства корректируется.


      1. Влагомер для порошкообразных материалов


Датчик влагомера английской фирмы Маркони (Приложение … рис.1) Для измельченных порошкообразных материалов состоит из двух основных частей: ручного винтового пресса 1 и элек­тродного устройства 2. Пресс имеет металлическую скобу с накладкой 8 для поддержания датчика рукой, а также опору 4 для установки на столе. Винт через пружину, смонтированную внутри стакана 5, воздействует на толка­тель 6, уплотняющий посредством пуансона 7 образец ма­териала внутри полого цилиндра 8. Электродное устройство имеет два металлических концентрических электрода: 9 и 10, электрод 9 имеет форму кольца, 10—чашечки с круго­вым углублением. Рабочие поверхности электродов распо­ложены в одной плоскости; электроды смонтированы в кор­пусе, снабженном гнездом 11 для подключения к измерительной цепи. В этом датчике в кольцевом круговом зазоре между электродами, разделенными твердым диэлектриком, измеряется сопротивление спрессованной "лепешки" из исследуемого материала Взвешивания навески для определения влажности не тре­буется. Образец испытывается при определенном давлении (около 0,7 кГ/см2), создаваемом при вращении рычага пружина имеет предварительное натяжение.


      1. Датчик влажности для формовочной смеси


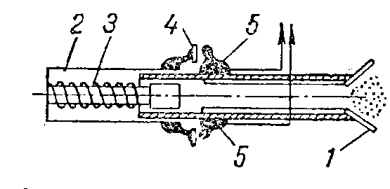
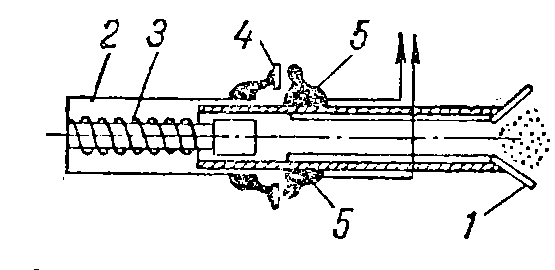
Ограничение силы сжатия материала калиброванной пружиной применено в датчике для формовочной смеси ли­тейного производства (Приложение … рис1). Датчик-щуп имеет электроды в виде наклонных латунных пластинок 1, по­гружаемых в формовочную смесь. По мере погружения электродов смесь уплотняется и ее механическое сопротив­ление возрастает. Давление на рукоятку 2 передается элек­тродам пружиной 3 через шток. При определенном усилии, соответствующем давлению электродов на грунт, равному 0,5 кГ/см2, кольцо 4 замыкает выключатель 5 и вводит электроды в измерительную цепь.


      1. Датчик влажности для зерна


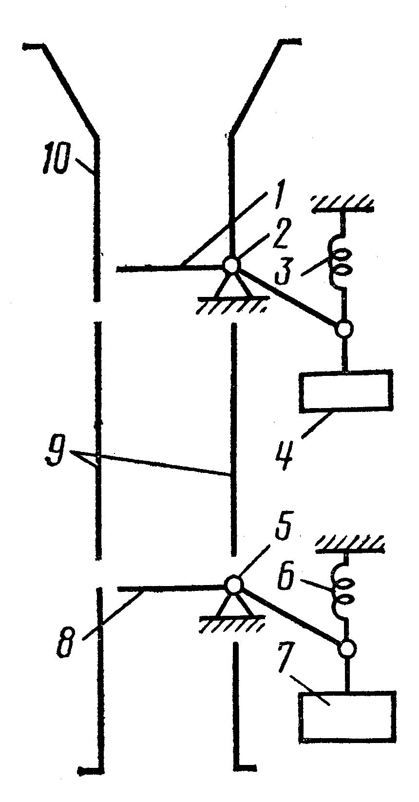
Датчик, применяемый в распространенном в США вла­гомере для зерна типа TAG—Heppenstall, уплотняет сы­пучий материал в узком зазоре между двумя вращающи­мися металлическими валками с рифленой цилиндрической поверхностью. Общин вид датчика показан в Приложении … рис2. Однофазный электродвигатель мощностью 0,25 л. с. враща­ет через редуктор (электродвигатель и редуктор не пока­заны на рисунке) валик 1 со скоростью 32 об/мин; валик 1 электрически соединен со станиной датчика. Второй ва­лик 2 изолирован от корпуса стойками 3 из электроизоля­ционного материала. Валик 2 снабжен пружинящим тру­щимся контактом и ручкой 4 для поворачивания вручную с целью облегчения попадания зерна в зазор или выхода из него. Сцепление между валиками осуществляется через слой материала; последний поступает в зазор между вали­ками из засыпного бункера 5, изготовленного из пластмас­сы. Валики 1 и 2 выполют роль электродов; со­противление слоя сыпучего материала измеряется во время вращения вали­ков. Величины зазора между валиками регули­руются с помощью сменных прокладок 6 в зави­симости от того, какая зерновая культура иссле­дуется. Предельные вели­чины зазора равны 0,6мм для льняного семени и 3 мм для кукурузы. Под валиками установлены два скребка 7 из пластмассы; скребки прижи­маются пружиной 8 к поверхности валиков и очи­щают ее при вращении электродов. Весь датчик смонтирован на станине 9 из чугунного литья, имеющей два винта 10 для закрепления на столе.

Датчик с валками отличается громоздкостью и боль­шим весом и неприменим для мелко измельченных мате­риалов, таких, как мука. В то же время при применении этого датчика результаты измерения не зависят от вели­чины навески; можно использовать большие навески (100— 150 г и больше), значительно лучше отражающие среднюю влажность материала, чем малые навески, используемые в датчике с ручным прессом. Здесь, так же как и в дру­гих датчиках с прессованием материала, на результаты измерения влияет износ электродов, происходящий вслед­ствие больших усилий при прессовании. В датчике с вал­ками вследствие износа изменяются острота нарезки валиков.


      1. Автоматическая влагоизмерительная установка дискретного действия АДВ


Автоматическая влагоконтрольная установка дискретного дей­ствия АДВ предназначена для определения влажности зерна с целью соответствующего его размещения по хранилищам.

При диапазоне влажности пшеницы 10...50% шкала прибора разделена на три части, характеризующие состояние зерна: «Сухое», «Влажное» и «Сырое». Установка работает в стационарных усло­виях при температуре окружающего воздуха —5...+35°С и относи­тельной влажности до 80%, питание от сети переменного тока на­пряжением 220 В.

В состав блок-схемы входит первичный преобра­зователь, который периодически заполняется пробами зерна, отби­раемого из автомашин с помощью пневмопробоотборщика. Преобра­зователем управляет командный прибор.

Показания по­тенциометра дублируют показания измерительного прибора. Пита­ние измерительной схемы установки от системы питания со стабилизированным напряжением.

Имеющееся в составе автоматического потенциометра позицион­ное регулирующее устройство управляет работой печатающего ме­ханизма, с помощью которого на приемных документах фиксируется категория влажности зерна.

В
лияние температуры зерна на электрическую емкость конден­сатора-преобразователя автоматически устраняется с помощью находящегося внутри него термокомпенсатора.

Проба зерна, вынутая из автомашины пневматическим пробо­отборником, в определенном объеме по­падает в приемный бункер 10, выполненный из изоляционного матери­ала, и удерживается в нем заслонкой /, которая устанавливается в горизонталь­ное положение с помощью электромаг­нита 8.

По сигналу, полученному с команд­ного прибора, отключается напряжение питания электромагнита 5, а заслонка 1 под действием пружины 4 и силы тяжести зерна мгновенно поворачивается вокруг своей оси- 2 и устанавливается вдоль стенки бункера 10. Проба зерна при этом попадает в измерительную ячейку кондуктометрического- преобразователя, находящегося между электродами 9. В ячейке зерно удерживается заслонкой 8, которую поднимает и удерживает в горизонтальном положении электромаг­нит 6.

По истечении определенного време­ни, необходимого для измерения и ра­боты печатающего механизма, с элект­ромагнита 6 снимается напряжение пи­тания, заслонка 8 под действием пружи­ны 7 и силы тяжести зерна поворачива­ется вокруг своей оси 5 и преобразова­тель освобождается от зерна. Через не которое время по команде прибора на электромагниты 3 и 6 поступает напряжение питания и они поднимают заслонки 1 и 8. После этого преобразователь готов к приему новой порции зерна.


П
риложение

Рис1 Датчик влажности для зерна с прессованием образца.


П
риложение


Рис.1 Датчик влажности для порошкообразных материалов.


Приложение




Рис.1 Датчик влажности с вращающимися валками.


Приложение А

Р

ис1. Зависимость влажности Fsat от температуры.

Рис2. Семейство характеристик абсолютной и относительной влажности при различных температурах.


П
риложение Б


Рис1 Конструкция датчика влажности на основе LiCl:

1-Платиновый резистор.

2-Стеклоткань c LiCl.

3-Электродная спираль.


Р
ис2 Зависимость температуры переходного состояния tu от точки росы  для датчика влажности на основе LiCl.


П
риложение В


Р
ис1 Принципиальное устройство диэлектрического датчика влажности.


Рис2 Зависимость емкости датчика Cs от относительной влажности Fret.


П
риложение

Рис1 Датчик влажности для зерна с прессованием образца.


П
риложение


Рис.1 Датчик влажности для формовочной смеси.


П
риложение Е


Рис1 Датчик влажности для формовочной смеси.



Рис2 Датчик влажности с вращающимися валками.


П
риложение


Рис.1 Датчик влажности для порошкообразных материалов.


Название, тип

датчика

Назначение

Диапазон измерения % Погрешность измерения %

Температура материала C

Масса, кг

АВ зерна АВЗК-1


Влагомер зерна (полевой) типа ВЗПК-1

Переносной влагомер ВЗМ-1

Экспресс-влагомер типа ВСЛК-1

Влагомер

ВСМК-1М


Влагомер ВП-4


Влагомер для порошкообразных

материалов

Колос-1

Влагомер для формовочной смеси

Измерение и запись влажности зерна

Экспрессное опр. влажности зерна без размола

Опр. влажности зеленой массы (силоса)

Экспресс определение влажности конопли

Экспресс-определение влажности льна, подсолнечника, сои

Измерение влажности ржи, ячменя

Измерение влажности измельченных материалов

Влажность потока зерна

Экспресс-определение влажности бетона, цемента и т.д.

10…30


10…45(пшеница)

15…35(ячмень)


10…90


10..50


5…40


5…30


10…60


10…40

15…80

При влажности до 17% -1, выше -1,5


4


1,5


При влажности 5-17%-1, при 17-25-1,5,выше-3

При влажности 5-15%-1, выше1,5

При влажности

10-20%-1,20-35%-1.5, свыше35%-4

10-20%-1,свыше-1,5

15-25%-1

25-40%-2

40-60%-4,60-80%-7



5…50







10-100



12







2



Таблица 1. Влагомеры.


© 2012 Рефераты, курсовые и дипломные работы.