рефераты
Главная

Рефераты по рекламе

Рефераты по физике

Рефераты по философии

Рефераты по финансам

Рефераты по химии

Рефераты по хозяйственному праву

Рефераты по цифровым устройствам

Рефераты по экологическому праву

Рефераты по экономико-математическому моделированию

Рефераты по экономической географии

Рефераты по экономической теории

Рефераты по этике

Рефераты по юриспруденции

Рефераты по языковедению

Рефераты по юридическим наукам

Рефераты по истории

Рефераты по компьютерным наукам

Рефераты по медицинским наукам

Рефераты по финансовым наукам

Рефераты по управленческим наукам

Психология и педагогика

Промышленность производство

Биология и химия

Языкознание филология

Издательское дело и полиграфия

Рефераты по краеведению и этнографии

Рефераты по религии и мифологии

Рефераты по медицине

Рефераты по сексологии

Рефераты по информатике программированию

Краткое содержание произведений

Реферат: Кодоимпульсные ТИС

Реферат: Кодоимпульсные ТИС

Телеизмерение

Из трех основных телемеханических функций (телеуправление, теле-сигналйзация и телеизмерение) телеизмерение (ТИ) является наиболее сложным, что обусловлено требованием передачи информации с большой точностью. Разнообразие телеизмерений велико. Однако в последние годы наблюдается тенденция в сторону преимущественного применения кодо-импульсных ТИ, что выявляется при анализе современных систем телеме­ханики (см. гл. 15 и 16). Вследствие этого уменьшается использование систем ТИ, основанных на других принципах; так, перестали применять системы интенсивности. В то же время появились новые адаптивные теле­измерения.

Основные понятия

Телеизмерение — получение информации о значениях измеряемых параметров контролируемых или управляемых объектов методами и сред­ствами телемеханики (ГОСТ 26.005—82). В том же ГОСТе даются опре­деления таких понятий.

Телеизмерение по вызову—телеизмерение по команде, посылаемой с пункта управления на контролируемый пункт и вызывающей подключение на контролируемом пункте передающих устройств, а на пункте управления—соответствующих приемных устройств.

Телеизмерение по вызову позволяет использовать одну линию связи (канал телеизмерения) для поочередного наблюдения за многими объек­тами телеизмерения. Диспетчер с помощью отдельной системы телеуп­равления может подключать к каналу телеизмерения желаемый объект телеизмерения. На пункте управления показания можно наблюдать на общем выходном приборе. Если показания имеют различные шкалы, то измеряемые величины подключаются к разным приборам. При телеизмере­нии по вызову можно применять автоматический опрос объектов теле­измерения циклически по заданной программе.

Телеизмерение по выбору—телеизмерение путем подклю­чения к устройствам пункта управления соответствующих приемных приборов при постоянно подключенных передающих устройствах на контролируемых пунктах.

Телеизмерение текущих значений (ТИТ) — получение информации о значении измеряемого параметра в момент опроса устрой­ством телемеханики.

Телеизмерение  интегральных  значений (ТИИ)— получение информации об интегральных значениях измеряемых величин, проинтегрированных по заданному параметру, например времени, в месте передачи.

Последние два определения даются в ГОСТ 26.205—83.

Телеизмерения имеют особенности, отличающие их от обычных электрических измерений, которые не могут быть применены для измере­ния на расстоянии вследствие возникновения погрешностей из-за измене­ния сопротивления линии связи при измерении параметров окружающей среды — температуры и влажности. Даже если бы указанные погреш ности находились в допустимых пределах, передача большого числа показаний потребовала бы большого числа проводов. Кроме того, в неко­торых случаях (передача измерения с подвижных объектов —самолетов, ракет и др.) обычные методы измерения принципиально не могут быть использованы. Методы телеизмерения позволяют уменьшить погрешность при.передаче измеряемых величин на большие расстояния, а также много­кратно использовать линию связи.

Сущность телеизмерения заключается в том, что измеряемая вели­чина, предварительно Преобразованная в ток или напряжение, дополните­льно преобразуется в сигнал, который затем передается по линий связи. Таким-образом, передается не сама измеряемая величина, а эквивалент­ный ей сигнал, параметры которого выбирают так, чтобы искажения при передаче были минимальными. Структурная схема .телеизмерения приве­дена на рис. 13.1. Измеряемая величина х (например, давление газа) преобразуется с помощью датчика (первичного преобразователя) / в электрическую величину z (ток, напряжение, сопротивление, индуктив­ность или емкость). Далее происходит вторичное, телемеханическое преоб­разование: электрическая величина в передатчике 2 преобразуется в сиг­нал С|, который передается в линию связи. На приемной стороне (в прием­нике 3) снова производится преобразование принятого сигнала Сч (он может несколько отличаться от переданного сигнала Ci за счет воздейст­вия помех в линии связи) в значение тока или напряжения, которое экви­валентно измеряемой величине и воспроизводит ее на выходном приборе ВП. Совокупность технических средств, необходимых для осуществления телеизмерений (рис. 13.1), включая датчик / и показывающий прибор 4, называют телеизмерительной системой (СТИ).

Характеристики систем телеизмерения и предъявляемые к ним требо­вания. Главное требование, предъявляемое к СТИ, заключается в том, что она должна обеспечить заданную точность телеизмерения. Поэтому основной характеристикой СТИ является точность. Точность характери­зуется статической погрешностью, или просто погрешностью.

Погрешность — степень приближения показаний приемного прибора к действительному значению измеряемой величины. Погрешность телеизме­рения определяют как максимальную разность между показаниями выход­ного прибора на приемной стороне и действительным значением телеизме-ряемой величины, определяемым по показаниям образцового прибора.

Согласно ГОСТ 26.205—83, классы точности каналов телеизмерения должны быть установлены для устройств и комплексов при цифровом и аналоговом воспроизведении измеряемых параметров из следующего ряда: 0,15; 0.25; 0,4; 6,6; 1,0; 1,5; 2,5.

Абсолютная ос новная погрешность канала теле­измерения устройства (комплекса) — наибольшая разность выходной величины, приведенной к входной в соответствии с градуировочной харак­теристикой, и входной величины:

D=у-х,                                                (13.1) где D - абсолютная погрешность. Значения величин у н х ясны из рис. 13.1.

Относительная погрешность 6' — отношение абсолютной погрешности к действительному значению измеряемой величины, выра­женное в процентах.

Приведенная погрешность 6—отношение абсолютной погрешности к величине диапазона шкалы измерений (Хтаи~Хп,щ):

6=D/(Xmax - Xmin).                                        (13.2)

Абсолютная дoполнительная погрешность канала телеизмерения устройства —наибольшая разность значений входной (выходной) величины при нормальных условиях и при воздействии влияющего фактора (ГОСТ 26.205—83).

Дополнительные погрешности вызываются различными отклонениями от нормальных условий работы, например изменением температуры окру­жающей среды, изменением напряжения питания за допустимые пределы, появлением помех, внешних магнитных полей и т. п.

Согласно ГОСТ 26.205—83, допускается отклонение напряжения пита­ния от плюс 10 до минус 15% (класс устройств АСЗ) и от плюс 15 до минус 20 % (класс устройств АС4) от номинальных параметров пита­ния. Номинальные параметры питания устройств от электрических сетей переменного тока частотой 50 Гц должны быть следующие: напряжение однофазной сети — 220 В; напряжение трехфазной сети — 220/380 В. Допускается отклонение частоты 50 Гц от плюс 2 до минус 2 % (класс 3) и от плюс 5 до минус 5 % (класс 4). Устройства (кроме телеизмеритель­ных устройств систем интенсивности) должны выполнять заданные функ­ции при отклонении уровня сигнала на входе приемного устройства на плюс 50 и минус 50 % от номинального значения входного сигнала.

Телеизмеряемые величины должны воспроизводиться аналоговым или цифровым способом на указывающих или регистрирующих приборах в абсолютных значениях измеряемых величин. Это значит, что если передаваемая величина выражается в тоннах, то, несмотря на все промежуточ­ные преобразования этой величины, неизбежные при передаче, прибор на приемной стороне должен быть отградуирован в тоннах. Лишь в особых случаях допускается воспроизведение телеизмерений в процентах.

Суммирование измеряемых величин. Необходимость суммирования возникает при наличии многих источников одной и той же информации на приемной стороне. В этом случае суммирование осуще­ствляют на передающей стороне. При сильно рассредоточенных объектах и большом числе контролируемых пунктов суммирование телеизмеряемых величин осуществляют на приемной стороне.

Суммируются вспомогательные величины у, в которые преобразуются измеряемые величины х. Поэтому существуют методы суммирования (сло­жения) токов, напряжений, импульсов, магнитных потоков, вращающих моментов, угловых и линейных перемещений, параметров электрических цепей (сопротивлений, емкостей, индуктивностей).Условия суммирования записывают в виде

                                                                 (13.3.)

S yi = K S xi.

Классификация систем телеизмерения.

Наиболее распространена классификация по параметру, т. е. методам, с помощью которых передается значение из­меряемой величины (рис. 13.2). При такой классификации системы телеиз­мерения делятся на импульсные и частотные. Общей для этих групп являет­ся частотно-импульсная система.

Все эти системы могут быть одноканальными, когда по одной линии связи передается только одно измерение, и многоканальными, когда по од­ной линии связи передается много измерений (классификация по числу измеряемых величин). Многоканальность достигается теми же методами, что и в телеуправлении, т. е. с помощью частотного и временного способов разделения сигналов. Многоканальная система позволяет вести наблюде­ния за показаниями многих измеряемых величин одновременно в отличие от систем, использующих телеизмерение по вызову, в которых наблюдение показаний различных объектов телеизмерения происходит поочередно.

По методам воспроизведения измеряемой величины системы телеизме­рения подразделяют на аналоговые и цифровые.

В аналоговых системах используются непрерывные (аналоговые) сиг­налы. Параметр аналогового сигнала является однозначной непрерывной функцией измеряемой величины. К аналоговым относятся сигналы, моду­лированные с помощью непрерывных модуляций и таких импульсных модуляций, как широтная, фазовая и частотная. В аналоговых системах может применяться квантование по времени, но отсутствует квантование по уровню.

В аналоговых системах воспроизведение сигнала осуществляется в аналоговой форме, т. е. в виде электрической величины (тока или напря­жения), которая измеряется обычным электроизмерительным прибором.

В цифровых системах используются дискретные, квантованные по уровню сигналы, как правило, кодовые комбинации, представляющие со­бой определенное значение измеряемой величины. Такими системами являются кодоимпульсные системы телеизмерения. Системы с цифровым отсчетом измеряемой величины получают все большее распространение из-за точности показаний и удобства считывания.

Системы телеизмерения можно классифицировать также по виду про­граммы, по которой они работают. Подавляющее большинство СТИ рабо­тают по жесткой программе, по которой передаются все измеряемые сооб­щения независимо от того, несут ли они информацию получателю или являются избыточными, не представляющими ценности, загромождаю­щими канал связи и средства, по заранее заданной программе и в какой-то мере изменяющие ее по команде. Начали выпускать адаптивные телеизме­рительные системы, автоматически изменяющие программу работы в зависимости от изменения, характеристик передаваемых сигналов и внеш­них условий.

Кроме указанных на рис. 13.2 систем ТИ существуют также системы интенсивности, на которые были даны ссылки в ГОСТ. В системах интен­сивности измеряемая величина после преобразования ее в ток или напря­жение в дальнейшем, как указывалось на рис. 13.1, в сигнал не преобра­зуется. Преобразователь измеряемой величины в ток или напряжение включен непосредственно в линию, а на приемной стороне к этой же линии подключается прибор, измеряющий ток или напряжение.

Погрешность телеизмерения систем интенсивности вследствие измере­ния сопротивления линии связи в пределах 2—3%. Дальность передачи на воздушных линиях связи ввиду большого и непостоянного значения (в зависимости от метеорологических условий) проводимости изоляции (утечки) не превышает 10 км. При использовании кабельных линий связи, в которых утечка практически отсутствует, дальность передачи достигает 25 км.

Указанные недостатки сузили сферу применения этих устройств, И их производство прекращается.

Кодоимпульсные (цифровые) системы

В кодоимпульсных системах (КИС) измеряемая величина передается в виде определенной комбинации импульсов (кода). Предварительно она квантуется по уровню и по времени. Далее осуществляется кодоимпульс-ная модуляция (КИМ).

Кодоимпульсные системы имеют ряд преимуществ по сравнению с другими системами телеизмерения. Главными из них являются:

1) большая помехоустойчивость и, как следствие этого, возмож­ность передачи телеизмерения на большие расстояния, особенно при ис-  , пользовании помехозащищенных кодов;

2) большая точность телеизмерения. Погрешность в кодоимпульсных системах возникает при преобразовании измеряемой величины в код. Точ­ность преобразователей, преобразующих измеряемые величины в код, мо­жет быть меньше 0,1 %,т. е. выше точности преобразователей других теле­измерительных систем, которая лежит в пределах 0,5—1,5 %;

3) лучшее использование канала связи в случае применения специаль­ных кодов, статистически согласованных с передаваемыми сообщениями;

4) получение информации в цифровой форме, что позволяет:

а) без сложных преобразований вводить информацию в цифровые вычислительные машины и устройства обработки данных;

б) осуществлять цифровую индикацию показаний, обеспечивающую меньшую погрешность при считывании и простоту цифровой регистрации данных.

Однако кодоимпульсные системы значительно сложнее других устройств ТИ. Поэтому их целесообразно использовать только в много­канальном исполнении.

Преобразование измеряемой величины в код

Преобразование непрерывной аналоговой величины в цифровой экви­валент — код — осуществляется с помощью аналого-цифровых преобра­зователей (АЦП). Как и в предыдущих импульсных устройствах ТИ, изме­ряемая величина может быть представлена в виде механического переме­щения (углового или линейного) либо в виде электрической величины.

Преобразование перемещений в код.  В основу преобразователей этого типа [5] положены два метода: метод пространственного кодирования и метод последовательного счета. При методе пространственного кодиро­вания кодирующее устройство представляет собой маску, воспроизводя­щую требуемый код. Маска перемещается вместе с контролируемым объектом относительно считывающего устройства вращательно или поступательно. Выполнение маски и процесс считывания с нее показаний были рассмотрены в гл. 3. При методе последовательного счета подсчитывается число элементарных линейных перемещений, кото­рое затем представляется в виде кода. Схема преобразователя перемеще­ния в коде различением знака в зависимости от направления перемещения представлена на рис. 13.10. Два источника света падают на фотоэлементы Л и 5 (рис. 13.10, а). Контролируемый механизм в виде линейки с темными и светлыми участками, пропускающими свет, может передвигаться влево и вправо.

Преобразование электрических величин в код. Преобразование с про­межуточным. параметром [5]. В этих устройствах измеряемая электриче­ская величина (обычно напряжение, хотя могут преобразовываться также ток и сопротивление) преобразуется во вспомогательный параметр (вре­менной интервал, частоту или фазу), преобразуемый, в свою очередь, в чи­сло импульсов, которое далее кодируется. Кодирование происходит по следующим схемам.

Напряжение — временной   интервал — число—код. Кодирование по такой схеме показано на рис. 13.11, а. Для преобразова­ния измеряемой величины Ux сначала в длительность импульса (времен­ной интервал) может быть использован любой из рассмотренных время-импульсных преобразователей (ВИП). Элемент И открывается на время длительности импульса, снимаемого с ВИП. За это время с генератора стабильной частоты ГИ пройдет на счетчик тем больше импульсов, чем больше длительность импульса с ВИП. Сосчитанное число импульсов в ви­де двоичного кода снимается с выхода счетчика СГ2.

Точность преобразования зависит от совпадения фронтов импульса с ВИП длительностью Т с импульсами, поступающими от ГИ. На рис. 13.11,6 показано, что передний фронт импульса Т совпал с передним фронтом импульсов с ГИ. На счетчик с Г И прошло пять импульсов. Однако если импульс Г поступает на элемент И, как показано на рис. 13.11, в, то на счетчик с ГИ поступят только четыре импульса вместо пяти, т. е. возникнет отрицательная погрешность.

Совпадение передних фронтов им­пульсов Гит можно синхронизиро­вать, но сделать так, чтобы длитель­ность Т всегда была равна определен­ному числу периодов <, невозможно. Поэтому ошибка преобразования, обу­словленная округлением измеряемой аналоговой величины, будет всегда. Ее можно уменьшить, увеличив часто­ту следования импульсов с ГИ.

В этом преобразователе возникают также дополнительные ошибки за счет нестабильности ГИ и ВИП и нелиней­ности характеристик преобразования ВИП. Последняя ошибка наиболее су­щественная; ее значение лежит в пре­делах погрешности преобразования.

Напряжение —фаза — временной интервал—чис­ло — код. Кодирование по данной схеме представлено на рис. 13.12, а. Измеряемое напряжение поступает на фазосдвигающее устройство ФСУ, пи­таемое от источника переменного тока с частотой /. В зависимости от значе- • ния Ua изменяется фазовый угол меж­ду напряжениями е\ и еч на выходе ФСУ. Этот угол соответствует времен­ному интервалу t=^/(2nf) измерите­ля фазового угла ИФ (рис. 13.12,6). Последний представляет собой /?5-триг-гер с инверсными входами, меняющий

состояние 0 на 1 в момент перехода напряжения е\ через нуль и 1 на 0 при переходе через нуль напряжения еч, как показано на рис. 13.12, б. Таким образом, на выходе возникает импульс длительностью /, который затем подается на ключ, и дальше все происходит, как и в предыдущем преобра­зователе (см. рис. 13.11).

К погрешностям, имеющимся в схеме рис. 13.11, в преобразователе по схеме рис. 13.12 добавляется погрешность от нестабильности характе­ристики фазосдвигающего устройства и точности измерителяфазового угла, фиксирующего момент прохождения напряжения через нуль.

Рис. 13.12. Преобразователь изме­ряемого напряжения в код с про­межуточным преобразованием вход­ной величины в фазу переменного напряжения:

а — функциональная схема; б — вре­менные диаграммы

Напряжение — частота — число — код. Кодирование по такой схеме показано на рис. 13.13. Измеряемая величина и, в частотно-импульсном преобразователе ЧИП, представляющем собой генератор им­пульсов, модулируемых по частоте, преобразуется в последовательность импульсов с частотой f=p(u). Хронизирующее устройство Т на ранее заданный интервал времени t открывает элемент И, и импульсы с ЧИП поступают на счетчик СТ2. Больше или меньше пройдет импульсов на счетчик, зависит от их частоты. Погрешность преобразования зависит от нестабильности и нелинейно­сти характеристики f=j(u)  частотно-импульсного преобразователя.

Непосредственное преобразование напряжения в код. В этих преобра­зователях образуемый в кодирующем устройстве код преобразуется в напряжение, которое сравнивается с измеряемым напряжением. При равенстве напряжений образование кода прекращается и он подается на выход.

Преобразователь последовательного счета (рис. 13.14). Перед началом работы счетчик СТ2 сбрасывается на нуль (рис. 13.14, а). Показания счетчика преобразуются с помощью цифро-аналого-вого преобразователя ЦАП в напряжение, поступающее на схему сравне­ния СС. В начале преобразования, пока напряжение щ: с ЦАП меньше преобразуемого напряжения Чх, элемент Ио открыт и счетчик считает им­пульсы с генератора импульсов ГИ. Когда м»>й.с, схема сравнения СС за­крывает элемент Ио и подает сигнал на элементы И\—Ип для считывания двоичного кода со счетчика. Количество импульсов, поступивших на счет­чик, пропорционально преобразуемому напряжению Ux.

На рис. 13.14,6 показано, как от каждого импульса, поступающего с ГИ, увеличивается преобразованное в ЦАП (этот преобразователь будет рассмотрен позже) напряжение:

Uk=UoN                                                      (13.5)

Чем больше число импульсов в данном интервале счетчика, тем меньше значение xUo=Uk-Ux (рис. 13.14, б). Нестабильность частоты генератора импульсов не влияет на точность преобразования напряжения в код.

Преобразователь   по   методу   поразрядного кодирования (взвешивания). Он имеет более широкое применение

Рис. 13.14. Компенсационный кодирующий Преобразователь последовательного счета:

 б — временная диаграмма

Рис. 13.15. Преобразователь по методу поразрядного кодирования:

а—функциональная схема; б—пример преобразования измеряемой величины в код;

в — код, снимаемый с триггеров

вследствие большей по сравнению с другими преобразователями точности и высокого быстродействия.

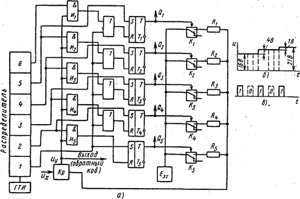
В состав преобразователя, функциональная схема которого представ­лена на рис. 13.15а, входят следующие узлы: распределитель, преобразователь кода в напряжение ЦАП (он состоит из цифрового регистра на триггерах T1-T5, ключей K1—K5, декодирующей сети сопротивлений и источника эталонного напряжения) и компаратор Кр, предназначенный для сравнения двух напряжений (входного сигнала их и сигнала Еэт с вы­хода ЦАП) и выработки выходного сигнала управления.

Импульсом первой ячейки распределителя триггеры устанавливаются в состояние, при котором с выходов триггеров Т1-T4 снимается 0, а с выхода триггера Ts—l. Этим сигналом переключается ключ Ks, через который подается эталонное напряжение Еэт  на резистор Rs, вследствие чего на компаратор поступает наибольшее напряжение £„, составляющее в нашем случае 16 В. Эталонное Е'эт и преобразуемое и, напряжения сравниваются в компараторе: при y,>£'„ на выходе компаратора сигнал отсутствует, при ^<£„— возникает уравновешивающее напряжение С/у в виде импульса, который подается на выход и на элементы И1—И5. Такая логика работы преобразователя объясняется тем, что образуемый код мо­жет сниматься непосредственно с тех 'же выходов триггеров, с которых снимается и напряжение, подаваемое на ключи. Поэтому если, например, преобразуется код в напряжение Ux = 15 В, то, очевидно, поскольку 15< 16, триггер Ts должен быть переключен, чтобы с его выходов был снят 0, а не 1, соответствующая числу 16. Для этого на вход триггера с компаратора должна быть подана логическая 1.

Импульс с компаратора поступает на элементы И с некоторой задерж­кой, так что он совпадает с импульсом распределителя. Поэтому  второй импульс с распределителя, совпадая по времени с сигналом управления с компаратора, пройдет через элемент И, перебросит триггер Та с 1 на 0 и одновременно переключит триггер Т4 отчего на выходе Q4 возникает сигнал 1. При этом эталонное напряжение подается через ключ К.4 и преобразуемое напряжение Us будет сравниваться с напряже­нием, поступающим через резистор R4 и равным 8 В.

Если Ux>Eэт, то сигнал компаратора отсутствует, триггер T5 не пере­ключается, а распределитель в следующем такте изменяет состояние триг­гера T4 и на входе компаратора окажется напряжение, равное 16+ +8=24 В.

Такая последовательность операций будет повторяться до тех пор, пока преобразуемое напряжение и, не будет скомпенсировано эталонным напряжением с выхода ЦАП с точностью до младшего разряда. В конце цикла на триггерах будет зафиксирован двоичный код, цифровое значе­ние которого пропорционально и,.                 :

Таким образом, выходной код можно снимать или последовательно во времени в виде обратного двоичного кода с компаратора начиная со старшего разряда, либо параллельно в виде прямого двоичного кода с триггеров. На рис. 13.15, б представлен пример преобразования измеряе­мого напряжения и,=21 В. Преобразование начинают со старшего раз­ряда (как и взвешивание на весах, когда на чашу весов ставят гири начиная с наибольшей).

Сначала через резистор R5, к компаратору подключается напряжение 16 В и с выхода Qs снимается сигнал /, так как с компаратора сигнал не поступает (16<21) и триггер Fs не переключается. Импульс со второй ячейки распределителя переключает триггер Г<, в результате логическая 1 с выхода Q4 открывает ключ /<4 и подсоединяет к компаратору добавоч­ное напряжение, равное 8 В. Поскольку требуется уравновесить остав­шееся напряжение 21 — 16 ==5 В, а 8>5, с компаратора будет снят им­пульс, открывающий элемент И4 с приходом импульса с третьей ячейки распределителя. Поэтому импульс с элемента И^ через сборку ИЛИ пере­ключит триггер та и Q4=0. На рис. 13.15, в показано, что сначала сни­мается 1, затем 0, потом опять 1, так как после выключения ключа Кз эталонное напряжение 4 В оказывается меньше оставшегося нескомпен­сированным напряжения 5 В. Далее снова следует сигнал 0 (2>1) и, наконец, сигнал 1. С выходов Qs—Qi будет снят код 10101.

Основными источниками погрешностей преобразования являются декодирующая сетка сопротивлений, источник эталонного напряжения и ключи. Кроме того, точность работы преобразователя определяется чув­ствительностью и стабильностью компаратора.

Преобразование кодов в напряжение или ток

В качестве преобразующих устройств используются цифро-аналоговые преобразователи (ЦАП), выполненные в виде декодирующих сеток из резисторов. Для преобразования кодовой посылки в ток или напряжение необходим параллельный код. Поэтому перед преобразованием после­довательный код записывается в регистр и в нужный момент со всех его ячеек снимается параллельный код. Сопротивления резисторов в деко­дирующей сетке выбирают так, чтобы выходное напряжение сетки было пропорционально декодируемому числу. По способу построения декоди­рующие' сетки подразделяют на последовательные и параллельные, а по режиму работы — с суммированием напряжений и токов.

Недостаток декодирующих сеток с последовательным соединением разрядных .резисторов заключается в том, что при включении разного числа резисторов получаются различные значения выходного сопротивле­ния схемы, что уменьшает точность преобразования, если преобразова­тель работает не в режиме холостого кода, а нагружен на входное сопро­тивление последующего устройства. Этого недостатка лишены декодирую­щие сетки с параллельным включением разрядных резисторов типа R — 2R и со взвешенными резисторами.

Масштабирование

Предположим, что необходимо передать и измерить два переменных напряжения, изменяющихся в пределах Ux1=0¸220B и Ux2=0¸ 110 В. Оба эти напряжения поступают на датчики Д1 и Д2 (рис. 13.19), имеющие одинаковый выходной ток 0—5 мА. Это значит, что при поступлении напряжений на датчик Д1 220 В, а на датчик Д2 — 110 В на выходах обоих датчиков будет один и тот же ток 5 мА. Далее с помощью ключей К1 и К2 токи с датчиков поочередно поступают на аналого-цифровой преобразова­тель АЦП, где они преобразуются, например, в двоичный код, который

может передать 27=128 дискретных значений. Если на приемной стороне полученные коды требуется представить в виде цифрового отсчета (мето­ды такого отсчета рассмотрены в гл. 14), то окажется, что и приемник Пр будет преобразовывать в цифры один и тот же код (от 0 до 127) и получит одни и те же абсолютные значения измеряемых величин, что не соответ­ствует разным значениям передаваемых напряжений. Во избежание такой ошибки на приеме каждый из кодов при преобразовании его в цифры нуж­но умножить на масштабный коэффициент. Так, в нашем примере код, соответствующий напряжению их1, следует умножить на коэффициент 2, а код, соответствующий напряжению иx2,— на коэффициент 1. Это умно­жение осуществляют специальным масштабирующим устройством, обо­значенным на рис. 13.19 через X М.

Таким образом, масштабирование — это умножение кодовой комбинации, выражающей измеряемую величину, на коэффициент при воспроизведении абсолютных значений измеряемой величины в цифрах.

Для цифрового воспроизведения в простейшем случае требуется полу­чить код do. Например, для воспроизведения показаний от 0 до 100 нужны 20 ламп: 10— для отображения единиц и 10 — для отображения десятков (есть, конечно, и более совершенные методы отображения, о чем будет сказано в гл. 14). Лампа каждого разряда должна зажигаться подачей на нее соответствующего потенциала. Выбор лампы осуществляется де­шифратором Дш, к которому ключом К1 или K2 поочередно подключаются измеряемые величины (рис. 13.19). Так же просто производится цифровое воспроизведение при передаче двоично-десятичным кодом.

'Для простоты реализации умножения на масштабный коэффициент стремятся применять возможно меньшее число коэффициентов. Так, умно­жение двоично-десятичного и единично-десятичного кодов на коэффици­енты 2 и 5 осуществляют с помощью сравнительно простых декадных дешифраторов параллельного типа. Умножение на 10 или на число, крат­ное 10, производят простым переносом запятой.

Заметим, что масштабирование не требуется, если на приеме коды преобразуются ЦАП в аналоговые величины (ток или напряжение). Дей­ствительно, если придут два одинаковых кода, то, хотя они и будут преоб­разованы в одинаковые токи и затем отклонят стрелки своих приборов на одинаковые углы, показания с приборов будут сняты разные, так как шкалы каждого из них градуируют в разных значениях измеряемой величины.

Структура кодоимпульсных систем

На рис. 13.20 приведена структурная схема многоканальной кодо-импульсной системы телеизмерения. Измеряемые аналоговые величины через управляемый распределителем коммутатор поочередно поступают на АЦП, в котором преобразуются в последовательный двоичный код (если АЦП выдает параллельный код, то до кодера нужна установка схемы, преобразующей параллельный код в последовательный). В кодере  двоичный код преобразуется в один из помехозащищенных кодов, который поступает в линейный блок ЛБ, где происходит формирование и усиление импульсов. В случае необходимости передача импульсов по линии связи может происходить с частотным наполнением, для чего после Л Б устанав­ливают модулятор и генератор частоты, а на К.П—демодулятор.

Приходящие на ПУ из линии связи, несколько искаженные из-за помех импульсы,               восстанавливаются в ЛБ и поступают на декодер. Одновремен­но происходят синхронизация распределителей и синфазирование гене­раторов. После декодирования информационные символы могут поступать на блоки цифрового или аналогового воспроизведения информации или на оба сразу, а также в ЭВМ. Каждая кодовая комбинация (КК), соответ­ствующая определенной измеряемой величине, записывается в индиви­дуальный регистр. При цифровом воспроизведении КК предварительно проходит через блок масштабирования. Очередность записи КК в регист­ры исходит от распределителя.

Перед поступлением на стрелочные приборы КК предварительно преобразуется в среднее значение тока в ЦАП. При цифровом воспроизве­дении измеряемой величины КК поступает сначала в дешифратор Дш, в котором возбуждается выход, соответствующий ее значению, и далее воспроизводится на индикаторе в виде цифры. Величины, поступающие на приборы и индикаторы, могут одновременно регистрироваться метода­ми, указанными в гл. 14.

Рис. 13.20. Структурная схема кодоимпульсной системы телеизмерения:

ГТИ — генератор тактовых импульсов; ПК. — преобразователь параллельного кода в последовательный и обратно (в приемнике); ЛБ — линейный блок; ФСС— формирователь синхронизирующего сигнала; БМ — блок масштабирования; Р — регистр; Дш — дешифра­тор; ВСС — выделитель синхронизирующего сигнала.

Литература

1. В. Н. Тутевич «Телемеханика» Учебное пособие для вузов ВШ                                                1985год.


© 2012 Рефераты, курсовые и дипломные работы.