рефераты
Главная

Рефераты по рекламе

Рефераты по физике

Рефераты по философии

Рефераты по финансам

Рефераты по химии

Рефераты по хозяйственному праву

Рефераты по цифровым устройствам

Рефераты по экологическому праву

Рефераты по экономико-математическому моделированию

Рефераты по экономической географии

Рефераты по экономической теории

Рефераты по этике

Рефераты по юриспруденции

Рефераты по языковедению

Рефераты по юридическим наукам

Рефераты по истории

Рефераты по компьютерным наукам

Рефераты по медицинским наукам

Рефераты по финансовым наукам

Рефераты по управленческим наукам

Психология и педагогика

Промышленность производство

Биология и химия

Языкознание филология

Издательское дело и полиграфия

Рефераты по краеведению и этнографии

Рефераты по религии и мифологии

Рефераты по медицине

Рефераты по сексологии

Рефераты по информатике программированию

Краткое содержание произведений

Реферат: Лекции Детали Машин

Реферат: Лекции Детали Машин

18.Конические зубчатые передачи.

Геометрия конического зацепления

de – внешний делительный диаметр

dae – внешний диаметр вершин зубьев

dfe – внешний диаметр впадин зубьев

dm – средний делительный деаметр

Rm – среднее конусное расстояние

Re – внешнее конусное расстояние

b – высота зуба  

h – ширина зуба

δ1, δ2 – углы начальных конусов

Конические передачи применяют, когда оси валов пересекаются под прямым углом, профиль зубьев может быть эвольвентным или круговым:

–     Прямозубые передачи применяются при окружных скоростях до 5 м/с

–     Передача с круговыми зубьями обладает большой нагрузочной способностью, обеспечивает плавное зацепление и менее шумное в работе. Более технологичны в изготовлении.

Угол наклона зубьев на длительном диаметре β=35˚

;  


Основные размеры зубчатых колес.

1.   Внешний делительный диаметр

de1 = me·z1 

      de2 = me·z2

2.   Внешний диаметр вершин зубьев

     da1 = de1 + 2me·cosδ1

     da2 = de2 + 2me· cosδ2

3.   Внешнее конусное расстояние

    

4.   Среднее конусное расстояние

     Rm = Re – 0,5b

5.   Средний окружной модуль

     , где

me – внешний торцевой окружной модуль

Для зубчатых колес с круговым зубом его обозначают, как mte. Округляются до стандартного числа.  

6.   Средний делительный диаметр

dm1 = m·z1

dm2 = m·z2

7.   Передаточное отклонение передачи

     ;

     ; –  передаточное число

 

 

19.Силы в зацеплении конических колес.

Fn – нормальная сила в зацеплении

Fe – окружная сила

Fr – радиальная сила

Fa – осевая сила

При определении усилии в зацеплении нагрузку распределенную по ширине зубчатого венца это заменяют сосредоточенной силой Fn     

    

Радиальная сила:

 

 

20.Червячные передачи

Червячная передача – это передача с перекрещивающимися осями.

Состоит из винта червяка и червячного колеса

Преимущества:

1.Плавность и бесшумность работы

2.Возможность получения больших передаточных отношений (особенно вне силовых передач u=1000)

3.Возможность самоторможения передачи за счет сил трения в червячной паре

Недостатки:

1.Низкий КПД

2.Значительное выделение тепла в зоне передач

3.Интенсивное изнашивание и склонность к заеданию

4.Необходимость применения для венцов червячных колес дорогих антифрикционных материалов

5. Повышенные требования к точности сборки

Применение:

При небольших и средних мощностях (50-150кВт)

При окружных скоростях до 25 м/с

Классификация червячных передач.

1.По форме внешней поверхности червяка

а) цилиндрический

б) глобоидальный

Глобоидальные червяки сложнее в изготовлении, имеют высокий КПД, более надежны и долговечны.

2.По расположению червяка различают с верхним, нижним и боковым расположением.

С нижним расположением применяется при м/с (это обусловлено тем, что при большей скорости масло будет вытекать, пенится и не поступать в трущиеся пары)

3.По числу витков червяка

Резьба червяка может быть одно и многозаходной, правой и левой.

 z1=1,2,4(с кол-вом витков)

4.По профилю резьбы

В зависимости от способа нарезания червяка:

a)  архимедов червяк;

б) конвалютный червяк;

в)эвольвентный червяк;

г)спираидальный червяк;

д)тороидальный червяк.

Изготовление червяков

Червяки могут быть нарезаны на

токарно-винторезном станке

или модульной фрезой.

Червячные колеса чаще всего нарезают червячными фрезами с более высоким профилем и острыми кромками.

21.Геометрия червячных передач

 - угол профиля червяка равен 20˚

 Шаг резьбы червяка связан с числом заходов по формуле

,

где z1-число заходов

 

Угол подъема винтовой линии червяка на делительной окружности:

, где q-коэффициент делительного диаметра

d1=m·q , где d1-делительный диаметр

1.Делительный диаметр

d1=q·m

d2=m·z2

2.da1=d1+zm=m(q+2)

   da2=d2+2m=m(z2+2)

3.df1=d1-2,4m=m(q-2,4)

   df2=d2-2,4m=m(z2-2,4)

4.aω=m(q+z2)

5.Ширина нарезанной части червяка

при z1=1;2

       b1≥(11+0,06·z2)m+Δ

при z1=3;4

            b1≥(12+0,09·z2)m+Δ

при m<10            Δ=25мм

       m=10…16    Δ=35…40мм

       m>16           Δ=45…50мм

6.Ширина венца колеса

z1=1;2;3       b2≤0,75·da1

z2=4             b2≤0,67·da1

 

     7.Условный угол обхвата червячного колеса на диаметре d'=da1-0,5m

     8.Наибольший диаметр червячного колеса

;

     9.Передаточное отношение

;

;

Т.к. углы подъема винтовой линии червяка равны 5-15˚, то в червячных передачах при тех же габаритах, как и цилиндрических передаточное число больше в 6-12 раз.

22.Скольжение в червячных передачах.

Во время работы червячной передачи витки червяка скользят по зубьям червячного колеса, причем скорость скольжения направлена по касательной к винтовой линии червяка.

-окружная скорость червяка

-окружная скорость червячного колеса

      -скорость скольжения

; (находится по формуле, через угол наклона по винтовой линии)

Из соотношения видно, что  большое скольжение в червячных передачах приводит к быстрому изнашиванию зубьев червячного колеса, увеличивает склонность передачи к заеданию для предотвращения заедания передачи венцы червячных колес изготавливают из антифрикционных материалов.

 

23.Усилия в зацеплении червячных передач

 ;

;

(направление данных сил такое же как в конических передачах)

Т.к. осевая сила на червяке может иметь большие значения, а вал червяка имеет небольшой диаметр, то опору червяка воспринимающую осевую силу достаточно часто конструируют из двух подшипников.

Формула проектного расчета:

      kн=1

     kн=1,1…1,4

24.Зубчатые редукторы.

Зубчатый редуктор – механизм предназначенный для понижения угловых скоростей и увеличения крутящих моментов, обычно выполняется в виде отдельных агрегатов и передает мощность от двигателя к машине при u£6,3

применяют одноступенчатые цилиндрические редукторы.

u=

Редуктор состоит из корпуса литого чугунного или сварного стального, в котором расположены элементы передачи.

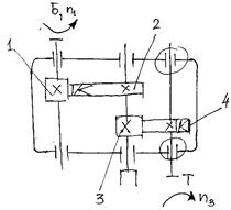
Наибольшее распространение получили двухступенчатые редукторы с передаточным числом от 8 до 40.

Двухступенчатый цилиндрический редуктор по развернутой схеме.

uобщ = uБ·uт=

                                    

Преимущества:

Передача больших моментов, относительная простота конструкции.

Недостатки:

Из-за несимметричного расположения зубчатых колес на валах редуктора имеет место повышенная неравномерность распределения нагрузки по длине зуба

Для улучшения условий работы зубчатых колес применяются редукторы с раздвоенной ступенью.

up = uБ·uт

up = 8...40

Недостаток: увеличение габаритов и металлоемкости.

Преимущество: передает большие моменты, большие передаточные числа; равномерное распределение нагрузки на опоры валов.              

Соосная схема

u = 8...40

Преимущество:

Возможность передачи моментов на одной оси Б и Т валов. 

Недостаток:

Увеличение длины промежуточного вала за счет, чего увеличиваются изгибающие моменты.

При взаимно перпендикулярном расположении валов применяются конические редукторы.

u£6,3

Преимущество:

Возможность передачи моментов под прямым углом.

 

 В случае если необходимо передавать большие моменты применяют коническо – цилиндрический редуктор.

Передаточные числа редукторов Б и Т  ступени Гостированы для обеспечения минемального веса и габоритов редуктора; при этом должно  соблюдаться условие uБ>uт 

Форму корпуса и крышки редуктора определяют по размерам колес и схеме редуктора.

Для увеличения жесткости корпуса в местах передачи усилия от подшипников на корпус предусматривают ребра жесткости или утолщения стенок.

Для возможности осмотра зацепления зубчатых колес и заливки масла в крышке редуктора предусматривают смотровое окно. 


© 2012 Рефераты, курсовые и дипломные работы.