рефераты
Главная

Рефераты по рекламе

Рефераты по физике

Рефераты по философии

Рефераты по финансам

Рефераты по химии

Рефераты по хозяйственному праву

Рефераты по цифровым устройствам

Рефераты по экологическому праву

Рефераты по экономико-математическому моделированию

Рефераты по экономической географии

Рефераты по экономической теории

Рефераты по этике

Рефераты по юриспруденции

Рефераты по языковедению

Рефераты по юридическим наукам

Рефераты по истории

Рефераты по компьютерным наукам

Рефераты по медицинским наукам

Рефераты по финансовым наукам

Рефераты по управленческим наукам

Психология и педагогика

Промышленность производство

Биология и химия

Языкознание филология

Издательское дело и полиграфия

Рефераты по краеведению и этнографии

Рефераты по религии и мифологии

Рефераты по медицине

Рефераты по сексологии

Рефераты по информатике программированию

Краткое содержание произведений

Реферат: Литьё цветных металлов в металлические формы - кокили

Реферат: Литьё цветных металлов в металлические формы - кокили

Министерство образования Российской Федерации

КУБАНСКИЙ ГОСУДАРСТВЕННЫЙ ТЕХНОЛОГИЧЕСКИЙ УНИВЕРСИТЕТ

Кафедра АПП

“Литьё цветных металлов в металлические формы (кокили)”.

Выполнил: студент

Группы 01-КТ-61

Агранович Олег

Проверил: Лецик В.И.

Краснодар 2003 год.


ОГЛАВЛЕНИЕ

ОГЛАВЛЕНИЕ.. 2

СУЩНОСТЬ ПРОЦЕССА. ОСНОВНЫЕ ОПЕРАЦИИ. ОБЛАСТЬ ИСПОЛЬЗОВАНИЯ.. 3

КОКИЛИ.. 6

Общие сведения. 6

Элементы конструкции кокилей. 7

Материалы для кокилей. 9

Изготовление кокилей. 10

Стойкость кокилей и пути ее повышения. 11

ТЕХНОЛОГИЯ ЛИТЬЯ В КОКИЛЬ.. 13

Технологические режимы литья. 13

Особенности изготовления отливок из различных сплавов. 15

Отливки из алюминиевых сплавов. 16

Отливки из магниевых сплавов. 19

Отливки из медных сплавов. 20

Финишные операции и контроль отливок из цветных сплавов. 21

Дефекты отливок из цветных сплавов и меры их предупреждения. 21


СУЩНОСТЬ ПРОЦЕССА. ОСНОВНЫЕ ОПЕРАЦИИ. ОБЛАСТЬ ИСПОЛЬЗОВАНИЯ

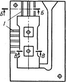
            Кокиль (от франц. coquille) — металлическая форма, которая заполняется расплавом под действием гравитационных сил. В от­личие от разовой песчаной формы кокиль может быть использован многократно. Таким образом, сущность литья в кок и ли состоит в применении металлических материалов для изготовления многократно используемых литейных форм, металлические части которых составляют их основу и формируют конфигурацию и свойства отливки.

            Кокиль (рис. 2.1) обычно состоит из двух полуформ 1, плиты 2, вставок 10. Полуформы взаимно центрируются штырями 8, и перед заливкой их соединяют замками 9. Размеры рабо­чей полости 13 кокиля больше размеров отливки на величину усадки спла­ва. Полости и отверстия в отливке могут быть вы­полнены металлическими 11 или песчаными 6 стерж­нями, извлекаемыми из от­ливки после ее затвердева­ния и охлаждения до за­данной температуры. Рас­плав заливают в кокиль через литниковую систему 7, выполненную в его стен­ках, а питание массивных

Подпись: Рис. 2.1. Кокиль

узлов отливки осущест­вляется из прибылей (питающих выпоров) 3. При заполнении ко­киля расплавом воздух и газы удаляются из его рабочей   полости   через   вентиляционные   выпоры  4,   пробки  5, каналы 12, образующие вентиляционную систему кокиля.

            Основные элементы кокиля — полуформы, плиты, вставки, стержни т. д.— обычно изготовляют из чугуна или стали. Выше рассмотрен кокиль простой конструкции, но в практике используют кокили различных, весьма сложных конструкций.

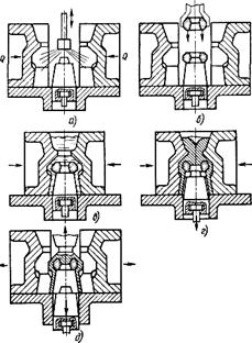
            Основные операции технологического процесса. Подпись: Рис. 2.2. Последовательность из-готовления   отливки   в   кокилеПеред залив­кой расплава новый кокиль подготовляют к работе: поверхность рабочей полости и разъем тщательно очищают от следов загряз­нений, ржавчины, масла; проверяют легкость перемещения под­вижных частей, точность их центрирования, надежность крепле­ния. Затем на поверхность рабочей полости и металлических стержней наносят слой огнеупорного покрытия (рис. 2.2, а) — облицовки и краски. Состав облицовок и красок зависит в основ­ном от заливаемого сплава, а их толщина — от требуемой скорости охлаждения отливки: чем толще слой огнеупорного покрытия, тем медленнее охлаждается отливка. Вместе с тем слой огнеупорного покрытия предохраняет рабочую поверхность формы от резкого повышения ее температуры при заливке, расплавления и схваты­вания с металлом отливки. Таким образом, облицовки и краски выполняют две функции: защищают поверхность кокиля от резкого нагрева и схватывания с отливкой и позволяют регулировать скорость охлаждения отливки, а значит, и процессы ее затверде­вания, влияющие на свойства металла отливки.

            Перед нанесением огнеупорного покрытия кокиль нагревают га­зовыми горелками или электрическими нагрева­телями до температуры 423—453 К. Краски нано­сят на кокиль обычно в виде водной суспензии че­рез пульверизатор. Капли водной суспензии, попадая на поверхность нагретого кокиля, испаряются, а ог­неупорная составляющая ровным слоем покрывает поверхность.

После нанесения огне­упорного покрытия кокиль нагревают до рабочей тем­пературы, зависящей в ос­новном от состава зали­ваемого сплава, толщины стенки отливки, ее разме­ров, требуемых свойств. Обычно температура нагрева кокиля перед заливкой 473—623 К. Затем в кокиль устанавливают песчаные или керамические стержни (рис. 2.2, б), если таковые необходимы для получе­ния отливки; половины кокиля соединяют (рис. 2.2, в) и скреп­ляют специальными зажимами, а при установке кокиля на ко­кильной машине с помощью ее механизма запирания, после чего заливают расплав в кокиль. Часто в процессе затвердевания и охлаждения отливки, после того как отливка приобретет достаточную прочность, металлические стержни «подрывают», т. е. частично извлекают из отливки (рис. 2.2, г) до ее извлечения из кокиля. Это делают для того, чтобы уменьшить обжатие усаживающейся отливкой металлического стержня и обеспечить его извлечение из отливки. После охлаждения отливки до заданной температуры кокиль раскрывают, окончательно извлекают метал­лический стержень и удаляют отливку из кокиля (рис. 2.2, д). Из отливки выбивают песчаный стержень, обрезают литники, прибыли, выпоры, контролируют качество отливки. Затем цикл повторяется.

            Перед повторением цикла осматривают рабочую поверхность кокиля, плоскость разъема. Обычно огнеупорную краску наносят на рабочую поверхность кокиля 1—2 раза в смену, изредка восста­навливая ее в местах, где она отслоилась от рабочей поверх­ности. После этого при необходимости, что чаще бывает при литье тонкостенных отливок или сплавов с низкой жидкотекучестью, кокиль подогревают до рабочей температуры, так как за время извлечения отливки и окраски рабочей поверхности он охлаждает­ся. Если же отливка достаточно массивная, то, наоборот, кокиль может нагреваться ее теплотой до температуры большей, чем требуемая рабочая, и перед следующей заливкой его охлаждают. Для этого в кокиле предусматривают специальные системы охлаждения,

            Как видно, процесс литья в кокиль — малооперацион-н ы и. Манипуляторные операции достаточно просты и кратковре-менны, а лимитирующей по продолжительности операцией являет­ся охлаждение отливки в форме до заданной температуры. Практи­чески все операции могут быть выполнены механизмами машины или автоматической установки, что является существенным преи­муществом способа, и, конечно, самое главное — исключается трудоемкий и материалоемкий процесс изготовления формы: Ко­киль используется многократно.

            Особенности формирования и качество отливок. Кокиль — металлическая форма, обладающая по сравнению с песчаной зна­чительно большей теплопроводностью, теплоемкостью, проч­ностью, практически нулевыми газопроницаемостью и газотвор-. ностью. Эти свойства материала кокиля обусловливают рассмот­ренные ниже особенности его взаимодействия с металлом отливки.

            1.   Высокая эффективность теплового взаимодействия между отливкой и формой: расплав и затвердевающая отливка охлаж­даются в кокиле быстрее, чем в песчаной форме, т. е. при одинако­вых гидростатическом напоре и температуре заливаемого расплава заполняемость кокиля обычно хуже,  чем  песчаной  формы.  Это осложняет получение в кокилях отливок из сплавов с пониженной жидкотекучестью и ограничивает минимальную толщину стенок и размеры отливок. Вместе с тем повышенная скорость охлажде­ния способствует получению плотных отливок с мелкозернистой структурой, что повышает прочность и пластичность металла отли­вок. Однако в отливках из чугуна, получаемых в кокилях, вслед­ствие особенностей кристаллизации часто образуются карбиды, ферритографитная эвтектика, отрицательно влияющие на свойства чугуна: снижается ударная вязкость, износостойкость, резко воз­растает твердость в отбеленном поверхностном слое, что затрудня­ет обработку резанием таких отливок и приводит к необходимости подвергать их термической обработке  (отжигу)  для устранения отбела.

            2.   Кокиль практически неподатлив и более интенсивно препят­ствует усадке отливки, что затрудняет извлечение ее из формы, может вызвать появление  внутренних  напряжений,  коробление и трещины в отливке.

Однако размеры рабочей полости кокиля могут быть выпол­нены значительно точнее, чем песчаной формы. При литье в кокиль отсутствуют  погрешности, вызываемые расталкиванием  модели, упругими  и  остаточными  деформациями  песчаной  формы,  сни­жающими точность ее рабочей полости и соответственно отливки. Поэтому отливки в кокилях получаются более точными. Точность отливок в кокилях обычно соответствует 12—15-ам  квалитетам по СТ СЭВ 145—75. При этом точность по 12-му квалитету воз­можна   для   размеров,   расположенных   в   одной   части   формы. Точность размеров, расположенных в двух и более частях формы, а также оформляемых подвижными частями формы, ниже. Коэф­фициент точности отливок по массе достигает 0,71, что обеспе­чивает возможность уменьшения припусков на обработку реза­нием.

            3. Физико-химическое взаимодействие металла отливки и ко­киля минимально, что способствует повышению качества поверх­ности отливки. Отливки в кокиль не имеют пригара. Шерохова­тость поверхности отливок определяется   составами   облицовок и  красок,  наносимых на поверхность рабочей полости формы, и соответствует Rz = 80-10 мкм, но может быть и меньше.

            4. Кокиль практически газонепроницаем, но и газотворность его минимальна и определяется в основном составами огнеупор­ных покрытий, наносимых на поверхность рабочей полости. Однако газовые раковины  в  кокильных отливках — явление не редкое. Причины их появления различны, но в любом случае расположение отливки  в  форме,  способ  подвода  расплава и вентиляционная система должны обеспечивать удаление воздуха и газов из кокиля при заливке.

Эффективность производства и область применения. Эффек­тивность производства отливок в кокиль, как, впрочем, и других способов литья, зависит от того, насколько полно и правильно инженер-литейщик использует преимущества этого процесса, учи­тывает его особенности и недостатки в условиях конкретного про­изводства.

            Ниже приведены преимущества литья в кокиль на основе

производственного опыта.

            1. Повышение производительности труда в результате исклю­чения трудоемких операций смесеприготовления, формовки, очист­ки отливок от пригара. Поэтому использование литья в кокили, по данным различных предприятий, позволяет в 2—3 раза повы­сить производительность труда в литейном цехе, снизить капиталь­ные затраты при строительстве новых цехов и реконструкции существующих за счет сокращения требуемых производственных площадей, расходов на оборудование, очистные сооружения, уве­личить съем отливок с 1 м площади цеха.

            2. Повышение качества отливки, обусловленное использова­нием металлической формы, повышение стабильности показателей качества: механических свойств, структуры, плотности, шерохова­тости, точности размеров отливок.

            3.   Устранение или уменьшение объема- вредных для здоровья работающих операций выбивки форм, очистки отливок от пригара, их  обрубки,  общее  оздоровление  и  улучшение  условий  труда, меньшее загрязнение окружающей среды.

            4.  Механизация и автоматизация процесса изготовления от­ливки,   обусловленная   многократностью   использования   кокиля. При  литье  в   кокиль  устраняется  сложный  для   автоматизации процесс изготовления литейной формы. Остаются лишь сборочные операции:  установка  стержней,  соединение частей  кокиля  и  их крепление перед заливкой, которые легко автоматизируются. Вме­сте   с   тем   устраняется   ряд   возмущающих   факторов,   влияю­щих па качество отливок при лигье в песчаные формы, таких, как влажность, прочность, газопроницаемость формовочной смеси, что делает процесс литья в кокиль более управляемым. Для получения отливок заданного  качества  легче осуществить  автоматическое регулирование технологических параметров процесса. Автомати­зация процесса позволяет улучшить качество отливок, повысить эффективность производства, изменить характер труда литейщи­ка-оператора, управляющего работой таких комплексов.

            Литье в кокили имеет и недостатки.

            1. Высокая стоимость кокиля, сложность и трудоемкость его

изготовления.

            2. Ограниченная стойкость кокиля, измеряемая числом годных отливок, которые можно получить в,данном кокиле (см. табл. 2.3). От стойкости кокиля зависит экономическая эффективность про­цесса особенно при литье чугуна и стали, и поэтому повышение стойкости кокиля является одной из важнейших проблем техно­логии кокильного литья этих сплавов.

            3. ложность получения отливок с поднутрениями, для выпол­нения   которых   необходимо   усложнять   конструкцию   формы — делать дополнительные разъемы, использовать вставки, разъем­ные металлические или песчаные стержни.

            4. Отрицательное влияние высокой интенсивности охлаждения расплава в кокиле по сравнению с песчаной формой. Это ограни­чивает возможность получения тонкостенных протяженных отли­вок, а в чугунных отливках приводит к отбелу поверхностного слоя, ухудшающему обработку резанием; вызывает необходимость термической обработки отливок.

            5. Неподатливый  кокиль приводит  к появлению в отливках напряжений, а иногда к трещинам.

            Преимущества и недостатки этого способа определяют р а-циональную область его использования: экономически целесообразно вследствие высокой стоимости кокилей применять этот способ литья только в серийном или массовом производстве. Серийность при литье чугуна должна составлять более 20 крупных , или более 400 мелких отливок в год, а при литье алюминиевых — не менее 400—700 отливок в год.

            Эффективность литья в кокиль обычно определяют в сравне­нии с литьем в песчаные формы. Экономический эффект достигается благодаря устранению формовочной смеси, повышению ка­чества отливок, их точности, уменьшению припусков на обработку, снижению трудоемкости очистки и обрубки отливок, механизации и автоматизации основных операций и, как следствие, повышению производительности и улучшению условий труда.

            Таким образом, литье в кокиль с полным основанием следует отнести к трудо- и материалосберегающим, малооперационным и малоотходным технологическим процессам, улучшающим усло­вия труда в литейных цехах и уменьшающим вредное воздействие на окружающую среду.

КОКИЛИ

Общие сведения

            В  производстве  используют  кокили   различных   конструкций.

Классификация конструкций кокилей. В зависимости от распо­ложения поверхности разъема кокили бывают: неразъемные (вытряхные); с вертикальной плоскостью разъема; с горизонталь­ной плоскостью разъема; со сложной (комбинированной) поверх­ностью разъема.

Неразъемные, или вытряхные, кокили (рис. 2.3) применяют в тех случаях, когда конструкция отливки позволяет удалить ее вместе с литниками из полости кокиля без его разъема. Обычно эти отливки имеют достаточно простую конфигурацию.

Подпись: Рис. 2.3. Кокиль вытряхной:
1 — стержень; 2 — кокиль
Подпись: А-А            Кокили с вертикальной плоскостью разъема (см. рис. 2.1) состоят из двух или более полуформ. Отливка может располагаться целиком в одной из половин кокиля, в двух половинах кокиля, одновременно в двух половинах кокиля и в ниж­ней плите.

Подпись: Рис. 2.4. Кокиль с горизонтальным . разъемом            Кокили с горизонтальным разъемом (рис. 2.4) применяют преимущественно для простых по конфигурации, а также крупногабаритных отливок, а в отдельных случаях для отливок достаточно сложной конфигурации.

            Кокили со сложной (комбинированной) поверхностью разъема (рис. 2.5) используют для изготовления отливок сложной конфигурации.

По числу рабочих полостей (гнезд), определяющих возможность одновременного, с одной заливки, изготовления того или иного количества отливок, кокили разделяют на одноместные (см. рис. 2.1) и многоместные (см. рис. 2.4).

            В зависимости от способа охлаждения разли­чают кокили с воздушным (естественным и принудительным), с жидкостным (водяным, масляным) и с комбинированным (водо-воздушным и т. д.) охлаждением. Воздушное охлаждение исполь­зуют для малотеплонагруженных кокилей. Водяное охлаждение используют обычно для высокотеплонагруженных кокилей, а так­же для повышения скорости охлаждения отливки или ее отдельных частей. На рис. 2.6 представлен кокиль с воздушным охлажде­нием. Ребра на стенках кокиля увеличивают поверхность сопри­косновения охладителя — воздуха — с кокилем и соответственно теплоотвод. На рис. 2.7 представлен водоохлаждаемый кокиль для отливки барабана шахтной лебедки из высокопрочного чугуна. Вода подается раздельно в обе половины кокиля, нижнюю плиту и верхнюю крышку.

Элементы конструкции кокилей

            Кокиль, как и любая литейная форма,— ответственный и точ­ный инструмент. Технические требования к кокилям оговорены ГОСТом. Конструктивное исполнение основных элементов коки­лей — полуформ, плит, металлических стержней, вставок — зави­сит от конфигурации отливки, а также от того, предназначена ли форма для установки на кокильную машину.

К основным конструктивным элементам кокилей относят:

Подпись: Рис. 2.5. Кокиль со сложным разъемом 
Рис. 2.6. Кокиль с воздушным охлаждением



Подпись: Рис. 2.7. Водоохлаждаемый кокиль (а) и отливка (б): 
/ — верхняя плита; 2 — стер¬жень; 3 — питатель; 4 — под¬дон; 5 — труба охлаждения; 6" — кожух; 7 — половина кокиля


формообразующие элементы — половины кокилей, ниж­ние плиты (поддоны), вставки, стержни; конструктивные элементы — выталкиватели, плиты выталкивателей, запираю­щие механизмы, системы нагрева и охлаждения кокиля и отдель­ных его частей, вентиляционную систему, центрирующие штыри и втулки.

            Корпус кокиля или его половины выполняют коробчаты­ми, с ребрами жесткости. Ребра жесткости на тыльной, нерабочей стороне кокиля делают невысокими, толщиной 0,7—0,8 толщины стенки кокиля, сопрягая их галтелями с корпусом. Толщина стенки кокиля зависит от состава заливаемого сплава и его тем­пературы, размеров и толщины стенки отливки, материала, из которого изготовляется кокиль, конструкции кокиля. Толщина стенки кокиля должна быть достаточной, чтобы обеспечить задан­ный режим охлаждения отливки, достаточную жесткость кокиля и минимальное его коробление при нагреве теплотой залитого расплава, стойкость против растрескивания.

            Размеры половин кокиля должны позволять размещать его на плитах кокильной машины. Для крепления на плитах машины кокиль имеет приливы.

            Стержни в кокилях могут быть песчаными и металли­ческими.

            Песчаные стержни для кокильных отливок должны обладать пониженной газотворностью и повышенной поверхностной проч­ностью. Первое требование обусловлено трудностями удаления газов из кокиля; второе — взаимодействием знаковых частей стержней с кокилем, в результате чего отдельные песчинки могут попасть в полость кокиля и образовать засоры в отливке. Стерж­невые смеси и технологические процессы изготовления песчаных стержней могут быть различными — по горячим ящикам (сплош­ные и оболочковые стержни), из холоднотвердеющих смесей и т. д.

            В любом случае использование песчаных стержней в кокилях вызывает необходимость организации дополнительной технологи­ческой линии для изготовления стержней в кокильном цехе. Однако в конечном счете использование кокилей в комбинации с песчаны­ми стержнями в большинстве случаев оправдывает себя эконо­мически.

            Металлические стержни применяют, когда это позволяют кон­струкция отливки и технологические свойства сплава. Использо­вание металлических стержней дает возможность повысить ско­рость затвердевания отливки, сократить продолжительность цикла ее изготовления, в отдельных случаях повысить механические свойства и плотность (герметичность). Однако при использовании металлических стержней возрастают напряжения в отливках, увеличивается опасность появления в них трещин из-за затрудне­ния усадки.

            Металлические стержни, выполняющие наружные поверхности отливки, называют вкладышами (рис. 2.8, а). Вкладыши затруд­няют механизацию и автоматизацию процесса, так как их уста-

Подпись: Рис. 2.8. Металлические стерж¬ни:
1 — вкладыш; 2— выступы на от¬ливке; 3—стержень; 4 — плита; 5 — 7— части стержня; 8, II — полуформы; 9— поворотный стер¬жень; 10 — отливка


навливают и удаляют вручную. Металлические тержни, выпол­няющие отверстии и полости простых очертаний (рис. 2.8, б, см. рис. 2.1.) до момента полного извлечения отливки «подрывают» для уменьшения усилия извлечения стержня. Полости более слож­ных очертаний выполняются разъемными (рис. 2.8, в) или пово­ротными (рис. 2.8, г) металлическими стержнями.

            Для надежного извлечения стержней из отливки они должны иметь уклоны 1—5°, хорошие направляющие во избежание пере­косов, а также надежную фиксацию в форме.

Во многих случаях металлические стержни делают водоохлаж-даемыми изнутри. Водяное охлаждение стержня обычно включают после образования в отливке прочной корочки. При охлаждении размеры стержня сокращаются так, что между ним и отливкой образуется зазор, который уменьшает усилие извлечения стержня из отливки.

Подпись: Б-Б            Для извлечения стержней в кокилях предусматривают винто­вые, эксцентриковые, реечные, гидравлические и пневматические механизмы. Конструкции этих устройств выполняют в соответствии с действующими ГОСТами.

Подпись: Рис. 2.9. Вентиляционная система кокиля            Вентиляционная система должна обеспечивать на­правленное вытеснение воздуха из кокиля расплавом. Для выхода воздуха используют открытые выпоры, прибыли, зазоры по пло­скости разъема

и между подвижными частями (вставками, стерж­нями) кокиля и специальные вентиляционные каналы: по плос­кости разъема делают газоотводные каналы / (см. Б — Б на рис. 2.9), направленные по возможности вверх. В местных углуб­лениях формы при заполнении их расплавом могут образовываться воздушные мешки (см. А А). В этих местах в стенке кокиля устанавливают вентиляционные пробки 2. При выборе места установки вентиляционных пробок необходимо учитывать последо­вательность заполнения формы расплавом.

            Центрирующие элементы — контрольные штыри и втулки—предназначены для точной фиксации половин кокиля при его сборке. Обычно их количество не превышает двух. Их располагают в диагонально расположенных углах кокиля.

            Запирающие механизмы предназначены для предот­вращения раскрытия кокиля и исключения прорыва расплава по его разъему при заполнении, а также для обеспечения точности отливок. В ручных кокилях применяют эксцентриковые, клиновые, винтовые замки и другие устройства, обеспечивающие плотное соединение частей кокиля.

Закрытие и запирание кокилей, устанавливаемых на машинах, осуществляется пневматическим или гидравлическим приводом подвижной плиты машины.

            Системы нагрева и охлаждения предназначены для поддержания заданного температурного режима кокиля. Применя­ют электрический и газовый обогрев. Первый используется для общего нагрева кокиля, второй более удобен для общего и местного нагрева. Конструкции охлаждаемых кокилей рассмот­рены выше.

            Удаление отливки из кокиля осуществляется специальными механизмами. При раскрытии кокиля отливка должна оставаться в одной из его половин, желательно в подвижной, чтобы исполь­зовать ее движение для выталкивания отливки. Поэтому выпол­няют на одной стороне отливки меньшие, а на другой большие уклоны, специальные технологические приливы и предусматривают несимметричное расположение литниковой системы в кокиле (це­ликом в одной половине кокиля). При изготовлении крупных отли­вок должно быть обеспечено удаление отливки из обеих половин кокиля. Отливки из кокиля удаляются выталкивателями, которые располагают на неответственных поверхностях отливки или литниках равномерно по периметру отливки, чтобы не было пе­рекоса и заклинивания ее в кокиле. Выталкиватели возвращаются в исходное положение пружинами (небольшие кокили) или контр­толкателями.

Материалы для кокилей

            В процессе эксплуатации в кокиле возникают значительные термические напряжения вследствие чередующихся резких нагре­вов при заливке и затвердевании отливки и охлаждений при рас­крытии кокиля и извлечении отливки, нанесении на рабочую по­верхность огнеупорного покрытия. Кроме знакопеременных терми­ческих напряжений под действием переменных температур в мате­риале кокиля могут протекать сложные структурные изменения, химические процессы. Поэтому материалы для кокиля, особенно для его частей, непосредственно соприкасающихся с расплавом, должны хорошо противостоять термической усталости, иметь высо­кие механические свойства и минимальные структурные превраще­ния при температурах эксплуатации, обладать повышенной ростоустойчивостью и окалиностойкостью, иметь минимальную диффу­зию отдельных элементов при циклическом воздействии темпера­тур, хорошо обрабатываться, быть недефицитными и недорогими. Производственный опыт показывает, что для рабочих стенок кокилей достаточно полно указанным требованиям отвечают при­веденные ниже материалы.

СЧ20, СЧ25 кокили для мелких и средних отливок из алюминиевых, магниевых, медных сплавов, чугуна; кокили с воздуш­ным и водовоздушным охлаждением
ВЧ42-12, ВЧ45-5 Кокили для мелких, средних и крупных отливок из чугунов: серого, высокопрочного, ковкого; кокили с воздушным и водовоздушным охлаждением
Стали  10, 20, СтЗ, стали 15Л-П,  15ХМЛ Кокили для мелких, средних, крупных и особо крупных отливок из чугуна, стали, алюминиевых, магниевых, медных сплавов
Медь и ее сплавы, легированные стали и сплавы с особыми свойствами Вставки для интенсивного охлаждения отдельных час­тей отливок; тонкостенные водоохлаждаемые кокили; массивные металлические стержни для отливок из раз­личных сплавов
АЛ9, АЛ11 Водоохлаждаемые кокили с анодированной поверх­ностью для мелких отливок из алюминиевых, медных сплавов, чугуна

            Наиболее широко для изготовления кокилей применяют серый и высокопрочный чугуны марок СЧ20, СЧ25, ВЧ42-12, так как эти материалы в достаточной мере удовлетворяют основным требо­ваниям и сравнительно дешевы. Эти чугуны должны иметь ферритно-перлитную структуру. Графит в серых чугунах должен иметь форму мелких изолированных включений. В этих чугунах не допускается присутствие свободного цементита, так как при нагревах кокиля происходит распад цементита с изменением объема материала, в результате в кокиле возникают внутренние напряжения, способствующие короблению, образованию сетки разгара, снижению его стойкости. В состав таких чугунов для повышения их стойкости вводят до 1% никеля, меди, хрома, а со­держание вредных примесей серы и фосфора должно быть мини­мальным. Например, для изготовления кокилей с высокой тепло-нагружснностью рекомендуется [14] серый чугун следующего химического состава, мае. %: 3,0—3,2 С; 1,3—1,5 Si; 0,6—0,8 Mn; 0,7—0,9 Cu; 0,3—0,7 Ni; 0,08—0,1 Ti; до 0,12 S; до 0,1 Р.

            Для изготовления кокилей используют низкоуглеродистые стали 10, 20, а также стали, легированные хромом и молибденом, например 15ХМЛ. Эти материалы обладают высокой пластич­ностью, поэтому хорошо сопротивляются растрескиванию при эксплуатации. Кокили для мелких отливок из чугуна и алюми­ниевых сплавов иногда изготовляют из алюминиевых сплавов АЛ9 и АЛ11. Такие кокили анодируют, в результате чего на их рабочей поверхности образуется тугоплавкая (температура плав­ления около 2273 К) износостойкая пленка окислов алюминия толщиной до 0,4 мм. Высокая теплопроводность алюминиевых стенок кокиля способствует быстрому отводу теплоты от отливки.

Таблица 2.1

Материалы для изготовления деталей кокилей

Детали кокиля Условия работы Материал
Стержни, штыри, обратные толкатели, тяги Соприкасаются с жидким металлом, работают на Сталь 45
Стержни,    вставки,    вытал­киватели с резкими  перехо­дами в сечениях истирание Оформляют глубокие поло­сти   отливок   и    находятся под действием высоких тем­ператур ЗОХГС, 35ХГСА, 35ХНМ, 4Х5МФС
Выталкиватели Испытывают ударные на­грузки У8А; У10А
Оси, валы, эксцентрики Работают на истирание Сталь 25*

* Подвергают цементации.

Эти кокили обычно делают водоохлаждаемыми. Медь также часто используют для изготовления рабочих стенок водоохлаждаемых кокилей. Из меди делают отдельные вставки, вкладыши в местах, где необходимо ускорять теплоотвод от отливки и тем самым управлять процессом ее затвердевания.

            Стержни простой конфигурации изготовляют из конструкцион­ных углеродистых сталей, а сложной конфигурации — из легиро­ванных сталей, для прочих деталей — осей, валов, болтов и т. д.— используют конструкционные стали (табл. 2.1).

Изготовление кокилей

            Кокили небольших размеров для мелких отливок из алюминиевых, магниевых, цинковых, оловянных сплавов изготовляют литыми из чугуна, а также часто из поковок обработкой резанием с электрофизической и электрохимической обра­боткой рабочих полостей. Более крупные кокили - выполняют литыми. При отливке рабочих стенок кокилей особое внимание обращают на то, чтобы заготовки не имели внутренних напряжений, что обеспечивается технологией литья, а также .снижением уровня остаточных напряжений соответствующей термической обра­боткой.

            Желательно выполнять литую заготовку кокиля такой, чтобы не требовалось обработки резанием рабочих полостей, в крайнем случае производилась бы их зачистка. Это обеспечивает снижение стоимости кокиля и повышение стойкости рабочей поверхности к появлению сетки разгарных трещин при эксплуатации.

            Однако решить эту задачу трудно, особенно если конфигурация рабочей полости сложная. Поэтому литые необработанные кокили применяют для отливок несложной конфигурации. Рабочую полость кокиля выполняют стержнями, кото­рые для получения чистой поверхности кокиля, без пригара, обязательно окраши­вают или натирают противопригарными пастами. Без окраски используют лишь стержни, получаемые по нагреваемой оснастке из смесей со связующим ПК-104, а также стержни из песков зернистости не выше 016, стержни из цирконовых песков.

Для получения литых кокилей из стали используют СО2 — процесс, а также керамические формы, изготовляемые по постоянным моделям [11]. Последний способ позволяет получать рабочие полости кокилей сложной конфигурации без обработки резанием. Точность размеров рабочих полостей в этом случае дости­гает 12 — 14-го квалитетов по СТ СЭВ 145—75, а шероховатость поверхности

Rz = 40÷10 мкм по ГОСТ 2789—73. Использование керамических форм для изготовления рабочих стенок кокилей позволяет снизить объем обработки реза­нием на 50—60%.

            Литые заготовки стальных кокилей после отливки подвергают термической обработке — нормализации. Термическую обработку стальных водоохлаждаемых кокилей проводят после приварки к ним кожухов и коробок для подачи жидкости, так как при сварке в конструкции неизбежно возникнут внутренние напряжения, которые могут привести к короблению кокиля при эксплуатации.

            Для стабилизации размеров и формы стальные кокили перед окончательной обработкой резанием подвергают старению по режиму: нагрев до 773—873 К, выдержка 2 ч на каждые 25 мм толщины стенки, охлаждение с ночью до 473— 573 К и далее на воздухе. Используют также «тренировку» — циклическую тер­мическую обработку: в печь, нагретую до 1173 К, помещают кокиль и нагревают до 573 К, затем охлаждают обдувкой воздуха. Этот цикл повторяют 3—4 раза. Стареыие и циклическую термическую обработку по указанным режимам исполь­зуют также и для чугунных заготовок кокилей.

Стойкость кокилей и пути ее повышения

            Стойкость кокилей измеряется числом отливок требуемого, качества, полученных в данном кокиле до выхода его из строя. Приблизительная стойкость кокилей приведена в табл. 2.2.

Увеличение стойкости кокиля при литье чугуна, стали, медных сплавов позволяет повысить эффективность производства отливок благодаря снижению затрат на изготовление кокиля, расширить область применения этого перспективного технологического про­цесса.

Таблица 2.2

Приблизительная стойкость кокилей

Заливаемый  сплав Отливки

Материал

кокиля

Стойкость   кокиля (число отливок)
Медные Мелкие Средние Чугун 1000—10000 1000—8000
Мелкие Средние Сталь 1 000— 1 500 500 - 3000
Алюминиевые, магниевые, цинковые Мелкие Средние Крупные Чугун Сотни  тысяч Десятки  тысяч Несколько тысяч

            Основной причиной разрушения кокиля являются сложные термохимические процессы, вызываемые неравномерным цикличе­ским нагревом и охлаждением рабочей стенки кокиля во всех трех ее измерениях (по толщине, длине, ширине). Это приводит к появлению неоднородного, изменяющегося с изменением темпе­ратуры поля напряжений в стенке кокиля, вызывающего ее упру­гие и пластические деформации. Последние приводят к остаточным деформациям и напряжениям. Теоретически показано, что в по­верхностном слое кокиля нереализованная термическая деформа­ция обычно в 2 раза превосходит деформацию, соответствующую пределу текучести материалов при определенной температуре. Поэтому в каждом цикле нагружения (заливка — выбивка) де­формация сжатия сменяется деформацией растяжения, что приво­дит к термической усталости материала кокиля. Термические напряжения возникают также вследствие структурных превраще­ний и роста зерна материала кокиля, протекающих тем интенсив­нее, чем выше температура его нагрева.

            Способность кокиля выдерживать термические напряжения за­висит от механических свойств его материала при температурах работы кокиля. Эти свойства резко снижаются при нагреве. Напри- : мер, предел текучести стали 15 при нагреве до 900 К уменьшается в 3 раза.

            Уровень возникающих в кокиле напряжений зависит также от конструкции кокиля — толщины его стенки, конструкции ребер жесткости и т. д. Например, тонкие ребра жесткости большой высоты приводят к появлению трещин на рабочей поверхности кокиля, а низкие ребра могут не обеспечить жесткость кокиля и привести к короблению.

            Стойкость кокилей обеспечивается конструктивными, техноло­гическими и эксплуатационными методами.

Конструктивные методы основаны на правильном вы­боре материалов для кокилей в зависимости от преобладающего вида разрушения, разработки рациональной конструкции кокиля.

            Термические напряжения, приводящие к снижению стойкости кокиля, являются следствием нереализованной термической де­формации: менее нагретые части кокиля (слои рабочей стенки, прилегающие к внешней нерабочей поверхности, ребра жесткости) препятствуют расширению нагревающейся металлом отливки час­ти кокиля. Уменьшить напряжения возможно, если термическая деформация нагретой части происходит беспрепятственно. Этого можно достичь, если расчленить рабочую стенку кокиля на отдель­ные элементы (вставки) в продольном (рис. 2.10, 6) или попереч­ном (рис. 2.10, а) направлениях. Тогда вследствие зазоров между элементами кокиля каждый из них при нагреве расширяется свободно.

Подпись: Рис. 2.10. Кокиль с расчленением стенки:
а — поперечным; б — продольным; в — вставка в кокиль; 1 — вставки; 2 — корпус
            Для повышения стойкости кокилей используют сменные встав­ки 1, оформляющие рабочую полость кокиля (рис. 2.10, в). Благо­даря зазорам между корпусом 2 и вставкой 1 термическая деформация вставки протекает свободно, возникающие в ней напряже­ния снижаются, стойкость кокиля возрастает. Наиболее эффек­тивно использование сменных вставок в многоместных кокилях.

            Технологические методы направлены на повышение стойкости поверхностного слоя рабочей полости, имеющего наибольшую температуру при работе кокиля. Для этого использу­ют армирование, поверхностное легирование, алитирование, силицирование, термическую обработку различных видов, наплавку, напыление на рабочую поверхность материалов, повышающих стойкость кокиля. Каждый из этих способов предназначен для повышения стойкости кокиля к разрушениям определенного вида.

Подпись: Рис. 2.11. Зависимость температуры кокиля от темпа работы            Эксплуатационные методы повышения стойкости кокилей основаны на строгой регламентации температурного режима кокиля, зависящего от температуры кокиля перед заливкой, температуры заливаемого металла, состава, свойств и состояния огнеупорного покрытия на его рабочей поверхности, темпа (часто­ты заливок) работы кокиля. Перед заливкой кокиль нагревают или охлаждают (если он был нагрет) до оптимальной для данного сплава и отливки температуры TФ (см. табл. 2.4). Начальная тем­пература Тф кокиля зависит от темпа работы кокиля (рис. 2.11). При повышении темпа работы сокращается продолжительность tц цикла, в основном вследствие уменьшения времени t3an от выбивки отливки из кокиля до следующей заливки. Это приводит к тому, что в момент заливки кокиль имеет температуру несколько выше требуемой (рис. 2.11, а), С увеличением Ц кокиля уменьшается разность температур АГФ — Тюл — Тф и соответственно уменьшают­ся остаточные напряжения в кокилях из упруго-пластических мате­риалов. Вместе с тем повышение Гф способствует интенсификации коррозии, структурных превращений и других процессов в мате­риале кокиля, что снижает его стойкость.

            При уменьшении темпа работы (рис. 2.11,6) продолжитель­ность цикла возрастает также из-за увеличения времени t3an. Это приведет к тому, что перед очередной заливкой температура Т'ф будет ниже заданной, соответственно возрастет разность температур АГФ и увеличатся остаточные напряжения в кокиле, его стойкость понизится. Производственные данные показывают (рис. 2.12), что для данного конкретного кокиля существует опти­мальный темп работы т, при котором стойкость его &зал наиболь­шая.

            На стойкость кокиля оказывает влияние температура заливае­мого металла Гзал. Повышение температуры металла выше требуе­мой по технологии для данной отливки приводит к снижению стойкости кокиля и ухудшению качества отливки — усадочным раковинам, рыхлотам, трещинам.

Подпись: Рис. 2.12. Зависимость стойкости k ко¬киля от темпа ра.боты m            Стойкость кокиля может быть повышена при надлежащем уходе за ним при эксплуатации. Это обеспечивается системой планово-предупредительного ремонта (ППР).

ТЕХНОЛОГИЯ ЛИТЬЯ В КОКИЛЬ

Технологические режимы литья

            Почти всегда, за исключением особых случаев, требуемое качество отливки достигается при условии, если литейная форма заполнена расплавом без неспаев, газовых и неметаллических включений в отливке, а при затвердевании в отливке не образо­валось усадочных дефектов — раковин, пористости, трещин — и ее структура и механические свойства отвечают заданным. Из теории формирования отливки известно, что эти условия дости­жения качества во многом зависят от того, насколько данный технологический прооцесс обеспечивает выполнение одного из общих принципов получения качественной отливки — ее направ­ленное затвердеание и питание. Направленное затвердевание и питание усадки отливки обеспечивается комплексом мероприя­тий: рациональной конструкцией отливки, ее расположением в форме, конструкцией ЛПС, технологическими режимами литья, конструкцией и свойствами материала формы и т. д., назначаемых технологом с учетом свойств сплава и особенностей взаимодейст­вия формы с расплавом. Напомним, что при литье в кокиль главная из этих особенностей — высокая интенсивность охлаждения рас­плава и отливки. Это затрудняет заполнение формы расплавом, ускоряет охлаждение его в форме, что не всегда благоприятно влияет на качество отливок, особенно чугунных.

            Интенсивность теплового взаимодействия между кокилем и расплавом или отливкой возможно регулировать в широких пре­делах. Обычно это достигается созданием определенного терми­ческого сопротивления на границе контакта отливки 1 (рас­плав) — рабочая поверхность полости кокиля 2 (рис. 2.13). Для этого на поверхности полости кокиля наносят слой 3 огнеупорной облицовки и краски (табл. 2.3). Благодаря меньшей по сравнению с металлом кокиля теплопроводности λкр огнеупорного покрытия между отливкой и кокилем возникает термическое сопротивление переносу теплоты:

,

где - коэффициент тепловой проводимости огнеупорного покры­тия-  — толщина слоя огнеупорного покрытия.

Подпись: Рис. 2.13. Схема распределения температур в системе отливка—кокильОгнеупорное покрытие уменьшает скорость q отвода теплоты от расплава  и отливки,  зависящую от тепловой  проводимости огнеупорного покрытия и разности между температурой  поверх­ности отливки и температуры   поверхности кокиля:

.

Величины  и λкр возможно изменять в самых широких пределах, регулируя коэффициент теп­ловой проводимости огнеупорного покрытия и соответственно скорость охлаждения отливки, а следовательно, ее структуру, плотность, механические свойства.

Таблица 2.3

Составы огнеупорных покрытий (красок) кокилем

Назначение Компоненты Содержание, мас.% Коэффициент теплопро­водности, Вт/ (.ч -К)
Для   отливок   из   алюми- ниевых сплавок 1   Окись цинка 15 0,41
Асбест          прокаленный (пудра) 5
Жидкое стекло 3
Вода 77
2. * Асбест      прокаленный 8.7 0,27
Мел молотый 17,5
Жидкое стекло 3,5
Вода 70,3
Для   отливок  id   магние- 3. Тальк 18 0,39
вых сплавок Борная  кислота 2,5
Жидкое стекло 2,5
Вода 77
Для   отливок   из   чугуна 4.  Пылевидный кварц 10— 15 0,58
Жидкое стекло 3 - 5
Вода 87—80
5. * Молотый шамот 40 0,25
Жидкое стекло 6
Вода 54
Марганцевокйслый     ка-
лий 0,05 % (сверх 100 %)
Для    отливок    из    стали 6. Огнеупорная составляю- 30 —40 0,3
щая (циркон, карбооунд,
окись хрома)
Жидкое стекло 5 - 9
Борная  кислота 0,7—0,8
Вода

Остальное  до  плотно-

сти 1,1-1,22 г/см3

* Составы применяют для покрытия поверхности литниковых каналов и выпоров.

            В соответствии с необходимой скоростью отвода теплоты от различных мест отливки толщину  и теплопроводность λкр огне­упорного покрытия можно делать разными в различных частях кокиля, создавая условия для направленного затвердевания отливки, регулируя скорость ее охлаждения в отдельных местах.

            Огнеупорное покрытие уменьшает скорость нагрева рабочей поверхности кокиля; благодаря термическому сопротивлению огнеупорного покрытия температура рабочей поверхности будет ниже, чем без покрытия. Это снижает разность температур по толщине кокиля, уменьшает температурные напряжения в нем и повышает его стойкость.

Огнеупорное покрытие на поверхности кокиля должно иметь заданную теплопроводность, хорошо наноситься и удерживаться на поверхности формы, противостоять резким колебаниям темпе­ратуры, не выделять газов при нагреве, способных растворяться в отливке или создавать на ее поверхности газовые раковины. Покрытия приготовляют из огнеупорных материалов, связую­щих, активизаторов и стабилизаторов (см. табл. 2.3).

            В качестве огнеупорных материалов применяют пыле­видный кварц, шамотный порошок, окислы и карбиды металлов, тальк, графит, асбест. Связующие для покрытий — жидкое стекло, огнеупорная глина, сульфитный щелок.

            Активизаторы применяют для улучшения схватывания с поверхностью кокиля. В качестве активизаторов используют для шамотных и асбестовых покрытий буру (Na2B4O7* lOH2O) и борную кислоту (Н3ВO4); для маршалитовых — кремнефто-ристый натрий (Na2SiF6), для тальковых — буру, борную кислоту или марганцевокислый калий. Перед приготовлением огнеупорные материалы просеивают через сито 016—01.

            Стабилизаторы применяют для того, чтобы уменьшить седиментацию огнеупорных составляющих покрытия. Чаще всего это поверхностно-активные вещества ОП5, ОП7.

При литье в кокиль чугуна для устранения отбела в отливках на огнеупорное покрытие наносят копоть (сажу) ацетиленового пламени.

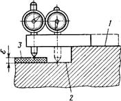
            Толщину слоя огнеупорного покрытия контролируют измери­тельными пластинами, проволочками, прямым измерением, элект­роконтактным способом. При прямом измерении толщину слоя облицовки определяют микрометром (рис. 2.14): измеряют рас­стояние от базовой поверхности 1 до поверхностей 2 и 3, соответст­венно не покрытой и покрытой облицовкой. Разность дает толщину слоя облицовки.

                Схема распределения температур в системе отливка — покрытие — форма практически реализуется только для поверхностей отливки, которые при усадке образуют плотный контакт с кокилем, между охватываемыми поверхностями отливки и кокилем образуется зазор, изменяющийся по мере усадки отливки. Этот зазор заполнен воздухом и газами, выделяющимися из покрытия. Образо­вание зазора приводит к увеличению термического сопротивления переносу теп­лоты от отливки в кокиль. Поэтому со стороны внутренних стенок отливка охлаж­дается интенсивнее, чем со стороны внеш­них. В результате смещается зона образо­вания осевой пористости отливки к наружной ее стенке, что следует учитывать при разработ­ке системы питания усадки отливки.

                Рассмотренное явление используют для устранения отбела в поверхностных случаях чугунных отливок. Для этого после образования в отливке твердой корочки достаточной прочности кокиль слегка раскрывают гак чтобы между поверхностями отливки и кокиля образовался воздушный зазор. Тогда теплота затвердевания внутренних слоев отливки, проходя через затвердевающую наружную корку, разогревает ее и в результате происходит «самоотжиг» отливки — она не имеет отбела.

Подпись: Рис. 2.14. Измерение толщины краски или облицовки на кокиле

            Скорость отвода теплоты от расплава и отливки зависит от разницы между температурами поверхностей отливки Т0 и кокиля Тп С повышением температуры заливаемого расплава возрастает температура То и скорость отвода теплоты от отливки; с повыше­нием температуры Тn скорость отвода теплоты от отливки умень­шается. Поэтому на практике широко используют регулирование скорости отвода теплоты от расплава и отливки, изменяя темпе­ратуры заливаемого сплава или кокиля перед заливкой. Однако чрезмерное снижение температуры заливаемого сплава приводит к ухудшению заполняемости кокиля. Повышение температуры кокиля увеличивает опасность приваривания отливки к кокилю, особенно при литье чугуна и стали, снижает стойкость кокиля.

            Практически установлено, что оптимальная темпера­тура кокиля перед заливкой зависит от заливаемого сплава, толщины стенки отливки и ее конфигурации (табл. 2.4).

            Температура заливки расплава в кокиль зависит от его химического состава, толщины стенки отливки, способа ее пита­ния при затвердевании. Оптимальные температуры заливки в ко­киль различных сплавов приведены ниже.

Особенности изготовления отливок из различных сплавов

Технологические режимы изготовления отливок из различных сплавов обусловлены их литейными свойствами, конструкцией отливок и требованиями, предъявляемыми к их качеству.

Таблица 2.4

Температура нагрева кокилей перед заливкой

Сплавы Отливки Толщина стенки  от­ливок,  мм Температура нагрева кокиля, К
Алюминиевые Тонкостенные, ребристые 1,6—2,1 673—693
Ребристые, корпусные 5—10 623—673
Простые, без ребер <8 >8 523—623 473—523
Магниевые Тонкостенные, сложные 623—670
Медные Толстостенные Средней сложности 5—10 523—620 393—473

Отливки из алюминиевых сплавов

            Литейные свойства. Согласно ГОСТу литейные алюминиевые сплавы разделены на пять групп. Наилучшими литейными свой­ствами обладают сплавы I группы — силумины. Они имеют хоро­шую жидкотекучесть, небольшую (0,9—1%) линейную усадку, стойки к образованию трещин, достаточно герметичны. Это сплавы марок АЛ2, АЛ4, АЛ9, их широко используют в производстве. Однако они склонны к образованию грубой крупнозернистой эвтектики в структуре отливки и растворению газов.

            При литье силуминов в кокиль структура отливок вследствие высокой скорости кристаллизации получается мелкозернистой. Основной недостаток сплавов I группы при литье в кокиль — склонность к образованию рассеянной газовой пористости в от­ливках.

Сплавы II группы (медистые силумины) также нередко отли­вают в кокиль. Эти сплавы обладают достаточно хорошими ли­тейными свойствами и более высокой прочностью, чем силумины, менее склонны к образованию газовой пористости в отливках.

            Сплавы III — V групп имеют худшие литейные свойства — пониженную жидкотекучесть, повышенную усадку (до 1,3%), склонны к образованию трещин, рыхлот и пористости в отливках. Получение отливок из этих сплавов требует строгого соблюдения технологических режимов, обеспечения хорошего заполнения фор­мы, питания отливок при затвердевании.

            Все литейные алюминиевые сплавы в жидком состоянии интен­сивно растворяют газы и окисляются. При затвердевании сплава газы выделяются из раствора и образуют газовую и газоусадочную пористость, которая снижает механические свойства и герметич­ность отливок. Образующаяся на поверхности расплава пленка окислов при заполнении формы может разрушаться и попадать в тело отливки, снижая ее механические свойства и герметичность. При высоких скоростях движения расплава в литниковой системе пленка окислов, перемешиваясь с воздухом, образует пену, попа­дание которой в полость формы приводит к дефектам в теле от­ливок.

            Влияние кокиля на свойства отливок. Интенсивное охлаждение расплава и отливки в кокиле увеличивает скорость ее затвердева­ния, что благоприятно влияет на структуру — измельчается зерно твердого раствора, эвтектики и вторичных фаз. Структура силу­минов, отлитых в кокиль, близка к структуре модифицированных сплавов; снижается опасность появления газовой и газоусадочной пористости, уменьшается вредное влияние железа и других при­месей. Это позволяет допускать большее содержание железа в алюминиевых отливках, получаемых в кокилях, по сравнению с отливками в песчаные формы. Все это способствует повышению механических свойств отливок, их герметичности.

            Кокили для литья алюминиевых сплавов применяют массив­ные, толстостенные. Такие кокили имеют высокую стойкость и большую тепловую инерцию: после нагрева до рабочей тем­пературы они охлаждаются медленно. Это позволяет с большей точностью поддерживать температурный режим литья и получать тонкостенные отливки. Для отливок сложной конфигурации ис­пользуют кокили, имеющие системы нагрева или охлаждения отдельных частей. Это дает возможность обеспечить направлен­ное затвердевание и питание отливок. Для получения точных отливок рабочую полость кокиля обычно выполняют обработкой резанием.

            Положение отливки в форме должно способствовать ее направленному затвердеванию: топкие части отливки распола­гают внизу, а массивные вверху, устанавливая на них прибыли и питающие выпоры.

            Литниковая система должна обеспечивать спокойное, плавное поступление расплава в полость формы, надежное улавливание окисных плен, шлаковых включений и предотвратить их образова­ние в каналах литниковой системы и полости кокиля, способст­вовать направленному затвердеванию и питанию массивных узлов отливки.

Используют литниковые системы с подводом расплава сверху, снизу, сбоку, комбинированные и ярусные (рис. 2.15, а).

            Литниковые системы с верхним подводом ис­пользуют для невысоких отливок типа втулок и колец (I, 1—3). Такие литниковые системы просты, позволяют достичь высокого коэффициента выхода годного. Заливка с кантовкой кокилей с такой литниковой системой обеспечивает плавное заполнение формы и способствует направленному затвердеванию отливок.

            Литниковые системы с подводом расплава снизу используют для отливок корпусов, высоких втулок, кры­шек (II, 1—3). Для уменьшения скорости входа расплава в форму стояк делают зигзагообразным (II, 1), наклонным (II, 2). Для задержания шлака устанавливают шлакозадерживающие бобыш­ки Б (II, 1); для удаления первых охлажденных порций расплава, содержащих шлаковые включения, используют промывники П (II 3).

            Литниковые системы с подводом расплав, а сбоку через щелевой литник (III, 1—3), предложен­ные акад. А. А. Бочваром и проф. А. Г. Спасским, сохраняют ос­новные преимущества сифонной заливки и способствуют направ­ленному затвердеванию Отливки. На практике используют несколь­ко вариантов таких систем. Стояки выполняют также наклонными или сложной формы, так называемые гусиные шейки. Эти стояки снижают скорость, исключают захват воздуха, образование шла ков и пены в литниковой системе, обеспечивают плавное заполне­ние формы расплавом. При заливке крупных отливок обязатель­ным элементом литниковой системы является вертикальный канал, являющийся коллектором.

I

1

2

II

1

2

3

III

1

2

3

IV

1

2

3

V

1

2

3

Подпись: Рис. 2.15. Литниковые системы для алюминиевых и магниевых сплавов (а), работа щелевой литниковой системы (б), сечения элементов литниковой си¬стемы (в)

            Расплав (рис. 2.15,6) из чаши / поступает в зигзагообразный стояк 2, а из него — в вертикальный канал 3 — колодец — и вер­тикальный щелевой питатель 4, Соотношение площадей попереч­ных сечений элементов литниковой системы подбирают так, чтобы уровень расплава в форме во время ее заполнения был ниже уровня в канале 3; верхние порции расплава должны сливаться в форму и замещаться более горячим расплавом. Размеры кана­ла 3 и питателя 4 назначают сообразно с толщиной стенки отливки 5; чтобы избежать усадочных дефектов в отливке, расплав в кана­ле 3 и питателе 4 должен затвердевать позже отливки. Недоста­ток литниковой системы — большой расход металла на литники и сложность отделения их от отливки.

            Литниковые системы с комбинированным под­водом используют для сложных отливок (см. рис. 2.15,а IV, 1—3). Нижний питатель способствует спокойному заполнению формы, а верхний подает наиболее горячий расплав под прибыль, улучшая ее питающее действие.

            Ярусные литниковые системы используют для улуч­шения заполнения формы тонкостенных сложных или мелких отливок (V, 1—3).

            Размеры элементов литниковых систем для отливок из алюми­ниевых и магниевых сплавов определяют, исходя из следующих положений: значения критерия Re для различных элементов лит­никовой системы (стояка, коллектора, питателей) не должны превосходить гарантирующих минимальное попадание окислов и неметаллических включений в форму вследствие нарушении сплошности; скорость движения расплава в форме должна обес­печить ее заполнение без образования в отливке неслитин и спаев.

            Ниже приведены максимальные допустимые значения кри­терия Re = ud/v для различных элементов литниковых систем, по данным Н. М. Галдина и Е. Б. Ноткина [8]:

Стояк

Коллектор

Питатели

Форма:

            простая .

            сложная

43500—48300

28000—33800

7800—5300

2600—1350

780

Из приведенных данных следует, что для получения качест­венных  отливок  скорость  движения   расплава  должна   убывать от сечения стояка к питателю. Поэтому для отливок из алюми ниевых сплавов применяют расширяющиеся литниковые системы с соотношением

fc:fк:fп=l:2:3 или 1:2:4,                     (2.1)

где fc, fк, fn — площади поперечного сечения стояка, коллектора, питателя соответственно.

            Для   крупных    (50—70   кг)    и   высоких    (750   мм)    отливок fc:fк:fп=1:3:4 или 1:3:5.

            Для определения среднего значения минимально допустимой скорости подъема расплава в форме иф используют различные теоретические и экспериментальные зависимости, учитывающие химический состав сплава, конфигурацию отливки, температуру формы и сплава и т. д. Наиболее простой, но достаточно точной, является зависимость, установленная А. А. Лебедевым [8],

uф =(3,0÷4,2)/lo,                                (2.2)

где uф — начальная скорость подъема расплава в форме, см/с; lо — характерная толщина стенки отливки, см; при отношении Hо/lо<50 принимают меньшие значения коэффициента в правой части (2.2), при Hо/lо>50 — большие его значения; Н0 — высота отливки без прибылей и выпоров.

            При литье мелких и средних отливок в кокиль площадь попе­речного сечения стояка определяют по формуле

(3,0÷4,2),                         (2.3)

где G — масса отливки, г;  — плотность сплава,  - скорость движения расплава в узком сечении стояка, см/с.

            Скорость  определяют по формуле , где расчетный напор, определяют по известным формулам [4];  — коэффициент расхода, принимают [4]:   = 0,65÷0,76 для нижнего подвода;  ==0,7÷0,8 для ярусной системы;  = 0,56÷0,67 для комбинированного способа подвода. Меньшие значения  прини­мают для пониженных температур заливки.

            Определив по формуле (2.3) , по соотношению (2.1) находят площади поперечного сечения остальных элементов литниковой системы. В кокиле выполняют каналы литниковой системы в соот­ветствии с минимальными расчетными размерами, которые при доводке технологии отливки в случае необходимости увеличивают.

При литье крупных, сложных отливок для определения разме­ров литниковой системы пользуются специальными методами [8].

            Технологические режимы литья назначают в зависимости от свойств сплава, конфигурации отливки и предъявляемых к ней требований.

Состав и толщину слоя краски на поверхности рабочей полости кокиля назначают в соответствии с рекоменда­циями табл. 2.3. Для регулирования скорости отвода теплоты от различных частей отливки толщину и свойства огнеупорных покры­тий в разных частях кокиля часто делают различными. Для1 окраски в этом случае используют трафареты. Поверхности кана­лов литниковой системы покрывают более толстым слоем красок с пониженной теплопроводностью, а поверхности прибыльных час­тей иногда оклеивают тонколистовым асбестом (клеем служит жидкое стекло).

            Температуру нагрева кокиля перед заливкой прини-мают, руководствуясь данными табл. 2.4.

Температурузаливки расплава в кокиль назначают в зависимости от химического состава сплава, толщины стенки отливки и ее размеров. Для силуминов типа АЛ2, АЛ4, АЛ9 ее принимают равной 973—4023 К, для широкоинтервальных сплавов типа АЛ 19, обладающих пониженной жидкотекучестью,— рав­ной 993—1043 К.

            Продолжительность выдержки отливки в ко­киле назначают с учетом ее размеров и массы. Обычно отливки охлаждают в форме до температуры 650 К. Продолжительность охлаждения отливки до температуры выбивки определяют рас­четом по известным формулам [2, 14] и окончательно коррек­тируют при доводке технологического процесса.

Отливки из магниевых сплавов

            Литейные свойства. Магниевые литейные сплавы по сравнению с алюминиевыми обладают худшими литейными свойствами: пониженной жидкотекучестью, большой (1,2—1,5%) усадкой, склонностью к образованию горячих трещин, пониженной гер­метичностью, высокой склонностью к окислению в жидком и твер­дом состоянии, способностью воспламеняться в жидком состоянии. Магниевые сплавы имеют большой интервал кристаллизации, склонны к растворению газов и поэтому в отливках часто обра­зуются микрорыхлоты. Отливки нз магниевых сплавов склонны к короблению при затвердевании и термической обработке.

            Наибольшее применение для литья в кокиль нашли сплавы МЛ5 (системы Mg — А1 — Zn), МЛ6 (системы Mg — Al — Zn), МЛ12 (системы Mg — Zn — Zr) МЛ10 (Mg — Nd — Zr).

            Влияние кокиля на свойства отливок. Кокиль практически не вступает в химическое взаимодействие с магниевым расплавом, что уменьшает окисляемость сплава, улучшает качество отливок. Пониженная жидкотекучесть сплавов вызывает необходимость за­ливать их в кокили при повышенной температуре, особенно при изготовлении тонкостенных отливок. Это приводит к повышению окисляемости сплава, вероятности попадания окислов в отливку, увеличению размеров зерна в структуре, ухудшению механических свойств отливки.

            Для предотвращения горячих трещин в отливках, обусловлен­ных повышенной усадкой сплавов, необходимо осуществлять «подрыв» неподатливых металлических стержней или использо­вать песчаные стержни; модифицирование сплавов церием и вис­мутом повышает трещиноустойчивость сплавов.

            Положение отливки из магниевого сплава в кокиле име­ет особенно важное значение для направленного ее затвердевания и питания. Для питания отливки обязательно используют прямые или отводные прибыли; для лучшей их работы прибыли выполняют в стержневых, асбестовых или керамических вставках.

            Литниковые системы для магниевых сплавов расширяющиеся: fc:fк:fп= 1:2:3. Для крупных и сложных отливок fc:fк:fп  = 1:4:6.

            Размеры элементов литниковых систем определяют, пользуясь формулами. (2.1), (2.3) и зависимостями коэффициентов расхода, приведенными выше. Объем прямой или отводной прибыли опре­деляют из соотношения Vпр=(2-2,5) Vп.о ,где Vп.о — объем питаемого узла отливки. Способы подвода расплава в кокиль и кон­струкции литниковых систем такие же как и для алюминиевых сплавов (см. рис. 2.15). Особое внимание следует обращать на рассредоточенный подвод расплава в рабочую полость. Это вызвано пониженной жидкотекучестью магниевых сплавов и их малой теплопроводностью. Последнее свойство при сосредоточенном под­воде приводит к замедленному охлаждению отлпвки в месте под­вода питателя и образованию в эгом месте усадочных дефектов - пористости, рыхлот, трещин.

            Технологические режимы литья магнеевых сплавов в кокиль назначают с учетом их литейных свойств, конфигурации отливки и предьявляемых  к  ней требований.

            Состав и толщину краски рабочей полости кокиля принимают но рекомендациям табл. 2.3. Для устранения окисления и загорания сплава при заливке рекомендуется покрывать по-верхность кокиля и кромки заливочной чаши серным цветом, кото-рый сгорая, создает защитную среду вокруг отливки.

            Температуру нагрева кокиля перед залинкой назна-чают в пределах указанных в табл. 2.4.

            Температура заливки магниевых сплавов зависит от химического состава, но обычно на 100- 150 К выше линии лик­видна, что вызвано их пониженной жидкотекучестью. Обычно температура заливки составляет 1000-- 1020 К для тонкостенных отливок и 950-980 К для массивных, толстостенных

Отливки из медных сплавов

            Литейные свойства. Литьем в кокиль изготовляют отливки из латуней, бронз, а также чистой меди.

Латуии имеют обычно небольшой интервал кристаллизации, хорошую жндкотекучесть, но большую усадку; 1,5—2,5% в зави-симости от химического состава. Латуни мало склонны к образо­ванию усадочной пористости, но, как и все медные сплавы, ин­тенсивно, растворяют водород, особенно кремнистые латуни, отлив­ки из которых часто поражаются газовой пористостью.

Бронзы оловянные имеют высокую жидкотекучесть, повы­шенную усадку (1.4—1,6%), большой интервал кристаллизации, а потому и повышенную склонность к образованию усадочной пористости в отливках. Алюминиевые бронзы имеют небольшой интервал кристаллизации, большую усадку (1,7—2,5%); отливки нз них получаются плотными, но они склонны к образованию окис­ных плен из-за повышенной окисляемости содержащегося в них алюминия. Плены, попадающие в отливку, снижают ее механиче­ские свойства и герметичность. Кремнистые бронзы, аналогично кремнистым латупям, склонны к образованию газовой пористости.

Свинцовые бронзы склонны к ликвации, ухудшающей свойства отливок.

            Чистая медь имеет низкую жидкотекучесть, высокую усад­ку (1,8—2%), интенсивно растворяет газы, которые при затвер­дев а ни и отливки образуют газовую пористость и раковины в ней. При плавке мель интенсивно окисляется. Окислы меди ухудшают ее литейные свойства, а также механические свойства и электро­проводность отливок.

Влияние кокиля на качество отливок. Высокая скорость охлаж­дения и затвердевания при литье в кокиль благоприятно влия­ет на качество отливок: повышаются их механические свойства, герметичность, плотность, улучшается структура. Повышение скорости охлаждения способствует приближению характера за­твердевания широкоинтервальных сплавов к последовательному. Поэтому, например, отливки из оловянных бронз в кокиль имеют большую плотность, чем при литье в песчаные формы. Отлнвки из кремнистых латуне.й и бронз меньше поражены газовой порис­тостью, так как высокая скорость охлаждения расплава препят­ствует выделению газов из раствора. Повышенная скорость за­твердевания отливок из свинцовых бронз уменьшает ликвацию, способствует измельчению включений свинца, что повышает ан­тифрикционный свойства отливок.

            Отливки из медных сплавов при литье в кокиль часто поражены трещинами, так к.а-к кокиль неподатлив. Это затрудняет полу­чение в кокилях сложных тонкостенных отливок. Главная мера -предупреждения этих дефектов — хорошее раскисление и рафини­рование сплавов — освобождение их от окислов, сильно влияю­щих на трещйноустойчивость сплавов, а также создание условий для направленного затвердевания и питания отливки.

Подпись: Рис. 2..16. Литниковые системы для медных сплавов&#13;&#10;&#13;&#10;            Положение отливки в кокиле должно обеспечивать направленное затвердевание .и питание ее при усадке. Поэтому располагают массивные ее части вверху и на них устанавливают прибыли.

            Литниковая система (рис. 2.16,) для медных сплавов должна обеспечивать плавное заполнение формы и питать отливку в процессе ее затвердевания. Поэтому литники делают большого сечения, одновременно выполняющими функции прибылей. Между стояком и питателем устанавливают питающие бобышки Б, кр-торых происходит также частичное шлакозадержание. Для отли­вок из алюминиевых, марганцевых и кремнистых бронз используют нижний   подвод  расплава через зигзагообразные   и наклонные стояки (рис. 2.16, б, в), шлакоуловители и плоские щелевидные питатели. Тонкостенные мелкие отливки заливают сверху (рис. 2.16, а), обычно с подводом расплава в питающую бобыш­ку Б. Для отливок из медных сплавов применяют как расширяю­щиеся, так и суживающиеся литниковые системы. Для сплавов, склонных к образованию  плен (алюминиевых,    марганцевых бронз), используют расширяющиеся литниковые системы (fп:fл.х:fс=3:2: 1), а для латуни — суживающиеся (fп:fл.х:fс=1:2,5: 3,5).

            Размеры элементов литниковой системы определяют, пользуясь известным гидравлическим методом расчета [8].

            Технологические режимы назначают в зависимости от литейных свойств сплава, конфигурации отливки и требований к ней.

            В состав красок рабочих поверхностей кокилей вводят вещества, способные при взаимодействии с расплавом испаряться и газифицироваться с образованием восстановительной среды, предотвращающей окисление расплава (см. табл. 2.3). Обычно это масла, графит, а также органические лаки, термореактивные смолы. Такие покрытия наносят на поверхность кокиля перед каж­дой заливкой или через две-три заливки.

            Температуру нагрева кокиля перед заливкой назна­чают поданным табл. 2.4. Для получения отливок высокого качест­ва из свинцовых бронз необходимо обеспечить высокую скорость затвердевания. Это достигается охлаждением кокилей водой, использованием для кокилей высокотеплопроводных материалов. Температура заливки медных сплавов зависит от хими­ческого состава и конфигурации отливки. Оловянные бронзы заливают при температурах 1420—1470 К; алюминиевые бронзы — при 1370—1430 К. Кремнистые латуни заливают при температурах 1250—1310 К, свинцовые латуни при 1300—1380 К. Массивные отливки заливают при температурах, близких к нижнему пределу рекомендованных, тонкостенные — к верхнему.

            Температуру выбивки отливок из кокилей назначают в зависимости от химического состава сплава, толщины стенки отливки и ее конфигурации.

Финишные операции и контроль отливок из цветных сплавов

            Отливки из алюминиевых, магниевых, медных сплавов контро­лируют дважды: до отрезки литников и прибылей (предваритель­ный контроль) и после. Литники и прибыли отрезают ленточными и дисковыми пилами, а в массовом производстве — на специаль-

них станках. От мелких отливок из латуней литники часто обруба­ют в штампах на прессах. При отрезке литников от отливок из магниевых сплавов должны быть приняты особые меры для удале­ния стружки, способной к самовозгоранию. Режимы термической обработки назначают, руководствуясь химическим составом, кон­фигурацией отливки и требованиями технических условий. После этого проводят повторный контроль отливок, проверяя их соответ­ствие требованиям технических условий.

Дефекты отливок из цветных сплавов и меры их предупреждения

            Общие характерные дефекты отливок при литье в кокиль следующие: 1) недоливы и неслитины при низкой температуре расплава и кокиля перед заливкой, недостаточной скорости залив­ки, большой газотворности стержней и красок и плохой вентиляции кокиля; 2) усадочные дефекты (раковины, утяжины, пористость) из-за нарушений направленного затвердевания и недостатного питания массивных узлов отливки, чрезмерно высокой темпе­ратуры расплава и кокиля; местного перегрева кокиля, нерацио­нальной конструкции литниковой системы; трещины появляются вследствие несвоевременного подрыва металлического стержня или вставки, высокой температуры заливки, нетехнологичной кон­струкции отливки; 3) шлаковые включения образуются при ис­пользовании загрязненных шихтовых материалов, недостаточном рафинировании перед заливкой, неправильной работе литниковой системы; 4) газовая пористость образуется при нарушении хода плавки (использование загрязненных влагой и маслом шихт, чрезмерно высокого перегрева, недостаточного рафинирования или раскисления сплава).

            Специфические дефекты отливок из магние­вых сплавов — это дефекты усадочного происхождения — пористость, трещины, рыхлоты,— обусловленные широким темпе­ратурным интервалом затвердевания этих сплавов. Для устране­ния этих дефектов требуется доводка и точное соблюдение техно­логических режимов — температуры расплава и кокиля, краски и др. Часто отливки из магниевых сплавов вследствие плохой работы литниковой системы поражены шлаковыми включениями. Это недопустимо, так как приводит к коррозии отливки при ее эксплуатации и хранении. Такие дефекты устраняют тщательной доводкой литниковой системы и ведения процесса плавки.

            Специфические дефекты отливок из медных сплавов следующие: газовая пористость при плохом рафини­ровании и очистке сплава от шлаковых частиц; вторичные окисные плены при литье алюминиевых бронз вследствие разделения потока расплава на струи и окисления его в форме; трещины из-за плохого раскисления сплавов при плавке.


© 2012 Рефераты, курсовые и дипломные работы.