рефераты
Главная

Рефераты по рекламе

Рефераты по физике

Рефераты по философии

Рефераты по финансам

Рефераты по химии

Рефераты по хозяйственному праву

Рефераты по цифровым устройствам

Рефераты по экологическому праву

Рефераты по экономико-математическому моделированию

Рефераты по экономической географии

Рефераты по экономической теории

Рефераты по этике

Рефераты по юриспруденции

Рефераты по языковедению

Рефераты по юридическим наукам

Рефераты по истории

Рефераты по компьютерным наукам

Рефераты по медицинским наукам

Рефераты по финансовым наукам

Рефераты по управленческим наукам

Психология и педагогика

Промышленность производство

Биология и химия

Языкознание филология

Издательское дело и полиграфия

Рефераты по краеведению и этнографии

Рефераты по религии и мифологии

Рефераты по медицине

Рефераты по сексологии

Рефераты по информатике программированию

Краткое содержание произведений

Реферат: Методы очистки промышленных газовых выбросов

Реферат: Методы очистки промышленных газовых выбросов

ПЛАН КУРСОВОЙ РАБОТЫ:


  1. Введение стр 3

  2. Классификация газообразных промышленных выбросов стр 3

  3. Очистка газов от аэрозолей стр 4

  4. Заключение стр 12

  5. Список литературы стр 13


До определенного этапа развития человеческого общества, в частности индустрии, в природе существовало экологическое равновесие, т.е. деятельность человека не нарушала основных природных процессов или очень незначительно влияла на них. Экологическое равновесие в природе с сохранением естественных экологических систем существовало миллионы лет и после появления человека на Земле. Так продолжалось до конца XIX в. Двадцатый век вошел в историю как век небывалого технического прогресса, бурного развития науки, промышленности, энергетики, сельского хозяйства. Одновременно как сопровождающий фактор росло и продолжает расти вредное воздействие индустриальной деятельности человека на окружающую среду. В результате происходит в значительной мере непредсказуемое изменение экосистем и всего облика планеты Земля.

В настоящее время с ростом и бурным развитием промышленности большое внимание уделяется ее экологической обоснованности, а именно проблеме очистке и утилизации отходов. В данной работе рассматривается один из видов отходов промышленности – газовые выбросы предприятий. Впервые как проблему газовые выбросы можно рассматривать на примере лондонского «смога» (от англ. smoke – дым), под которым первоначально понимали смесь сильного тумана и дыма. Такого типа смог наблюдался уже в Лондоне уже более 100 лет назад. В настоящее время это уже более широкий термин – над всеми большими и индустриально развитыми мегаполисами помимо дымотуманного смога выделяют и фотохимический смог. Если причиной смога первого типа является в основном сжигание угля и мазута, то причиной второго – выбросы автотранспорта. Конечно же, все это усугубляется некоторым кумулятивным действием большого количества примесей. Zb, при дымотуманном смоге сернистый газ дает аэрозоль серной кислоты (из ряда кислотных дождей) который, естественно, намного реактивней по своему действию.

Неудивительно, что в настоящее время пристальное внимание уделяется проблеме удаления первопричин возникновения таких нежелательных явлений, как выбросы в атмосферу. В данной работе тематика проблемы сознательно ограничена рамками промышленных газовых выбросов, так как именно промышленность является источником опасных и крайне опасных примесей и составляющих явлений типа «смога».

В газообразных промышленных выбросах вредные примеси мож­но разделить на две группы:

а) взвешенные частицы (аэрозоли) твердых веществ — пыль, дым; жидкостей — туман

б) газооб­разные и парообразные вещества.

К аэрозолям относятся взвешен­ные твердые частицы неорганического и органического происхож­дения, а также взвешенные частицы жидкости (тумана). Пыль – это дисперсная малоустойчивая система, содержащая больше крупных частиц, чем дымы и туманы. Счетная концентрация (чис­ло частиц в 1 см3) мала по сравнению с дымами и туманами. Неорганическая пыль в промышленных газовых выбросах обра­зуется при горных разработках, переработке руд, металлов, мине­ральных солей и удобрений, строительных материалов, карбидов и других неорганических веществ. Промышленная пыль органи­ческого происхождения – это, например, угольная, древесная, тор­фяная, сланцевая, сажа и др. К дымам относятся аэродисперсные системы с малой скоростью осаждения под действием силы тяже­сти. Дымы образуются при сжигании топлива и его деструктив­ной переработке, а также в результате химических реакций, нап­ример при взаимодействии аммиака и хлороводорода, при окислении паров металлов в электрической дуге и т.д. Размеры частиц в дымах много меньше, чем в пыли и туманах, и состав­ляют от 5 мкм до субмикронных размеров, т.е. менее 0,1 мкм. Туманы состоят из капелек жидкости, образующихся при конден­сации паров или распылении жидкости. В промышленных выхло­пах туманы образуются главным образом из кислоты: серной, фосфорной и др. Вторая группа – газообразные и парообразные вещества, содержащиеся в промышленных газовых выхлопах, го­раздо более многочисленна. К ней относятся кислоты, галогены и галогенопроизводные, газообразные оксиды, альдегиды, кетоны, спирты, углеводороды, амины, нитросоединения, пары металлов, пиридины, меркаптаны и многие другие компоненты газообразных промышленных отходов.

В настоящее время, когда безотходная технология находится в периоде становления и полностью безотходных предприятий еще нет, основной задачей газоочистки служит доведение содержания токсичных примесей в газовых примесях до предельно допусти­мых концентраций (ПДК), установленных санитарными нормами. В данной таблице выборочно приведены ПДК некоторых атмосферных загрязни­телей.


ВЕЩЕСТВА

ПДК, мг/м3

макс. разовая среднесуточная

Аммиак

0,2

0,2

Ацетальдегид

0,1

0,1

Ацетон

0,35

0,35

Бензол

1,5

1,5

Гексахлоран

0,03

0,03

Ксилолы

0,2

0,2

Марганец и его соединения

0,01

Мышьяк и его соединения

0,003

Метанол

1,0

0,5

Нитробензол

0,008

0,008

Оксид углерода (СО)

3,0

1,0

Оксиды азота (в пересчете на N2O5)

0,085

0,085

Оксиды фосфора (в пересчете на P2O5)

0,15

0,05

Ртуть

0,0003

0,0003

Свинец

0,0007

Сероводород

0,008

0,008

Сероуглерод

0,03

0,005

Серы диоксид SO2

0,5

0,05

Фенол

0,01

0,01

Формальдегид

0,035

0,012

Фтороводород

0,05

0,005

Хлор

0,1

0,03

Хлороводород

0,2

0,2

Тетрахлорид углерода

4,0

2,0


При содержании в воздухе нескольких токсичных соединений их суммарная концентрация не должна превышать 1, т.е.

с1/ПДК1 + с2/ПДК2 + ... + сn/ПДКn = 1

где c1, с2, ..., сn фактическая концентрация загрязнителей в воздухе, мг/м3;

ПДК1, ПДК2, ..., ПДКn – предельно допустимая кон­центрация, мг/м3.

При невозможности достигнуть ПДК очисткой иногда приме­няют многократное разбавление токсичных веществ или выброс газов через высокие дымовые трубы для рассеивания примесей в верхних слоях атмосферы. Теоретическое определение концентра­ции примесей в нижних слоях атмосферы в зависимости от высо­ты трубы и других факторов связано с законами турбулентной диффузии в атмосфере и пока разработано не полностью. Высоту трубы, необходимую, чтобы обеспечить ПДК токсичных веществ в нижних слоях атмосферы, на уровне дыхания, определяют по приближенным формулам, например:



где ПДВ – предельно допустимый выброс вредных примесей в атмосферу, обеспечивающий концентрацию этих веществ в при­земном слое воздуха не выше ПДК, г/с; Н высота трубы, м; Vобъем газового выброса, м3/с; t –разность между темпера­турами газового выброса и окружающего воздуха, °С; A – коэф­фициент, определяющий условия вертикального и горизонтально­го рассеивания вредных веществ в воздухе, с2/3- (ОС)1/3 (например, для района Урала А = 160); F— безразмерный коэффициент, учи­тывающий скорость седиментации вредных веществ в атмосфере (для Cl2, HCl, HF F = 1); т коэффициент, учитывающий усло­вия выхода газа из устья трубы, его определяют графически или приближенно по формуле



где wг – средняя скорость на выходе из трубы, м/с; DT — Диа­метр трубы, м.

Метод достижения ПДК с помощью «высоких труб» служит лишь паллиативом, так как не предохраняет атмосферу, а лишь переносит загрязнения из одного района в другие.

В соответствии с характером вредных примесей различают методы очистки газов от аэрозолей и от газообразных и парооб­разных примесей. Все способы очистки газов определяются в пер­вую очередь физико-химическими свойствами примесей, их агре­гатным состоянием, дисперсностью, химическим составом и др. Разнообразие вредных примесей в промышленных газовых выбро­сах приводит к большому разнообразию методов очистки, приме­няемых реакторов и химических реагентов.


Очистка газов от аэрозолей. Методы очистки по их основному принципу можно разделить на механическую очистку, электроста­тическую очистку и очистку с помощью звуковой и ультразвуко­вой коагуляции.

Механическая очистка газов включает сухие и мок­рые методы. К сухим методам относятся:

  1. гравитационное осаж­дение;

  2. инерционное и центробежное пылеулавливание;

  3. филь­трация.

В большинстве промышленных газоочистительных уста­новок комбинируется несколько приемов очистки от аэрозолей, причем конструкции очистных аппаратов весьма многочисленны.

Гравитационное осаждение основано на осаждении взвешенных частиц под действием силы тяжести при движении запыленного газа с малой скоростью без изменения направления потока. Процесс проводят в отстойных газоходах и пылеосадительных камерах. Для уменьшения высоты осаждения частиц в осадительных камерах установлено на расстоянии 40–100 мм мно­жество горизонтальных полок, разбивающих газовый поток на плоские струи. Производительность осадительных камер П = SwО, где S — площадь горизонтального сечения камеры, или общая площадь полок, м2; wO скорость осаждения частиц, м/с. Грави­тационное осаждение действенно лишь для крупных частиц диа­метром более 50-100 мкм, причем степень очистки составляет не .выше 40-50%. Метод пригоден лишь для предварительной, гру­бой очистки газов.

Инерционное осаждение основано на стремлении взве­шенных частиц сохранять первоначальное направление движения при изменении направления газового потока. Среди инерционных аппаратов наиболее часто применяют жалюзийные пылеуловители с большим числом щелей (жалюзи). Газы обеспыливаются, выхо­дя через щели и меняя при этом направление движения, скорость газа на входе в аппарат составляет 10-15 м/с. Гидравлическое сопротивление аппарата 100 - 400 Па (10 - 40 мм вод. ст.). Части­цы пыли с d < 20 мкм в жалюзийных аппаратах не улавливаются. Степень очистки в зависимости от дисперсности частиц составляет 20-70%. Инерционный метод можно применять лишь для гру­бой очистки газа. Помимо малой эффективности недостаток этого метода – быстрое истирание или забивание щелей.

Центробежные методы очистки газов основаны на действии центробежной силы, возникающей при вращении очи­щаемого газового потока в очистном аппарате или при вращении частей самого аппарата. В качестве центробежных аппаратов пылеочистки применяют циклоны различных типов: батарейные циклоны, вращающиеся пылеуловители (ротоклоны) и др. Цикло­ны наиболее часто применяют в промышленности для осаждения твердых аэрозолей. Газовый поток подается в цилиндрическую часть циклона тангенциально, описывает спираль по направлению к дну конической части и затем устремляется вверх через турбулизованное ядро потока у оси циклона на выход. Циклоны харак­теризуются высокой производительностью по газу, простотой уст­ройства, надежностью в работе. Степень очистки от пыли зависит от размеров частиц. Для циклонов высокой производительности, в частности батарейных циклонов (производительностью более 20000 м3/ч), степень очистки составляет около 90% при диаметре частиц d > 30 мкм. Для частиц с d = 530 мкм степень очистки снижается до 80%, а при d = 25 мкм она составляет менее 40%. Диаметр частиц, улавливаемых циклоном на 50%, можно опреде­лить по эмпирической формуле



где  – вязкость газа, Па*с; DЦ – диаметр выходного патрубка циклонов, м; NОБ – эффективное число оборотов газа в циклоне; wг – средняя входная скорость газа, м/с; ч, г – плотность час­тиц и газа, кг/м3.

Гидравлическое сопротивление высокопроизводительных цикло­нов составляет около 1080 Па. Циклоны широко применяют при грубой и средней очистке газа от аэрозолей. Другим типом цент­робежного пылеуловителя служит ротоклон, состоящий из ротора и вентилятора, помещенного в осадительный кожух. Лопасти вен­тилятора, вращаясь, направляют пыль в канал, который ведет в приемник пыли.

Фильтрация основана на прохождении очищаемого газа через различные фильтрующие ткани (хлопок, шерсть, химические волокна, стекловолокно и др.) или через другие фильтрующие материалы (керамика, металлокерамика, пористые перегородки из пластмассы и др.). Наиболее часто для фильтрации применяют специально изготовленные волокнистые материалы — стекловолок­но, шерсть или хлопок с асбестом, асбоцеллюлозу. В зависимости от фильтрующего материала различают тканевые фильтры (в том числе рукавные), волокнистые, из зернистых материалов (керами­ка, металлокерамика, пористые пластмассы). Тканевые филь­тры, чаще всего рукавные, применяются при температуре очища­емого газа не выше 60-65°С. В зависимости от гранулометрического состава пылей и начальной запыленности степень очистки составляет 85-99%. Гидравлическое сопротивление фильтра Р около 1000 Па; расход энергии ~ 1 кВт*ч на 1000 м3 очищаемого газа. Для непрерывной очистки ткани продувают воздушными струями, которые создаются различными устройствами – сопла­ми, расположенными против каждого рукава, движущимися на­ружными продувочными кольцами и др. Сейчас применяют авто­матическое управление рукавными фильтрами с продувкой их импульсами сжатого воздуха.

Волокнистые фильтры, имеющие поры, равномерно рас­пределенные между тонкими волокнами, работают с высокой эф­фективностью; степень очистки  = 99,599,9 % при скорости филь­труемого газа 0,15-1,0 м/с и Р=5001000 Па.

На фильтрах из стекловолокнистых материалов возможна очи­стка агрессивных газов при температуре до 275°С. Для тонкой очистки газов при повышенных температурах применяют фильт­ры из керамики, тонковолокнистой ваты из нержавеющей стали, обладающие высокой прочностью и устойчивостью к переменным нагрузкам; однако их гидравлическое сопротивление велико – 1000 Па.

Фильтрация – весьма распространенный прием тонкой очистки газов. Ее преимущества – сравнительная низкая стоимость обо­рудования (за исключением металлокерамических фильтров) и высокая эффективность тонкой очистки. Недостатки фильтрации высокое гидравлическое сопротивление и быстрое забивание филь­трующего материала пылью.

Мокрая очистка газов от аэрозолей основана на промывке газа жидкостью (обычной водой) при возможно более развитой поверхности контакта жидкости с частицами аэрозоля и возможно более интенсивном перемешивании очищаемого газа с жидкостью. Этот универсальный метод очистки газов от частиц пыли, дыма и тумана любых размеров является наиболее распро­страненным приемом заключительной стадии механической очист­ки, в особенности для газов, подлежащих охлаждению. В аппара­тах мокрой очистки применяют различные приемы развития по­верхности соприкосновения жидкости и газа.

Башни с насадкой (насадочные скрубберы) отличаются простотой конструкции и эксплуатации, устойчивостью в работе, малым гидравлическим сопротивлением (Р=300800 Па) и сравнительно малым расходом энергии. В насадочном скруббере возможна очистка газов с начальной запыленностью до 5-6 г/м3. Эффективность одной ступени очистки для пылей с d > 5 мкм не превышает 70-80%. Насадка быстро забивается пылью, особен­но при высокой начальной запыленности.

Орошаемые циклоны (центробежные скрубберы) при­меняют для очистки больших объемов газа. Они имеют сравни­тельно небольшое гидравлическое сопротивление – 400-850 Па. Для частиц размером 2-5 мкм степень очистки составляет ~50%. Центробежные скрубберы высокопроизводительны благодаря боль­шой скорости газа; во входном патрубке г=1820 м/с, а в се­чении скруббера г = 45 м/с.

Пенные аппараты применяют для очистки газа от аэро­золей полидисперсного состава. Интенсивный пенный режим соз­дается на полках аппарата при линейной скорости газа в его пол­ном сечении 1-4 м/с. Пенные газоочистители обладают высокой производительностью по газу и сравнительно небольшим гидрав­лическим сопротивлением (Р одной полки около 600 Па). Для частиц с диаметром d >5 мкм эффективность их улавливания на одной полке аппарата 90-99%; при d < 5 мкм  = 7590%. Для повышения  устанавливают двух- и трехполочные аппараты.

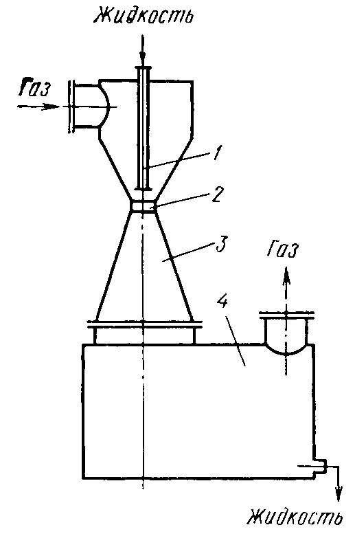
Скрубберы Вентури (см. рис 1) — высокоинтенсив­ные газоочистительные аппараты, но работающие с большим расхо­дом энергии. Скорость газа в сужении трубы (горловине скруббе­ра) составляет 100—200 м/с, а в некоторых установках — до 1200 м/с. При такой скорости очищаемый газ разбивает на мель­чайшие капли завесу жидкости, впрыскиваемой по периметру тру­бы. Это приводит к интенсивному столкновению частиц аэрозоля с каплями и улавливанию частиц под действием сил инерции. Скруббер Вентури — универсальный малогабаритный аппарат, обеспечивающий улавливание тумана на 99—100%, частиц пыли с d = 0,010,35 мкм — на 50–85% и частиц пыли с d = 0,5-2 мкм — на 97%. Для аэрозолей с d = 0,3-10 мкм эффек­тивность улавливания определяется в основном силами инерции и может быть оценена по формуле



где К – константа; L – объем жидкости, подаваемой в газ, дм3/м3;


Рис 1. Реактор полного смешения – скруббер Вентури:

1 – сопло;

2 – горловина;

3 – камера смешения;

4 – разделительная камера

– инерционный параметр, отнесенный к скорости газа в горло­вине; при   90%  является однозначной функцией перепада давления в скруббере.


Главный дефект скруббера Вентури — большой расход энергии по преодолению высокого гидравлического сопротивления, кото­рое в зависимости от скорости газа в горловине может составлять 0,002-0,013 МПа. Помимо того, аппарат не отличается надежно­стью в эксплуатации, управление им сложное.

Основной недостаток всех методов мокрой очистки газов от аэрозолей — это образование больших объемов жидких отходов (шлама). Таким образом, если не предусмотрены замкнутая сис­тема водооборота и утилизация всех компонентов шлама, то мок­рые способы газоочистки по существу только переносят загрязни­тели из газовых выбросов в сточные воды, т. е. из атмосферы в водоемы.

Электростатическая очистка газов служит уни­версальным средством, пригодным для любых аэрозолей, вклю­чая туманы кислот, и при любых размерах частиц. Метод осно­ван на ионизации и зарядке частиц аэрозоля при прохождении газа через электрическое поле высокого напряжения, создаваемое коронирующими электродами. Осаждение частиц происходит на заземленных осадительных электродах. Промышленные электро­фильтры состоят из ряда заземленных пластин или труб, через которые пропускается очищаемый газ. Между осадительными электродами подвешены проволочные коронирующие электроды, к которым подводится напряжение 25–100 кВ. Теоретическое вы­ражение для степени улавливания аэрозолей в трубчатых элек­трофильтрах имеет вид


где и скорость дрейфа частиц к электроду; l — длина электро­да; r — радиус осадительного электрода; г — скорость очищае­мого газа.

Н
а рис. 2 приведены идеальные кривые зависимости степени улавливания аэрозолей в электрофильтре от размеров частиц. Кривые на этом рисунке отвечают разным значениям произведения рЕЕО , где р коэффициент, для непроводящих частиц р = 1,52, для проводящих частиц р=3; Е напряженность электрического поля; eО критическое значение напряженности поля. Фактичес­кая зависимость степени улавливания аэрозолей  от диаметра частиц d для промышленных электрофильтров определяется экс­периментально. Очистка осложнена прилипанием частиц к электро­ду, аномальным (пониженным) сопротивлением слоя пыли на электродах и др.

Рис 2. Кривые зависимости степени улавливания пыли в электрофильтре от размеров частиц:

1 – pEEo = 160;

2 – pEEo = 80;

3 – pEEo = 40;


При очистке от пыли сухих газов электрофильтры могут рабо­тать в широком диапазоне температур (от 20 до 500 °С) и дав­лений. Их гидравлическое сопротивление невелико – 100-150 Па. Степень очистки от аэрозолей – выше 90, достигая 99,9% на мно­гопольных электрофильтрах при d > 1 мкм. Недостаток этого ме­тода – большие затраты средств на сооружение и содержание очистных установок и значительный расход энергии на создание электрического поля. Расход электроэнергии на электростатиче­скую очистку – 0,1-0,5 кВт на 1000 м3 очищаемого газа.

Звуковая и ультразвуковая коагуляция, а также предваритель­ная электризация пока мало применяются в промышленности и находятся в основном в стадии разработки. Они основаны на укрупнении аэрозольных частиц, облегчающем их улавливание традиционными методами. Аппаратура звуковой коагуляции со­стоит из генератора звука, коагуляционной камеры и осадителя. Звуковые и ультразвуковые методы применимы для агрегирова­ния мелкодисперсных аэрозольных частиц (тумана серной кисло­ты, сажи) перед их улавливанием другими методами. Начальная концентрация частиц аэрозоля для звуковой коагуляции должна быть не менее 2 г/м3 (для частиц d = l10 мкм).

К

Рис 3. Схема мокрого пылеулавливания
с предварительной электризацией:

1 – камера электризации;

2 – коронирующий электрод;

3 – пенный аппарат;

4 – газожидкостный (пенный) слой;

5 – заземленная решетка;

I – очищаемый газ;

II – вода;

III – очищенный газ;

IV – слив шлама

оагуляцию аэрозолей методом предварительной электриза­ции производят, например, пропусканием газа через электризационную камеру с коронирующими электродами, где происходит зарядка и коагуляция частиц, а затем через мокрый газоочисти­тель, в котором газожидкостный слой служит осадительным элек­тродом (рис. 3). Осадительным электродом может служить пенный слой в пенных аппаратах, слой газожидкостной эмульсии в насадочных скрубберах и других мокрых газопромывателях, в которых решетки или другие соответствующие детали должны быть заземлены.


Очистка газов от парообразных и газообразных примесей. Газы в промышленности обычно загрязнены вредны­ми примесями, поэтому очистка широко применяется на заводах и предприятиях для технологических и санитарных (экологических) целей. Промышленные способы очистки газовых выбросов от газо- и парообразных токсичных примесей можно разделить на три основные группы:

  1. абсорбция жидкостями;

  2. адсорбция твердыми поглотителями ;

  3. каталитическая очистка.

В мень­ших масштабах применяются термические методы сжигания (или дожигания) горючих загрязнений, способ химического взаимодей­ствия примесей с сухими поглотителями и окисление примесей озоном.

Абсорбция жидкостями применяется в промышленно­сти для извлечения из газов диоксида серы, сероводорода и дру­гих сернистых соединений, оксидов азота, паров кислот (НСl, HF, H2SO4), диоксида и оксида углерода, разнообразных органических соединений (фенол, формальдегид, летучие растворители и др.).

Абсорбционные методы служат для технологической и сани­тарной очистки газов. Они основаны на избирательной раствори­мости газо- и парообразных примесей в жидкости (физическая абсорбция) или на избирательном извлечении примесей химичес­кими реакциями с активным компонентом поглотителя (хемосорбция). Абсорбционная очистка –непрерывный и, как правило, циклический процесс, так как поглощение примесей обычно сопро­вождается регенерацией поглотительного раствора и его возвра­щением в начале цикла очистки. При физической абсорбции (и в некоторых хемосорбционных процессах) регенерацию абсорбента проводят нагреванием и снижением давления, в результате чего происходит десорбция поглощенной газовой примеси и ее концен­трированно (рис. 4).

Некоторые формулы для расчета абсорбционных и хемосорб­ционных процессов приведены в гл. 4. Показатели абсорбционной очистки: степень очистки (КПД) и коэффициент массопередачи k зависят от растворимости газа в абсорбенте, технологического ре­жима в реакторе (w, Т, р) и от других факторов, например от равновесия и скорости химических реакций при хемосорбции. В хемосорбционных процессах, где в жидкой фазе происходят химические реакции, коэффициент массопередачи увеличивается по сравнению с физической абсорбцией. Большинство хемосорбционных процессов газоочистки обратимы, т. е. при повышении температуры поглотительного раствора химические соединения, образовавшиеся при хемосорбции, разлагаются с регенерацией активных компонентов поглотительного раствора и с десорбцией поглощенной из газа примеси. Этот прием положен в основу реге­нерации хемосорбентов в циклических системах газоочистки. Хемосорбция в особенности применима для тонкой очистки газов при сравнительно небольшой начальной концентрации примесей.



Рис. 4. Схема установки для абсорбционно-десорбционного мето­да разделения газов:

1 — абсорбер;

2 — десорбер;

3 — теплообменник;

4 — холодильник


Абсорбенты, применяемые в промышленности, оцениваются по следующим показателям: 1) абсорбционная емкость, т. е. раство­римость извлекаемого компонента в поглотителе в зависимости от температуры и давления; 2) селективность, характеризуемая соот­ношением растворимостей разделяемых газов и скоростей их аб­сорбции; 3) минимальное давление паров во избежание загрязне­ния очищаемого газа парами абсорбента; 4) дешевизна; 5) отсут­ствие коррозирующего действия на аппаратуру. В качестве абсор­бентов применяют воду, растворы аммиака, едких и карбонатных щелочей, солей марганца, этаноламины, масла, суспензии гидроксида кальция, оксидов марганца и магния, сульфат магния и др.

Очистная аппаратура аналогична уже рассмотренной аппара­туре мокрого улавливания аэрозолей. Наиболее распространен насадочный скруббер, применяемый для очистки газов от диокси­да серы, сероводорода, хлороводорода, хлора, оксида и диоксида углерода, фенолов и т. д. В насадочных скрубберах скорость массообменных процессов мала из-за малоинтенсивного гидродинамического режима этих реакторов, работающих при скорости газа г = 0,020,7 м/с. Объемы аппаратов поэтому велики и установки громоздки.

Для очистки выбросов от газообразных и парообразных при­месей применяют и интенсивную массообменную аппаратуру — пенные аппараты, безнасадочный форсуночный абсорбер, скруб­бер Вентури, работающие при более высоких скоростях газа. Пен­ные абсорберы работают при г = 14 м/с и обеспечивают срав­нительно высокую скорость абсорбционно-десорбционных процес­сов; их габариты в несколько раз меньше, чем насадочных скруб­беров. При достаточном числе ступеней очистки (многополочный пенный аппарат) достигаются высокие показатели глубины очист­ки: для некоторых процессов до 99,9%. Особенно перспективны для очистки газов от аэрозолей и вредных газообразных приме­сей пенные аппараты со стабилизатором пенного слоя. Они срав­нительно просты по конструкции и работают в режиме высокой турбулентности при линейной скорости газа до 4-5 м/с.

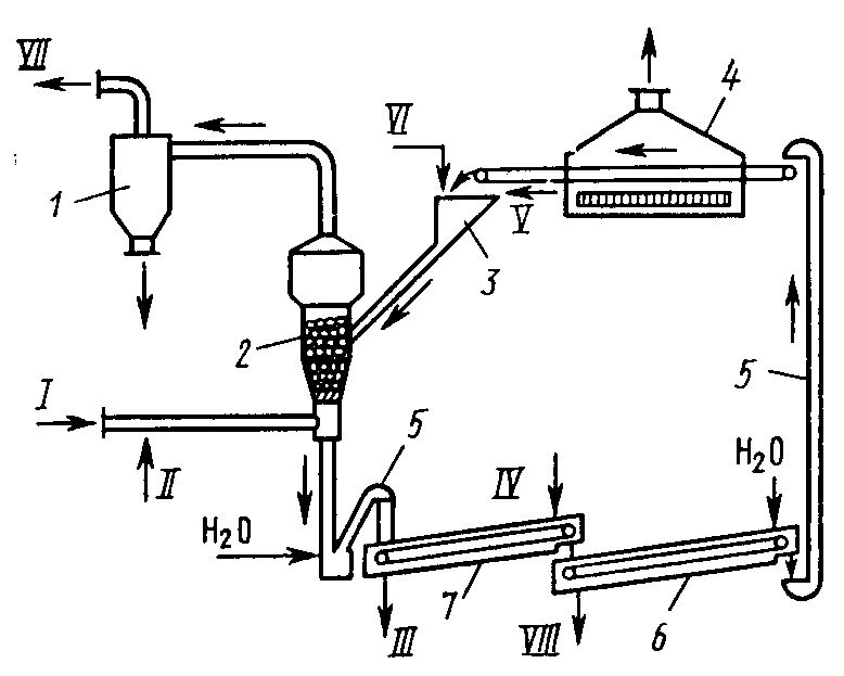
П

Рис. 5. Схема абсорбционной очистки газов от СО2 с получением товарного диоксида углерода:

1 — холодильник;

2 — воздуходувка;

3 — пенный абсорбер;

4 — насос;

5 — теплообменник;

6 — пенный десорбер;

7 — кипятильник десорбера;

I — газ на очистку;

II — вода;

IIIочищенный газ;

IV — диоксид углерода потребителю;

V — пар


римером безотходной абсорбционно-десорбционной цикличе­ской схемы может служить поглощение диоксида углерода из от­ходящих газов растворами моноэтаноламина с последующей реге­нерацией поглотителя при десорбции СОа. На рис. 5 приведе­на схема абсорции СО2 в пенных абсорберах; десорбция СО2 про­водится также при пенном режиме. Установка безотходна, так как чистый диоксид углерода после сжижения передается потре­бителю в виде товарного продукта.


Абсорбционные методы характеризуются непрерывностью и универсальностью процесса, экономичностью и возможностью из­влечения больших количеств примесей из газов. Недостаток этого метода в том, что насадочные скрубберы, барботажные и даже пенные аппараты обеспечивают достаточно высокую степень из­влечения вредных примесей (до ПДК) и полную регенерацию поглотителей только при большом числе ступеней очистки. Поэто­му технологические схемы мокрой очистки, как правило, сложны, многоступенчаты и очистные реакторы (особенно скрубберы) име­ют большие объемы.

Любой процесс мокрой абсорбционной очистки выхлопных га­зов от газо- и парообразных примесей целесообразен только в случае его цикличности и безотходности. Но и циклические сис­темы мокрой очистки конкурентоспособны только тогда, когда они совмещены с пылеочисткой и охлаждением газа.

Адсорбционные методы применяют для различных технологических целей — разделение парогазовых смесей на ком­поненты с выделением фракций, осушка газов и для санитарной очистки газовых выхлопов. В последнее время адсорбционные ме­тоды выходят на первый план как надежное средство защиты атмосферы от токсичных газообразных веществ, обеспечивающее возможность концентрирования и утилизации этих веществ.

Адсорбционные методы основаны на избирательном извлече­нии из парогазовой смеси определенных компонентов при помощи адсорбентов — твердых высокопористых материалов, обладающих развитой удельной поверхностью Sуд (Sуд — отношение поверхно­сти к массе, м2/г). Промышленные адсорбенты, чаще всего приме­няемые в газоочистке, — это активированный уголь, силикагель, алюмогель, природные и синтетические цеолиты (молекулярные сита). Основные требования к промышленным сорбентам — высо­кая поглотительная способность, избирательность действия (селективность), термическая устойчивость, длительная служба без изменения структуры и свойств поверхности, возможность легкой регенерации. Чаще всего для санитарной очистки газов применя­ют активный уголь благодаря его высокой поглотительной спо­собности и легкости регенерации.

Адсорбцию газовых примесей обычно ведут в полочных реак­торах периодического действия без теплообменных устройств; адсорбент расположен на полках реактора. Когда необходим теп­лообмен (например, требуется получить при регенерации десорбат в концентрированном виде), используют адсорберы с встроен­ными теплообменными элементами или выполняют реактор в виде трубчатых теплообменников; адсорбент засыпан в трубки, а в межтрубном пространстве циркулирует теплоноситель.

Очищаемый газ проходит адсорбер со скоростью 0,05–0,3 м/с. После очистки адсорбер переключается на регенерацию. Адсорб­ционная установка, состоящая из нескольких реакторов, работает в целом непрерывно, так как одновременно одни реакторы нахо­дятся на стадии очистки, а другие — на стадиях регенерации, охлаждения и др. (рис. 6). Регенерацию проводят нагреванием, например выжиганием органических веществ, пропусканием остро­го или перегретого пара, воздуха, инертного газа (азота). Иногда адсорбент, потерявший активность (экранированный пылью, смо­лой), полностью заменяют.

Наиболее перспективны непрерывные циклические процессы адсорбционной очистки газов в реакторах с движущимся или взвешенным слоем адсорбента, которые характеризуются высоки­ми скоростями газового потока (на порядок выше, чем в перио­дических реакторах), высокой производительностью по газу и интенсивностью работы (см. рис. 7).


О
бщие достоинства адсорбционных методов очистки газов:

  1. глубокая очистка газов от токсичных примесей;

  2. сравнитель­ная легкость регенерации этих примесей с превращением их в товарный продукт или возвратом в производство; таким образом осуществляется принцип безотходной технологии.

Адсорбционный метод особенно рационален для удаления токсических примесей (органических соединений, паров ртути и др.), содержащихся в малых концентрациях, т. е. как завершающий этап санитарной очистки отходящих газов.

Недостатки большинства адсорбционных установок — перио­дичность процесса и связанная с этим малая интенсивность реак­торов, высокая стоимость периодической регенерации адсорбен­тов. Применение непрерывных способов очистки в движущемся и кипящем слое адсорбента частично устраняет эти недостатки, но требует высокопрочных промышленных сорбентов, разработка которых для большинства процессов еще не завершена.

К

Рис. 6. Схема адсорбционной газоочистной установки:

/ — фильтр;

2, 3 — адсорберы;

4 — конденсатор;

5 — сепаратор;

/ — очищаемый газ;

// — очищенный газ;

///—водяной пар;

IV — неконденсируе.уые пары;

V—сконденсированный адсорбтив в хранилище;

VI — водный конденсат


аталитические методы очистки газов
основаны на реакциях в присутствии твердых катализаторов, т. е. на зако­номерностях гетерогенного катализа (см. гл. 5). В результате каталитических реакций примеси, находящиеся в газе, превраща­ются в другие соединения, т. е. в отличие от рассмотренных мето­дов примеси не извлекаются из газа, а трансформируются в без­вредные соединения, присутствий: которых допустимо в выхлоп­ном газе, либо в соединения, легко удаляемые из газового пото­ка. Если образовавшиеся вещества подлежат удалению, то тре­буются дополнительные операции (например, извлечение жидки­ми или твердыми сорбентами).

Т
рудно провести границу между адсорбционными и каталити­ческими методами газоочистки, так как такие традиционные ад­сорбенты, как активированный уголь, цеолиты, служат активны­ми катализаторами для многих химических реакций. Очистку га­зов на адсорбентах–катализаторах называют адсорбционно-каталитической. Этот прием очистки выхлопных газов весьма перспек­тивен ввиду высокой эффективности очистки от примесей и воз­можности очищать большие объемы газов, содержащих малые доли примесей (например, 0,1—0,2 в объемных долях SO2). Но методы утилизации соединений, полученных при катализе, иные, чем в адсорбционных процессах.

Рис. 7. Катионитовый фильтр:

1 – катионит;

2 – песок


Адсорбционно-каталитические методы применяют для очистки промышленных выбросов от диоксида серы, сероводорода и серо-органических соединений. Катализатором окисления диоксида серы в триоксид и сероводорода в серу служат модифицирован­ный добавками активированный уголь и другие углеродные сор­бенты. В присутствии паров воды на поверхности угля в резуль­тате окисления SO2 образуется серная кислота, концентрация ко­торой в адсорбенте составляет в зависимости от количества водяного пара при регенерации угля от 15 до 70%.

Схема каталитического окисления H2S во взвешенном слое высокопрочного активного угля приведена на рис. 8. Окисле­ние H2S происходит по реакции

H2S + 1/2 О2 = Н2О + S

А

Рис. 8. Схема каталитической очистки газа от сероводорода во взвешенном слое активного угля:

1 – циклон-пылеуловитель;

2 – реактор со взвешенным слоем;

3 – бункер с питателем;

4 – сушильная камера;

5 – элеватор;

6 – реактор промывки катализатора (шнек);

7 – реактор экстракции серы (шнек-растворитель);

I – газ на очистку;

II – воздух с добавкой NH3;

III – раствор (NH4)2Sn на регенерацию;

IV – раствор (NH4)2S;

V – регенерированный уголь;

VI – свежий активный уголь;

VII – очищенный газ;

VIII – промывные воды


ктиваторами этой каталитической реакции служат водяной пар и аммиак, добавляемый к очищаемому газу в количестве ~0,2г/м3. Активность катализатора снижается по мере заполнения его пор серой и когда масса S достигает 70—80% от массы угля, катали­затор регенерируют промывкой раствором (NH4)2S. Промывной раствор полисульфида аммония разлагают острым паром с полу­чением жидкой серы.


Представляет большой интерес очистка дымовых газов ТЭЦ или других отходящих газов, содержащих SO2 (концентрацией 1-2% SO2), во взвешенном слое высокопрочного активного угля с получением в качестве товарного продукта серной кислоты и серы.

Другим примером адсорбционно-каталитического метода мо­жет служить очистка газов от сероводорода окислением на актив­ном угле или на цеолитах во взвешенном слое адсорбента-ката­лизатора.

Широко распространен способ каталитического окисления ток­сичных органических соединений и оксида углерода в составе от­ходящих газов с применением активных катализаторов, не требу­ющих высокой температуры зажигания, например металлов груп­пы платины, нанесенных на носители.

В промышленности применяют также каталитическое восста­новление и гидрирование токсичных примесей в выхлопных газах. На селективных катализаторах гидрируют СО до CH4 и Н2О, оксиды азота — до N2 и Н2О etc. Применяют восстановление оксидов азота в элементарный азот на палладиевом или платино­вом катализаторах.

Каталитические методы получают все большее распростране­ние благодаря глубокой очистке газов от токсичных примесей (до 99,9%) при сравнительно невысоких температурах и обычном дав­лении, а также при весьма малых начальных концентрациях при­месей. Каталитические методы позволяют утилизировать реакци­онную теплоту, т.е. создавать энерготехнологические системы. Установки каталитической очистки просты в эксплуатации и ма­логабаритны.

Недостаток многих процессов каталитической очистки — обра­зование новых веществ, которые подлежат удалению из газа дру­гими методами (абсорбция, адсорбция), что усложняет установ­ку и снижает общий экономический эффект.

Термические методы обезвреживания газовых выбросов применимы при высокой концентрации горючих органических за­грязнителей или оксида углерода. Простейший метод — факельное сжигание — возможен, когда концентрация горючих загрязните­лей близка к нижнему пределу воспламенения. В этом случае примеси служат топливом, температура процесса 750—900 °С и теплоту горения примесей можно утилизировать.

Когда концентрация горючих примесей меньше нижнего пре­дела воспламенения, то необходимо подводить некоторое количе­ство теплоты извне. Чаще всего теплоту подводят добавкой горю­чего газа и его сжиганием в очищаемом газе. Горючие газы проходят систему утилизации теплоты и выбрасываются в атмо­сферу. Такие энерготехнологические схемы применяют при доста­точно высоком содержании горючих примесей, иначе возрастает расход добавляемого горючего газа.

Для полноценной очистки газовых выбросов целесообразны комбинированные методы, в которых применяется оптимальное для каждого конкретного случая сочетание грубой, средней и тон­кой очистки газов и паров. На первых стадиях, когда содержа­ние токсичной примеси велико, более подходят абсорбционные методы, а для доочистки — адсорбционные или каталитические.


Наиболее надежным и самым экономичным способом охраны биосферы от вредных газовых выбросов является переход к без­отходному производству, или к безотходным технологиям. Термин «безотходная технология» впервые предложен академиком Н.Н. Семеновым. Под ним подразумевается создание оптимальных технологических систем с замкнутыми материальными и энергетическими потоками. Такое производство не должно иметь сточных вод, вредных выбросов в атмосферу и твердых отходов и не должно потреблять воду из природных водоемов.

Конечно же, понятие «безотходное производство» имеет несколько условный характер; это идеальная модель производства, так как в реальных условиях нельзя полностью ликвидировать отходы и избавиться от влияния производства на окружающую среду. Точнее следует называть такие системы малоотходными, дающими минимальные выбросы, при которых ущерб природным экосистемам будет минимален.

В настоящее время определилось несколько основных направлений охраны биосферы, которые в конечном счете ведут к созданию безотходных технологий:

  1. разработка и внедрение принципиально новых технологических процессов и систем, работающих по замкнутому циклу, позволяющих исключить образование основного количества отходов;

  2. создание бессточных технологических систем и водооборотных циклов на базе наиболее эффективных методов очистки сточных вод;

  3. переработка отходов производства и потребления в качестве вторичного сырья;

  4. создание территориально-промышленных комплексов с замкнутой структурой материльных потоков сырья и отходов внутри комплекса.


Разработка и внедрение принципиально новых технологических процессов и систем, работающих по замкнутому циклу, позволяющих исключить образование основного количества отходов, является основным направлением технического прогресса.


СПИСОК ЛИТЕРАТУРЫ:


  1. Основы химической технологии: Учебник для студентов хим.-технол.спец. вузов / И.П. Мухленов, А.Е. Горштейн, Е.С. Тумаркина; Под ред. И.П. Мухленова. – 4-е изд., перераб. и доп. — М.: Высш. школа, 1991. – 463 с.: ил.

  2. Глинка Н.Л. Общая химия. Изд. 17-е, испр. — Л.: «Химия», 1975. – 728 с.: ил.

  3. Кузнецов В.В., Усть-Качкинцов В.Ф. Физическая и коллоидная химия. Учеб. пособие для вузов. — М.: Высш. школа, 1976. – 277 с.: ил.

  4. Хромов С.П., Петросянц М.А. Метеорология и климатология: Учебник, 4-е изд.: перераб. и доп. — М.: Изд-во МГУ, 1994. – 520 с.: ил.

13



© 2012 Рефераты, курсовые и дипломные работы.