рефераты
Главная

Рефераты по рекламе

Рефераты по физике

Рефераты по философии

Рефераты по финансам

Рефераты по химии

Рефераты по хозяйственному праву

Рефераты по цифровым устройствам

Рефераты по экологическому праву

Рефераты по экономико-математическому моделированию

Рефераты по экономической географии

Рефераты по экономической теории

Рефераты по этике

Рефераты по юриспруденции

Рефераты по языковедению

Рефераты по юридическим наукам

Рефераты по истории

Рефераты по компьютерным наукам

Рефераты по медицинским наукам

Рефераты по финансовым наукам

Рефераты по управленческим наукам

Психология и педагогика

Промышленность производство

Биология и химия

Языкознание филология

Издательское дело и полиграфия

Рефераты по краеведению и этнографии

Рефераты по религии и мифологии

Рефераты по медицине

Рефераты по сексологии

Рефераты по информатике программированию

Краткое содержание произведений

Реферат: Непрерывная ректификация

Реферат: Непрерывная ректификация

1. ЛИТЕРАТУРНЫЙ ОБЗОР


1.1. Теоретические основы разрабатываемого процесса


1.1.1. Общие сведения о процессе ректификация

Ректификация представляет собой процесс многократного частичного испарения жидкости и конденсации паров. Процесс осуществляется путем контакта потоков пара и жидкости, имеющих различную температуру, и проводится обычно в колонных аппаратах. При каждом контакте из жидкости испаряется преимущественно легколетучий, или низкокипящий, компонент (НК), которым обогащаются пары, а из паров конденсируется преимущественно труднолетучий, или высококипящий, компонент (ВК), переходящий в жидкость. Такой двухсторонний обмен компонентами, повторяемый многократно, позволяет получить в конечном счете пары, представляющие собой почти чистый НК. Эти пары после конденсации в отдельном аппарате образуют дистиллят (ректификат) и флегму – жидкость, возвращаемую для орошения колонны и взаимодействия с поднимающимися парами. Пары получают путем частичного испарения снизу колонны остатка, являющегося почти чистым ВК.

Как отмечалось, достаточно высокая степень разделения однородных жидких смесей на компоненты может быть до­стигнута путем ректификации. Сущность процессов, из которых складывается ректификация, и получаемые при этом результаты можно проследить с помощью t — х у -диаграммы (рис. 1.1).

Нагрев исходную смесь состава х1 до температуры кипения получим находящийся в равновесии с жидкостью пар (точка b). Отбор и конден­сация этого пара дают жидкость состава x2 обогащенную НК (х2 > х1).Нагрев эту жидкость до температуры кипения t2, получим пар (точка d), конденсация которого дает жидкость с еще большим содержанием НК, имеющую состав ха, и т. д. Проводя таким образом последовательно ряд процессов испарения жидкости и конденсации паров, можно получить в итоге жидкость (дистиллят), представляющую собой практически чи­стый НК.




Рис. 1.1. Изображение процесса разделения бинар­ной смеси путем ректифика­ции на диаграмме tХу.


Аналогично, исходя из паровой фазы, соответствующей составу жид­кости x4, путем проведения ряда последовательных процессов конденса­ции и испарения можно получить жидкость (остаток), состоящую почти целиком из ВК.

В простейшем виде процесс многократного испарения можно осущест­вить в многоступенчатой установке, в первой ступени которой испаряется исходная смесь. На вторую ступень поступает на испарение жидкость, оставшаяся после отделения паров в первой ступени, в третьей ступени испаряется жидкость, поступившая из второй ступени (после отбора из последней паров) и т. д. Аналогично может быть организован процесс многократной конденсации, при котором на каждую следующую ступень поступают для конденсации пары, остав­шиеся после отделения от них жидкости (конденсата) в предыдущей ступени.

При достаточно большом числе ступеней таким путем можно получить жидкую или паровую фазу с достаточно высокой концен­трацией компонента, которым она обогаща­ется. Однако выход этой фазы будет мал по отношению к ее количеству в исходной смеси. Кроме того, описанные установки отличают­ся громоздкостью и большими потерями теп­ла в окружающую среду.

Значительно более экономичное, полное и четкое разделение смесей на компоненты достигается в процессах ректификации, про­водимых обычно в более компактных ап­паратах — ректификационных колоннах.

Процесс ректификации осуществляется путем многократного контакта между неравновесными жидкой и паровой фазами, движущимися относи­тельно друг друга.

При взаимодействии фаз между ними происходит массо- и теплообмен, обусловленные стремлением системы к состоянию равновесия. В резуль­тате каждого контакта компоненты перераспределяются между фазами: пар несколько обогащается НК, а жидкость — ВК. Многократное контактирование приводит к практически полному разделению исходной смеси.

Таким образом, отсутствие равновесия (и соответственно наличие раз­ности температур фаз) при движении фаз с определенной относительной скоростью и многократном их контактировании являются необходимыми условиями проведения ректификации.


1.1.2. Равновесие в системах жидкость-пар

В общем случае жидкая смесь может состоять из нескольких компонентов. В простейшем случае из двух, например из компо­нентов А и В. Характер поведения жидкой смеси зависит главным образом от природы составляющих ее веществ и давления.

Для идеальных растворов характерно то, что сила взаимодейст­вия между всеми молекулами (одноименными и разноименными) равна. При этом общая сила, с которой молекула удерживается в смеси, не зависит от состава смеси. Очевидно, что парциальное давление в этом случае должно зависеть лишь от числа молекул, достигающих в единицу времени поверхности жидкости со ско­ростью, необходимой для преодоления сил внутреннего притяжения молекул, т. е. при данной температуре давление соответствующего компонента возрастает пропорционально его содержанию в жидкой смеси (закон Рауля):

рА = РАхА (1.1) и рВ = РВ(1-хА) (1.2.)

Закон Рауля справедлив и для газов с температурой ниже критической (т. е. такой температуры, выше которой газ при увели­чении давления не сжижается).

По степени растворимости компонентов смеси жидкости подраз­деляют на взаиморастворимые в любых соотношениях, частично растворимые и практически взаимонерастворимые. В свою очередь смеси со взаиморастворимыми компонентами в любых соотноше­ниях делятся на: идеальные растворы, которые подчиняются закону Рауля; так называемые нормальные растворы - жидкие смеси, частично отклоняющиеся от закона Рауля, но не образующие смесей: с постоянной температурой кипения (азеотропов); неидеальные растворы - жидкости со значительными отклонениями от закона Рауля, в том числе смеси с постоянной температурой кипения (азеотропы). (Отметим, что полностью взаимонерастворимых жидкостей нет, обычно все жидкости хотя бы в незначительных количествах, но растворяются друг в друге. Однако в этих случаях на практике для удобства принимают такие жидкости взаимонерастворимыми.)

Смесь двух жидкостей, взаиморастворимых в любых соотноше­ниях, представляет собой систему, состоящую из двух фаз и двух компонентов, и по правилу фаз:

С=К-Ф+2=2-2+2=2 (1.3.)

имеет две степени свободы (из трех - давления Р, температуры t, концентрации х). Однако при анализе и расчете процессов перегонки жидкостей одну из переменных обычно закрепляют и строят диа­грамму фаз в плоской системе координат. При этом возможны следующие варианты фазовых диаграмм: Р — t (х = const), Р — — x(t = const), t — х(Р = const).

Для технических расчетов наиболее важной является диаграмма t — х, у, так как обычно процессы перегонки в промышленных аппаратах протекают при Р = const, т. е. в изобарных условиях. На этой диаграмме (рис. 5.2.) по оси абсцисс отложены концентрации жидкой х и паровой у фаз, отвечающие различным температурам.



Рис. 1.2. Фазовая диаграмма t — х, у

По закону Дальтона рА = Рy*A, и тогда

y*A= pA/P=(PA/P) xA, (1.4.)

но

Р = pA+pB=PAxA+PB(1-xB)=PB+(PA-PB)xA (1.5.)

тогда

xA=(P-PB)/(PA-PB) (1.6.)

По уравнению (1.6.)) по известным РА и РB при заданной температуре t1 , t2 и т.д. находят хA , хB и т.д., а затем по уравнению (1.4.) -соответствующие значения у*A1 , у*А2 и т.д. и по найденным точкам строят линии кипения жидкости (кривая tAA2A1tB) и конденсации паров (кривая tAB2BltB). Отметим, что уравнение (1.6.) устанавливает связь между концентрациями (по жидкости) и заданными давлениями (общим Р и насыщенных паров РА и РB). Отрезки А1В1 , А2 В2 и т. д., соединяющие точки равновес­ных составов жидкой и паровой фаз, являются изотермами.

Отметим, что точки, лежащие на кривой tAA2A1tB,, отвечают жидкой фазе, находящейся при температуре кипения. Очевидно, что любая точка, лежащая ниже этой кривой, характеризует систему, состоящую только из жидкой фазы. Аналогично, любая точка лежащая выше кривой tA B2 В1 tB , характеризует систему, темпера тура которой выше температуры начала конденсации пара, т. е пары в этой точке являются перегретыми, и система состоит только из паровой фазы. Точки, находящиеся между кривыми кипения и конденсации (например, точка С на рис. 1.2.), характеризуют системы, температуры которых выше температуры кипения жидко­сти данного состава и ниже температуры конденсации паров этого же состава. Таким образом, эти точки отвечают равновесным парожидкостным системам.

Основные положения фазового равновесия были рассмотрены в гл. 2 (правило фаз Гиббса, законы Генри и Рауля и др.). Там же для идеальных бинарных систем получено уравнение (1.7.), которое описывает линию равновесия:

у*А = ахА/[1+хА(а-1)], (1.7.)

где а = РАВ - относительная летучесть компонента А (иногда а называют коэффи­циентом разделения).

Очевидно, что для смеси, состоящей из n компонентов, например, А, В, С, D, на основе законов Рауля и Дальтона имеем

yA = (РA/Р)хA; yB = (РB/Р)хB; yC = (РC/Р)хC; yD = (РD/Р)хD. (1.8.)

Поскольку

P=PAxA+ PBxB+ PCxC+ PDxD+ …= (1.9.)

то для любого j-го компонента

yj = PjXj/. (1.10.)

Разделив числитель и знаменатель правой части уравнения (1.10) на величину РА, получим

yj = а jXj/, (1.11.)

где а A = РА/РВ ; а в = РВ/РА ; а C = РС/РА и т. д.

Например, зависимость давления насыщенного пара от темпера­туры хорошо описывается эмпирическим уравнением Антуана

lnРА = А - В/(Т+ C), (1.12.)

где А - постоянная, не зависящая от температуры; В и С -константы, определяемые по справочникам; T- абсолютная температура.

Уравнение (5.12) описывает температурную зависимость давле­ний паров в интервале температур до нескольких десятков градусов и при давлениях, не слишком близких к критическим.

Взаимное положение кривых на фазовых диаграммах t — х — у и у — х как для идеальных, так и для реальных систем могут быть определены с помощью законов Коновалова. Законы Коновалова устанавливают связи между изменениями состава, давления или температуры в двухфазных системах, они лежат в основе теории перегонки и ректификации бинарных смесей.

Первый - закон Коновалова формулируется так: пар обогащается тем компонентом, при добавлении которого к жидкости повышает­ся давление пара над ней или снижается ее температура кипения, или пар всегда более обогащен НК, чем соответствующая ему равновесная жидкая фаза.

Первый закон Коновалова дополняется первым правилом Врев­ского, отражающим влияние температуры на равновесные составы фаз: при повышении температуры бинарной смеси в парах возрас­тает относительное содержание того компонента, парциальная молярная теплота испарения которого больше.

Это можно проиллюстрировать с помощью фазовой диаграммы (рис. 1.2.). Для идеальной смеси очевидно, что при одной и той же температуре t содержание НК в парах у*A1 (точка B1 больше его содержания ха в равновесной с парами жидкости (точка А1). При добавлении к смеси НК ее температура кипения снижается, но содержание НК в паре остается выше, чем в жидкости.

Реальные жидкие смеси могут значительно отклоняться от закона Рауля. Если зависимость полного давления (или сумма парциальных давлений) паров от состава жидкой смеси проходит выше линий, характеризующих те же зависимости для идеальных смесей (рис. 1.3.), то такое отклонение называют положительным, если ниже - отрицательным отклонением от закона Рауля. Эти отклонения определяются изменением активности молекул в раст­воре, диссоциацией, гидратацией и др. Степень отклонения реаль­ной системы от закона Рауля выражают величиной коэффициента активности :

pA = PAxA . (1.13.)

Для смесей с положительным отклонением от закона Рауля
> 1, для смесей с отрицательным отклонением — < 1. Отметим, что определение значений у часто затруднительно, поэтому диа­граммы P — х обычно строят по экспериментальным (справочным) данным.


Рис. 1.3. Диаграмма р — х для смеси с поло­жительным отклонением от закона Рауля (пунктиром показаны соответствующие ли­нии для идеального раствора)


Для многих реальных смесей от­клонение от закона Рауля настолько существенно, что приводит к качест­венно новому состоянию системы, а на фазовых диаграммах Р — х и t — х появляются (рис. 1.4.,б, в) от­носительный максимум или мини­мум. При этом кривые жидкости и пара соприкасаются друг с другом в экстремальных точках, в которых составы равновесных фаз одинаковы. Такие смеси, как известно, называют азеотропными, или азеотропами. Их основная особенность состоит в том, что при испарении такая смесь (азеотроп) не изменяет своего состава, поэтому для ее разделения требуются специальные методы (азеотропная и экстрактивная рек­тификация, изменение давления и др.).


Рис. 1.4. Фазовые диаграммы равновесия жидкость-пар для идеальной (а) и реаль- ных (б, в) систем


Эта особенность азеотропных смесей постулируется вторым законом Коновалова, который можно сформулировать следующим образом: если давление и температура сосуществования двух бинар­ных фаз имеют экстремум (максимум или минимум), то составы фаз одинаковы. Это справедливо для фаз любой природы. Для систем жидкость - пар второй закон Коновалова определяет основ­ное свойство азеотропов.

При изменении внешних условий - температуры (или давления) значение а изменяется различно по разные стороны от точки азеотропа; одна часть «рыбки» (рис.1.4., б, в) должна становиться шире, другая - уже. Очевидно, что в части диаграммы, где в паре содержится больше, чем в растворе, компонента с меньшей теплотой испарения, при понижении температуры (давления), а увеличи­вается.


5.1.3. Материальный и тепловой балансы ректификационной колонны


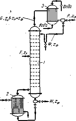
Пусть, согласно схеме на рис. (1.5.), в колонну поступает F кмоль исходной смеси, состав которой хF мол. долей НК. Сверху из колонны удаляется G кмоль паров, образующих после конденсации флегму и ди­стиллят. Количество получаемого дистил­лята Р кмоль, его состав хP мол. долей НК. На орошение колонны возвращается флегма в количестве Ф кмоль, причем ее состав равен составу дистиллята (хф= xP мол. долей). Снизу из колонны удаля­ется W кмоль остатка состава xw мол. до­лей НК.

Тогда уравнение материального баланса колоны будет:

Ф+F = G+W. (1.14)

Поскольку G=P+Ф, то

F = P+W. (1.15.)

Соответственно по НК материальный баланс:

FxF = PxP+WxW (1.16.)



Рис. 1.5. К составлению материального баланса ректи­фикационной колонны:

/ — колонна; 2 — куб; 3 — дефлег­матор.


Для колонны непрерывного действия с учетом потерь тепла в окружающую среду имеем:

Приход тепла Расход тепла

С теплоносителем в кипя- С парами, поступающими из

тальнике .……… QКИП.. колонны в дефлегматор QG = GI

С исходной смесью……….QF=FiF С остатком………………… QW =Wiw

С флегмой ................. . QФ = ФiФ Потери в окружающую среду QП

Кроме известных величин, в выражения для количеств тепла входят: I, iF, iф и iw — энтальпии соответственно паров, выходящих из колон­ны, исходной смеси, флегмы и остатка.

Таким образом, уравнение теплового баланса:

Qкип + QF + QФ = QG + QW + QП . (1.17.)

Подставляя вместо Q их значения и учитывая, что F=Р + W, G = P(R+ 1) и Ф = PR, получим

Qкип + (Р + W)iF + РRiФ = P(R+\)I + WiW + QП (1.18.)

Решая уравнение (5.18.) относительно Qкип, находим расход тепла в кипятильнике

Qкип = Р(I iF) + PR( I -iФ) + W(iW - iF) + QП ( 1.18а. )


Из уравнения теплового баланса (5.18а.) видно, что тепло, подво­димое в кипятильник, затрачивается на испарение дистиллята [Р(I—iF)], испарение флегмы [PR(I — iф)], нагревание остатка до температуры ки­пения [W(iw — iF)], а также на компенсацию потерь тепла в окружаю­щую среду.

Флегма из дефлегматора поступает в колонну при температуре ее ки­пения. Поэтому энтальпия выходящих из колонны паров I == iФ + rф, где rф — теплота испарения флегмы.

Потери тепла в окружающую среду обычно выражают в долях тепла, подводимого в кипятильник, т. е. принимают QП = aПQкип, где при нали­чии хорошей тепловой изоляции коэффи­циент аП = 0,03—0,05.

Делая соответствующие подстановки в уравнение (1.18а.), окончательно получим

QКИП =[P(I iF) + PRrФ + W(iW - iF)] / (1-aП) (1.19.)


Энтальпии жидкостей, входящих в урав­нение (1.18.) и (1.19.), равны произве­дениям их мольных теплоемкостей с на тем­пературы t (в °С). Теплоемкости с и теплоты испарения для бинарных смесей вычисляют по правилу аддитивности исходя из свойств чистых компонентов А и В:

с = сАх+сВ(1—х)

r = rАх+rВ(1—х)

где х — мольная доля компонента А в смеси.

Количество тепла QДЕФ, отнимаемого ох­лаждающей водой в дефлегматоре, зависит от количества конденсирующихся в нем паров. При полной конденсации паров, выходящих из колонны, находим

QДЕФ = P(R+1)rФ = P(R+1)(I-iФ) (1.20.)


Уравнения рабочих линий. Для получе­ния уравнений рабочих линий воспользуем­ся общим для всех массообменных про­цессов уравнением ():


y=, (1.21)

где L и G — расходы жидкой и паровой фаз; у, х, уа и хк —соответственно текущие концентрации паровой и жидкой фаз и их концентрации на верхнем конце колонны .

Применяя это уравнение к процессу ректификации, выразим все вхо­дящие в него величины в мольных единицах.

Укрепляющая часть колонны. Количество жидкости (флегмы), стекаю­щей по этой части колонны

L = Ф = PR, (1.22)


где R= -флегмовое число, представляющее собой отношение количества флегмы к количеству дистиллята.

Количество паров, поднимающихся по колонне


G=P+Ф=P+PR=P(R+1), (1.23)


Для верхнего конца укрепляющей части колонны состав паров yG=yP и, согласно принятому выше допущению, ур = хр. Следовательно, в данном случае ун = хр.

В том же сечении колонны состав жидкости (флегмы), поступающей из дефлегматора, xф = хр, т. е. хк = хр. Учитывая значения L, G, yk и хk получаем уравнение (1.24), получим

y= (1.24)


откуда

y= (1.25)

Зависимость (1.24) является уравнением рабочей ли­нии укреплящей части колонны. В этом уравнении = tg а = А — тангенс угла наклона рабочей линии к оси абсцисс, а =В — отрезок, отсекаемый рабочей линией на оси ординат диаграммы у х (рис. 1.6).

Исчерпывающая часть колонны. Количество орошающей жидкости L' в этом части колонны больше количества флегмы Ф, стекающей по укреп­ляющей части на количество исходной смеси, поступающей на питаю­щую тарелку. Если обозначить количество питания, приходящегося на 1 кмоль дистиллята через f= F/P, то F = Pf и количество жидкости, стекающей по исчерпывающей части колонны, составит:

L = Ф + F = PR + Pf = P (R + I) (1.26)

Количество пара, проходящего через нижнюю часть колонны, равно количеству пара, поднимающегося по верхней (укрепляющей) ее части. Следовательно

G’=G=P(R+1)

Для низа колонны состав удаляющейся жидкости (остатка) х'к = xw и, согласно допущению, состав поступающего сюда из кипятильника пара у’н=yw =xw .Подставив значения L', G', х’к и у’н в общее уравнение , получим

(1.27)

После приведения к общему знаменателю и сокращения подобных чле­нов находим:

(1.28)

Зависимость (1.25) представляет собой уравнение рабо­чей линии исчерпывающей части колонны. В этом уравнении = tg a' = А' —тангенс угла наклона рабочей линии к оси ординат, а = В' — отрезок, отсекаемый рабочей линией на оси абсцисс (см. рис.1.6).

Умножив числитель и знаменатель выражений для А' и А (для укре­пляющей части колонны) на количество дистиллята Р, можно заметить, что они представляют собой отношения количеств жидкой и паровой фаз, или удельный расход жидкости, орошающей данную часть колонны.

Построение рабочих линий на диаграмме у х. Для построения рабочих линиоткладывают на оси абсцисс диаграммы (см. рис. 1.6) за­данные составы жидкостей xw, xf и хр. Учитывая принятые допущения о равенстве составов пара и жидкости на концах колонны, из точки х восстанавливают вертикаль до пересечения с диагональю диаграммы в точке а с координатами ур = хр.

Величину R считаем известной. Откладывая на оси ординат отрезок

В= , соединяют прямой конец отрезка (точку d) с точкой а. Из точки, отвечающей заданному составу хf, прово­дят вертикаль до пересечения с линией ad в точке b. Прямая аb — рабо­чая линия укрепляющей части колонны. Согласно допущению yw = xw ,из точки, соответствующей составу xw , восстанавливают вертикаль до пересечения с диагональю диаграммы и получают точку с — конечную точку рабочей линии исчерпывающей части колонны. Соединяют точку с прямой с точкой b, принадлежащей одновременно рабочим линиям укреп­ляющей и исчерпывающей частей колонны. Прямая bc представляет собой рабочую линию исчерпывающей части колонны.



Рис. 1.6 Построение рабочих линий ректификационной колонны на у—x диаграмме.


Рабочие линии ab и bc в отличие от рабочих линий процесса абсорбции располагаются под линией равновесия. В данном случае, как уже отме­чалось, НК переходит в паровую фазу, стремящуюся к равновесию с жидкой фазой, т. е. по существу десорбируется из жидкости.


1.2. Основные технологические схемы для проведения разрабатываемого процесса


Процессы ректификации осуществляются периодически или непре­рывно при различных давлениях: при атмосферном давлении, под ваку­умом (для разделения смесей высококипящих веществ), а также под дав­лением больше атмосферного (для разделения смесей, являющихся газо­образными при нормальных температурах).


1.2.1. Непрерывная ректификация


Рассмотрим, как реализуются указанные выше условия в ректификационных колоннах непрерывного действия (рис. 1.7.), которые наиболее широко применяются в про­мышленности.



Рис.1.7. Схема непрерывно действующей ректификационной установки:

1— ректификационная колонна (а — укрепляющая часть, б — исчерпывающая часть); 2 —кипятильник; 3 — дефлегматор; 4 — делитель флегмы; 5 — подогреватель исходной смеси;6 — холодильник дистиллята (или холодильник-конденсатор); 7 — холодильник остатка (или нижнего продукта); 8, 9 сборники; 10 — насосы.


Ректификационная колонна 1 имеет цилиндрический корпус, внут­ри которого установлены контактные устройства в виде тарелок или насадки. Снизу вверх по колонне движутся пары, поступающие в нижнюю часть аппарата из кипятильника 2, кото­рый находится вне колонны, т. е. является выносным (как показано на рисунке 1.7.), либо размещается непосредственно под колонной. Следо­вательно, с помощью кипятильника создается восходящий по­ток пара. Пары проходят через слой жидкости на нижней тарелке, которую будем считать первой, ведя нумерацию тарелок условно снизу вверх.

Пусть концентрация жидкости на первой тарелке равна х1 (по низ­кокипящему компоненту), а ее температура t1. В результате взаимодействия между жидкостью и паром, имеющим более высокую темпера­туру, жидкость частично испаряется, причем в пар переходит преимуще­ственно НК. Поэтому на следующую (вторую) тарелку поступает пар с содержанием НК у1> х1.

Испарение жидкости на тарелке происходит за счет тепла конденса­ции пара. Из пара конденсируется и переходит в жидкость преимуществен­но ВК, содержание которого в поступающем на тарелку паре выше рав­новесного с составом жидкости на тарелке. При равенстве теплот испаре­ния компонентов бинарной смеси для испарения 1 моль НК необходимо сконденсировать 1 моль ВК, т. е. фазы на тарелке обмениваются экви­молекулярными количествами компонентов.

На второй тарелке жидкость имеет состав x2, содержит больше НК, чем на первой (х2 > x1), и соответственно кипит при более низкой темпе­ратуре (t2 1). Соприкасаясь с ней, пар состава у1 частично конденси­руется, обогащается НК и удаляется на вышерасположенную тарелку, имея состав y2 > x2, и т. д.

Таким образом пар, представляющий собой на выходе из кипятильника почти чистый ВК, по мере движения вверх все более обогащается низко­кипящим компонентом и покидает верхнюю тарелку колонны в виде почти чистого НК, который практически полностью переходит в паровую фазу на пути пара от кипятильника до верха колонны.

Пары конденсируются в дефлегматоре 3, охлаждаемом водой, и полу­чаемая жидкость разделяется в делителе 4 на дистиллят и флегму, которая направляется на верхнюю тарелку колонны. Следовательно, с помощью - дефлегматора в колонне создается нисходящий поток жид­кости.

Жидкость, поступающая на орошение колонны (флегма), представляет собой почти чистый НК. Однако, стекая по колонне и взаимодействуя с паром, жидкость все более обогащается ВК, конденсирующимся из пара. Когда жидкость достигает нижней тарелки, она становится практически чистым ВК и поступает в кипятильник, обогреваемый глухим паром, или другим теплоносителем.

На некотором расстоянии от верха колонны к жидкости из дефлегма­тора присоединяется исходная смесь, которая поступает на так называе­мую питающую тарелку колонны. Для того чтобы уменьшить тепловую нагрузку кипятильника, исходную смесь обычно предваритель­но нагревают в подогревателе 5 до температуры кипения жидкости на питающей тарелке.

Питающая тарелка как бы делит колонну на две части, имеющие раз­личное назначение. В верхней части 1а (от питающей до верхней тарелки) должно быть обеспечено возможно большее укрепление паров, т. е. обо­гащение их НК с тем, чтобы в дефлегматор направлялись пары, близкие по составу к чистому НК. Поэтому данная часть колонны называется укрепляющей. В нижней части 1б (от питающей до нижней та­релки) необходимо в максимальной степени удалить из жидкости НК, т. е. исчерпать жидкость для того, чтобы в кипятильник стекала жидкость, близкая по составу к чистому ВК. Соответственно эта часть колонны называется исчерпывающей.

В дефлегматоре 3 могут быть сконденсированы либо все пары, посту­пающие из колонны, либо только часть их соответствующая количеству возвращаемой в колонну флегмы. В первом случае часть конденсата, остающаяся после отделения флегмы, представляет собой дистиллят (ректификат), или верхний продукт, который после охлаждения в холо­дильнике 6 направляется в сборник дистиллята 9. Во втором случае не­сконденсированные в дефлегматоре пары одновременно конденсируются и охлаждаются в холодильнике 6, который при таком варианте работы служит конденсатором-холодильником дистиллята.

Жидкость, выходящая из низа колонны (близкая по составу ВК) также делится на две части. Одна часть, как указывалось, направляется в кипя­тильник, а другая — остаток (нижний продукт) после охлаждения водой в холодильнике 7 направляется в сборник 8.

На рис. (1.7.) приведена лишь принципиальная схема непрерывно-действующей ректификационной установки. Такие установки оснащаются необходимыми контрольно-измерительными и регулирующими прибора­ми, позволяющими автоматизировать их работу и проводить процесс с помощью программного управления в оптимальных условиях.


1.2.2. Периодическая ректификация


Периодически действующие ректификационные установки приме­няют, как правило, для разделения жидких смесей в тех случаях, когда использование непрерывнодействующих установок нецеле­сообразно. Обычно это характерно для технологических процессов, в которых количества подлежащих разделению смесей невелики и требуется определенное время для накопления этих продуктов перед разделением или в условиях часто меняющегося состава исходной смеси. Последний случай специфичен для гибких тех­нологических процессов, в которых спектр получаемых продуктов весьма разнообразен.


Периодическую ректификацию проводят на установках с прак­тически идентичной принципиальной схемой. Один из возможных вариантов такой установки показан на рис. (1.8.).


Рис. 1.8. Схема установки для проведения периодической ректификации:

1-куб-кипятильник; 2-подогреватель; 3-ректификационная колонна; 4-дефлегматор; 5-дели­тель потока; 6-холодильник; 7-сборники.


Исходную смесь периодически загружают в куб-кипятильник 1, снабженный подогревателем 2, в который подается теплоноситель, например насыщенный водяной пар. Исходную смесь доводят до кипения. Образующиеся пары подни­маются по колонне 3, в которой происходит противоточное взаимодействие этих паров с жидкостью (флегмой), поступающей из дефлегматора 4. Часть конденсата после делителя потока возвращается в колонну в виде флегмы, другая часть - дис­тиллят Р - через холодильник 6 собирается в сборниках 7 в виде отдельных фракций. Процесс ректификации заканчивают обычно после того, как будет достигнут за­данный средний состав дистиллята. Таким образом, колонна 3 является аналогом укрепляющей части колонны непрерывного действия, а куб выполняет роль исчер­пывающей части.

Периодическая ректификация может осуществляться двумя способами: 1) при постоянном составе дистиллята (хр = const) и 2) при постоянном флегмовом числе (RP = const).

В первом случае количество флегмы по мере уменьшения содер­жания легколетучего компонента в кубе должно постепенно воз­растать. В промышленных условиях установки для проведения такого процесса необходимо оснащать управляющими автомати­зированными системами, способными осуществлять непрерывное и строго программированное изменение питания колонны флегмой и подачи теплоносителя в испаритель (куб колонны). Изменение основных расходных параметров можно проводить, например, по данным о качественном составе легколетучего компонента либо в кубовой жидкости, либо в дистилляте.


1.2.3. Экстрактивная и азеотропная ректификация


Уровень трудности разделения смесей с близкими температурами кипения может быть оценен с помощью коэффициента относительной летучести = РА/РВ. Если значение невелико, то такую смесь можно разделять под вакуумом. Вместе с тем часто экономически целесообразнее в этом случае оказывается использование метода, основанного на введении в разделяемую смесь дополнительного-разделяющего-компонента избирательного действия.

В разделяющем компоненте, который является высококипящим по отношению к одному из двух компонентов исходной смеси, этот последний хорошо растворим, а второй компонент либо нерастворим, либо труднорастворим. Присутствие третьего - разделяющего, или экстрагирующего, - компонента приводит к снижению сил притяжения нерастворимого компонента в растворе к остальным частицам и в результате этого - к увеличению его относительной летучести в системе (рис. 1.9.).

Таким образом, разделяющий агент обладает избирательным действием - повышает давление пара НК в большей степени, чем давление пара ВК. Резкое увеличение облегчает разделение исходных компонентов, но влечет за собой последующий процесс разделения смеси хорошо растворимого и экстрагирующего компонентов, которые удаляются с остатком. Описанный метод разделения называют экстрактивной ректификацией.




Рис. 1.9. Положение кривой равновесия без добавки (1) и с добавкой (2) разделяющего агента


В отличие от экстрактивной, азеотропная ректификация за­ключается в осуществлении процесса в присутствии разделяющего компонента, образующего с компонентами разделяемой смеси один или несколько азеотропов, которые в основном отбираются в виде дистиллята. Схема установки для проведения экстрактивной рек­тификации представлена на рис. (1.10.).

Исходную смесь, состоящую из компонентов А и В, подают на та­релку питания колонны 7 для экст­рактивной ректификации. Несколь­ко выше тарелки питания вводят разделяющий агент С. Низкокипя­щий компонент отбирают в виде дистиллята, а смесь высококипяще­го компонента В и разделяющего компонента С из нижней части колонны 1 направляют на разделе­ние в колонну 2. Разделяющий компонент, отбираемый в виде кубового остатка, возвращают на орошение колонны 1.



Рис. 1.10. Схема установки для экстрактивной ректификации бинарной смеси

1-колонна для экстрактивной ректификации; 2-колонна для разделения продукта В и экстра­гирующего компонента С; 3-насосы; 4-кипятильники; 5-конденсаторы


При азеотропной ректификации (рис. 1.11.) исходную азеотропную смесь подают на тарелку питания колонны, которая орошается сверху разделяющим агентом С. Расход разделяющего агента в основном зависит от состава исходной смеси. Так, при азеотроп­ной ректификации расход разделяющего компонента увеличивается с повышением в исходной смеси концентрации тех компонентов, которые отбираются в дистиллят. При экстрактивной ректифи­кации, наоборот, расход разделяющего компонента возрастает при увеличении в исходной смеси концентрации компонентов, отби­раемых в виде кубового остатка.


Рис. 1.11. Схема установки для азеотропной ректификации:

1-колонна; 2-конденсатор; 3-отстойник; 4-кипятильник


Наиболее сложной задачей при использовании методов экстрак­тивной и азеотропной ректификации является выбор разделяющего компонента, который должен удовлетворять следующим требова­ниям: 1) обеспечивать возможно большее повышение коэффициента относительной летучести разделяемых компонентов; 2) достаточно легко регенерировать; 3) хорошо растворять разделяемые компо­ненты для предотвращения расслаивания жидкой фазы при темпе­ темпе­ратурных условиях в колонне; 4) быть безопасным в обращении, доступным, дешевым, термически стабильным. Обычно при выборе разделяющего агента основываются на справочных данных.

Если в качестве разделяющего агента используют растворимые твердые вещества, то такой процесс разделения называют солевой ректификацией.


1.3. Типовое оборудование для проектируемой установки


Для проведения процессов ректификации применяются аппараты раз­нообразных конструкций, основные типы которых не отличаются от со­ответствующих типов абсорберов.

В ректификационных установках используют главным образом аппара­ты двух типов: насадочные и тарельчатые ректификацион­ные колонны. Кроме того, для ректификации под вакуумом применяют пленочные и роторные колонны различных конструкций.

Насадочные, барботажные, а также некоторые пленочные колонны по конструкции внутренних устройств (тарелок, насадочных тел и т. д.) аналогичны абсорбционным колоннам. Одна­ко в отличие от абсорберов ректификационные колонны снабжены теплообменными устройствами — кипятильником (кубом) и дефлегматором. Кроме того, для уменьшения потерь тепла в окружающую среду ректи­фикационные аппараты покрывают тепловой изоляцией.

Кипятильник или куб, предназначен для превращения в пар части жидкости, стекающей из колонны, и подвода пара в ее нижнюю часть (под насадку или нижнюю тарелку). Кипятильники имеют поверх­ность нагрева в виде змеевика или представляют собой кожухотрубчатый теплообменник, встроенный в нижнюю часть ко­лонны (рис. 1.12., а). Более удобны для ремонта и замены выносные кипятильники (см. рис. 1.7.), которые устанавливают ниже колонны с тем, чтобы обеспечить естественную циркуляцию жидкости.

В периодически действующих колоннах куб является не только испа­рителем, но и емкостью для исходной смеси. Поэтому объем куба должен быть в 1,3—1,6 раза больше его единовременной загрузки (на одну опера­цию). Обогрев кипятильников наиболее часто производится водяным насы­щенным паром.

Дефлегматор, предназначенный для конденсации паров и по­дачи орошения (флегмы) в колонну, представляет собой кожухотрубчатый теплообменник, в межтрубном пространстве которого обычно конденси­руются пары, а в трубах движется охлаждающий агент (вода). Однако вопрос о направлении конденсирующихся паров и охлаждающего агента внутрь или снаружи труб следует решать в каждом конкретном случае, учитывая желательность повышения коэффициента теплопередачи и удобство очистки поверхности теплообмена.

В случае частичной конденсации паров в дефлегматоре его рас­полагают непосредственно над колонной (рис. 1.12., а), чтобы обеспе­чить большую компактность установки, либо вне колонны (см. рис. 1.7.). При этом конденсат (флегму) из нижней части дефлегматора подают непосредственно через гидравлический затвор наверх колонны, так как в данном случае отпадает необходимость в делителе флегмы.

В случае полной конденсации паров в дефлегматоре его устанавли­вают выше колонны (см. рис. 1.7.), непосредственно на колонне (см. рис. 1.12., а) или ниже верха колонны (рис. 1.12., б) для того, чтобы уменьшить общую высоту установки. В последнем случае флегму из де­флегматора 1 подают в колонну 2 насосом. Такое размещение дефлег­матора часто применяют при установке ректификационных колонн вне зданий, что более экономично в ус­ловиях умеренного климата.



Рис. 1.12. Варианты установки дефлегматоров:

а — на колонне; б — ниже верха ко­лонны; 1 — дефлегматоры; 2 — колон­ны; 3 — насос.


Б а р б о т а ж н ы е колонны в процессах ректификации наиболее широко распространены. Они применимы для больших производительностей, широкого диапа­зона изменений нагрузок по пару и жидкости и могут обеспечить весь­ма четкое разделение смесей. Недо­статок барботажных аппаратов—от­носительно высокое гидравлическое сопротивление—в условиях ректи­фикации не имеет такого существенного значения, как в процессах аб­сорбции, где величина р связана со значительными затратами энергии на перемещение газа через аппарат. При ректификации повышение гидрав­лического сопротивления приводит лишь к некоторому увеличению дав­ления и соответственно к повышению температуры кипения жидкости в кипятильнике колонны. Однако тот же недостаток (значительное гид­равлическое сопротивление) сохраняет свое значение для процессов ректификации под вакуумом.

В н а с а д о ч н ы х колоннах (рис. 1.13.) используются насадки различ­ных типов, но в промышленности наиболее распространены колонны с насадкой из колец Рашига. Меньшее гидравлическое сопротив­ление насадочных колонн по сравнению с барботажными особенно важно при ректификации под вакуумом. Даже при значительном вакууме в верхней части колонны вследствие большого гидравлического сопротивле­ния ее разрежение в кипятильнике может оказаться недостаточным для требуемого снижения температуры кипения исходной смеси.

Для уменьшения гидравлического сопротивления вакуумных колонн в них применяют насадки с возможно большим свободным объемом.

В самой ректификационной колонне не требуется отводить тепло, как в абсорберах. Поэтому трудность отвода тепла из насадочных колонн является скорее достоинством, чем недостатком насадочных колонн в условиях процесса ректификации.

Однако и при ректификации следует считаться с тем, что равномерное распределение жидкости по насадке в колоннах большого диаметра за­труднено. В связи с этим диаметр промышленных насадочных ректифика­ционных колонн обычно не превышает 0,8—1 м.



Рис. 1.13. Насадочная ректификационная колонна с кипятильником

1-корпус; 2-насадка; 3-опорная решетка; 4-перераспределитель флегмы; 5-патрубок для слива кубового остатка; 6-кипятильник; 7-ороситель.


Как уже отмечалось, в насадочных колоннах поверхностью контакта фаз является смоченная поверхность н а с а д ­к и. Поэтому насадка должна иметь возможно большую поверх­ность в единице объема. Вместе с тем для того, чтобы насадка работала эффективно, она должна удовлетворять следующим тре­бованиям: 1) хорошо смачиваться орошающей жидкостью, т.е. материал насадки по отношению к орошающей жидкости должен быть лиофильным; 2) оказывать малое гидравлическое сопротивле­ние газовому потоку, т.е. иметь возможно большее значение сво­бодного объема или сечения насадки; 3) создавать возможность для высоких нагрузок аппарата по жидкости и газу; для этого насадка должна также иметь большие значения или SCB; 4) иметь малую плотность; 5) равномерно распределять орошающую жидкость; 6) быть стойкой к агрессивным средам; 7) обладать высокой механи­ческой прочностью; 8) иметь невысокую стоимость.

Очевидно, что насадок, которые бы полностью удовлетворяли всем указанным требованиям, не существует, так как соответствие одним требованиям нарушает соответствие другим (например, уве­личение удельной поверхности а насадки влечет за собой повышение гидравлического сопротивления, а также снижение предельно допус­тимых скоростей газа и т.д.).

Поэтому в промышленности используют большое число разно­образных по форме и размерам насадок, изготовленных из различ­ных материалов (металла, керамики, пластических масс и др.), которые удовлетворяют основным требованиям при проведении того или иного процесса ректификации.

В качестве насадки наиболее широко применяют тонкостенные кольца Рашига (Приложение 1, а), имеющие высоту, равную диаметру, который изменяется в пределах 15-150 мм. Кольца малых разме­ров засыпают в колонну навалом. Большие кольца (от 50х50 мм и выше) укладывают правильными рядами, сдвинутыми друг отно­сительно друга. Такой способ заполнения аппарата насадкой назы­вают загрузкой в укладку, а загруженную таким способом насадку - регулярной. Регулярная насадка имеет ряд преимуществ перед не­регулярной, навалом засыпанной в колонну: обладает меньшим гидравлическим сопротивлением, допускает большие скорости газа. Однако регулярная насадка требует более сложных по устройству оросителей, чем насадка, засыпанная навалом.

Хордовую насадку (см. Приложение 1, б) обычно применяют в колоннах большого диаметра. Несмотря на простоту ее изготовления, хордовая насадка вследствие небольших удельной поверхности и свободного сечения вытесняется более сложными и дорогостоя­щими видами фасонных насадок, часть из которых представлена в Приложение 1, б. В табл. 1.1. приведены основные характеристики наса­док некоторых типов.


Таблица 1.1. Характеристики насадок




Удельная

Свобод-

Эквивалент-


Масса \

Насадка

Размеры элемен-

поверхность,

ный

ный диаметр,

1 м3 на -


та, мм

М2/М3

объем,

м

садки, кг




М3/М3



. Регулярная насадка

Деревянная хордовая

10

100

0,55

0,022

210

(шаг в свету

20

65

0,68

0,042

145

10 х 100 мм)






Керамические кольца

50 х 50 х 50

НО

0,735

0,027

650

Рашига

80 х 80 х 8

80

0,720

0,036

670

100 х 100 х 100

60

0,720

0,048

670

Засыпка в навал

Керамические кольца

15 х 15 х 2

330

0,700

0,009

690

Рашига

25 х 25 х 3

200

0,740

0,015

530


50 х 50 х 5

90

0,785

0,035

530

Стальные кольца

10 х 10 х 0,5

500

0,880

0,007

960

Рашига

15 х 15 х 0,5

350

0,920

0,009

660

25 х 25 х 0,8

220

0,920

0,017

640

Керамические кольца

25 х 25 х 3

220

0,740

0,014

610

Палля

50 х 50 х 5

120

0,780

0,026

520

Стальные кольца

25 х 25 х 0,6

235

0,900

0,01

525

Палля

50 х 50 х 1

108

0,900

0,033

415

Керамические седла

12,5

460

0,680

0,006

720

Берля

25

260

0,690

0,011

670


38

165

0,700

0,017

670

При выборе размеров насадки необходимо учитывать, что с уве­личением размеров ее элементов увеличивается допустимая ско­рость газа, а гидравлическое сопротивление насадочной колонны снижается. Общая стоимость колонны с крупной насадкой будет ниже за счет снижения диаметра колонны, несмотря на то, что высота насадки несколько увеличится по сравнению с таковой в колонне, заполненном насадкой меньших размеров.

Если необходимо провести глубокое разделение газовой смеси, требующее большого числа единиц переноса, то в этом случае рациональнее использовать мелкую насадку.

При выборе размера насадки необходимо соблюдать условие, при котором отношение диаметра D колонны к эквивалентному диаметру dЭ насадки

D/dЭ 10.


Пленочные аппараты. Эти аппараты применяются для ректификации под вакуумом смесей, обладающих малой термической стойкостью при нагревании (например, различные мономеры и полимеры, а также другие продукты органического синтеза).

В ректификационных аппаратах пленочного типа достигается низкое гидравлическое сопротивление. Кроме того, задержка жидкости в еди­нице объема работающего аппарата мала.

К числу пленочных ректификационных ап­паратов относятся колонны с регулярной на­садкой в виде пакетов вертикальных трубок диаметром 6—20 мм (многотрубчатые колон­ны), а также пакетов плоскопараллельной или сотовой насадки с каналами различной формы, изготовленной из перфорированных металли­ческих листов или металлической сетки. Одна из распространенных конструкций роторно-пленочных колонн показана на рис. 1.14. Она состоит из колонны, или ректифи­катора 1, снабженного наружным обогревом через паровые рубашки 2 и ротором 3, ротор­ного испарителя 4 и конденсатора 5. Ротор, представляющий собой полую трубу с лопастя­ми, охлаждаемую изнутри водой, вращается внутри корпуса колонны. Исходная

Рис.1.14. Схема роторно-пленочной ректификационной колонны.


1-колонна; 2-рубашка для обогрева; 3-ротор; 4-роторный испаритель; 5-конденсатор-дефлегматор; 6-штущер для ввода исходной смеси; 7- штуцер для ввода флегмы; 8-штуцер для ввода пара; 9-штуцер для вывода остатка.


смесь по­дается в колонну через штуцер 6. Сверху ко­лонна орошается флегмой, поступающей из конденсатора 5 через штуцер 7. Пар подается в колонну через штуцер 8 из испарителя 4, снаб­женного неохлаждаемым ротором и аналогич­ного пленочному выпарному аппарату. Под­нимаясь в пространстве между ротором 3 и корпусом колонны 1, пар конденсируется на наружной поверхности ротора. Образующаяся пленка конденсата отбрасывается под дейст­вием центробежной силы по поверхности ло­пастей ротора к периферии. Попадая на обо­греваемую внутреннюю поверхность, жидкость испаряется и образующийся пар поднимается кверху. Таким конденсационно-испарительным способом (при работе вне адиабатических условиях) достигается четкое разделение смеси при малом времени ее пребывания в ап­парате и незначительном перепаде давле­ний по высоте колонны, так как большая часть внутреннего пространства корпуса заполнена потоком пара. Ро­торные испарители типа испарителя 4 могут быть использованы в каче­стве самостоятельных аппаратов для вакуумной дистилляции смесей, чувствительных к высоким температурам.

Недостатки роторных колонн: ограниченность их высоты и диаметра (из-за сложности изготовления и требований, предъявляемых к проч­ности и жесткости ротора), а также высокие эксплуатационные расходы.

В случае загрязненных сред целесообразно применять регуляр­ные насадки, в том числе при работе под повышенным давлением. Для этих сред можно использовать также так называемые колонны с плавающей насадкой. В качестве насадки в таких колоннах обычно применяют легкие полые шары из пластмассы, которые при достаточно высоких скоростях газа переходят во взвешенное состояние. Вследствие их интенсивного взаимодействия такая насадка практически не загрязняется.

В колоннах с плавающей насадкой возможно создание более высоких скоростей, чем в колоннах с неподвижной насадкой. При этом увеличение скорости газа приводит к расширению слоя шаров, что способствует снижению скорости газа в слое насадки. Поэтому существенное увеличение скорости газового потока в таких аппара­тах (до 3-5 м/с) не приводит к значительному возрастанию их гидравлического сопротивления.



ПРИЛОЖЕНИЕ 1


Виды насадок



2 3

a.






1 2 3 6 7





4 8

5

б

а - насадка из колец Рашига: 1-отдельное кольцо; 2-кольца навалом; 3-регулярная насадка; б - фасонная насадка: 1-кольца Палля; 2 -седлообразная насадка; 3- кольца с крестообразными перегородками; 4 -керамические блоки; 5-витые из проволоки насадки; 6-кольца с внутренними спиралями; 7-пропеллерная насадка; 8-деревянная хордовая насадка


Б Г ТУ

ФАКУЛЬТЕТ

УТВЕРЖДАЮ

Зав.кафедрой

“_______"___________ " 2003 г


ЗАДАНИЕ ПО КУРСОВОМУ ПРОЕКТИРОВАНИЮ

Студенту Кардашу А. В.

1. Тема проекта: Рассчитать и спроектировать ректификационную установку непрерывного действия для разделения бинарной смеси _______________________________

____________________________

2. Сроки сдачи cтудентом законченного проекта

3. Исходные данные к проекту:

3.1. Производительность: ______________

по исходной смеси ___________________

по дистилляту________________________

по кубовому остатку_______6000 кг/ч_____

3.2. Содержание легколетучего компонента в:

а) исходной смеси __0.22____ % Мольные

б) дистилляте_______0.9___ % Мольные

в) кубовом остатке _0.08____ % Мольные

3.3. Температура исходной смеси__35_С______

3.4. Температуры греющего пара и охлаждающей воды во вспомогательном оборудовании выбрать самостоятельно.

3.5.Исходная смесь перед подачей в колонну подогревается в теплообменнике с использованием тепла кубового остатка (паров флегмы и дистиллята).

3.6. Тип колонны ______________________

3.7. Тип контактных устройств____________

3.S. Давление вверху колоны ___________

* - параметры выбрать самостоятельно

4. Содержание расчётно-пояснитсльной записки изложено на обороте бланка задания

5. Перечень графического материала:

5.1. Схема установки 1 лист (А1).

5.2. Общий вид аппарата с необходимыми разрезами сечениями отдельными узлами

(по указанию преподавателя. А1 )

5.3. Чертеж сборочной единицы, рабочие чертежи деталей (А 1. только для спец.: Т.05.03.01 МиАХП).

6. Консультанты по проекту: Протасов С. К.

7. Дата выдачи задания 7.09.2003

8. Календарный график работы нал проектом:

8.1. Литературный обзор 24.09.2003

8.2. Обоснование и описание установки 1.10.2003

8.3. Подробный расчёт ректификационной колонны 29.10.2003

8.4. Подробный расчет теплообменника 19.11.2003

8.5. Расчёт и подбор вспомогательного оборудования 3.12.2003

8.6. Выполнение графической части 22.12.2003

8.7. Защита проекта

РУКОВОДИTЕJIЬ __Протасов C. К.___________________

Задание принял к исполнению ______________________________ « 9 » Сентября 2003 г


Содержание расчетно-пояснительной записки

Пояснительная записка включает: титульный лист, задание на проектирование, реферат, содержание, введение, литературный обзор, описание технологической схемы установки, расчет основного аппарата, подробный расчет одного из теплообменников, расчет и подбор вспомогательного оборудования, заключение и список использованных источников. При не­обходимости в состав пояснительной записки включают список условных обозначений и приложения. Список основных обозначений помещают по­сле содержания, а приложения после списка использованных источни­ков. Задание на проектирование выдается руководителем проекта.

2. Реферат содержит сведения об объеме проекта, перечень ключе­вых слов, краткую аннотацию материалов проекта.

3. Содержание включает перечень наименований разделов и подраз­делов, в которых состоит пояснительная записка.

4. Во введении кратко отражаются роль и перспективы развития хи­мической промышленности, роль технологического процесса и назначение проектируемой установки. Объем введения не должен превышай, двух листов.

5. В литературном обзоре приводится описание: 1) теоретических основ разрабатываемого процесса; 2) основных технологических схем для для проведения; 3) типового оборудования для проектируемой установки.

По заданию преподавателя литературный обзор может быть допол­нен патентным обзором по современному аппаратурно-технологическому оформлению процесса.

6. Обоснование и описание технологической схемы включают: обос­нование ее выбора, обоснование выбора основного аппарата и вспомога­тельного оборудования с кратким описанием их конструкций и принципа действия; подробное описание принципа действия разрабатываемой установки.

Описание технологической схемы завершается кратким обосновани­ем мероприятий по охране окружающей среды, т.е. по предотвращению и обезвреживанию вредных промышленных выбросов.

7. Расчет основного аппарата зависит от его назначения, типа и кон­струкции. Он содержит технологический и конструктивный расчеты по существующим методикам.

8. Подробный расчет теплообменника включает в себя как теплотех­нический, так и гидравлический расчеты.

9. Подбор вспомогательного оборудования (обычно стандартного и нормализованного) производится на основе ориентировочных расчетов.

10. В заключение приводятся характеристики установки, основного аппарата и вспомогательного оборудования.

11. Список использованных источников включает перечень литера­туры и других источников, использованных при выполнении курсового проекта.


ПРИ ВЫПОЛНЕНИИ КУPCОВОГО П РОЕКТА ПО ВСЕМ ТЕМАМ РУКОВОДСТВОВАТЬСЯ:


1. Калишук Д. Г. , Протасов С.К., Марков В.А. Процессы и аппараты химической технологии. Методические указания к курсовому проектиро­ванию по одноименной дисциплине для студ. очного и заочного обучения. - Мн.: Ротапринт БГТУ, 1992.

2. Основные процессы и аппараты химической технологии. Пособие по проектированию / Под ред. Ю.И. Дытнерского. - М.: Химия, 1991.


Министерство образования Республики Беларусь


Учреждение образования : “Белорусский государственный технологический университет”


Кафедра ПИАХП


Расчётно-пояснительная записка

К курсовому проекту по курсу ПИАХТ

на тему: Расчёт и проектирование ректификационной установки непрерывного действия для разделения бинарной смеси бензол-толуол.


Разработал: студент

Факультета ТОВ 4к. 1 гр.

Кардаш А. В.

Проверил: Протасов С К


Минск 2003

РЕФЕРАТ


Записка содержит:

5 – таблиц; 20 - рисунков; 2 приложения; 67 листов.


РЕКТИФИКАЦИЯ, КОЛОНА, ТАРЕЛКА, НАСАДКА, ДИСТИЛЯТ, ФЛЕГМА, НАСОС, ТЕПЛООБМЕННИК, ШТУЦЕР, ТРУБОПРОВОД, ПАР, КОНДЕНСАТ.


В данной расчетно-пояснительной записке приведен тепловой, материальный, гидравлический расчет ректификационной установки включающую в себя теплообменную аппаратуру, трубопроводы, ёмкости для продуктов перегонки и саму колону. Выполнен также подбор стандартного оборудования и оптимальной технологической схемы для проведения процесса. Проведен полный гидравлический и тепловой расчёт теплообменника


СОДЕРЖАНИЕ

Введение…………………………………………………………………………

6
1. Литературный обзор………………………………………………………… 7
1.1 Теоретические основы разрабатываемого проц6есса……………………. 7

1.1.1 Общие сведения о процессе ректификации…………..……………

7
1.1.2 Равновесие в системах жидкость-пар……………………………… 8
1.1.3 Материальный и тепловой балансы ректификационной колоны... 11
1.2 Основные схемы для проведения процесса……………………………….

17

1.2.1 Непрерывная ректификация………………………………………...

18

1.2.2 Периодическая ректификация………………………………………

19

1.2.3 Экстрактивная и азеотропная ректификация……………………… 20

1.3 Типовое оборудование для проектируемой установки…………………..

23

2.Описание и обоснование установки…………………………………………

29

3.Расчёт ректификационной колонны……………….…………………………

31

3.1 Особенности расчёта тарельчатой ректификационной колоны………….

31

3.1.1 Материальный баланс колонны и………………………………….

31

3.1.2. Определение рабочего флегмового числа…..…………………….

32
3.1.3. Определение среднемассового расхода по жидкости…………….

35

3.1.4. Определение среднемассового расхода по пару…….…………….

35

3.1.5. Скорость пара и диаметр колонны………………………………….

36

3.2.Определение высоты колоны………………………………………………

38

3.2.1 Определение высоты колоны по кинетической кривой…………..

38

3.2.2. Высота светлого слоя жидкости на тарелке и паросодержание барботажного слоя………………………………………………………..

40 39

3.2.3 Определение коэффициентов массопередачи……………………..

43

3.2.4 Определение эффективности тарелки……………………………..

45

3.3. Расчет гидравлического сопротивления тарелок колонны……………..

50

3.4. Расчёт штуцеров…………………………………………………………….

51

3.5 Тепловой баланс ректификационной колоны……………………………..

51

4.Подробный расчёт теплообменника…………………………………………

54

5. Расчёт и подбор вспомогательного оборудования…………………………

58

5.1. Расчёт кожухотрубчатого испарителя……………………………………..

58

5.2. Расчёт теплообменника подогревателя…………………………………….

58

5.3. Расчёт кожухотрубчатого конденсатора (дефлегматора)………………...

59

5.4. Расчёт холодильника дистиллята…………………………………………..

60
5.5 Выбор насоса для перекачивания исходной смеси………………………. 60
5.6 Определение высоты всасывания…………………………………………...

63

Заключение………………………………………………………….……………

64

Список использованных источников…………………………………………..

65

Приложение 1……………………………………………………………………

66

Приложение 2……………………………………………………………………

67


ВВЕДЕНИЕ


На всем протяжении своего развития химия служит человеку в его практической деятельности. Еще задолго до новой эры возникли ремесла, в основе которых лежали химические процессы: получение металлов, стекла, керамики, красителей.

Роль современной химии в различных отраслях промышленности и сельского хозяйства исключительно велика. Без развития химии невозможно развитие топливно-энергетического комплекса, металлургии, транспорта, связи, строительства, электроники, сферы быта и услуг и т. д. Химическая индустрия снабжает народное хозяйство различными материалами и сырьем. Это кислоты, щелочи, растворители, топливо, масла, пластмассы, химические волокна, синтетические каучуки, минеральные удобрения и многие другие. В различных отраслях промышленности используются химические методы, например катализ (ускорение процессов), защита металлов от коррозии, обработка деталей химическим способом.

Исключительно большое значение химия имеет в энергетике, которая использует энергию химических реакций. В связи с истощением природных запасов нефти возрастает потребление синтетического топлива, которое вырабатывает химическая индустрия. Существенной экономии нефти позволяет достичь внедрение новых процессов получения жидкого топлива из бурого и каменного угля. Таким образом, химической и нефтехимической промышленности отводится важная роль в реализации энергетической программы РБ.

Современная химическая промышленность характеризуется весьма большим числом разнообразных производств, различающихся условиями протекания технологических процессов и многообразием физико-химических свойств перерабатываемых веществ и выпускаемой продукции. Вместе с тем технологические процессы различных производств представляют собой комбинацию сравнительно небольшого числа типовых процессов (нагревание, охлаждение, фильтрование и т. д.). За последние десятилетия развитие химической технологии привело к появлению принципиально новых процессов, что поставило химическую технологию на качественно более высокий уровень. В этом отношении весьма перспективным является бурное развитие вычислительной техники, которая создает невиданные до недавнего времени возможности для исследования, моделирования и расчета процессов и аппаратов химической технологии.

Ректификация — массообменный процесс, который осуществляется в большинстве случаев в противоточных колонных аппаратах с контактными элементами (насадки тарелки) аналогичными используемым в процессе абсорбции.

Ректификационная установка даёт наиболее полное разделение смесей жидкостей, целиком или частично растворимых друг в друге. Процесс заключается в многократном взаимодействии паров с жидкостью - флегмой, полученной при частичной конденсации паров.


2.ОПИСАНИЕ И ОБОСНОВАНИЕ УСТАНОВКИ


Для разделения смеси толуол – бензол, применяется ректификационное разделение. Процесс разделения требуется проводить непрерывным способом. Так как нам не известны предыдущие стадии процесса, то перед подачей на колонну необходимо предусмотреть накопительный бак, который будет обеспечивать непрерывную подачу смеси на ректификационную колонну в случае сбоев на предыдущих этапах производства, так как эти сбои могут привести к остановке колонны. По этой же причине необходимо предусмотреть два нагнетательных насоса, передающих исходную смесь с накопительного бака, через теплообменники на ректификацию (на случай выхода одного из них из строя). Для возможности очистки накопительного бака, предусматривается отвод в канализацию из последнего предусматривается отвод в канализацию для воды.

Питание требуется подавать в колонну при температуре кипения, для этого необходимо подогреть его. С этой целью перед подачей на колонну устанавливается теплообменник. Так как исходная смесь толуол – бензол кипит при температуре 99 С, то для подогрева, с целью экономии греющего пара, целесообразно использовать тепло кубового остатка. Для отвода конденсата предусматриваем отдельную канализационную систему, позволяющую возвращать конденсат обратно на парогенерацию. В колонне исходная смесь разделяется на два потока: толуол содержащий и бензол, отбираемых соответственно с нижней и верхней частей колонны. толуол как более труднолетучий компонент, собирается внизу (в кубовой части) колонны, а бензол как легколетучий компонент в верхней части колонны. Для обеспечения потока пара через колонну, устанавливается кипятильник кубового остатка. Часть кубового остатка в виде продукта отводится и собирается в бак. Целесообразно предусмотреть установку сборных баков, как для толуола, так и для бензола, т.к. не известно по технологической линии, куда направляются продукты ректификации. Для транспортировки по дальнейшей технологической линии продуктов, из сборных баков продукта транспортируются насосами. Перед подачей бензола в сборную ёмкость его необходимо охладить, что осуществляется также при помощи теплообменников. В целях экономии энергии, рационально использовать тепло кубового остатка для нагревания питания. При этом также уменьшается количество теплообменников, если этого тепла достаточно, чтобы нагреть питание до температуры кипения, или уменьшается поверхность теплообменника при использовании дополнительного подогрева с помощью греющего пара. Для образования флегмы пары, содержащие преимущественно легколетучий компонент, конденсируют в теплообменнике-дефлегматоре, и разделяют на отводимый в виде продукта поток и на поток, возвращаемый как флегму обратно в колонну.


Так как в дефлегматоре продукт только конденсируется, но не охлаждается, то перед подачей в сборную ёмкость его необходимо охладить. Охлаждение продукта в теплообменнике и дефлегматоре осуществляется с помощью воды, как наиболее дешевого теплоносителя. Для оборотной вода после выхода из теплообменников и отвода предусматриваем отдельную канализационную систему, для возможности раздельного направления на регенерацию. Для сборных ёмкостей продуктов также устанавливаем отвода для промывных вод.

Так как в технологическом процессе используются легко текучие и чистые жидкости с не большим расходом, то используем центробежные насосы. В качестве теплообменников используем кожухотрубчатые теплообменники как наиболее распространённые и вполне подходящие для реализации нашей технологической схемы. Технологическая схема приведена на чертеже.


Министерство образования Республики Беларусь


Учреждение образования : “Белорусский государственный технологический университет”


Кафедра ПИАХТ


Пояснительная записка


К курсовому проекту по курсу ПИАХТ


Тема: Непрерывная ректификация


Разработал: студент

Факультета ТОВ 4к. 1 гр.

Кардаш А. В.

Проверил: Протасов С К


Минск 2003

РЕФЕРАТ


РЕКТИФИКАЦИЯ, КОЛОНА, ТАРЕЛКА, НАСАДКА, ДИСТИЛЯТ, ФЛЕГМА, НАСОС, ТЕПЛООБМЕННИК, ШТУЦЕР, ТРУБОПРОВОД, ПАР, КОНДЕНСАТ.


В данной расчетно-пояснительной записке приведен тепловой, материальный, гидравлический расчет ректификационной установки включающую в себя теплообменную аппаратуру, трубопроводы, ёмкости для продуктов перегонки и саму колону. Выполнен также подбор стандартного оборудования и оптимальной технологической схемы для проведения процесса. Проведен гидравлический и тепловой расчёт теплообменника

Записка содержит:

5 – таблиц; 20 - рисунков; 2 приложения; 67 листов.


СОДЕРЖАНИЕ

Реферат ………………………………………………………………………….

2

Введение…………………………………………………………………………

6
1. Литературный обзор………………………………………………………… 7
1.1 Теоретические основы разрабатываемого проц6есса……………………. 7

1.1.1 Общие сведения о процессе ректификации…………..……………

7
1.1.2 Равновесие в системах жидкость-пар……………………………… 8
1.1.3 Материальный и тепловой балансы ректификационной колоны... 11
1.2 Основные схемы для проведения процесса……………………………….

17

1.2.1 Непрерывная ректификация………………………………………...

18

1.2.2 Периодическая ректификация………………………………………

19

1.2.3 Экстрактивная и азеотропная ректификация……………………… 20

1.3 Типовое оборудование для проектируемой установки…………………..

23

2.Описание и обоснование установки…………………………………………

29

3.Расчёт ректификационной колонны……………….…………………………

31

3.1 Особенности расчёта тарельчатой ректификационной колоны………….

31

3.1.1 Материальный баланс колонны и………………………………….

31

3.1.2. Определение рабочего флегмового числа…..…………………….

32
3.1.3. Определение среднемассового расхода по жидкости…………….

35

3.1.4. Определение среднемассового расхода по пару…….…………….

35

3.1.5. Скорость пара и диаметр колонны………………………………….

36

3.2.Определение высоты колоны………………………………………………

38

3.2.1 Определение высоты колоны по кинетической кривой…………..

38

3.2.2. Высота светлого слоя жидкости на тарелке и паросодержание барботажного слоя………………………………………………………..

40 39

3.2.3 Определение коэффициентов массопередачи……………………..

43

3.2.4 Определение эффективности тарелки……………………………..

45

3.3. Расчет гидравлического сопротивления тарелок колонны……………..

50

3.4. Расчёт штуцеров…………………………………………………………….

51

3.5 Тепловой баланс ректификационной колоны……………………………..

51

4.Подробный расчёт теплообменника…………………………………………

54

5. Расчёт и подбор вспомогательного оборудования…………………………

58

5.1. Расчёт кожухотрубчатого испарителя……………………………………..

58

5.2. Расчёт теплообменника подогревателя…………………………………….

58

5.3. Расчёт кожухотрубчатого конденсатора (дефлегматора)………………...

59

5.4. Расчёт холодильника дистиллята…………………………………………..

60
5.5 Выбор насоса для перекачивания исходной смеси………………………. 60
5.6 Определение высоты всасывания…………………………………………...

63

Заключение………………………………………………………….……………

64

Список использованных источников…………………………………………..

65

Приложение 1……………………………………………………………………

66

Приложение 2……………………………………………………………………

67


ВВЕДЕНИЕ


На всем протяжении своего развития химия служит человеку в его практической деятельности. Еще задолго до новой эры возникли ремесла, в основе которых лежали химические процессы: получение металлов, стекла, керамики, красителей.

Роль современной химии в различных отраслях промышленности и сельского хозяйства исключительно велика. Без развития химии невозможно развитие топливно-энергетического комплекса, металлургии, транспорта, связи, строительства, электроники, сферы быта и услуг и т. д. Химическая индустрия снабжает народное хозяйство различными материалами и сырьем. Это кислоты, щелочи, растворители, топливо, масла, пластмассы, химические волокна, синтетические каучуки, минеральные удобрения и многие другие. В различных отраслях промышленности используются химические методы, например катализ (ускорение процессов), защита металлов от коррозии, обработка деталей химическим способом.

Исключительно большое значение химия имеет в энергетике, которая использует энергию химических реакций. В связи с истощением природных запасов нефти возрастает потребление синтетического топлива, которое вырабатывает химическая индустрия. Существенной экономии нефти позволяет достичь внедрение новых процессов получения жидкого топлива из бурого и каменного угля. Таким образом, химической и нефтехимической промышленности отводится важная роль в реализации энергетической программы РБ.

Современная химическая промышленность характеризуется весьма большим числом разнообразных производств, различающихся условиями протекания технологических процессов и многообразием физико-химических свойств перерабатываемых веществ и выпускаемой продукции. Вместе с тем технологические процессы различных производств представляют собой комбинацию сравнительно небольшого числа типовых процессов (нагревание, охлаждение, фильтрование и т. д.). За последние десятилетия развитие химической технологии привело к появлению принципиально новых процессов, что поставило химическую технологию на качественно более высокий уровень. В этом отношении весьма перспективным является бурное развитие вычислительной техники, которая создает невиданные до недавнего времени возможности для исследования, моделирования и расчета процессов и аппаратов химической технологии.

Ректификация — массообменный процесс, который осуществляется в большинстве случаев в противоточных колонных аппаратах с контактными элементами (насадки тарелки) аналогичными используемым в процессе абсорбции.

Ректификационная установка даёт наиболее полное разделение смесей жидкостей, целиком или частично растворимых друг в друге. Процесс заключается в многократном взаимодействии паров с жидкостью - флегмой, полученной при частичной конденсации паров.


2.ОПИСАНИЕ И ОБОСНОВАНИЕ УСТАНОВКИ


Для разделения смеси толуол – бензол, применяется ректификационное разделение. Процесс разделения требуется проводить непрерывным способом. Так как нам не известны предыдущие стадии процесса, то перед подачей на колонну необходимо предусмотреть накопительный бак, который будет обеспечивать непрерывную подачу смеси на ректификационную колонну в случае сбоев на предыдущих этапах производства, так как эти сбои могут привести к остановке колонны. По этой же причине необходимо предусмотреть два нагнетательных насоса, передающих исходную смесь с накопительного бака, через теплообменники на ректификацию (на случай выхода одного из них из строя). Для возможности очистки накопительного бака, предусматривается отвод в канализацию из последнего предусматривается отвод в канализацию для воды.

Питание требуется подавать в колонну при температуре кипения, для этого необходимо подогреть его. С этой целью перед подачей на колонну устанавливается теплообменник. Так как исходная смесь толуол – бензол кипит при температуре 99 С, то для подогрева, с целью экономии греющего пара, целесообразно использовать тепло кубового остатка. Для отвода конденсата предусматриваем отдельную канализационную систему, позволяющую возвращать конденсат обратно на парогенерацию. В колонне исходная смесь разделяется на два потока: толуол содержащий и бензол, отбираемых соответственно с нижней и верхней частей колонны. толуол как более труднолетучий компонент, собирается внизу (в кубовой части) колонны, а бензол как легколетучий компонент в верхней части колонны. Для обеспечения потока пара через колонну, устанавливается кипятильник кубового остатка. Часть кубового остатка в виде продукта отводится и собирается в бак. Целесообразно предусмотреть установку сборных баков, как для толуола, так и для бензола, т.к. не известно по технологической линии, куда направляются продукты ректификации. Для транспортировки по дальнейшей технологической линии продуктов, из сборных баков продукта транспортируются насосами. Перед подачей бензола в сборную ёмкость его необходимо охладить, что осуществляется также при помощи теплообменников. В целях экономии энергии, рационально использовать тепло кубового остатка для нагревания питания. При этом также уменьшается количество теплообменников, если этого тепла достаточно, чтобы нагреть питание до температуры кипения, или уменьшается поверхность теплообменника при использовании дополнительного подогрева с помощью греющего пара. Для образования флегмы пары, содержащие преимущественно легколетучий компонент, конденсируют в теплообменнике-дефлегматоре, и разделяют на отводимый в виде продукта поток и на поток, возвращаемый как флегму обратно в колонну.


Так как в дефлегматоре продукт только конденсируется, но не охлаждается, то перед подачей в сборную ёмкость его необходимо охладить. Охлаждение продукта в теплообменнике и дефлегматоре осуществляется с помощью воды, как наиболее дешевого теплоносителя. Для оборотной вода после выхода из теплообменников и отвода предусматриваем отдельную канализационную систему, для возможности раздельного направления на регенерацию. Для сборных ёмкостей продуктов также устанавливаем отвода для промывных вод.

Так как в технологическом процессе используются легко текучие и чистые жидкости с не большим расходом, то используем центробежные насосы. В качестве теплообменников используем кожухотрубчатые теплообменники как наиболее распространённые и вполне подходящие для реализации нашей технологической схемы. Технологическая схема приведена на чертеже.


© 2012 Рефераты, курсовые и дипломные работы.