рефераты
Главная

Рефераты по рекламе

Рефераты по физике

Рефераты по философии

Рефераты по финансам

Рефераты по химии

Рефераты по хозяйственному праву

Рефераты по цифровым устройствам

Рефераты по экологическому праву

Рефераты по экономико-математическому моделированию

Рефераты по экономической географии

Рефераты по экономической теории

Рефераты по этике

Рефераты по юриспруденции

Рефераты по языковедению

Рефераты по юридическим наукам

Рефераты по истории

Рефераты по компьютерным наукам

Рефераты по медицинским наукам

Рефераты по финансовым наукам

Рефераты по управленческим наукам

Психология и педагогика

Промышленность производство

Биология и химия

Языкознание филология

Издательское дело и полиграфия

Рефераты по краеведению и этнографии

Рефераты по религии и мифологии

Рефераты по медицине

Рефераты по сексологии

Рефераты по информатике программированию

Краткое содержание произведений

Реферат: Проектирование мотоустановки среднемагистрального пассажирского самолета

Реферат: Проектирование мотоустановки среднемагистрального пассажирского самолета

Содержание

ВВЕДЕНИЕ
1. ОПИСАНИЕ КОНСТРУКЦИИ МОТОГОНДОЛЫ
2. СИЛОВОЙ РАСЧЕТ ВОЗДУХОЗАБОРНИКА
2.1. Исходные данные для силового расчета
2.2 Распределение расчетных аэродинамических нагрузок по длине воздухозаборника
2.3. Распределение нагрузок по длине и по сечениям воздухозаборника
2.4. Распределение аэродинамических нагрузок по внутренней поверхности воздухозаборника
2.5. Определение равнодействующей по сечениям воздухозаборника от внешних и внутренних аэродинамических нагрузок
2.6. Нагрузки на болты крепления воздухозаборника к проставке
2.7. Проверка прочности воздухозаборника самолета
2.8. Автоматизация расчета аэродинамических нагрузок воздухозаборника
3. Технологический процесс изготовления воздухозаборника канала сотовой звукопоглощающей конструкции.
3.1. Технологичность конструкции воздухозаборника
3.2. Применяемые материалы и оборудование
3.3. Технологический процесс сборки обшивок и элементов каркаса
3.4. Использование в конструкции воздухозаборника композиционных материалов
3.4.1 Методы получения ПКМ
4. ОХРАНА ТРУДА И ОКРУЖАЮЩЕЙ СРЕДЫ
5. ЭКОНОМИКА И ОРГАНИЗАЦИЯ ПРОИЗВОДСТВА
ЛИТЕРАТУРА
ПРИЛОЖЕНИЕ

ВВЕДЕНИЕ

На летательном аппарате с воздушно-реактивными двигателями применяются различные входные устройства.

Они служат для торможения потока воздуха перед поступлением его в двигатель, а основными требованиями, предъявляемыми к входным устройствам, являются:

– обеспечение высоких значений коэффициента сохранения полного давления;

– создание равномерного потока на входе в двигатель или желаемой (допустимой) неравномерности;

– минимальное аэродинамическое сопротивление;

– обеспечение устойчивой и эффективной работы во всем требуемом диапазоне режимов полета и режимов работы двигателя.

Выбор входного устройства во многом зависит от расчетного числа М полета летательного аппарата, потребного диапазона отклонения чисел М от расчетного, места расположения силовой установки на летательном аппарате, типа применяемых двигателей и ряда других факторов.

На самолете Ту-334 двигатели размещены на хвостовой части фюзеляжа (рис. 1), что позволяет:

а) обеспечить аэродинамически "чистое" крыло с максимально возможным использованием его размаха для размещения средств механизации (закрылков, предкрылков и т.п.) с целью получения высокого аэродинамического качества крыла и высоких значений Сy при взлете и при посадке;

б) создать необходимые условия для работы воздухозаборников, если достаточно далеко отодвинуть их от фюзеляжа, чтобы обеспечить слив пограничного слоя. Изменение угла подхода воздушного потока к воздухозаборнику двигателя, расположенного на хвостовой части фюзеляжа, примерно вдвое меньше изменения углов атаки крыла (или изменения угла тангажа самолета), в то время как у заборников, поставленных под крылом или у передней кромки крыла, это изменение угла подхода воздушного потока больше, чем изменение угла атаки крыла;

в) улучшить характеристики продольной путевой и поперечной устойчивости за счет:

Положение мотоустановок на самолете

– работы гондол двигателей и их пилонов как дополнительного горизонтального оперения;

– малого разворачивающего момента двигателей при остановке одного из них;

г) улучшить комфорт и повысить безопасность пассажиров за счет уменьшения шума в кабине (низкочастотного от выхлопной реактивной струи и высокочастотного от воздухозаборников и воздушных каналов) и за счет размещения двигателей позади герметической кабины;

е) повысить пожарную безопасность, вследствие того что:

– двигатели удалены от пассажирской кабины и от топливных баков;

ж) повысить эксплуатационные характеристики силовой установки и всего самолета в целом за счет:

– обеспечения возможности замены целиком всей гондолы вместе с двигателем;

– создания достаточно хороших условий для подхода к двигателям;

з) предохранить двигатели от попадания в них воды и посторонних предметов при работе двигателей на земле благодаря достаточно высокому расположению заборников от земли и от попадания камней из под шасси за счет прикрытия заборников крылом и закрылками;

и) обеспечить возможность установки двигателей с большей тягой (при сохранении или при небольшом увеличении их веса) вследствие малого плеча тяги относительно центра тяжести самолета;

к) улучшить работу устройств для реверсирования тяги двигателей по сравнению с двигателями, размещенными в корне крыла.

В зависимости от расчетной скорости полета входные устройства можно разделить на два типа:

1) дозвуковые – для дозвуковых летательных аппаратов;

2) сверхзвуковые – для сверхзвуковых летательных аппаратов.

К дозвуковому диффузору ТРД относится не только сам внутренний канал, по которому воздух поступает к двигателю, но и примыкающая к нему входная часть – заборник воздуха. Заборник должен иметь плавное очертание входных кромок, что необходимо для предотвращения срыва потока на входе.

Внутренний канал у таких диффузоров является расширяющимся. При движении дозвукового потока воздуха по расширяющемуся каналу происходит уменьшение его скорости и увеличения давления. Интенсивность процесса торможения определяется степенью изменения площади канала. Чем больше увеличивается площадь канала, тем интенсивнее должен быть процесс торможения.

Одной из актуальных задач создания современных самолетов является снижение шума двигателя. В том время, как самолеты с большой дальностью полета являются наиболее шумными из-за большой мощности установленных на них двигателей, самолеты со средней и малой дальностью полета более многочисленны и любое мероприятие по снижению шума этих самолетов также имеет большое значение.

Существует три основных способа достижения этой цели: применение малошумных двигателей, более совершенные приемы эксплуатации самолетов и двигателей и рациональная установка двигателей на самолете.

В авиационных двигателях шум порождается вентилятором ДТРД (компрессором ТРД), реактивной струей и внутренними источниками (прежде всего турбиной). Основным источником шума ДТРД с малой и особенно с большой степенью двухконтурности является вентилятор, причем общий уровень шума ДТРД ниже, чем ТРД.

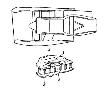
Наибольшее влияние на уровень шума оказывает скорость истечение газа, поэтому действенным способом снижения шума является переход в пассажирской авиации от ТРД к двухконтурным двигателям, шум реактивной струи которых меньше из-за существенно меньшей ее скорости. Однако главным источником шума у ДТРД стал вентилятор. В настоящее время разработаны следующие основные способы снижения шума одноступенчатого вентилятора: отказ от ВНА вентилятора, пониженная окружная скорость рабочего колеса, оптимальное соотношение чисел лопаток выходного направляющего аппарата и рабочего колеса, увеличенное расстояние между этими рядами лопаток. Следует отметить, что, хотя применение турбовентиляторов с высокой частотой вращения позволяет снизить массу двигателя, требование по уровню шума заставляет ограничивать частоту вращения значениями, соответствующими окружным скоростям вентиляторов 400–450 м/с. Кроме того, рассматриваются другие предложения по снижению шума вентилятора одним из которых является способ снижения шума в процессе распространения его из воздухозаборника и выходного устройства. Этот способ включает облицовку стенок проточной части звукопоглощающими конструкциями (ЗПК). Пример применения таких конструкции в мотогондоле двигателя RB.211 для самолета L-1011 показан на рис. 2. Применение ЗПК важно и тем, что при этом в конструкцию двигателя никаких изменений не вносится.

Акустически обработанная мотогондола двигателя пассажирского самолета

а – мотогондола с ЗПК; б – многослойная звукопоглощающая конструкция;
1 – перфорированная обечайка; 2 – сотовый заполнитель; 3 – опорная поверхность.

Рис. 2


1. ОПИСАНИЕ КОНСТРУКЦИИ МОТОГОНДОЛЫ

На самолете установлены мотогондолы с использованием в конструкции композиционных материалов (звукопоглощающие панели воздухозаборника).

Мотогондола (рис. 3) состоит из:

– передней части воздухозаборника;

– задней части (створки мотогондолы);

– панелей крепления створок мотогондолы.

Передняя часть мотогондолы состоит из носка, канала и обечайки. Носок крепится по внутреннему контуру к каналу воздухозаборника, а по внешнему – к обечайке.

Канал – трехслойная оболочка. Внутренняя обшивка (перфорированная) выполнена из алюминиевого сплава Д19чАТВ толщиной 1,8 мм, нагруженная обшивка – из сплава Д19чАТ = 1,2 мм.

Заполнитель: ТССП-Ф-10П, сотовый, с шестигранной ячейкой а = 10 мм.

Толщина панели – 20 мм.

Внешняя поверхность воздухозаборника – обечайка представляет собой клепанную оболочку с обшивкой из материала Д16-АТВ (травленая) с толщиной обшивки 1,8 мм, под двумя подкрепляющими до толщины равной 1,2 мм между ними.

Обшивка в обечайке в передней плоскости крепится к стеночному шпангоуту передней губы воздухозаборника, а по задней – к торцевому стеночному шпангоуту в районе фланца двигателя.

Воздухозаборник закреплен на переднем фланце двигателя двенадцатью быстросъемными соединителями (накидными болтами М10), воспринимающими осевые усилия, а также моменты вертикальных и горизонтальных осей.

Силовое воздействие в плоскости, определяемой указанными осями, воспринимается цилиндрическим пояском на фланце двигателя, по которому осуществляется и центровка воздухозаборника.

В конструкцию воздухозаборника встроена противообледенительная система (ПОС) с отбором горячего воздуха от третьей ступени компрессора высокого давления двигателя.

Внешняя обшивка и панели объединены первым и четвертым силовыми шпангоутами. Четвертый шпангоут воздухозаборника выполняет функции поперечной противопожарной перегородки.

Носок воздухозаборника отштамованный из нержавеющей стали состоит из четырех частей, сваренных между собой встык.

Носок воздухозаборника состоит из обшивки, поперечной диафрагмы, на которой крепится коллектор с частью трубы ПОС и шпангоута № 1. Шпангоут № 1 сборной конструкции имеет кольцевую форму и состоит из стенки, усиленной поясами и диафрагмами.

Коллектор входит в конструкцию противообледенительной системы воздухозаборника (ПОС). Звукопоглощающая канальная панель (ЗПК) конструктивно выполнена в виде двух дюралюминиевых обшивок, между которыми вклеен сотовый заполнитель. Со стороны проточной части обшивка перфорирована. ПО торцам панели приклеены профили для стыковки с носком по шпангоуту № 1 и со шпангоутом № 4 воздухозаборника.


2. СИЛОВОЙ РАСЧЕТ ВОЗДУХОЗАБОРНИКА

В конструкциях современных самолетов можно наблюдать большое разнообразие типов, форм и расположений воздухозаборников. Это связано с тем, что они должны обеспечивать наиболее эффективное использование кинетической энергии набегающего потока и вместе с тем иметь минимальное лобовое сопротивление. Форма внутреннего канала должна обеспечивать возможно малые потери энергии на трение, но одновременно отвечать условиям лучшей компоновки самолета.

В случае отсутствия аэродинамических продувок по воздухозаборникам нагрузки на них можно приближенно определить, исходя из двух режимов полета самолета. Получаемые нагрузки будут несколько завышены по сравнению с действительными и пойдут в запас прочности.

Поскольку профили гондол и капотов подобны профилю крыла и обтекаются воздушным потоком на режимах, соответствующих большим углам атаки крыла, на них возникают значительные аэродинамические нагрузки.

В эксплуатации встречаются различные случаи нагружения гондол. Наибольший интерес представляют два случая, учитывающие полета при максимальных скоростях и маневрах самолета.

2.1. Исходные данные для силового расчета

Аэродинамические нагрузки на мотогондолу приведены в табл. 1,

(xy и xz даны в долях длины мотогондолы. В носке мотогондолы х = 0).

Таблица 1

Характеристика расчетных случаев А' и Д' для установок под двигатели

Расчетные Значения характеристик
случаи

nyэ

a, град b, град

dзвнутр, град

q, кг/м3

yэмг , кг

xy

zэмг, кг

xz

А' 2,5 10 0 0 2000

1600/

1100

0,16¸

0,83

±190

0,16¸

0,55

Д' -1,0 -4 0 0 2000

-2210/

-1810

0,16¸

90,55

±160

0,16¸

0,55

Нагрузки распределяются по внешней поверхности следующим образом:

– избыточное давление по поверхности определяется по формуле (1.1)

DPэ = pq ,                                            (1.1)

где DPэ – избыточное давление на поверхности;

q – скоростной напор;

p – рассчитывается по формуле:

p = p1+ py + pz .                                       (1.2)

Величина p1 определяется по графику на рис. 4

Величина py для случая Д' дается на прилагаемом графике (рис. 5). Для других режимов величина py пересчитывается пропорционально Yмг.

Значение pz определяется по формуле:

pz = pza + pzb .                                         (1.3)

Распределение pza по контуру и длине воздухозаборника дается на графике (рис. 6). При этом pza определяется по выражению:

pza = (z(a)мг/q)Kza .                                  (1.4)

В случаях А' и Д' z(a)мг = zмг, в других расчетных случаях следует принимать z(a)мг = ±180 кг. Kza определяется по графику на рис. 6.

Распределение pzb по контуру принимается таким же как и для pza. При этом:

pzb = ((zмг – 180)/q)Kzb .                               (1.5)

где zмг – берется из таблиц;

Kzb – определяется по графику на рис. 7.

2.2. Распределение расчетных аэродинамических нагрузок по длине воздухозаборника

Нагрузки на внутреннюю поверхность воздухозаборника представлены в таблицах 2 и 3.

Таблица 2

Расчетные значения нагрузок в случае А'

х 60° 120° 180° 240° 300°
0 -1105

-545

-804

564

305

+1105

545

804

-564

-305

0,05 -940

-464

-679

476

261

+940

464

679

-476

-261

0,1 -774

-383

-553

391

221

+774

383

553

-391

-221

0,153 -597

-296

-431

302

167

+597

296

431

-302

-167

Таблица 3

Расчетные значения нагрузок в случае Д'

х 60° 120° 180° 240° 300°
0 +442

207

-12

-235

-454

-442

-207

12

235

454

0,05 +376

177

-3

-199

-379

-376

-177

3

199

379

0,1 +310

146

2

-164

-308

-310

-146

-2

164

308

0,153 +239

113

-1

-127

-241

-239

-113

1

127

241

2.3. Распределение нагрузок по длине и по сечениям воздухозаборника

2.3.1. Несимметричное распределение нагрузки

Характер несимметричного распределения максимальных нагрузок по длине воздухозаборника в случае А' показан на рис. 8, а по сечению воздухозаборника на рис. 9

Распределение нагрузок по длине воздухозаборника

Рис. 8


Изменение максимальных нагрузок по сечению воздухозаборника

                            

Рис. 9

Расчетные нагрузки в случае А' и Д' определяются по формуле:

p = f·q·(z/q)· Kza                                      (1.6)

Нагрузки по длине мотогондолы определим, подставляя значения для случая А':

p = 2·2000·(±190/2000)· Kza = ±380Kza .

В случае Д':

p = 2·2000·(±160/2000)·Kza = ±320Kza .

Нагрузки по контуру мотогондолы определим, подставляя значения для случая А':

p = ((±190 – 180)/2000)·2·2000·Kzb = (20;-740)Kzb .

В случае Д':

p = ((±160 – 180)/2000)·2·2000·Kzb = (-40;-680)Kzb .

Суммарные нагрузки:

В случае А':

p = ±380 Kza Kzb·(+20;–740) .

В случае Д':

p = ±320 Kza Kzb·(-40;–680) .

2.3.2. Равномерное распределение нагрузки

Характер распределения нагрузки p1 по сечениям воздухозаборника приведен на рис. 10

Характер распределения нагрузки p1 по сечениям воздухозаборника

                              

Рис. 10

Таблица 4

Угол Для всех углов
Расчетный случай
А' Д'

скоростной напор – q, кг/м2

х Д' 2000 2000 680 2000
0 1,66 -6640 -6140
0,05 1,02 -4080 -4080
0,1 0,86 -3440 -3440
0,153 0,76 -3040 -3040

2.3.3. Распределение py по воздухозаборнику

Характер распределения нагрузки py приведен на рис. 11.

Величина нагрузки py по воздухозаборнику:

py = (1600/2210)·2·2000 = 2895,93py* .

Распределение py по воздухозаборнику

                                      

Рис. 11

Значения py* приведены в табл. 5.

Таблица 5

Значение нагрузки py*

Сечение j
х

py*

0
0 0,435 -1259 -630 630 1260 630 -630
0,05 0,370 -1072 -536 536 1072 536 -536
0,1 0,305

-883

-883

-442

-883

442

883

883

883

442 -442
0,153 0,235 -681 -681 681 681 341 -341
0,1716 0,210 -608 -608 608 608 304 -304

Коэффициент пересчета для случая Д':

Л = -1,3812 и py = -4000py*

2.3.4. Распределение нагрузки по воздухозаборнику от силы pz

Для случая А'

pz = ±380 Kza ·(+20;-740) Kzb

Таблица 5

Распределение нагрузки по длине и по контуру от силы pz

j
х

Kza

Kzb

60° 120° 180° 240° 300°
0 0,55 0,395 0

-174

-72

-174

-72

0

174

72

174

72

0,05 0,51 0,325 0

-162

-40

-162

-40

0

162

40

162

40

0,1 -0,42 0,260 0

-134

-28

-134

-28

0

134

28

134

28

0,153 -0,27 0,205 0

-85

-42

-85

-42

0

85

42

85

42

Суммарные аэродинамические нагрузки на воздухозаборник приведены в табл. 6, 7, 8 и 9

Таблица 6

Суммарные аэродинамические нагрузки на воздухозаборник в случае А' и
L = 3,8 м (Рр, кг/м2)

j, град
х 60° 120° 180° 240° 300°
0 -7900

-7444

-7342

-6184

-6082

-5380

-5836

-5938

-7096

-7198

0,05 -5752

-4778

-4656

-3706

-3584

-3008

-3382

-3504

-4454

-4576

0,1 -4323

-4016

-4457

-3910

-4351

-3132

-2691

-3026

-2585

-2557

-2864

-2970

-3748

-3854

0,153 -3721

-3806

-3763

-2444

-2401

-2353

-2614

-2657

-3296

-3339

0,1716 -3528

-3581

-3591

-2315

-2375

-2312

-2563

-2553

-3171

-3161

Таблица 7

Суммарные аэродинамические нагрузки на воздухозаборник в случае Д' (р = ±3200, и Kza·(-40;-680) Kzb

j
х

Kza

Kzb

60° 120° 180° 240° 300°

                                                                                  Продолжение табл. 7

0 -0,55 0,395

-6640*

0

-166

-80,2

-166

-80,2

0

166

80,2

166

80,2

0,05 -0,51 0,325

-4080*

0

-152,5

-50

-152,5

-50

0

153

50

153

50

0,1 -0,42 0,260

-3440*

0

-1254

-36,7

-1254

-36,7

0

125,4

36,7

125,4

36,7

0,153 -0,27 0,205

-2920*

0

-82

-46

-82

-46

0

82

46

82

46

0,1716 -0,17 0,185

-2560*

0

-54

-62

-54

-62

54

62

54

62

*) Указаны значения равномерного распределения р1 по сечениям и по длине воздухозаборника

Таблица 8

Суммарные аэродинамические нагрузки на воздухозаборник в случае Д'
(К = -1,3812, py = -4000·py* (кг/м2)

j
х 60° 120° 180° 240° 300°
0 1740 870 -870 -1740 -870 870
0,05 1486 740 -740 -1486 -740 740
0,1 1220

610

1220

-610

-1220

-1220 -610 610
0,153 941 941 -941 -941 -471 471
0,1716 840 840 -840 -840 -420 420

Таблица 9

Суммарные расчетные аэродинамические нагрузки на воздухозаборник в случае Д'

j
х 60° 120° 180° 240° 300°
0 -4900

-5936

-5850

-7676

-7590

-8380

-7344

-7430

-5604

-5690

0,05 -2600

-3493

-3390

-4973

-4870

-5560

-4667

-4770

-3187

-3290

0,1 -2220

-2955

-2345

-2867

-2257

-4175

-4785

-4087

-4697

-4660

-3925

-4013

-2705

-2793

0,153 -2100

-2181

-2145

-4063

-4027

-3980

-3429

-3465

-2487

-2523

0,1716 -2080

-2134

-2142

-3814

-3822

-3760

-3286

-3278

-2446

-2438

2.4. Распределение аэродинамических нагрузок на внутренней поверхности воздухозаборника

Нагрузки в канале от py в случае А':

q = 2000 кг/м2, Dвх = 1,6 м, f = 2,0, a = -10°;

Sвх = pr2 = 2,01 м2, a' = 0,1745;

Y = Sвх·q·a = 2,01·2·2000·0,1745 = 1403 кг .

Нагрузки в канале от py в случае Д':

q = 2000 кг/м2, Dвх = 1,6 м, f = 2,0, a = -4°;

Sвх = pr2 = 2,01 м2, a' = 0,0698;

Y = Sвх·q·a = -2,01·2·2000·0,0698 = -561 кг .

В случае А':

pz = (20;-740)Кzb ;

py = (1403/2210)·2·2000·py* = 2539,3py* (кг/м2)

В случае Д':

pz = (-40;-680)Кzb ;

py = (-561/2210)·2·2000·py* = -1015py* (кг/м2)

Таблица 10

Значения нагрузок в случае А' и Д' при j = 0°

Расчетный случай
А' Д'
х

Кzb

pz = (20;-740), кг/м2

pz = (-40;-680), кг/м2

0 0,395

8

-292

-16

-269

0,05 0,325

7

-241

-13

-221

0,1 0,260

5

-192

-10

-177

0,153 0,260

4

-152

-8

-140

Таблица 11

Значения нагрузок в случае А’ и Д’ при j = 90°

Расчетный случай
А’ Д’
х

py*

py = 2539,2

 кг/м2

py = -1015,

 кг/м2

0 -0,435 1105 -442
0,05 -0,370 940 -376
0,1 -0,307 774 -310
0,153 -0,235 594 -239

Таблица 12

Нагрузки на внутреннюю поверхность воздухозаборника в случае А’

åp = pycosj + pzsinj

j
x 60° 120° 180° 240° 300°
0 -1105 -552 557 1105 557 -552

7

-252

7

-252

0

-7

252

-7

252

å -1105

-545

-804

564

305

1105

545

804

-564

-305

0,05 -940 -470 470 940 470 -470

6

-209

6

-209

0

-6

209

-6

209

å -940

-464

-679

476

261

940

464

678

-476

-261

0,1 -774 -387 387 774 387 -387

6

-166

4

-166

0

-4

166

-4

166

å -774

-383

-553

391

221

774

383

553

-391

-221

0,153 -597 -299 299 597 299 -299

3

-132

3

-132

0

-3

132

-3

122

å -597

-296

-431

302

167

597

296

431

-302

-167

Таблица 13

Нагрузки на внутреннюю поверхность воздухозаборника в случае Д’

åp = pycosj + pzsinj

j
60° 120° 180° 240° 300°
х

pycosj

442 221 -221 -442 -221 221
0

pzsinj

-14

-233

-14

-233

14

233

14

233

å 442

207

-12

-235

-454

-442

-207

-12

235

454

pycosj

376 188 -188 -376 -188 188

                                                                                Продолжение табл. 13

0,05

pzsinj

-11

-191

-11

-191

0

11

191

11

191

å 376

177

-3

-199

-379

-376

-177

3

199

379

pycosj

310 155 -155 -310 -155 155
0,1

pzsinj

-9

-153

-9

-153

9

153

9

153

å 310

146

2

-164

-308

-310

-146

-2

164

308

pycosj

239 120 -120 -239 -120 120
0,153

pzsinj

-7

-121

-7

-121

7

121

7

121

å 239

113

-1

-127

-241

-239

-113

1

127

241

2.5. Определение равнодействующих нагрузок по сечениям воздухозаборника от внешних и внутренних аэродинамических нагрузок

Суммарное распределение нагрузки в поперечном сечении воздухозаборника

                           

Рис. 16

Расчет нагрузок от внешних аэродинамических сил (для нижних значений pz производится по формулам:

  , (1.7)

 . (1.8)

Принимаем значение pr = 2,826 м;  

Рассчитанные значения нагрузок по формулам (1.7) и (1.8) представлены в табл. 14, 15

Таблица 14

Суммарные значения нагрузок в случае А'

х

pycosj

pzsinj

qy

qz

qS, кг/м

a, град
0 -1260cosj -83sinj -3561 -235 -3569 3,8
0,05 -1072cosj -47sinj -3029 -133 -3032 2,5
0,1 -883cosj -33sinj

-2495

-2838

-93

-2497

-2840

2,13

1,88

0,153 -681cosj -49sinj

-1925

-2138

-138 -2143 3,7

x = 0,1; -1589,4 – 2495·0,5 = -2838 кг/м;

х = 0,153; -1226 – 1925·0,5 = -2139 кг/м.

Таблица 15

Суммарные значения нагрузок в случае Д'

х

pycosj

pzsinj

qy

qz

qS, кг/м

a, град
0 1740cosj -93sinj 4917 -263 4924 3,06
0,05 1481cosj -58sinj 4185 -164 4188 2,25
0,1 1220cosj -42sinj

3448

3893

-119

3450

3895

1,98

1,75

0,153 941cosj -53sinj

2659

3024

-150 3028 2,84

x = 0,1; 0,5·3448 + 2169 = 3893 кг/м;

х = 0,153; 0,5·2659 + 1694 = 3024 кг/м.

2.6. Нагрузки на болты крепления воздухозаборника к проставке

Воздухозаборник, соединенный болтами со средней частью гондолы двигателя, работает на изгиб по схеме консольной балки.

2.6.1. Определение нагрузок на болты крепления в случае А'

Для определения нагрузок на болты крепления воздухозаборника к проставке примем:

– число болтов n = 12;

– Dокр. болтов = 1440 мм;

Распределение суммарной погонной нагрузки в точках Д, С, В, А определяем как:

qД = 3835 + 3777 = 7607 кг/м;

qС = 3157 + 3046 = 6203 кг/м;

qВ = 2526 + 2425 = 4951 кг/м;

qА = 2000 + 1977 = 3977 кг/м.

Распределение суммарной погонной нагрузки по длине представлено на рис. 17

Распределение суммарной погонной нагрузки по длине воздухозаборника

                

Рис. 17

Величина суммарной приведенной нагрузки R в центре давления определяется как:

R = ((7607 + 6703)/2 + (6203 + 4956)/2)·0,19 + ((4956 + 3977)/2)·0,202 =
= 3274 (кг).

Для определения координаты центра давления определим суммарный изгибающий момент МА:

МА = 6203·0,19·0,487 + 4956·0,19·0,297 + 3977·0,202·0,101 + 1404·0,19·0,5·0,518 + 1247·0,19·0.5·0,329 + 979·0,202·0,5·0,135 = 1056 кг·м.

Координата центра давления хц.д.= 1056/3274 = 0,3225 м .

Расчетные нагрузки на болты определяем по формулам [6]:

Рmax = 4M/nDокр.б. ,                                  (1.9)

Рmax = (4·0,3235·3274)/(12·1,44) = 245 кг .

Срезающая нагрузка буртика (зуба) проставки:

Рсрр = 3274 кг .

Вес воздухозаборника Gв-ка = 93 кг, хц.т. = 350 мм вперед от плоскости крепления к проставке.

Нагрузки на болты крепления воздухозаборника от инерционных нагрузок представлены на рис. 18.

Рис. 18

Задаемся коэффициентом перегрузки n = 1,5, тогда

Ринрц = Gв-ка·n = 93·1,5 = 140 (кг) .

М = 0,35·140 = 49 (кг·м) .

Рб = (4·43)/(12·1,44) = 11,34 (кг) .

Суммарный Мизг = = 1059,271 (кг·м) .

Максимальная растягивающая нагрузка на болт Рболт = 245,2 кг.

Схема расположения крепежных болтов по контуру и суммарные действующие нагрузки приведены на рис. 19

Схема расположения крепежных болтов по контуру и суммарные действующие нагрузки

                         

Рис. 19

2.6.2. Определение нагрузок на болты крепления в случае Д'

Расчетные нагрузки на воздухозаборник по сечениям и по длине, точки приложения равнодействующих, рассчитанные значения моментов и перерезывающих сил приведены на рис. 20.

Максимальное растягивающее усилие на болт:

Рmaxр = 4М/4d = (4·0,392·2400)/(12·1,440) = 218 кг.

Срезающая нагрузка воспринимается буртиком проставки – Рсрр = 2400 кг.

2.7. Проверка прочности воздухозаборника самолета

2.7.1. Исходные данные для расчета

Внутренняя обшивка: D = 1,8 мм, материал: сплав Д19, перфорация – диаметром 2 мм.

Расчетные нагрузки на воздухозаборник в случае Д'

Рис. 20

Заполнитель: ТССП-Ф-10П (ТУ-596-258-87), удельный весь заполнителя – g = 35±5 кг/м3; sсж = 15 кг/см2. Параметры заполнителя и перфорированной обшивки приведены на рис. 21.

Параметры заполнителя и перфорированной обшивки

                  

Рис. 21

Внешняя обшивка: D = 1,2 мм, материал: сплав Д19.

Обечайка изготовлена из Д16Т, D = 1,8 мм, травленная с D = 1,8 мм до D = 1,2 мм. Максимальный размер клетки 101 на 120 мм. Характерные размеры и сечения представлены на рис. 22

Типовое сечение обечайки

Рис. 22

2.7.2. Расчет сечения в районе проставки в расчетном случае А'

Размеры рассчитываемого сечения приведены на рис. 23

Рис. 23

Находим момент инерции сечения:

I = å(0,4D3d) = 0,4·142,53·0,12 + 0,4·1923·0,12 + 0,4·138,53·dпр = 638037,84 см4 .

Приведенная толщина внутренней общивки:

dпр. внутр. обш. = [((p·138,5)/12,0208)·0,2·0,18 – p·138,5·0,18]/(p·138,5) .

Нормальные напряжения от изгиба воздухозаборника:

s = (М·d)/J·2 = (3948·192·38,2)/(638037,84·2) = 22,69 (кг/см2),

Избыток прочности

h = 2750/22,69 – 1 >> 1.

М = Р·l ; Р = 3948 кг; l = 38,2 см.

q = 22,69·0,12 = 2,72 кг/см

Проверяем ячейку травления на устойчивость от q = 2,72 кг/см. Схема нагружения ячейки приведена на рис. 24. Принимаем, что длинные края ячейки обшивки оперты

Схема нагружения ячейки обшивки

Рис. 24

Величина a/b = 101/120 = 0,841; К = 3,6.

sкр = 2750 кг/см2,

h = 2750/355 – 1 = 6,746 ,

h >> 1

2.7.3. Проверка прочности внутреннего канала на осевое сжатие

Проверку прочности внутреннего канала на осевое сжатие проведем по методике изложенной в [6]:

Тдейств. = [P·l·(d + d1)(dв + dн)p(d + d1)]/2J = [3948·38,22(138,5 + 142,5)2(0,12 + + 0,15)·3,14]/(638037,94·4) = 3958 (кг)

Действующая сжимающая нагрузка от qp равна 2000·1,5 = 3000 (кг/м2).

Т = (p/4)(1922 – 1382)·0,3 = 4198,74 (кг).

Суммарная нагрузка: åТ = 8157 кг.

Заполнитель маложесткий. Расчетные формулы для трехслойных панелей (6):

sзап < 1,21qEпр ,

Li = E1H/E1B = 1,

a = ÖC + 1/[2,6(1 + 50)],

b = 1,21qEпр/Gзап

С1 = D1рас/D1

D1 = 4(z0 – h – dн)3 + 4(H – z0)3 + 4li[z03 – (z0 – dн)3] ,

z0 = [dв2 + 2dв(dн + h) + lidн2]/[2(dв + lidн)] .

Расчет по приведенным выше формулам дает:

z0 = [0,152 + 2·0,15(0,12 + 2,8) + 1·0,122]/[2(0,15 + 1·0,12] = 1,246 ,

D1  = 4(1,246 – 2,8 – 0,12)3 + 4(2,27 – 1,246)3 + 4·1(1,2463 – (1,246 – 1,123) = = 3,652 ,

B2 = 0,15 + 0,12 = 0,27 (мм) .

Епр = 6,8·105 кг/см2. Принимаем для маложесткого заполнителя К = 0,2.

D1рас = dв3 + lidн3 = 0,153 + 0,123 = 0,00513 .

C1 = 0,005103/3,652 = 0,001397 .

q = [2,0(1 – 0,001397)·Ö0,27·3,652]/[70,25(2,0 + 2,27)2] = 0,001548 .

Приведенный модуль сдвига:

Gзап = Gxz = 1,5·(dc/t)·Gм ,

Gзап = Gyz = (dc/t)·Gм ,

Модуль сдвига заполнителя: Gм = Ем/[2(1 + n)],

Gм = 6000/[2(1 + 0,25)] = 2400 (кг/см2) .

Gзап = Gxz = 1,5·(0,025/1,732)·2400 = 52 (кг/см2) ,

Gзап = Gyz = (0,025/1,732)·2400 = 35 (м/см2),

Gзап = Ö52·35 = 42,7 (кг/см2)

42,7 < 1,21·0,001548·6,8·105;

42,7 < 1273,7

т.е. заполнитель маложесткий.

b = 1273,7/42,7 = 29,83

a = Ö0,001397 + [1/2·29,83·(1 + 5 – 0,001397)] = 0,054025

Критическая осевая сила Ткр:

Ткр = 2·p·К·ЕпрÖВzD1 ·a = 2·p·0,2·6,8·105Ö0,27·3,652 ·0,054025 = 45842 кг.

Избыток прочности

h = 45842/8157 – 1 = 4,62 .

Расчет напряжений во внутренних и наружных слоях трехслойной панели проведем в соответствии с [6]. Схема нагружения представлена на рис. 25.

Схема нагружения трехслойной панели

Рис. 25

qв  = q(1/(1 + d));

qн  = q(q/(1 + d));

d = l·(dн/dв) ,

l = E1н/Е1в = 6,8·105/6,8·105 = 1 ,

q = 8157/(p·140,5) = 18,48 (кг/см2),

d = 1·(1,2/1,5) = 0,8 ,

qв  = 18,48(1/(1 + 0,8)) = 10,27 (кг/см)

[s02] = 27,5 (кг/мм2).

qн  = 18,48(0,8/1,8) = 8,21 (кг/см),

sвн = 1027/0,15 = 68,5 (кг/см2),

sн = 8,21/0,12 = 68,42 (кг/см2) .

Избыток прочности:

h = 27,5/0,685 - 1 = >> 39,14 .

2.7.4. Проверка прочности внутреннего канала на внешнее давление

Расчетные нагрузки:

1. Установившийся режим Н = 0; М = 0;

Разрежение на входе в заборник распространяется на всю длину канала:

DpD = -0,645 кг/см2 ; dст.соты  = 0,04 ;

sм = 2400 кг/см2 ; sxz = 83 кг/см2 ;

Gyz = 55,42 кг/см2 ;

Gзап = Ö35,4·83 = 67,8 кг/см2 .

Определяем Ркр для несимметричной трехслойной оболочки с мягким средним слоем (рис. 26)

Рис. 26

li = 1 = Eн/Ев ; К = 0,8 .

Заполнитель маложесткий:

g = h·B1/l·R0,5 ,

a = 5g·Eпр/Gзап ,

с1 = D2рас/D2 ,

D2рас =  dв3 + lidн3 = 0,153 + 0,123 = 0,00513 (см3) .

D2 = 4(z0 – h – dн)3 + 4(H – z1)3 + 4li[z03 – (z0 – dн)3] ,

z0 = [dв2 + 2dв(dн + h) + lidн2]/[2(dв + lidн)] .

z0 = [0,152 + 2·0,15(0,12 + 2,8) + 0,122]/[2(0,15 + 0,12] = 1,2461 .

D2  = 4(1,246 – 2,8 – 0,12)3 + 4(2,27 – 1,246)3 + 4·1(1,2463 – (1,246 – 1,123) = = 3,6515 ,

с1 = 0,005103/3,6515 = 0,0013975 .

 = 6,627·10-4 .

Gзап = 67,8 кг/см2 .

а = 5·6,627·10-4·6,8·105/67,8 = 33,22.

Заполнитель маложесткий:

Gзап <<5g·Eпр .

67,8 << 5·6,627·10-4·6,8·105 ,

67,8 << 2233,18

lga = lg33,22 = 1,52

по графику при l1 = 0,0013975 определяем a = 0,027.

Ркр = кг/см2 .

h = 0,864/0,645 – 1 » 0,34

Усилия действующие во внутренних и внешних слоях:

Еz = 6000 кг/см2 ,

0,005358 ,

20,5 (кг/см),

Sв = 0,645·69,25/1,805358 = 24,741 (кг/см).

sн = 20,5/0,12 = 170,8 (кг/см2),

Избыток прочности:

h = 2750/170,8 - 1 = 15,1 .

sв = 24,74/0,15 = 165 (кг/см2) .

Избыток прочности:

h = 2750/165 - 1 = 15,7 .

Давление передаваемое на заполнитель:

Рзап = Р/(1 + d + x) = 0,357 (кг/см2).

Проверяем систему ячейки заполнителя на усточивость. Схема нагружения приведена на рис. 27.

Схема нагружения грани ячейки заполнителя и ее параметры

                      

Рис. 27

Р = 0,357 кг/см.

а/b = 20/10 = 2,0 , K = 3,6/

 = 34,56 кг/см2 ,

f = 0,866·1 = 0,866 см2.

sсм = (0,357·0,866)/(1·0,04) = 8,12 (кг/см2),

h = 34,56/8,11 – 1 = 3,26

Проверяем стенку ячейки на устойчивость от номинального давления в канале при М = 0,52 (Н = 0, DpD = 1,009 кг/см2).

Давление передаваемое на заполнитель:

Рзап = Р/(1 + d + x) = 1,009/1,80536 = 0,559 (кг/см2).

sсм = (0,559·0,866)/(1·0,04) = 12,1 (кг/см2),

h = 34,56/12,1 – 1 = 1,856.

Определяем допустимый диаметр пятна непроклея по наружной обшивке.

Рассмотрим работу квадратной пластинки на устойчивость (кромки оперты).

a/b = 1, K = 3,6.

= 14,366 см.

Fнепр = 162,1 см2.

Принимаем коэффициент запаса по радиусу f = 2,5, тогда
aнепр = 5,746 см.

Fнепр = 25,93 см2 .


2.8. Автоматизация расчета аэродинамических нагрузок

      воздухозаборника

Для автоматизации трудоемкого расчета нагрузок воздухозаборника разработан алгоритм и программа их расчета реализованная на ПЭВМ IBM-PC/АТ. Программа позволяет производить расчет давлений по длине и сечениям воздухозаборника для расчетных случаев А' и Д'.

Программа написана на языке ФОРТРАН. Исходными данными при вводе являются:

– начальное значение угла j1;

– конечное значение угла j1;

– начальные значения координаты хнач (координаты точек по длине гондолы);

– конечное значение координаты хкон (координаты точек по длине гондолы);

– значение угла b;

– значение угла a;

– значение скоростного напора – q;

– величины составляющих аэродинамических сил по осям координат в центре давления.

В Приложении приведен листинг программы и результаты расчета нагрузок в случаях А' и Д' на мотоустановку Д-436Т.


3. ТЕХНОЛОГИЧЕСКИЙ ПРОЦЕСС СБОРКИ ВОЗДУХОЗАБОРНОГО КАНАЛА СОТОВОЙ ЗВУКОПОГЛОЩАЮЩЕЙ КОНСТРУКЦИИ

3.1. Технологичность конструкции воздухозаборника

Воздухозаборный канал имеет сложную форму оболочки двойной кривизны и представляет собой трехслойную конструкцию, состоящую из металлических обшивок и стеклотканного сотового заполнителя.

Внутренняя перфорированная обшивка состоит из трех частей и соединяется встык через накладки, наружная обшивка – разрезная, соединяется внахлест. Воздухозаборный канал является особо ответственной частью изделия.

3.2. Применяемые материалы и оборудование

Номенклатура основных и вспомогательных материалов, оборудование, оснастка и инструмент приведены в табл. 16–18

Таблица 16

Основные материалы, применяемые при изготовлении конструкции воздухозаборника

Основные материалы Оборудование Инструмент Артикул
1. Стеклопласт ТССП-Ф-10П ТУ1-596-259-87
2. Лист из сплава Д19чАМВ-1,8 ОСТI 90070-72
3. Лист из сплава Д19чАМ-1,2 ОСТI 90246-77

4. I-й шпанг. - профиль Д16чТ

II шпанг. - Д19чАМ-1,5

Д19чАМ-1,2

ОСТI 90113-86

ОСТI 90246-77

5. Грунтовка ЭП-0234 ПИ1.2.265-88
6. Пленка клеевая ВКВ-3

ПИ1.2.264-84

ТУ 596-64-86

7. Пленка клеевая ВК-31 ТУ6-17-1179-82

Таблица 17

Вспомогательные материалы, применяемые при изготовлении конструкции воздухозаборника

Вспомогательные материалы Оборудование Инструмент Артикул

1. Обезжиривающий состав:

– нефрас;

– антистатическая присадка "Селбол"

ГОСТ 443-76

ТУ38-105462-72

2. Ацетон ГОСТ-2603-71
3. Пленка полиамидная высшей категории качест-ва ППН-Т и уплотни-тельный жгут 51Г-27

ТУ6-19-255-84

ТУ400-1-411-90-84

4. Стеклоткань Т-13 ГОСТ 19170-73
5. Мешковина арт. 352
6. Пленка фторопластовая ТУП-223-69
7. Марля ГОСТ 9412-77
8. Технические салфетки ГОСТ 124-010-75
9. Лента лавсановая ЛЛТ-25-100 ТУ17-РСФСР-44-8401-76

Таблица 18

Оборудование, оснастка, инструмент применяемые при изготовлении конструкции воздухозаборника

Вспомогательные материалы Оборудование Инструмент Артикул
1 2 3 4
1. Автоклав типа "Шольц"
2. Термопечь типа ПАП
3. Станок электро-эрозионной прошивки типа СЭП-200
4. Пресс типа КПК-406
5. Пресс FEKD-550/1100-45000 или FEKD0550/1100-6500
6. Ножницы роликовые или вибрационные
7. Гибочный пресс
8. Профилегибочный станок типа "Пельс", "Цинцинатти"
9. Печь ПГ-4
10. Ванна для обезжиривания типа ЭТА (ЭТА-6)
Продолжение табл. 18
1 2 3 4
11. Лампы инфракрасные
12. Станок типа 4К3-220-550
13. Приспособление для формообразования и скле-ивания сотового запол-нителя между собой
14. Приспособление для перфорации клеевой пленки
15. Приспособление для сборки внутренней обшивки
16. Приспособление для сборки наружной обшив-ки
17. Приспособление для сборки и склеивания воздухозаборного канала
18. Установка для прорез-ки дренажных пазов в сотовом заполнителе
19. Приборы для контроля перфоклеев дефектоскоп 4АД-3
20. Промышленный холодильник типа ВС-045-3

3.3. Технологический процесс сборки обшивок и элементов каркаса

В описание технологического процесса не помещаем формообразование

наружной и перфорированной обшивок, формообразование профилей.

Считаем их готовыми изделиями для дальнейшего техпроцесса изготовления

канала воздухозаборника.

Процесс предварительной сборки обшивок и элементов каркаса показан в табл. 19

Таблица 19

Предварительная сборка обшивок и элементов каркаса

Наименование и эскиз операции Оборудо-вание Инстру-мент Оснастка
1 2 3 4
1. Подогнать и провести окончательную обрезку перфорированных обшивок.

Приспо-собление для сбор-ки пер-

фориро-ванной обшивки

ручные ножни-цы, резной валик
2. Собрать на контрольных балках 3 секции перфориров. Обшивок. Допуск неприле-гания перфориров. Обшивок – по приспо-соблению после затяжки контрольных бол-тов ±0,1 мм. щуп
3. Засверлить отверстия под заклепки в перфорированной обшивке по направляю-щим отверстиям накладок.
4. Зенковать отверстия со стороны перфо-рированных обшивок под потайные головки заклепок.
5. Подогнать и провести обрезку перфори-рованной обшивки под потайные головки заклепок. Наружный контур приспособ-ления для сборки неперфорированных обшивок должен соответствовать наружному контуру воздухозаборника с учетом толщины неперфорированной обшивки. Приспо-собление для сбор-ки непер-фориро-ванных обшивок ручные ножни-цы, резино-вый валик
6. Собрать на контрольных болтах неперфорированную обшивку

7. Провести примерку и присверливание сборки по следующим технологиям:

а) зафиксировать на приспособлении для сборки воздухозаборника – клепать через тех. профиль (I) перфориров. обшивку (рис. 28)

Приспо-собл. для сборки и склеива-ния воз-духоза-борн. канала – плита

1 – технологический профиль; 2 – приспособление для сборки и склеивания воздухозаборника – плита; 3 – перфорированная обшивка;
4 – неперфорированная обшивка; 5 – упор; 6 – сотовый заполнитель

Рис. 28

Продолжение табл. 19

1 2 3 4

б) установить упор (5) для фиксации сото-вого заполнителя и неперфорированной обшивки;

в) выставить сотовый заполнитель и секции неперфорированной обшивки;

г) стянуть сборку резиновым жгутом и демонтировать упор;

д) установить и зафиксировать на контроль-ных болтах профиль (дет. 015, 027, 0101, 029) и технический профиль (17), обеспе-чивающий сохранность геометрических размеров при склеивании (рис. 29). Допуска неприлегания профиля к обшивке после затяжки контрольными болтами ±0,1 мм;

е) провести проверку качества подгонки обшивок до их анодирования к сотовому заполнителю по отпечаткам сот на полиэ-тиленовой пленке, полученным путем зап-рессовки изделия в автоклаве с избыточным давлением 0,6¸0,7 атм. при t=165±5 °С в течение 15¸20 мин. Порядок сборки должен соответствовать порядку сборки изделия, указанному в настоящем ДТП;

ж) демонтировать сборку

1 – технологический профиль; 2 – приспособление для сборки и склеивания воздухозаборника – плита; 3 – перфорированная обшивка;
4 – неперфорированная обшивка; 5 – профиль (дет. 015, 027, 017, 028);
6 – сотовый заполнитель; 7 – технологический профиль

Рис. 29

Продолжение табл. 19

1 2 3 4
8. Провести хромово-кислотное анодиро-вание обшивок профиля (дет. 015, 027, 017, 029, 023, 025). ванна хромово-кислот-ного анодир-ования
9. Нанести грунтовку ЭП-0234 на поверх-ность свежеанодированных сухих деталей. Допускается разрыв между операциями анодирования и нанесения грунта не более двух часов. Пропустить грунт при t=125_ °C в течение 1 часа. марка материа-ла: грун-товка ЭП-0234; термо-печь пульве-ризатор НРУ ложемен-ты
10. Собрать 3 секции перфорированных обшивок через накладки на контрольных болтах приспособление для сбор-ки пер-фориров. обшивок
11. Провести клепку продольных швов перфорированной обшивки пресс типа КПК-406

Таблица 20

Подготовка сотового заполнителя к склеиванию

Наименование и эскиз операции Оборудо-вание Инстру-мент Оснастка
1 2 3 4
1. Разрезать (при необходимости) блоки сотового заполнителя по высоте в размер чертежа с допуском ±0,1 мм Марка материа-ла: сото-вый за-полни-тель ТССП-Ф-10П; пила мелко-зубая ленточ-ная Пила мелко-зубая
2. Провести стыковку панелей сотового заполнителя по продольным и поперечным стыкам согласно рис. 27 и их формо-образование по следующим технологиям

Схема стыковки панелей сотового заполнителя

поперечный стык, ВК-31

продольный стык

Рис.30

Продолжение табл.. 20

а) нанести клеевую пленку ВК-31 на одну из склеиваемых граней сотового заполни-теля; марка: клеевая пленка ВК-31 фторопластовый зажим

                                                                               Продолжение табл.. 20

б) уложить панели сотового заполнителя на

оправку через фторопластовую пленку и отвиклевать стеклолентой;

оправка для формо-образу-ющих сот
в) установить две термопары на сотовый заполнитель вблизи клеевого шва;
г) выложить дренажные слои 2–3 слоя мешковины и стеклоткани через фторо-пластовую пленку;

мешко-вина, стекло-ткань

Т-13

д) установить штуцеры на вакуумные ме-шок: один – для создания вакуума из расчета – 1 штуцер на 1 мм2;

один – в центре для контроля давления под мешком;

е) обклеить сборку вакуумным мешком; марка: пленка ППИ-Т уплотни-тельный жгут 51Г-27

ж) подключить вакуумную линию и создать разрежение 0,1 кгс/см2. Перекрыть вакуум-ную линию и провести контроль геометрич-ности вакуумного мешка. Допускается спад давления под мешком до 0 не менее, чем через 10 мин. Обнаруженные течи устранить.

Вакуумные насос

з) загрузить оснастку со сборкой в автоклав. Соединить вакуумный мешок с вакуумной системой контроля давления. Соединить ШР термопар;

Создать разрежение под мешком 0,1 кгс/см2. Перекрыть вакуумную линию автоклава и провести контроль геометрич-ности мешка. Допускается спад давления под мешком до 0 не менее, чем через 10 мин;

автоклав типа "Шольц"

и) поддерживая разрежение под мешком 0,1 кгс/см2 создать давление 0,8 кгс/см2, после чего отключить вакуумный насос и плавно соединить мешок с атмосферой;

к) включить нагрев и довести давление в автоклаве до 1,3–1,5 кгс/см2. Скорость наг-рева клеевого соединения не должна пре-вышать 1 °С/мин

                                                                                                          Продолжение табл.. 20              

л) при достижении температуры в клеевом соединении 175±5 °С выдержать сборку при давлении 1,3–1,5 кгс/см2 в течение 1,5 часа;

м) охладить сборку под давлением 1,3–1,5 кгс/см2 до температуры 40 °С;

н) снять давление в автоклаве и выгрузить сборку. Зачистить сотовый заполнитель от затеков клея;
3. Прорезать дренажные пазы в сотовом заполнителе согласно чертежу. Установка для прорезки дренаж-ных пазов алмазный или вул-канито-вый круг
4. Провести раскрой клеевой пленки ВК-31 не снимая защитных слоев. Клеевая пленка ВК-31 шаблон
5. Снять защитный бумажный слой и при-катать клеевую пленку ВК-31 незащищен-ной стороной на торцы сотового запол-нителя. Мягкие ложемен-ты, ролик
6. Отперфорировать клеевую пленку ВК-31, не снимая полиэтиленовую пленку, из рас-чета: одно отверстие в центре каждой ячей-ки с отклонением ±1–2 мм.
7. Снять второй защитный слой (полиэти-леновую пленку) с клеевой пленки ВК-31.

8. Провести термоусадку клеевой пленки ВК-31 с применением инфракрасного нагрева по режиму:

– температура 75±5 °С;

– выдержать 40–50 сек.

Лампы инфра-красного нагрева
9. Защитить полиэтиленовой пленкой тор-цы сотового заполнителя с термоусаженной клеевой пленкой.
10. Провести выкладку клеевой пленки ВК-31, ее перфорацию и термоусадку со второй стороны сотового заполнителя, повторив операции п.п. 5–10 настоящего ДТП.

Таблица 21

Окончательная сборка и склеивание воздухозаборного канала

Наименование и эскиз операции Оборудо-вание Инстру-мент Оснастка
1 2 3 4

                                                                                                                                Продолжение табл.. 21

1. Провести сборку на контрольных болтах склепанной перфорированной обшивки с технологическим профилем (1) и упорам (5) согласно рис. 25.

Приспособление для сбор-ки и

склеива-ния воз-духозаборного ка-нала – плита

2. Уложить секции подготавливаемого сото-вого заполнителя (с клеем ВК-31) на торцах сотового заполнителя) на перфорированную обшивку.
3. Состыковать секции сотового запол-нителя между собой на клеевой пленке ВКВ-3, категорически запрещается производить прирезку сот по обшивке. Клеевая пленка ВКВ-3
4. Нанести клеевую пленку ВК-31 на перфорированную обшивку по зоне стыка.
5. Установить на сотовый заполнитель неперфорированную обшивку и стянуть сборку резиновым жгутом.
6. Демонтировать упор и установить про-филь (п. II табл.19) на клеях ВК-31А (под обшивку) и ВКВ-3 (под сотовый заполни-тель). Клеевые пленки ВК-31А, ВКВ-3
7. Установить две термопары по одной на перфорированную и неперфорированную обшивки вблизи клеевого соединения.
8. Подготовить сборку к автоклавному склеиванию и провести склеивание в соответствии с п.п. 2–4 настоящего ДТП. Автоклав типа "Шольц"
9. Провести контроль качества склеивания воздухозаборного канала Дефектоскоп АД-40И, АД-42И, ИАД-3, контрольный образец
10. Демонтировать технологические профи-ли и установить профили (п. II табл. 19).
11. Провести клепку канала согласно чертежа.
12. Провести клепку продольных стыков неперфорированной обшивки.

Таблица 22

Контроль

Наименование и эскиз операции Оборудо-вание Инстру-мент Оснастка
1 2 3 4
1. Провести приемку воздухозаборного ка-нала в соответствии с чертежами и ТУ на агрегатах.
2. Провести неразрушающий контроль в соответствии с п. 9 табл. 20 настоящего директивного технологического процесса.

3.4. Использование в конструкции воздухозаборника композиционных

      материалов

   Большие    возможности   для    создания    эффективных  конструкций мотоустановки   предоставляют  композиционные    материалы,   обладающие многообразием и уникальностью свойств.

   КМ – это искусственно  созданный  материал, состоящий  из  двух или более разнородных и  нерастворимых  друг  в друге компонентов (фаз),  со­единенных между собой физико-химическими связями, и обладающий харак­теристиками, превосходящими средние показатели составляющих его компо­нентов.

  Принципиальное значение замены металлов как традиционных конструкционных материалов на КМ состоит в том, что вместо ограниченного числа материалов с постоянными и практически равными во всех направлениях свойствами появляется возможность применять большое число новых мате­риалов со свойствами, различающимися в различных направлениях в зави­симости от направления ориентации наполнителя в материале (анизотропия свойств КМ). Более того, это различие свойств КМ является регулируемым и у конструктора появляется возможность на­правленно создавать КМ под конкретную конструкцию в соответствии с действующими нагрузками и особенностями ее эксплуатации. Поэтому пра­вильно спроектированная и хорошо изготовленная конструкция из КМ мо­жет быть более совершенной, чем выполненная из металлов. Само создание изделий из КМ является примером единства конструкции и технологии, по­скольку материал ,спроектированный конструктором, образуется одновре­менно с изделием при его изготовлении и свойства КМ в значительной сте­пени зависят от параметров технологического процесса.

    Вместе с тем специфика КМ, в частности их низкая прочность и жесткость при сдвиге, требует внимательного отношения к конструктивно-технологиче­ской обработке конструкции: расчету сложных многослойных систем, сохра­нению в изделии высоких прочностных свойств армирующих волокон, получе­нию стабильных характеристик КМ.

3.4.1. Методы получения ПКМ

Отличительная особенность изготовления деталей из ПКМ состоит в том, что материал и изделие в большинстве случаев создаются одновременно. При этом изделию сразу придаются заданные геометрические размеры и форма, что позволяет существенно снизить его стоимость и сделать конкурен-тоспособным с изделиями из традиционных материалов, несмотря на сравнительно высокую стоимость полимерных связующих и волокнистых наполнителей.

Технология изготовления деталей из ПКМ включает следующие основные операции. 1 – подготовка армирующего наполнителя и приготовление связующего, 2 – совмещение арматуры и матрицы, 3 – формообразование детали, 4 – отверждение связующего в КМ, 5 – механическая доработка детали, 6 – контроль качества детали. Подготовка исходных компонентов заключается в проверке их свойств на соответствие техническим условиям, а также в обработке поверхности волокон для улучшения их смачиваемости  увеличения прочности сцепления между наполнителем и матрицей в готовом ПКМ (удаление замасливателя, аппретирование, активирование поверхности, химическая очистка поверхности, удаление влаги и т. п.).

Совмещение армирующих волокон и связующего может осуществляться прямыми или непрямыми способами.

К прямым способам относятся такие, при которых изделие формуется непосредственно из исходных компонентов КМ, минуя операцию изготовления из них полуфабрикатов.

Непрямыми способами изготовления называются такие, в которых элементы конструкции образуются из полуфабрикатов. В этом случае пропитка армирующих волокон связующим представляет самостоятельную операцию, в результате которой получают предварительно пропитанные материалы (препреги) – нити, жгуты, ленты и ткани, которые затем подсушиваются и частично отверждаются.

Препреги приготовляют в специальных установках вертикального   или горизонтального типа, одна из которых представлена на рис. 31

Формообразование деталей современной техники из ПКМ осуществляется многими технологическими методами, из которых наиболее широкое применение находят методы намотки, прессования, вакуумное и автоклавное формование, пултрузия.

  

           

         Рис. 31

1 – стеклонити с бобин, установленных  в шпулярнике. 2 – пропиточная ванна с отжимными валиками, 3 - раскадчик нитей, формирующий из них ленту, 4 – подающий валик,5 - цилиндрическая  камера  сушки ленты с барабаном. между двумя боковыми дисками  которого расположены шесть транспортеров подачи ленты, 6 - катушка  с лентой препрега и намоточном устройстве, 7-калорифер,8 - нагнетающий вентилятор, 9 - отсасывающий вентилятор

Метод намотки. Намоткой называют процесс формообразования конструкций из КМ, при котором заготовки получают автоматизированной укладкой по заданным траекториям армирующего наполнителя (нитей, лент, тканей), обычно пропитанного полимерным связующим,  на вращающиеся конструктивные формы или технологические оправки.

Оправки или формы имеют конфигурацию и размеры , соответствующие внутренним размерам изготавливаемой детали. Формование детали намоткой завершается отверждением намотанной заготовки .

В настоящее время намотка осуществляется на автоматизированных намоточных станках с программным управлением, позволяющих получить изделия различных форм и размеров. Наиболее широко метод намотки применяется для изготовления конструкций, имеющих форму тел вращения или близкую к ней. Намоткой  изготавливаются трубы, баки, емкости давления различной формы, конические оболочки, стержни, короба и т. п.

На рис. 32 представлена схема станка для спиральной намотки труб и емкостей сложной формы. При этом армирующий материал укладывается на поверхность оправки под некоторыми расчетными   углами, которые выбираются в зависимости от схемы нагружения конструкции и в конечном счете определяют механические характеристики ПКМ. Требуемый угол укладки достигается в результате подбора скоростей вращения оправки и перемещения раскладчика. Материал при намотке укладывается с некоторым натяжением, которое способствует увеличению давления формования и получению монолитной структуры ПКМ.

Рис. 32

1 – технологическая оправка, 2-нитераскладчик, 3 – устройство пропиточно-натяжное, 4 - шпулярник, 5 – блок программного управления

     4. Общий анализ  технологического  процесса  при  работе  на   прессе.

Таблица 23

Наименование операции Материалы Оборудование Готовое  изделие Произв.                   cреда Окруж. среда
Формообразо-¦вание Лист. загот. Пресс Профиля Обшивки Воздух Воздух

  Количественные показатели пожаро и взрывоопасных веществ и материалов

    

 Таблица 24

Наименование операции

Наименование

    вещества 

Показатели пожароопас. Кол. раб. Критическ. возн. пож

Формообразо-

      вание

Несгораемые -/- 1-2 -/-

  Микроклимат

Таблица 25

Наименование

    операции

Хар. помещ. по

избытку тепла

Категория

  тяжести

Парам.микроклимата
Темпер. Âëàæí.

Скор.

движ.    Возд.

 

Формообразо-

      вание

без изб. тепла средняя 919-25 440-60 00,2-0,6

Освещенность 

                                                                                             Таблица 26

Наименование

    операции

   Мин.

 размер

объекта

Фон

Конт-

раст

Разряд Освещенность

Об-щее

 лк

Мест

ное

Есте-

ств.

Совм

ещен

Формообразо-

      вание

0,3-0,5

   ср.

 темн.

 Мал.

  Ср.

IIIб. 300 500 4 24

   Производственный шум, производственные вибрации

   

                                                                                               Таблица 27

Наименование

    операции

Характ.

фактора

Действующее /предельно-допустимое/¦
63 125 250 500 1000 2000 4000 8000

 

Формообразование -/-

  99

   

 

  92

  

 86

83

 

 80

78 76 74

  Электромагнитные поля

                                                                                                                                                                                                                                                                     

                                                                                               Таблица 28

Наименование

    операции

Характеристика Фактические            значения Предельно доп. уровень
поля источник
Формообразование -/- -/- -/-

   Воздух рабочей зоны

                                                                                               Таблица 29

Наименование

    операции

Выделяемые

вещества

Класс Фактические                   значения ПДК
Формообразование -/- -/- -/- -/-

4. 1. Инженерные мероприятия по обеспечению безопасности при

       работе с прессом.

Конструкция и  расположение  механизмов и узлов пресса  должны обеспечивать удобства  их  обслуживания,  а  также     свободный и удобный доступ к штампам, предохранительным и  регулируемым устройствам. На прессе должны быть:  таблички с краткой технической характеристикой и с указанием периодичности и мест  смазки;  указатели  предела  регулировки шатуна,  направления вращения маховика или фрикционных дисков,  положений кривошипного вала (а для фрикционного пресса предельного по-    ложения ползуна); световые сигналы, показывающие, на какой из режимов работы пресса переключена схема управления,  и что "цепь управления под напряжением" и  "главный  двигатель работает". Толкатели кнопок управления в зависимости от  функционального назначения должны иметь цвета, указанные в табл. 30

             

                                                                                     Таблица 30

Цвет Назначение Пример применения

Красный

Красный

Желтый

Зеленый

Черный

Белый или

голубой

Стоп

Стоп общий

(аварийный)

Пуск (налад. опер.)

Пуск (подготов-ые

операции)

Пуск (оперативное

управление)

Любые  операции ,для

которых выше пер. цв.

не предназначены

Отключение отдельных 

механизмов

Отключение всех

механизмов

Пуск ПО в наладоч. режиме

Подача напряж. в цепи

управления.

Только для пуска (на ход ПО)

Пров. исправ. сигн. ламп на пульте упр., восстан блокировок

  Конструктивное исполнение  включающей и тормозной сиcтем должно обеспечивать надежность  их  действия ,удобство  регулировки и замены  изношенных деталей. Приборы управления, муфта включения и тормоз не должны допускать случайного или самопроизвольного включения пресса.

 На прессах усилием свыше 16 т  должны  устанавливаться муфты включения фрикционного типа.

 Для автоматического отключения пресса при падении давления воздуха в воздуховоде пресса должно устанавливаться соответствующее реле давления. Узлы включения и тормозные устройства  при  работе  пресса на режиме <одиночный ход> должны обеспечивать  автоматическое  отключение  муфты  и включение  тормоза после каждого хода с остановом ползуна в исходном  крайнем положении. Рекомендуется  применять сдвоенные  воздухораспределители и другие средства,  предотвращающие сдвоенные ходы ползуна.

Тормозная система должна осуществлять торможение мeханически независимо от энергоносителя;  растормаживание  - механически  или  с  помощью энергоносителя (электротока, воздуха и т.  п.).  Угол торможения должен быть не  более 15'  угла  поворота  кривошипного вала.  При расположении муфты включения и тормоза на разных концах вала между ними  должна быть предусмотрена блокировка,  обеспечивающая    включение тормоза сразу же после выключения  муфты  и  не допускающая  включение тормоза до полного выключения муфты.

 Механические прессы  усилием свыше 16 т,  кромкогибочные.  (листогибочные) кривошипные прессы должны быть оборудованы приспособлениями (уравновешивателями) ,предотвращающими опускание ползуна под действием собственного веса  и  веса  прикрепленного  к  нему инструмента при разладке  тормоза или при поломке шатуна.

          Прессы однокривошипные  усилием более 100 т и двухкри-    вошипные c усилием свыше 63 т для регулировки  межштампового пространства должны иметь индивидуальные электродвигатели. Пуск электродвигателя межштампового пространства  должен быть сблокирован с пуском пресса так,  чтобы в течение периода регулировки включение пресса было бы невозможно. Усилие на рукоятку приспособления для ручной регу-    лировки межштампового пространства не должно превышать 10 кг.  Верхний  и  нижний пределы регулировки межштампового пространства должны ограничиваться конечными выключателями при регулировке с помощью электродвигателя и соответствующими указателями при ручной регулировке.

Прессы, на   которых  производится  групповая  работа, должны оборудоваться II групповым  управлением-  двуруким для каждого штамповщика,  допускающим возможность включения пресса на рабочий ход только при одновременном  включении всех пусковых приборов.

          На двух и четырехкривошипных прессах следует  устанавливать  не  менее  двух пультов управления - с фронта и с  задней стороны пресса.  Каждый пресс,  устанавливаемый  в автоматических линиях, кроме центрального пульта управления, должен иметь индивидуальный пульт управления.

           Кнопки (рукоятки)  управления  прессом (ходом ползуна)  должны быть расположены на высоте 700 - 1200 мм от уровня пола. Кнопки "Пуск" двурукого включения должны находиться  друг от друга на расст. не менее 300 мм и не более 600 мм.

          Опорная поверхность педали пресса должна быть  прямой,     нескользкой, иметь закругление торца и на расстоянии 110-130 мм от него упор для носка обуви.  Педаль должна  быть защищена прочным кожухом, открытым только с фронта обслуживания и исключающим возможность случайного  воздействия на нее. Верхний край кожуха должен быть закруглен с целью  устранения возможности ранения ноги при  введении  ее  на  педаль, Усилие на педаль для включения пресса должно быть  в пределах 2,5- 3,5 кг.  Опорная поверхность пусковой педали  должна  быть  установлена  на высоте 80 - 100 мм от уровня пола;  включение пресса на рабочий ход должно происходить  после прожатия педали соответственно на 45 - 70  мм.

   Прессы должны снабжаться предохранителями ,предотвращающими поломку пресса при перегрузке. Прессы с механизмами   для  наклона  станины,  подъема  и  поворота стола должны иметь стопорные устройства, надежно фиксирующие станину и  стол  в  нужном  положении.  Открытые одностоечные прессы  должны быть оборудованы прочными  ограждениями  кривошипно-шатунного механизма и кривошипного вала,  не допускающими падения их частей при случайных поломках.

            Механизмы автоматических подач и другие средства механизации на прессах,  если их действие может  представлять опасность для работающих, должны быть укрыты соответствующими ограждениями.  Каждый пресс при работе на режиме  с одиночными  ходами,  должен быть оборудован защитным устройством,  исключающим травмирование рук в  опасной  зоне  (двурукое включение, фотоэлементная защита, подвижное ограждение и др.).  Защитные устройства должны удовлетворять следующим основным  требованиям:  исключать возможность попадания  рук   под  опускающийся  ползун (штамп) или удалять pуки из-под  опускающегося ползуна  (штампа);  автоматически  фиксироваться  в защитном положении до момента достижения ползуном безопасного положения;  обеспечить защиту при  каждом опускании  ползуна,  для  чего защитное устройство должно быть сблокировано с механизмом включения муфты или связано  непосредственно  с ползуном;  допускать регулирование при изменении величины хода  ползуна  и  закрытой  высоты пресса; не мешать в работе и обозрению рабочего пространства при штамповке и не вызывать случаев травмирования при своем действии. В случае необходимости штамповки крупных заготовок, удерживаемых руками, должна быть предусмотрена возможность  переключения  или  отключения защитного устройства с фиксацией его в требуемом положении.

           Если ограждение  имеет  отверстия  или изготовленно из  сетки, то расстояние от движущихся деталей до поверхности ограждения должно соответствовать указанному в табл. 31

                              

                                                                                       Таблица 31

        Наибольший диаметр окруж.

      вписанной в отв. решетки

                   (сетки)

  Расстояние от движ. деталей

   до поверх.  ограждения,  не

              менее  (мм)

                 До 8 мм

                Св. 8 до 25

                >> 25 >> 40

                                 15

                    120

                    200

При конструировании  и изготовлении защитного устройства должны быть учтены особенности конкретного  пресса  и  условия работы на нем.

          Винтовой фрикционный пресс должен быть  оборудован:

        а) двуруким управлением. Рычаги (кнопки) двурукого управления должны быть сблокированы между собой так,  чтобы включение пресса могло происходить только при одновременном воздействии на оба рычага (кнопки) и  чтобы  исключалась возможность включения пресса при заклинивании одного  из них;

        б) тормозным   устройством,   обеспечивающим  надежное  удержание ползуна в верхнем нейтральном положении маховика;

        в) ограждением,  удерживающим  маховик  при  случайном  срыве его со шпинделя и оборвавшуюся фрикционную обкладку маховика в случае ее повреждения;

        г) амортизирующими упорами,  предотвращающими ход ползуна выше установленного предела и исключающими удар  маховика о горизонтальный вал;

        д) предохранительным устройством (фиксатором), обеспечивающим держание ползуна в верхнем положении;

        е) сервоприводом (гидравлическим  или  пневматическим) для  осуществления нажатия диска на маховик,  если усилие  пресса более 160 т.

        Винтовые прессы  с балансирами должны иметь ограждения пути, проходимого этими балансирами.

        Меры безопасности,    предусматриваемые   конструкцией  штампа (механизация и автоматизация  подачи  заготовок  и удаления отходов и деталей за пределы опасной зоны;  закрытые штампы;  огражденные штампы и др.),  должны определяться  в зависимости от условий и характера производства  (единичное,  мелкосерийное, серийное, массовое), габаритных  размеров  материала,  заготовок  и назначения самого штампа.  При наличии устройства для автоматической подачи заготовок  в штамп и удаления из штампа отходов и деталей рабочее пространство пресса необходимо  ограждать,  чтобы исключить доступ рук в опасную зону. Ограждение не должно  мешать наблюдению  за  процессом  штамповки.  В  условиях      крупносерийного и массового производства для подачи заготовок в штамп и удаления деталей  и  отходов  за  пределы опасной зоны следует применять средства механизации и автоматизации,  устанавливаемые на прессе или встроенные  в  штамп  (механические  руки,  автоматические сбрасыватели,      воздушная сдувка и др.).

         При штамповке мелких деталей небольшими партиями подачу заготовок в штамп следует осуществлять  с  применением средств  малой  механизации  (лотков,  шиберов или других  устройств с механической или ручной подачей).  Для удаления  деталей  и отходов из рабочей зоны штампа необходимо      предусматривать надежные средства,  обеспечивающие  безопасность. Допускается укладывание заготовок в рабочую зону штампа пинцетом,  но с обязательным применением защитного  устройства,  обеспечивающего безопасность (двурукое управление, фотоэлементная защита, ограждение опасной зоны пресса и др.).

         На плите штампа или на прикрепленной к штампу табличке  должны быть изложены четкие указания о том, с какими устройствами безопасности следует работать.  На плитах особо опасных  штампов по всей длине фронтальной их стороны на     носится полоса желтого цвета шириной 10 - 25 мм в зависимости от габаритных размеров плиты.

         Подача заготовок в штамп и удаление отштампованных деталей из штампа вручную допускается только при наличии на прессе эффективных защитных устройств  (двурукое  включение, фотоэлементная защита, ограждение опасной зоны пресса и др,),  исключающих травмирование  рабочих,  или  при применении штампов безопасной конструкции,  выдвижных или  откидных матриц, сблокированных с включением пресса.

         На небольших  штампах ,применяемых  на  прессах с малым  ходом ползуна для исключения  возможности травмирования пальцев, должны  предусматриваться  зазоры  безопасности между подвижными и неподвижными их частями ; не более 8 мм между верхним подвижным съемником и матрицей ,  между неподвижным нижним съемником и пуансоном при нахождении ползуна в верхнем положении; не менее 20 мм между нижним съемником или прижимом и пуансонодержателем,  между  втулками  (в штампах с направляющими колонками) и съемником при нахождении ползуна в нижнем положении. На прессах с большим ходом  ползуна  указанный  зазор безопасности в штампе не  менее 20 мм должен быть увеличен с таким расчетом,  чтобы  кисть руки не могла быть зажата при нижнем положении ползуна. Если по условиям работы (установка штампа на прессе  с большим или нерегулируемым ходом ползуна) нельзя выдержать зазоры (расстояния) безопасности между подвижными  и неподвижными частями,  то опасные зоны должны быть ограждены.

         Штампы, при работе с которыми имеется повышенная опасность  травмирования, вследствие поломки их отдельных частей (чеканочные штампы ,  штампы для выдавливания, штампы с рабочими элементами из твердого сплава и т. п.), должны быть оборудованы предохранительными кожухами, исключающими возможность травмирования отлетающими осколками и подвижными частями.

          Для сборки штампов необходимо  предусмотреть  надежные   способы  крепления  всех  деталей.  Должна быть исключена возможность самоотвинчивания винтов и гаек,  крепящих выталкиватели,  съемники, выбрасыватели, а также вырывания  матриц и пуансонов из мест их крепления во  время  работы  штампа (пресса).

          Крепление штампов на прессах должно  быть  надежным и    обеспечивать  удобство  подачи заготовок и съема изделий. Применение всевозможных шайб и  случайных  подкладок  при креплении штампов запрещается.

          Лотки, применяемые для подачи заготовок в штамп, должны  иметь  направляющие  линейки с открытым пространством между ними,  позволяющими наблюдать и  при  необходимости    ориентировать положение перемещающихся заготовок.  Удаление застрявших в штампе деталей и отходов  должно   осуществляться  только с помощью соответствующего инструмента при выключенном прессе.

          Удаление отштампованных  деталей и отходов из межштампового пространства должно допускаться только при  нахождении ползуна в верхнем мертвом положении или при наличии на прессе защитного устройства.  Во избежание образования на  штампуемых деталях заусенцев,  вызывающих порезы рук, применение матриц и  пуансонов  с  затупленными режущими      кромками не допускается.

                                                                                                                                                                                                

4.2. Обеспечение чистоты производственного процесса.

          Работа на прессе не сопровождается:

     а) загрязнением воздуха значительными вредными выделениями

        (ядовитыми газами ,парами);

     б) значительными вибрациями ;

     в) воздействием на рабочего электромагнитными полями;

Отходы, при работе на прессе, необходимо удалять за пределы цеха, а также в специальные помещения в зависимости от габаритов, веса, материала.

          В складских помещениях должны быть предусмотрены безопасные, хорошо освещенные проходы и проезды между стеллажами, входными и выходными проемами.

                   5. Расчет технико - экономической  эффективности  изготовления

                воздухозаборника из композиционных  материалов.

К новым  конструкционным материалам,  которые по прочности,   жесткости и другим физико-механическим свойствам  значительно      превосходят известные  конструкционные сплавы,  относятся так      называемые композиционные материалы (КМ),  или, иначе, композиты.

         В процессе эксплуатации конструкций из КМ были выявлены основные преимущества:

       - Малая масса по сравнению с традиционными типами подкрепленных пластин и оболочек.

       - Экономичность по сравнению с традиционными  конструкциями.

       - Хорошие теплоизолирующие свойства.

         В расчете экономической части определяем стоимость изготовления металлического  и  композитного канала воэдухозаборника  на двигателе самолета.

       Себестоимость канала воздухозаборника определяем по формуле :

                  С = М + ПФ + Зо + Зд + Зсс + НРу,            (1.10)

              где   М -стоимость материалов;

                   ПФ -стоимость полуфабрикат;

                    Зо  -зарплата основная;

                    Зд  -зарплата дополнительная;

                    Зсс-отчисление на соцстрахование;

                    НРу-накладн. цеховых расходов.

        Веса деталей канала воздухозаборника приведнны в табл. 32

  

 ЛИТЕРАТУРА

1.   C.М. Егер ‘Проектирование самолетов’ 1983г.

2.   A.Н.  Глаголев ‘Конструкция самолетов’ 1975г.

3.   C.И.  Зоншайн ‘Аэродинамика и конструкция летательных аппаратов’ 1966г.

4.   И.А.  Максимов, В.А. Секистов ‘Двигатели самолетов и вертолетов’  1977г.

5.   Сборник трудов ‘Теория и практика проектирования пассажирских самолетов‘ 1976г.  

6. В.Т. Лизин ,В.А. Пяткин  ‘Проектирование тонкостенных конструкций’.

     

Приложение

 

Листинг программы расчета аэродинамических нагрузок  на  мотогондолу

            real*8 fi,Po(14)/1.65,1.69,1.67,0.98,0.88,0.82,0.78,0.56,

     *    .35,.23,.17,.15,.14,.15/

          real*8 Py(14)/3.4,3.4,3.4,3.3,2.5,1.1,

     *    .7,.55,.55,.55,.56,.45,-2.,-1./,

     *    Pza(14)/.26,.26,.26,.26,.26,.26,.26,.27,.43,.67,

     *    .91,.9,.6,0./,

     *    Pzb(14)/3.95,3.95,3.9,3.75,2.7,1.6,1.2,.62,.4,.3,

     *    .2,.15,.12,0./,

     *    X(14)/0.,.0125,.025,.05,.1103,.15,.181,.3,.4304,

     *    .55,.65,.774,.9,1./

         real*8 gamm(14)/44.,24.,16.,7.,5.,2.,1.5,-2.,-8.,-10.,-11.,

     *    -12.,-12.,-12./

         real*8 R(14)/1.,1.06,1.11,1.145,1.2,1.21,1.225,1.24,1.16,

     *   1.15,1.07,.95,.815,.72/

          real*8 alf,bett,q,t,Ln,Lk,ref,fin,sh,dfi,r1ef,r2ef,fif,

     *   Myx(5),Mzx(5),L,Pyc(5),Pxc(5),Pzc(5),P(5),Xc(5),Xcc(5),xt,pi

          write(*,*) 'Введите  начальное значение угла Fi'

          read(6,*) fin

          write(*,*) 'Введите  конечное значение угла Fi'

          read(6,*) fi

          write(6,*) 'Введите начальную Xотн'

          read(6,*) Ln

          write(6,*) 'Введите конечную Xотн'

          read(6,*) Lk

              write(*,*) 'Введите значение угла BETTA'

              read(*,*) bett

              write(*,*) 'Введите значение угла ALFA'

              read(*,*) alf

              write(*,*) 'Введите значение q'

              read(*,*) q

          pi=4*datan(1)

          fi=fi*pi/180.

          fin=fin*pi/180.

          alf=alf*pi/180.

          bett=bett*pi/180.

          L=5.6

          sh=.003

          dfi=2.*pi/1257.

          xt=Ln

          do 4 i=1,13

          if(xt.lt.x(i)) goto 5

   4      continue

   5      i=i-1

          do 103 ik=1,5

          Pyc(ik)=0.

          Pzc(ik)=0.

          Pxc(ik)=0.

          Myx(ik)=0.

          Mzx(ik)=0.

          Xc(ik)=0.

  103     Xcc(ik)=0.

          write(*,*) 'Номер участка',i

          gamm(i)=gamm(i)*pi/180.

          do 1 t=Ln,Lk,sh

          if(xt.gt.x(i+1)) then

          i=i+1

          write(*,*) 'Номер участка',i

          gamm(i)=gamm(i)*pi/180.

                                     endif

          do 2 fif=fin,fi,dfi

c          write(*,*) fif*180./pi,xt,r(i)

c     Учет пилона ********************************** 

C         if((xt.gt.x(5).and.xt.lt.x(6)).and.

C     *   (fif.lt.1.449.or.fif.gt.1.693)) goto 6

C         if((xt.gt.x(6).and.xt.lt.x(7)).and.

C     *   (fif.lt.1.344.or.fif.gt.1.798)) goto 6

C         if(xt.gt.0.1103.and.(fif.gt.1.2915.and.fif.lt.1.85))

C     *   goto 3

  6      continue

         r1ef=dcos(fif+dfi/2.)

         r2ef=dcos(fif+dfi/2.)

             if(xt.gt.0.1103.and.(fif.gt.0..and.fif.le.pi/2.))then

             r1ef=1.

         r2ef=1.

c         write(*,*) '1 *********',fif

c         pause

                                        endif

         if(xt.gt.0.1103.and.(fif.gt.pi/2.and.fif.le.pi))then

             r1ef=-1.

         r2ef=-1.

c         write(*,*) '2 *********',fif

c         pause

                                endif

c          write(*,*) fif*180./pi,xt,r1ef,r2ef

c             PAUSE' '

         P(1)=(Po(i)+Py(i)*alf*dsin(fif+dfi/2.)+Pza(i)*alf*r1ef

     *   -Pzb(i)*bett*r2ef)*q*L*dfi*R(i)*sh

c         write(*,*) P/(sh*L*R(i)*dfi),xt,fif

c         pause

         P(2)=Po(i)*q*L*dfi*R(i)*sh

         P(3)=Py(i)*alf*dsin(fif+dfi/2.)*q*L*dfi*R(i)*sh

         P(4)=Pza(i)*alf*r1ef*q*L*dfi*R(i)*sh

         P(5)=-Pzb(i)*bett*r2ef*q*L*dfi*R(i)*sh

         do 1000 ik=1,5

         Pyc(ik)=Pyc(ik)+P(ik)*dsin(fif+dfi/2.)

         Pzc(ik)=Pzc(ik)+P(ik)*dcos(fif+dfi/2.)

         Myx(ik)=Myx(ik)+P(ik)*dsin(fif+dfi/2.)*xt

         Mzx(ik)=Mzx(ik)+P(ik)*dcos(fif+dfi/2.)*xt

         Pxc(ik)=Pxc(ik)+P(ik)*dtan(gamm(i))

 1000    continue

   3     continue

   2     continue

         xt=xt+sh

         R(i)=R(i)+sh*L*dtan(gamm(i))

   1     continue

         do 100 ik=1,5

         if(dabs(Pyc(ik)).gt.1.d-10) then

         Xc(ik)=Myx(ik)/Pyc(ik)

         else

         write(*,*)ik,'Myx=',Myx(ik)

         endif

         if(dabs(Pzc(ik)).gt.1.d-10) then

         Xcc(ik)=Mzx(ik)/Pzc(ik)

         else

         write(*,*)ik,'Mzx=',Mzx(ik)

         endif

             write(*,*) 'Значения аэр. сил в Ц.Д.'

 100     write(*,12) Pxc(ik),Pyc(ik),Pzc(ik),Xc(ik)*L,Xcc(ik)*L

  12     format(1x,'Pxc=',f10.2,/,1x,'Pyc=',f10.2/,1x,'Pzc=',f10.2/,

     *   1x,'Xyc=',f15.7,/,1x,'Xzc=',f15.7)

             open(1,file='aer.res')

          write(1,*) 'Начальное значение угла Fi'

          write(1,*) fin*180./pi

          write(1,*) 'Конечное значение угла Fi'

          write(1,*) fi*180./pi

          write(1,*) 'Начальная Xнач'

          write(1,*) Ln*5.6

          write(1,*) 'Конечная Xкон'

          write(1,*) Lk*5.6

              write(1,*) 'Значение угла BETTA'

              write(1,*) bett*180./pi

              write(1,*) 'Значение угла ALFA'

              write(1,*) alf*180./pi

              write(1,*) 'Значение q'

              write(1,*) q

             write(1,*) 'Значения аэр. сил в Ц.Д.'

         do 102 ik=1,5

  102    write(1,12) Pxc(ik),Pyc(ik),Pzc(ik),Xc(ik)*L,Xcc(ik)*L

             close(1)

         stop'  '

         end_


© 2012 Рефераты, курсовые и дипломные работы.