рефераты
Главная

Рефераты по рекламе

Рефераты по физике

Рефераты по философии

Рефераты по финансам

Рефераты по химии

Рефераты по хозяйственному праву

Рефераты по цифровым устройствам

Рефераты по экологическому праву

Рефераты по экономико-математическому моделированию

Рефераты по экономической географии

Рефераты по экономической теории

Рефераты по этике

Рефераты по юриспруденции

Рефераты по языковедению

Рефераты по юридическим наукам

Рефераты по истории

Рефераты по компьютерным наукам

Рефераты по медицинским наукам

Рефераты по финансовым наукам

Рефераты по управленческим наукам

Психология и педагогика

Промышленность производство

Биология и химия

Языкознание филология

Издательское дело и полиграфия

Рефераты по краеведению и этнографии

Рефераты по религии и мифологии

Рефераты по медицине

Рефераты по сексологии

Рефераты по информатике программированию

Краткое содержание произведений

Реферат: Расчет погрешности вольтметра

Реферат: Расчет погрешности вольтметра

  1. ЗАДАНИЕ


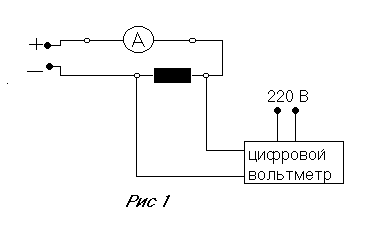
Выбрать цифровой вольтметр для измерения напряжения постоянного тока (рис. 1) с учётом Rнг и условий измерения.




    1. ИСХОДНЫЕ ДАННЫЕ


Вариант 87

Показания вольтметра 0,92 В

Вариация напряжения в сети питания +10%

Допускаемая погрешность измерения 2,5 %

Сила тока в цепи 2,87 мА

Температура окружающей среды +35 С.


  1. РАСЧЁТ РЕЗУЛЬТИРУЮЩЕЙ ПОГРЕШНОСТИ


Прежде всего определим Rнг


Rнг = Ux /I = 0,92/2,87 = 320,5 ОМ


Так как это значение на несколько порядков меньше входных сопротивлений цифровых вольтметров, то осуществляем предварительный выбор прибора по значению осн .


П
ри измерении 0,92 В на вольтметре В7-16, предел измерения устанавливается 1 В. Для времени преобразования 20 мс, предел допускаемой основной погрешности будет равен


А
для времени преобразования 2 мс получим, что


Эти значения гораздо меньше доп =  2,5 %, поэтому не будем затруднять себя рассчитывать остальные погрешности измерения для этого прибора.

Практически такое же несущественное число получится при анализе характеристик вольтметра Ф203.


осн = 0, 208 %


В случае использования прибора В7-22 предел измерений установим равным 2 В.


Вольтметр Щ4313. Установив диапазон измерений 0,5 - 5В, получим, что



Полученное значение основной погрешности очень близко к допустимому значению (2,5  2,72), но в результате дальнейшего расчёта не выполняется условие  (Р)  доп. Поэтому этот вольтметр тоже не подходит.

Тогда попробуем другой наиболее близкий вольтметр - В7-22.

Определим дополнительную погрешность прибора, вызванную вариацией напряжения питания. Анализируя технические характеристики прибора приходим к выводу, что заданная вариация напряжения питания +10В является допускаемым верхним пределом (+22В) нормального значения напряжения в сети питания вольтметра. Таким образом


пит = 0


Следующим шагом будет определение дополнительной погрешности прибора, вызванной повышенной (+35С) рабочей температурой. Обратившись к техническим характеристикам данного вольтметра узнаём, что дополнительная погрешность прибора, вызванная отклонением температуры от нормальной (20) до крайних значений рабочих температур (от -10 до +40С), не превышает половины предела допускаемой основной погрешности на каждые 10С изменения температуры.

Исходя из вышесказанного получим:


т = 0,5 осн + 0,25*осн = 0,75осн


т = 0, 435 %


Определим погрешность из-за несоответствия свойств обьекта и прибора по формуле




У
читывая, что при данном диапазоне входное сопротивление составляет 100 МОм получим, что


Поправка для этой ситематической погрешности


 = 0,0000029


Исправленное значение показаний вольтметра


Uv = 0,92 + 0,0000029 = 0,9200029


Приближённо погрешность определения поправки равна погрешности определения Rнг . Так как значения I, Rнг,  являются маленькими, то погрешность определения поправки является величиной второго порядка малости и ею можно пренебречь.

И
только теперь, выбрав доверительную вероятность Р = 0,95; к = 1,1 и учитывая


Получим, что




Условие (Р)   доп выполняется ( 0,79 < 2,5).

Абсолютная форма представления погрешности


(Р) =  0,79*0,9200029*10-2 = 0,0072 = 0, 007 В, Р = 0,95


Результат измерения напряжения с помощью выбранного вольтметра В7-22 может быть представлен так:


U = 0,92  0,007 В; Р = 0,95; ТРЕУГ.


Для рассматриваемого диапазона измерения (0-2 В) выбранного вольтметра на рис. 2.1 и рис. 2.2 представлены графики изменения пределов основной погрешности прибора и результирующей погрешности измерения (для заданных условий) соответственно при относительной (рис. 2.1) и абсолютной форме (рис. 2.2) представления погрешностей


Из анализа графиков следует, что измеряемое значение Ux попадает в первую половину диапазона с заниженной точностью. Поэтому данный случай использования вольтметра В7-22 следует отнести к нерекомендуемым.

Исходя из экономических соображений можно предположить использовать вольтметр более грубого класса точности, чем В7-22, но удовлетворяющий заданным условиям измерения за счёт благоприятного сочетания Ux и Uпр . В этом случае измерение 0,92 В должно осуществлятся в пределе от 0 до 1,5 В. При расчёте предела допускаемой основной погрешности этого прибора предполагаем для него такое же значение осн в рабочей точке диапазона, какое было получено у нас выше (0,58 %).

Э
то значение определяем по следующей формуле:


Д
ля верхнего предела диапазона предположим


Из совместного решения вышеприведенных выражений получим d = 0,1 и c = 0,4.


Значит, для предлагаемого вольтметра получим:




При использовании этого вольтметра для Ux = 0,92 В при Uпр = 1,5 В получим осн = 0,57, что практически не отличается от значения, рассчитанного нами выше. Следовательно, дальнейшие расчёты можно не проводить.

Проведенный расчет предела основной допускаемой погрешности предлагаемого вольтметра иллюстрируется графиками, представленными на рис. 2.3, где а – пределы осн для В7-22, а b – пределы осн для предлагаемого вольтметра.


В
соответствии с требованием стандартов формула основной погрешности, получившаяся выше, должна быть преобразована следующим образом:

В итоге для предполагаемого вольтметра получим класс точности

0,5/0,1.


Проведя аналогичные преобразования формулы осн вольтметра В7-22, для него получим класс точности 0,35/0,2. Исходя из экономической целесообразности (при прочих равных условиях) на производстве предпочтительнее использовать менее точный прибор класса 0,5/0,1.


Overview

Лист1
Лист2
Лист3
Лист2 (2)

Sheet 1: Лист1

sосн1 sосн1 окр sосн2 sосн2 окр S(P)1 S(P)1 окр S(P)2 S(P)2 окр нс Uv P1 P2 cосн 1 cосн2 sоснb1 sоснb1 окр sоснb2 sоснb2 окр
0 400.15 400.150 -400.15 -400.150 550.21 550.206 -550.21 -550.206 0.00000000497198 0 0.01 -0.01 0 0 500.1 500.100 -500.1 -500.100
0.1 4.15 4.150 -4.15 -4.150 5.71 5.706 -5.71 -5.706 0.00000049719753 0.1 0.01 -0.01 0 0 5.1 5.100 -5.1 -5.100
0.2 2.15 2.150 -2.15 -2.150 2.96 2.956 -2.96 -2.956 0.00000099439506 0.2 0.01 -0.01 0 0 2.6 2.600 -2.6 -2.600
0.3 1.48 1.483 -1.48 -1.483 2.04 2.039 -2.04 -2.039 0.00000149159258 0.3 0.01 -0.01 0 0 1.77 1.767 -1.77 -1.767
0.4 1.15 1.150 -1.15 -1.150 1.58 1.581 -1.58 -1.581 0.00000198879011 0.4 0.01 -0.01 0 0 1.35 1.350 -1.35 -1.350
0.5 0.95 0.950 -0.95 -0.950 1.31 1.306 -1.31 -1.306 0.00000248598764 0.5 0.01 -0.01 0 0 1.1 1.100 -1.1 -1.100
0.6 0.82 0.817 -0.82 -0.817 1.12 1.123 -1.12 -1.123 0.00000298318517 0.6 0.01 -0.01 0 0 0.93 0.933 -0.93 -0.933
0.7 0.72 0.721 -0.72 -0.721 0.99 0.991 -0.99 -0.991 0.00000348038270 0.7 0.01 -0.01 0.01 -0.01 0.81 0.814 -0.81 -0.814
0.8 0.65 0.650 -0.65 -0.650 0.89 0.894 -0.89 -0.894 0.00000397758022 0.8 0.01 -0.01 0.01 -0.01 0.73 0.725 -0.73 -0.725
0.9 0.59 0.594 -0.59 -0.594 0.82 0.817 -0.82 -0.817 0.00000447477775 0.9 0.01 -0.01 0.01 -0.01 0.66 0.656 -0.66 -0.656
1 0.55 0.550 -0.55 -0.550 0.76 0.756 -0.76 -0.756 0.00000497197528 1 0.01 -0.01 0.01 -0.01 0.6 0.600 -0.6 -0.600
1.1 0.51 0.514 -0.51 -0.514 0.71 0.707 -0.71 -0.707 0.00000546917281 1.1 0.01 -0.01 0.01 -0.01 0.55 0.555 -0.55 -0.555
1.2 0.48 0.483 -0.48 -0.483 0.66 0.664 -0.66 -0.664 0.00000596637034 1.2 0.01 -0.01 0.01 -0.01 0.52 0.517 -0.52 -0.517
1.3 0.46 0.458 -0.46 -0.458 0.63 0.630 -0.63 -0.630 0.00000646356786 1.3 0.01 -0.01 0.01 -0.01 0.48 0.485 -0.48 -0.485
1.4 0.44 0.436 -0.44 -0.436 0.6 0.600 -0.6 -0.600 0.00000696076539 1.4 0.01 -0.01 0.01 -0.01 0.46 0.457 -0.46 -0.457
1.5 0.42 0.417 -0.42 -0.417 0.57 0.573 -0.57 -0.573 0.00000745796292 1.5 0.01 -0.01 0.01 -0.01 0.43 0.433 -0.43 -0.433
1.6 0.4 0.400 -0.4 -0.400 0.55 0.550 -0.55 -0.550 0.00000795516045 1.6 0.01 -0.01 0.01 -0.01 0.41 0.413 -0.41 -0.413
1.7 0.39 0.385 -0.39 -0.385 0.53 0.529 -0.53 -0.529 0.00000845235797 1.7 0.01 -0.01 0.01 -0.01 0.39 0.394 -0.39 -0.394
1.8 0.37 0.372 -0.37 -0.372 0.51 0.512 -0.51 -0.512 0.00000894955550 1.8 0.01 -0.01 0.01 -0.01 0.38 0.378 -0.38 -0.378
1.9 0.36 0.361 -0.36 -0.361 0.5 0.496 -0.5 -0.496 0.00000944675303 1.9 0.01 -0.01 0.01 -0.01 0.36 0.363 -0.36 -0.363
2 0.35 0.350 -0.35 -0.350 0.48 0.481 -0.48 -0.481 0.00000994395056 2 0.01 -0.01 0.01 -0.01 0.35 0.350 -0.35 -0.350

Sheet 2: Лист2


Sheet 3: Лист3


Sheet 4: Лист2 (2)



МГАПИ

Расчетная работа

Группа ПР-7

Специальность 2008

Студент

.


Задание

Выбрать цифровой вольтметр для измерения напряжения постоянного тока (рис. 1) с учётом Rнг и условий измерения.




Вариант 74

Исходные данные

Показания вольтметра — 1,8 В

Вариация напряжения в сети питания — -5%

Допускаемая погрешность измерения — 2,0%

Сила тока в цепи — 3,62 мА=0,00362A

Температура окружающей среды — +10 С.

Расчет результирующей погрешности.

Прежде всего определим Rнг: Rнг = Ux / I = 1,8 / 0,00362 = 497,2 Ом

Так как это значение на несколько порядков меньше входных сопротивлений цифровых вольтметров, то осуществляем предварительный выбор прибора по значению осн.

При измерении 1,8 В на вольтметре В7-16, предел измерения устанавливается 10 В. Для времени преобразования 20 мс, предел допускаемой основной погрешности будет равен . А для времени преобразования 2 мс получим, что . Эти значения гораздо меньше доп=2,0%, поэтому не будем затруднять себя рассчитывать остальные погрешности измерения для этого прибора.

При анализе характеристик вольтметра Ф203 получится такое же несущественное число: .

В случае использования прибора В7-22 предел измерений установим равным 2 В. .

Вольтметр Щ4313. Установив диапазон измерений 0,5 — 5В, получим, что . Полученное значение основной погрешности очень близко к допустимому значению (2,02,778), но в результате дальнейшего расчёта не выполняется условие  (Р)доп. Поэтому этот вольтметр тоже не подходит.

Тогда попробуем другой наиболее близкий вольтметр — В7-22. . Определим дополнительную погрешность прибора, вызванную вариацией напряжения питания. Анализируя технические характеристики прибора приходим к выводу, что заданная вариация напряжения питания +10В является допускаемым верхним пределом (+22В) нормального значения напряжения в сети питания вольтметра. Таким образом: пит=0

Следующим шагом будет определение дополнительной погрешности прибора, вызванной повышенной (+35С) рабочей температурой. Обратившись к техническим характеристикам данного вольтметра узнаём, что дополнительная погрешность прибора, вызванная отклонением температуры от нормальной (202С) до крайних значений рабочих температур (от -10 до +40С), не превышает половины предела допускаемой основной погрешности на каждые 10С изменения температуры. Исходя из вышесказанного получим: т=0,5осн+0,25осн=0,75осн, т=0,279%.

Определим погрешность из-за несоответствия свойств объекта и прибора по формуле , учитывая, что при данном диапазоне входное сопротивление составляет 100 МОм получим, что В. Поправка для этой систематической погрешности =0,0000089.

Исправленное значение показаний вольтметра :Uv=1,8+0,0000088=1,8000088. Приближённо погрешность определения поправки равна погрешности определения Rнг. Так как значения I, Rнг,  являются маленькими, то погрешность определения поправки является величиной второго порядка малости и ею можно пренебречь.

И только теперь, выбрав доверительную вероятность Р=0,95; к=1,1 и учитывая , получим, что , P=0,95. Условие (Р) доп выполняется (0,512

Абсолютная форма представления погрешности: (Р)=0,5121,800008910-2=0,00920,009В, Р=0,95.

Результат измерения напряжения с помощью выбранного вольтметра В7-22 может быть представлен так: U = 1,80,009В; Р=0,95; ТРЕУГ.

Для рассматриваемого диапазона измерения (0-2 В) выбранного вольтметра на рис. 2.1 и рис. 2.2 представлены графики изменения пределов основной погрешности прибора и результирующей погрешности измерения (для заданных условий) соответственно при относительной (рис. 2.1) и абсолютной форме (рис. 2.2) представления погрешностей.

Из анализа графиков следует, что измеряемое значение Ux попадает в первую половину диапазона с заниженной точностью. Поэтому данный случай использования вольтметра В7-22 следует отнести к нерекомендуемым.

Исходя из экономических соображений можно предположить использовать вольтметр более грубого класса точности, чем В7-22, но удовлетворяющий заданным условиям измерения за счёт благоприятного сочетания Ux и Uпр . В этом случае измерение 1,8 В должно осуществлятся в пределе от 0 до 2,5 В. При расчёте предела допускаемой основной погрешности этого прибора предполагаем для него такое же значение осн в рабочей точке диапазона, какое было получено у нас выше (). Это значение определяем по следующей формуле: . Для верхнего предела диапазона предположим: . Из совместного решения вышеприведенных выражений получим d=0,185 и c=0,115. Значит, для предлагаемого вольтметра получим: . При использовании этого вольтметра для Ux =1,8В при Uпр =2,5В получим осн=0,377, что практически не отличается от значения, рассчитанного нами выше. Следовательно, дальнейшие расчёты можно не проводить.

Проведенный расчет предела основной допускаемой погрешности предлагаемого вольтметра иллюстрируется графиками, представленными на рис. 2.3, где а – пределы осн для В7-22, а b – пределы осн для предлагаемого вольтметра.

В соответствии с требованием стандартов формула основной погрешности, получившаяся выше, должна быть преобразована следующим образом: .

В итоге для предполагаемого вольтметра получим класс точности

0,3/0,2.

Проведя аналогичные преобразования формулы осн вольтметра В7-22, для него получим класс точности 0,35/0,2.

Исходя из экономической целесообразности (при прочих равных условиях) на производстве предпочтительнее использовать менее точный прибор класса 0,3/0,2.


© 2012 Рефераты, курсовые и дипломные работы.