рефераты
Главная

Рефераты по рекламе

Рефераты по физике

Рефераты по философии

Рефераты по финансам

Рефераты по химии

Рефераты по хозяйственному праву

Рефераты по цифровым устройствам

Рефераты по экологическому праву

Рефераты по экономико-математическому моделированию

Рефераты по экономической географии

Рефераты по экономической теории

Рефераты по этике

Рефераты по юриспруденции

Рефераты по языковедению

Рефераты по юридическим наукам

Рефераты по истории

Рефераты по компьютерным наукам

Рефераты по медицинским наукам

Рефераты по финансовым наукам

Рефераты по управленческим наукам

Психология и педагогика

Промышленность производство

Биология и химия

Языкознание филология

Издательское дело и полиграфия

Рефераты по краеведению и этнографии

Рефераты по религии и мифологии

Рефераты по медицине

Рефераты по сексологии

Рефераты по информатике программированию

Краткое содержание произведений

Реферат: Автоматика

Реферат: Автоматика

Контрольная работа №1

Задание 1.


Составить схему системы автоматического регулирования для выбранного объекта  и дать описание ее работы.

При составлении схемы пользоваться данными табл. 1 и приложениями 1-3. в которых приведены схематические виды каждого устройства, входящего в регулятор: измерительного преобразователя, усилителя, исполнительного устройства.

 Таблица 1.


Вариант Датчик (преобразователь ) Усилитель Исполнительный механизм Регулируемый параметр
5 Манометрический Пневматический соплозаслонка

Пневматический,

мембранный

Клапан

Датчик Манометрический:

Состоит из трубчатой пружины, который имеет резьбу и вкручивается в любой прибор. При возрастании

температуры трубка разгибается из-за роста давления газа внутри трубы.


 

 

Усилитель и Используемый механизм.

Соплозаслон  состоит из дросселя  постоянного сечения  куда подается давление  сжатого воздуха из компрессора Р.. d 0,2-0,3 мм.

Соплозаслонка, дроссель переменного сечения,  междроссельная камера и на выходе поршневой исполнительный   механизм.  Простота   конструкции,   большие коэффициенты усиления.



Принцип действия САР:

 

 

При возрастании температуры изменяется давление Р0  в замкнутой системе датчика, возникает перемещение Y1 , закрывается входное сопло усилителя.

Давление сжатого воздуха направляется на поверхность мембраны исполнительного механизма. В результате она прогибается и уменьшает проходное сечение регулирующего клапана уменьшая тем самым подачу теплоносителя в систему автоматизации.

Задание 2.

Передаточная функция разомкнутой цепи:

  

Передаточная функция замкнутой цепи:

.

Контрольная работа №2

Задание 1.

Для проектирования системы автоматического регулирования известна передаточная функция замкнутой системы, которая:

при этом известны значения параметров системы

К = 50 с

Т1 = 0,4 с

Т2 = 0,1 с

К – коэффициент усиления системы

Т – постоянная времени элементов составляющих САР

Определить устойчивость САР двумя методами по критериям Рауса – Гурбица и по критерию Михайлова.

Приравниваем к нулю:

a1 + a2 + a3 + a0 = 0

по критерию Рауса-Гурбица система устойчива если:

a3 a2 > a0 a1

 

1*0,5 > 2

следовательно САР не устойчива.

Определить устойчивость этой системы по критерию Михайлова.

Критерий устойчивости Михайлова предназначен для оценки устойчивости системы по его характеристическому уравнению. Устойчивая система содержит только левые корни, т.е. т=0. И тогда, угол поворота характеристического частотного вектора при изменении w от 0 до +¥ составит j (w )=(n-2m)p /2, т.е. для устойчивости системы характеристический частотный вектор должен пройти последовательно (поочередно) в положительном направлении (против часовой стрелки) п квадрантов. Вектор начинает движение при w =0 с положительной вещественной оси.

Порядок расчета устойчивости по критерию Михайлова:

1. Записывается характеристическое уравнение замкнутой системы:

2. Производится замена р = jw и выделяются вещественная Р(w ) и мнимая Q(w ) слагаемые.

3. В осях координат P(w ),jQ(w ) при изменении w от 0 до +¥ строят характеристический частотный вектор (годограф Михайлова).


Годографы Михайлова для систем:

а - устойчивых , б - неустойчивых

4. По виду годографа Михайлова судят об устойчивости системы. Устойчивые годографы проходят поочередно п квадрантов. На границе устойчивости системы годограф проходит через начало координат.

   

          р = jw

мнимая jV (w)        вещественная U(w)

jV (w) + U(w)= w(jw )

представили многочлены в виде мнимой и вещественной частей

w U(w) JV(w)
0 50 0
12.9 0 -72.9
20 -70 -300
¥

Для уравнения 3 порядка система не устойчива.

Задание 2.

Дать описание следующей системе автоматического регулирования: автоматическое регулирование времени замеса в бетономешалках.

          Регулирование автоматическое (от нем. regulieren — регулировать, от лат. regula — норма, правило), поддержание постоянства (стабилизация) некоторой регулируемой величины, характеризующей технический процесс, либо её изменение по заданному закону (программное регулирование) или в соответствии с некоторым измеряемым внешним процессом (следящее регулирование), осуществляемое приложением управляющего воздействия к регулирующему органу объекта регулирования;

Поточно-транспортные системы – ПТС – широко используются в строительстве, на предприятиях промышленности строительных материалов и на других объектах для сыпучих и штучных материалов. ПТС в общем случае включает несколько транспортеров, которые приводятся в действие при помощи индивидуальных электродвигателей, предназначенных для длительного режима работы, так как, ПТС являются установками непрерывного действия.

Транспортеры обычно приводятся в действие асинхронными электродвигателями с короткозамкнутым ротором, мощность которых выбирают равной статической мощности производственного механизма.

Установки непрерывного транспорта требуют значительного пускового момента, так как при пуске, особенно после длительного перерыва в работе, а также в зимнее время, когда смазка в подшипниках застывает, момент их сопротивления может быть немного выше нормального статического момента. Кроме того, электродвигателю приходится преодолевать инерцию значительных масс установки.

Для электродвигателей, применяемых в природе транспортеров, отношение пускового момента к номинальному должно быть не менее 1,2.

При автоматизации управления ПТС необходимо выполнить ряд условий.

1.              Во избежание завалов транспортеров последовательность включения электродвигателей должна быть противоположной направлению технологического потока (рис. 1.).

2.              Включение предыдущего по технологической цепи транспортера должно быть возможным только после включения последующего. Остановка любого транспортера технологической цепи должно вызывать остановку всех предыдущих транспортеров с помощью соответствующей блокировки.

3.              Предыдущий транспортер должен включаться только при длительном разгоне последующего. Для этой цели предусматриваются реле времени, обеспечивающие включение транспортеров с требуемой временной задержкой.

4.              По требованиям техники безопасности предусматривается подача предупредительного звукового сигнала. При этом между началом подачи сигнала и включением первого транспортера должна быть обеспечена выдержка времени, в течение которой обслуживающий персонал подготовится к работе. Звуковой сигнал должен быть отключен с запуском последнего транспортера.

5.              В схеме управления предусматривается световая сигнализация о работе каждого транспортера.

6.              В месте расположения ПТС натягивается стальной тросик, связанный с кнопками отключения, позволяющий при аварийной ситуации отключить транспортеры из любого места.

7.              Наряду с автоматическими управлением схема должна обеспечивать и дистанционное управление с независимым включением электродвигателей транспортеров.

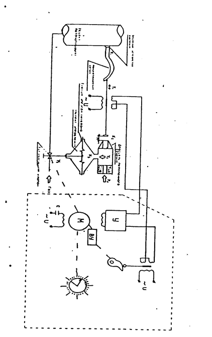
1.   Описание установки

Установка (рис. 2.) предназначена для изучения схему управления ПТС, состоящей из трех транспортеров. Основными элементами установки являются: магнитные пускатели КМ 1, 2, 3, реле времени КТ 1, промежуточное реле КL, гудок НА, выключатели кнопочные на включение SBC 1, 3, 5, 7, выключатели кнопочные на отключение SBT 2, 4, 6, 8, универсальный переключатель SA 2, выключатель SA 1, для подачи напряжения на схему управления, сигнальные лампы HL 1, 2, 3, плавкий предохранитель FU, контакт реле электротеплового КК.

Режим работы схемы управления ПТС определяется положением универсального переключателя SA 2, который имеет три положения:

1-   режим дистанционного управления, замкнутые четные цепи 2, 4, 6, 8;

2-   все цепи управления разомкнуты;

3-   автоматический режим, замкнуты нечетные цепи 1, 3, 5, 7 и цепи сигнализации 8 (рис. 2.).

Режим дистанционного управления

          Универсальный переключатель переводится в положение 1.

Транспортеры могут быть включены в любой последовательности. Этот режим используется при ремонтах, наладках, по требованиям технологического процесса, когда применяется один из транспортеров. Для пуска электродвигателя транспортера необходимо нажать один из кнопочных выключателей SBC 3, 5, 7. При этом замыкается управляющая цепь магнитного пускателя, который замыкает свои контакты в силовой цепи, и электродвигатель начинает работать. Одновременно блокируется нажимная кнопка и включается соответствующая сигнальная лампа в цепи 8. Отключение электродвигателя осуществляется нажатием кнопки SBT 4, 6, 8, которая разрывает цепь управления магнитного пускателя.

Режим автоматического управления

          Запуск ПТС осуществляется нажатием кнопочного выключателя SBC 1, который обеспечивает включение гудка НА, запуск реле времени КТ 1, срабатывание промежуточного реле KL. После оповещения обслуживающего персонала о предстоящем пуске ПТС в автоматическом режиме реле времени КТ 1 замыкает свои контакт в цепи 3, включая магнитный пускатель КМ 1электродвигателя М 1 первого транспортера, и реле времени КТ 2 замыкает свой контакт в цепи 5, включая магнитный пускатель КМ 2 электродвигателя М 2, и реле времени КТ 3 для разгона второго транспортера. Далее реле времени КТ 3 замыкает свой контакт в цепи 7, включая магнитный пускатель КМ 3 электродвигателя М 3 последнего транспортера. Контактом КМ 3, 6 отключается цепь гудка. О работе транспортеров сигнализируют лампы в цепи 8 HL 1, 2, 3.

          Отключение ПТС осуществляется нажатием кнопочного выключателя SBT 2.

Использованная литература:

1.   Методические указания. В. И. Мишкович, В. Е. Столярчук. Ростов-на-Дону, 1995 г.

2.   Зеличенок, Автоматика технических процессов и учета на предприятиях стройиндустрии. 1975 г.


© 2012 Рефераты, курсовые и дипломные работы.