рефераты
Главная

Рефераты по рекламе

Рефераты по физике

Рефераты по философии

Рефераты по финансам

Рефераты по химии

Рефераты по хозяйственному праву

Рефераты по цифровым устройствам

Рефераты по экологическому праву

Рефераты по экономико-математическому моделированию

Рефераты по экономической географии

Рефераты по экономической теории

Рефераты по этике

Рефераты по юриспруденции

Рефераты по языковедению

Рефераты по юридическим наукам

Рефераты по истории

Рефераты по компьютерным наукам

Рефераты по медицинским наукам

Рефераты по финансовым наукам

Рефераты по управленческим наукам

Психология и педагогика

Промышленность производство

Биология и химия

Языкознание филология

Издательское дело и полиграфия

Рефераты по краеведению и этнографии

Рефераты по религии и мифологии

Рефераты по медицине

Рефераты по сексологии

Рефераты по информатике программированию

Краткое содержание произведений

Реферат: Эксплуатация осветительных электроустановок

Реферат: Эксплуатация осветительных электроустановок

Содержание:

1.0Общие сведения об электроустановках………………………………2

1.1 Виды освещения………………………………………………………...3

1.2 Светильники и прожекторы……………………………….. ………...4

2.0 Схемы включения электрических источников света……………..8

2.1 Схемы включения ламп накаливания………………………………8

2.2 Схемы включения люминесцентных ламп………………………...11

2.3 Схемы включения ламп ДРЛ……………………………...................13

3.0 Эксплуатация осветительных установок…………………………..15

3.1 Замена ламп и чистка светильников………………………………..16

3.2 Приспособления для обслуживания светильников………………..18

4.0Планово-предупредительный осмотр, проверка и ремонт светильников……………………………………………………………….21

5.0Техника безопасности при работе в электроустановках напряжением до 1000 вольт………………………………………………24

5.1 Общие сведения………………………………………………………...25

5.2 Правила работы с электрофицированым инструментом………...27

5.3 Работа в электроустановках напряжением до 1000 вольт..............28

6.0 Список литературы…………………………………………………....29


1.0 Общие сведения об электроустановках.


Конструкция, исполнение и нормальная работа электроустановок, в которых производиться, преобразуется, распределяется и потребляется электроэнергия, зависят от окружающей среды. Различные требования предъявляют к электроустановкам наружным (открытым) и внутренним (закрытым). Помещения, в которых выполняется монтаж электроустановка в зависимости от состояния среды (температуры, влажности, запылённости, загазованности) разделяют на сухие, влажные, сырые, особо сырые, пыльные, с химически активной средой, жаркие, пожара и взрывоопасные. Кроме того различают помещения с повышенной опасностью, особо опасные и без повышенной опасности.

1.1 Виды освещения.

 

Установки электроосвещения различных видов выполняют во всех производственных и бытовых помещениях, в общественных, жилых и других зданиях, на улицах, площадях, дорогах, проездах. Кроме установок общего применения имеются специальные, например, для облучения растений в сельском хозяйстве, лечебных целей в медицинских учреждениях, регулирования и управления движением на транспорте и технологическими процессами на производстве и т.д.

Специальные устройства электроосвещения называют осветительными установками. В состав осветительной электроустановки входят источники света, осветительные арматуры, пускорегулирующие устройства, электропроводки, электроустановочные изделия и приборы, щиты, щитки и распределительные  устройства. В соответствии с правилами устройства электроустановок (ПУЭ) различают освещение общее, местное, аварийное и охранное.

Общим - называют освещение всего или части помещения;

местным – освещение рабочих мест, предметов, поверхностей;

комбинированным – сочетание общего освещения с местным, создающим повышенную освещённость непосредственно на рабочих местах.

  Общее освещение может быть равномерным и локализованным, когда светильники размещают так, чтобы на основных рабочих местах создавалось повышенная освещённость.

Основным видом освещения для обеспечения нормальной деятельности во всех помещениях и на открытых участках, где в тёмное время суток производятся работы или происходит движение транспорта и людей, является рабочее.

При его нарушении используется аварийное освещение, обеспечивающее временно продолжение работы или эвакуацию людей. Охранное освещение является составной частью рабочего и устанавливается вдоль границ охраняемой территории. К рабочему освещению относят ремонтное (переносное) и                                 свето-ограждающее для дымовых труб и других особо высоких сооружений.


1.2 Светильники и прожекторы

Световой поток большинства источников света распределяется, а в пространстве достаточно равномерно.

Для рационального освещения помещения или открытого пространства требуется обычно распределить световой поток источника света вполне определённым образом: направить его вниз, или вверх. Для такого перераспределения светового потока применяют осветительные приборы.

Светильники являются осветительными приборами ближнего действия, служащими для освещения объектов, находящихся на небольшом расстоянии.

Прожектор в отличие от светильников является осветительным прибором дальнего действия и используется для освещения удалённых объектов.

Светильник состоит из источника света и осветительной арматуры. Главным назначением осветительной арматуры является перераспределение светового потока источника света. Ещё она предохраняет зрение рабочих то чрезмерной яркости источников света, защищает лампу от механических повреждений, защищает полости расположения источника света и патрона то воздействия окружающей среды, служит для крепления источника света, проводов, пускорегулирующих аппаратов.

Оптические системы осветительных приборов предназначены для перераспределения световых потоков источников света. Элементами оптических систем являются: отражатели, преломлятели, рассеиватели, защитные стёкла, экранирующие решётки и кольца.

Отражатели – перераспределяют световой поток лампы. В зависимости от отражения  отражатели могут быть диффузными, матовыми или зеркальными.

Рассеиватели – перераспределяют световой поток лампы на основе рассеянного пропускания. Различают диффузные, матовые и матированные рассеиватели. Два последних обладают направленно-рассеянным пропусканием ; у матированных рассеивающая способность меньше, чем у матовых.

Преломлятель – перераспределяет световой поток источника света, отразившийся от отражателя, перераспределяется с помощью рассеивателя или преломлятеля. Отдельные типы светильников могут не иметь отражателя или рассеивателя.

Современными электрическими источниками света являются лампы накаливания, люминесцентные низкого давления и ртутные высокого давления.

Лампы накаливания (рис.1) наиболее распространённые в качестве электрического источника света, имеют вольфрамовую нить, чаще всего спиральную, находящуюся в вакууме или инертным газе.

  1. цоколь
  2. стеклянная ножка.
  3. нить накала.
  4. стеклянная колба.
 
   

      Рис 1. Лампа накаливания.

     Принцип действия ламп накаливания основан на преобразовании электрической энергии, подводимой к её нити, в энергию видимых излучений, воздействующих на органы зрения человека и создающих у него ощущение света, близкого к белому.

Лампы накаливания, из внутреннего объёма (колбы) которых выкачан воздух, называют вакуумными, а заполненные инертными газами  - газополными.

Газополные лампы при прочих равных условиях имеют большую, чем  вакуумные лампы, световую отдачу, поскольку находящийся в колбе под давлением газ препятствует испарению вольфрамовой нити, что позволяет повысить её рабочую температуру, а следовательно, и световую отдачу.

Недостатком их является некоторая дополнительная потеря тепла нити накала через конвекцию газа, заполняющего внутреннюю полость колбы. А основным недостатком ламп накаливания является низкая световая отдача: только 2-4% потребляемой или электрической энергии превращается в энергию видимых излучений, воспринимаемых глазом человека, остальная часть энергии преобразуется в тепло, излучаемое лампой.

Для освещения предприятий, учреждений и учебных заведений в настоящее время применяют преимущественно люминесцентные лампы низкого давления (рис.2) представляющие собой стеклянную герметически закрытую трубку, внутренняя поверхность которой покрыта тонким слоем люминофора.

     

      Рис.2 Люминесцентная лампа низкого давления.

  1. цоколь
  2. стеклянная ножка
  1. электрод
  2. стеклянная трубка
 


   Люминесцентные лампы низкого давления изготовляют на напряжение 127В мощностью  15 и 20Вт, на напряжение 220В – мощностью 30, 40, 65 и 80Вт. Срок службы ламп при нормальном режиме работы 10 000 часов. Светоотдача люминесцентных ламп примерно в 4-5 раз выше, чем у ламп накаливания.

Одной из разновидностей люминесцентных ламп являются дуговые ртутные лампы (ДРЛ) высокого давления, (рис.3) которые служат для освещения городских улиц, площадей, а так же территории и производственных помещений предприятий и выпускаются двухэлектродные и четырёхэлектродные.

1. кварцевая трубка

2. слой люминофора

 

Рис.3 Дуговая ртутная лампа высокого давления (ДРЛ).

Двухэлектродные лампы ДРЛ выпускают мощностью 80, 125,250,400,700 и 1000 Вт.

   

        

   

  

 

2.0 Схемы включения электрических источников света.

Существует множество схем включения электрических источников света. Наиболее простым являются схемы включения ламп накаливания, а более сложными – люминесцентных ламп и дуговых ртутных ламп (ДРЛ) высокого давления.

2.1 Схемы включения ламп накаливания.

Присоединение с сети двух ламп накаливания, управляемых одним однополюсным выключателем показано на рис.4а. Число ламп может быть больше двух.

Рис.4а.

Управление пятью лампами осуществляется двумя, расположенными радом однополюсными выключателями (рис4б).

Рис. 4б.

 

Поворотом первого выключают первые 2 лампы, а поворотом второго – остальные 3. Такую схему включения ламп применяют в больших помещениях с режимом работы, требующим различной степени освещенности.

Для попеременного изменения числа включаемых ламп (например в люстре) их присоединяют к сети с помощью люстрового переключателя (рис4в).

Рис. 4в.

 
 

При первом повороте переключателя выключается одна лампа из трех, при втором – остальные две, но выключается первая лампа, третьим поворотом переключателя включаются все лампы, а четвертым – все лампы люстры выключаются.

При необходимости независимого управления одной или несколькими лампами с двух мест применяют схему (рис4г) где используют 2 переключателя, соединенных двумя перемычками.

Рис. 4г.

 

Перемычки и провод, идущий от переключателя к лампам, создают необходимые цепи независимого управления лампами с двух мест. Эту схему используют при освещении коридоров и лестничных клеток жилых домов и предприятий, а так же туннелей с двумя или несколькими входами.

Лампы осветительных электроустановок, питаемых от трехпроводной системы трехфазного тока, включают на междуфазное напряжение сети (рис 4д),

 

Рис.4д.

а питаемых от четырехпроводной сети – между фазным и нулевым проводами (рис.4е.)

2.2 Схемы включения люминесцентных ламп.

Люминесцентные лампы могут включаться в электрическую сеть по стартерной или бесстартерной схемам зажигания.

При включении ламп со стартерной схемой зажигания  (рис. 5) в качестве стартера применяют газоразрядную неоновую лампу с двумя ( подвижными и неподвижными) электродами.

Рис. 5. Стартерное зажигание люминесцентной лампы:

а – схема, б – общий вид стартера; 1 – дроссель, 2 – лампа,

3 – стартер. 

 

Включают люминесцентную лампу в электрическую сеть только последовательно с балластным резистором, ограничивающим рост тока в лампе, и таким образом предохраняющим её от разрушения. В сетях переменного тока в качестве балластного резистора применяют конденсатор или катушку с большим индуктивным сопротивлением – дроссель.

 Зажигание люминесцентной лампы происходит следующим образом. При включении лампы между электродами возникает тлеющий разряд, тепло которого нагревает подвижный биметаллический электрод. При нагреве до определенной температуры подвижный электрод стартера, изгибаясь, замыкается с неподвижным, образуя электрическую цепь, по которой протекает ток, необходимый для предварительного подогрева электродов лампы. Подогреваясь, электроды начинают испускать электроны. Во время протекания тока в цепи электродов лампы разряд в стартере прекращается, в результате подвижный электрод стартера остывает и, разгибаясь, возвращается в исходное положение, разрывая электрическую цепь лампы. При разрыве к напряжению сети добавляется ЭДС. Самоиндукции дросселя и возникший в дросселе импульс повышенного напряжения вызывает дуговой разряд в лампе и её зажигание. С возникновением дугового разряда напряжение на электродах лампы и параллельно соединенных с ними электродах стартера снижается на столько, что оказывается недостаточным для возникновения тлеющего разряда между электродами стартера. Если зажигание лампы не произойдет, то на электродах стартера появиться полное напряжение сети и весь процесс повториться.

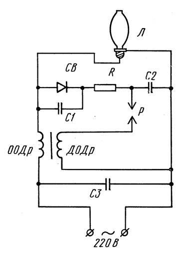
2.3 Схемы включения ламп ДРЛ.

Лампы ДРЛ включают в электрическую сеть переменного тока напряжением 220В. Через поджигающее устройство, при помощи которого осуществляется зажигание лампы импульсом высокого напряжения ( рис. 6)

 

Поджигающее устройство состоит из разрядника Р, селенового выпрямителя (диода) СВ, зарядного резистора R и конденсаторов С1 и С2. Основная обмотка дросселя в схеме служит для предотвращения резкого возрастания тока в лампе, а так же стабилизации её режима горения.

Зажигание ламп происходит так. При включении лампы ток, проходя через выпрямитель СВ и зарядный резистор R, заряжает конденсатор С2. Когда напряжение на конденсаторе С2 достигнет примерно 220В, происходит пробой воздушного промежутка разрядника Р и конденсатор С2 разряжается на дополнительную обмотку дросселя, в результате чего в основной обмотке дросселя создается повышенное напряжение, импульсом которого и зажигается лампа Л . Для защиты выпрямителя от импульса высокого напряжения служит конденсатор С1, Конденсатор С3 необходим для устранению помех радиоприемнику, создаваемых поджигающим устройством при зажигании лампы.

3.0 Эксплуатация осветительных установок.

Ни одна осветительная установка, как это следует из многочисленных обследований, не может оставаться эффективной, если за ней не будет обеспечен регулярный и хороший уход. Старение ламп и связанное с этим снижение их светового потока, накопление пыли и грязи на отражающих и рассеивающих поверхностях светильников и лампах, а также постепенное ухудшение отражающих      свойств поверхностей помещений и оборудования – все это способствует потере светового потока и постепенному уменьшению уровня освещенности.

Старение источников света является неизбежным, степень же загрязнения светильников и поверхностей помещений и оборудования может контролироваться, а при хорошо организованной эксплуатации последствия загрязнения могут быть сведены к минимуму.

Правильная организация эксплуатации осветительных установок должна предусматривать: тщательную приемку осветительных установок после окончания монтажных работ и после капитальных ремонтов, своевременную смену ламп и чистку светильников, планово-предупредительный осмотр и ремонт светильников и электрической сети.

3.1 Замена ламп и чистка светильников.

Сохранность условий освещения, создаваемых осветительной установкой в процессе эксплуатации, зависит от ухода за ней и в значительной степени от своевременности замены источников света и содержания в чистоте осветительных приборов.

Самый простой и, сожалению, наиболее часто применяемый метод замены – это индивидуальный метод замены ламп, когда лампы заменяются по мере сгорания. Недостатком этого является длительное использование потерявших свою эффективность ламп и связанное с этим снижение освещенности, создаваемой осветительной установкой.

Очень важной, необходимой и трудоемкой частью работ по эксплуатации осветительных установок является периодическая очистка колб ламп и отражающих, рассеивающих и других поверхностей и деталей светильников от накопляющейся на них пыли и грязи.

Частота чистки светильников зависит от многих факторов и в первую очередь от среды освещаемого помещения. Так, светильники в цехах металлургического завода нуждаются в большей частоте обслуживания, чем установленные в коридоре больницы. Точно так светильники в шлифовальной мастерской должны чиститься чаще, чем светильники в зале заседания, расположенном в том же здании.

Количество чисток, определенные главой II-А, 9-71 СНиП «Искусственное освещение. Нормы проектирования» по количеству пыли, дыма и копоти, содержащихся в воздушной среде помещений и наружных пространств, указаны в табл.1

Количество чисток светильников.

(табл.1)

Освещаемые объекты

Кол-во чисток

не менее

Производственные помещения, в воздушной среде которых содержаться пыль, дым и копоть в количествах:

10 мг/м3 и более

2 раза в месяц

От 5 до 10 мг/м3

1 раз в месяц

Не более 5 мг/м3

1 раз в 3 месяца

Вспомогательные помещения с нормальной воздушной средой и помещения общественных и жилых зданий

1 раз в 3 месяца

Площадки промышленных предприятий, в воздушной среде которых содержаться пыль, дым и копоть в количествах:

Более 5 мг/м3

1 раз в 3 месяца

До 0,5 мг/м3

1 раз в 6 месяцев

Улицы, площади, дороги, территории общественных зданий, жилых районов и выставок, парки, бульвары

1 раз в 6 месяцев


3.2 Приспособления для обслуживания светильников.

Особые трудности для эксплуатации осветительных установок вызывает обслуживание светильников, как правило, установленных на значительной высоте от пола (земли). Выполнение работ по замене источников света и загрязненных частей, участвующих в образовании светотехнической схемы светильников, зависит от наличия приспособлений или устройств для доступа к ним. Для этой цели в зависимости от высоты установки светильников могут быть использованы : приставные лестницы или стремянки, передвижные и самоходные телескопические и шарнирно-телескопические вышки, спускные устройства, подвесные и мостовые грузоподъемные краны, стационарные светотехнические мостики, автомашины с корзинкой или площадкой на раздвижной телескопической или шарнирно-телескопической вышке.

Приставные лестницы и стремянки. «Правилами технической эксплуатации электроустановок потребителей» обслуживание осветительных установок с этих устройств допускается при высоте подвеса светильников, не превышающей 5м, не менее чем двумя лицами. Длина лестниц и стремянок, должна быть такой, чтобы рабочий мог работать стоя на ступеньке, отстоящей на 1м от верхнего края лестницы, стремянки. Если стремянка имеет площадку – она должна быть ограждена на высоту 1м (рис. 7)

  Рис.7 Стремянка.

Передвижные, телескопические и шарнирно-телескопические подъемники.

Телескопические подъемники широко и успешно применяются для обслуживания светильников наружного освещения, установленных на опорах или кронштейнах на стенах зданий на высоте 6м и более от уровня земли.

Применение для обслуживания светильников в промышленных зданиях передвижных телескопических подъемников, подобных изображенным на рис.8 и рис.9, малоэффективно. Эти подъемники обеспечивают узкий фронт работ, ограниченный размерами люльки. На подъем и опускание телескопа перед перемещением подъемника вручную с одной рабочей позиции на другую затрачивается большое количество времени. Как и при использовании лестниц и стремянок, светильники должны располагаться так , чтобы технологическое оборудование и выступающие части фундаментов не мешали установке подъемника. Недостатки подъемников такого типа являются причиной их весьма ограниченного применения в промышленности.

 

4.0 Планово-предупредительный осмотр, проверка и ремонт светильников.

Для обеспечения нормальной работы осветительной установки за ней нужен постоянный надзор. Во время эксплуатации необходимо осуществлять предупредительные периодические осмотры, проверки и ремонты элементов осветительного оборудования. Сроки осмотров и ремонтов устанавливаются службой электрохозяйства предприятия в соответствии с правилами технической эксплуатации в зависимости от среды помещения, особенностей и назначения элементов осветительного оборудования.

Осмотру, ремонту и проверке подлежат светильники, групповые и магистральные щитки, провода, выключатели, переключатели, штепсельные розетки. Рекомендуемые сроки планово-предупредительных осмотров и ремонтов всех перечисленных элементов осветительной установки указаны в табл. 2.

(табл. 2)

Рекомендуемые сроки планово-предупредительных осмотров и ремонтов.

Объекты осмотра и ремонта.

Для помещений с нормальной средой и для установок наружного освещения.

Для помещений сырых, особо сырых, пыльных, с едкими парами или газами, пожара- или взрывоопасных.

Щитки, выключатели, штепсельные розетки, осветительные приборы и др. осветительные установки.

1 раз в 4 месяца

1 раз в 2 месяца

Те же, но относящиеся к аварийному освещению, за исключением штепсельных розеток.

1 раз в 2 месяца

1 раз в месяц

Осмотром и проверкой светильников должны устанавливаться: наличие, целостность и надежность закрепления рассеивателей, защитных стекол, экранирующих решеток, отражателей, надежность электрических контактов, состояние изоляции зарядных проводов, должны устанавливаться и устраняться возникающие неисправности в светильниках с люминесцентными лампами, причиной которых могут быть лампы, стартеры, ПРА, ошибки в схеме и др.

В установках с большим количеством люминесцентных светильников проверку их для обнаружения причин повреждения желательно производить на стенде в ремонтном отделении мастерской.

На стенде должны проверятся лампы и детали светильников, снятые с эксплуатации, и новые перед установкой. Схема такого стенда показана на рис. 10.

Работы по осмотру, проверке и ремонту светильников должны быть приурочены ко времени их чистки. Обнаруженные неисправные или пришедшие в негодность части и детали светильников должны заменяться при ремонте аналогичными новыми. Это, естественно, касается только достаточно легко снимаемых частей светильников, таких, как патроны, рассеиватели, защитные стекла, экранирующие решетки, стартеры, ПРА, уплотняющие прокладки и др. Если пришедшая в негодность часть светильника не может быть заменена, заменяется весь светильник.

К работам по ремонту светильников должны быть еще отнесены работы по восстановлению надежности контактных соединений и по замене зарядных проводов светильников с лампами накаливания и ДРЛ.

  5.0 Техника безопасности при работе в электроустановках напряжением до 1000 вольт.

Меры  по  безопасности  труда  на  различных  производственных  участках  имеют  свои  особенности  и  предусматриваются  специальными  инструкциями.  При  работе  ручным  электроинструментом  и  применении  переносных  светильников  существует  опасность  поражения  электрическим  током. К числу основных причин электротравматизма относятся временные электропроводки, выполнение с нарушением правил безопасности труда, выполнение работ без защитных средств и некачественное заземление электроинструментов. Основное условие безопасного производства работ – это строгое выполнение правил безопасности труда с непременным использованием индивидуальной защиты от поражения электрическим током. Применяемые понижающие трансформаторы, сварочное оборудование и производственные механизмы, проводимые в действие электрическим током, заземляются. Напряжение переносного электроинструмента должно быть не выше 220 вольт в помещениях без повышенной опасности, а в помещениях с повышенной опасностью и на открытом воздухе – 36(42) вольта, переносные светильники должны присоединятся к сетям напряжением 36(42) вольта. Для электрических паяльников следует применять напряжение 12 вольт.

Вилки и розетки на напряжение 12 и 36(42) вольта по конструкции отличаются от бытовых вилок и розеток.

Заземляющий контакт вилки несколько длиннее рабочих контактов. При использовании электроинструментов на напряжением 36(42) вольта необходимо диэлектрические перчатки, галоши и коврики или дорожки, изготовленные из резины. Всем лицам, пользующимися переносным электроинструментом, запрещается передавать его другим лицам, разбирать и ремонтировать как инструмент, так и провода.                                 


5.1 Общие сведения.

При  производстве  ремонтных  работ  в  мастерских  и  непосредственно  на  объектах  монтажа  используют  многие  механизмы,  инструменты  и  приспособления,  как  общестроительного  применения,  так  и  специализированные  электромонтажные.  В  мастерских  создаются  поточные  технологические  линии  по  индустриальной  обработке  и  заготовке  труб,  листовой  и  сортовой  стали,  шин,  комплектов  электропроводок,  кабелей  и  т.д.  Для  выполнения  ремонтных  работ  (монтаж,  демонтаж  л. ламп)  непосредственно  на  объектах  комплектуют  специализированные  автомашины  или  автоприцепы  и  передвижные  мастерские.  Все  машины,  механизмы  и  средства  механизации,  применяемые  в  электромонтажном  производстве,  можно  разделить  на  пять  групп:  механизированный  и  ручной  инструмент,  приспособления  и  другие  средства  малой  механизации  (электрифицированные,  пневматические  и  пиротехнические  инструменты,  слесарно-монтажный  и  режущий  инструмент,  монтажные  инверторные  приспособления);  сварочное  оборудование  (сварочные  трансформаторы,  оборудование  для  газовой  сварки  и  резки);  специализированные  автомашины  и  передвижные  мастерские;  металлообрабатывающие  станки  и  механизмы,  сосредоточенные  главным  образом  в  мастерских  и  в  ремонтных  цехах;  монтажные  механизмы  для  погрузочно-разгрузочных  и  ремонтных  работах  (автомобильные  краны,  гидроподъемники  и  телескопические  вышки,  тали  и  лебедки,  блоки  и  полиспасты),  а  также  общестроительные  механизмы  (тракторы,  бульдозеры  и  др.).  Все  перечисленное  оборудование  используется  для  ремонта  освещения  на  высоте,  или  его  демонтажа,  если  светильник  невозможно  отремонтировать  на месте.  При  ремонте  светильников  л. освещения  используют  инструменты  для  соединения  и  оконцевания  жил  проводов  и  кабелей.  Клещи  КСИ – 1  предназначены  для  снятия  изоляции  с  концов  проводов  сечением  0,75 – 4  мм2   и  их  перекусывания  и  состоят  из  трех  частей,  связанных  между  собой  шарнирно:  рычагом  для  зажатия  провода,  рычага  с  ножами  для  надреза  изоляции  и  рычага  с  ползунком – эксцентриком,  перемещающим  прижим  и  фасонный  нож  в  губках  клещей.

Клещи  КУ  (клещи  универсальные)  напоминающие  по  своему  внешнему  виду  плоскогубцы,  универсальны,  ими  можно  выполнять  шесть  монтажных  операций:  перекусывание  проводов,  зачистку  жил,  вырезание  перемычки,  снятие  изоляции,  изготовление  колечек  и  зажим  провода.

Электросверлильные  машины.  В  зависимости  от  диаметра  сверления  электросверлильные  машины  бывают  трех  исполнений:  пистолетного  типа  для  сверления  отверстий  малого  диаметра  (до  8 – 10  мм);  с  одной  верхней  закрытой  рукояткой – для  отверстий  диаметром  до  15  мм;  с  двумя  боковыми  рукоятками    и  грудным  или  винтовым  упором – для  отверстий  диаметром  более  15  мм.

  Инвентарные  лестницы.  Лестница  с  площадкой  служит  для  производства  работ  на  высоте  до  4,5  м.  Опорные  стойки  сварные  из  алюминиевого  листа,  площадка  размером  500  Х  600  мм  с  ограждением.  Грузоподъемность  1  кН  масса – 32 кг.  

Складная   лестница,  сварная  из  алюминиевого  листа,  состоит  из  двух  звеньев  и  может  быть  использована  как  приставная  и  как  стремянка.  Размер  до  верхней  ступеньки  в  рабочем  положении  как  приставной  лестницы – 3280  мм,  а  как  стремянки  2120  мм.  Грузоподъемность  в  обеих  положениях  до  1  кН,  масса – 11,5  кг.

Ремонт  подразделяется  на  сложный  и  мелкий.  Мелкий  ремонт – это  замена  стеклянной  колбы,  стартера,  дросселя  или  же  производится  изоляция  провода  внутри  корпуса  лампы  на  небольшой  высоте  (3  метра).  Ремонт  лампы  производится  с  помощью  стремянки  или  при  помощи  складной  лестницы.  Работу  производят  вдвоем.  Один  работает  другой  работник  страхует (подает  инструмент).

Сложный  ремонт – это  когда  работа  производится  на  большой  высоте  (в  высотных  цехах,  на  столбах  освещения).

Тогда  светильник  снимается  и  ремонтируется  в  мастерской,  и  после  ремонта  светильник  монтируют  на  место.  В  сырых  помещениях  коррозии  подвергаются:  корпус  лампы,  внутренности  лампы, а  также  крепление  светильника.  Поэтому  в  сырых  и  влажных  помещениях  используют  влагозащищенные  лампы. 

 

5.2 Правила работы с электрофицированым инструментом.

Перед  началом  работы  с  электроинструментом  необходимо проверить:

Затяжку  винтов, крепящих  детали  электроинструмента.

Исправность  редуктора,  поворачивая  рукой  шпиндель  электроинструмента  (при  отключенном  электродвигателе).

Состояние  провода  электроинструмента,  целость  изоляции,  отсутствие  излома  жил.

Исправность  выключателя  и  заземления.

Электроинструмент,  понижающие  трансформаторы, ручные электролампы  и  преобразователи  частоты  проверяют внешним  осмотром.  Обращается  внимание  на исправность  заземления  и  изоляции  проводов. Отсутствие  оголенных  токоведущих  частей  и  соответствие  инструмента  условиям  работы  и  напряжению  питающей  цепи.

Правильная  эксплуатация  электрифицированного  инструмента  обеспечивается  соблюдением  установленного  режима  (не  допускать  перегрева  до  температуры,  при  которой  ладонь  руки  нельзя  держать  на  корпусе).  В  процессе  эксплуатации  необходимо  следить  за  состоянием  смазки  всех  узлов  и  своевременно  заменять  ее.       

   


5.3 Работа в электроустановках напряжением до 1000 вольт.

Работа в  распределительных  устройствах  и нараспределительных  щитах напряжением свыше  380  В  могут производится  при  полном  снятии  напряжения  и  наложении  переносных  заземлений.  При  невозможности  снятия  напряжения  в  установках  380 вольт    и  ниже  допускается  работа  под  напряжением,  но  при  условии  строгого  соблюдения  следующих  требований:     

Работать в  диэлектрических  галошах  или  стоять  на  изолированном  основании.

Пользоваться  инструментом  с  изолирующими  рукоятками,  а  при  отсутствии  его – работать  в  диэлектрических  перчатках.

Оградить  находящиеся  под  напряжением  соседние  токоведущие  и  заземлённые  части.

Работать  в  головном  уборе  и  в  одежде  с  рукавами,  застегнутыми  или  завязанными  тесемками  у  кисти  рук.

  

Список литературы:

1.   В. Б. Атабеков, М. С. Жибов. «Монтаж осветительных электроустановок»

2.   В.В. Мешков, М.М. Епанешников. «Осветительные установки»

3.   М. Г. Лурье, Л. А. Райцельский, Л. А. Циперман. «Устройство, монтаж и эксплуатация осветительных установок»

4.   Г. П. Егоров, А.И. Коварский «Устройство, монтаж, эксплуатация и ремонт промышленных электро-установок»


© 2012 Рефераты, курсовые и дипломные работы.