рефераты
Главная

Рефераты по рекламе

Рефераты по физике

Рефераты по философии

Рефераты по финансам

Рефераты по химии

Рефераты по хозяйственному праву

Рефераты по цифровым устройствам

Рефераты по экологическому праву

Рефераты по экономико-математическому моделированию

Рефераты по экономической географии

Рефераты по экономической теории

Рефераты по этике

Рефераты по юриспруденции

Рефераты по языковедению

Рефераты по юридическим наукам

Рефераты по истории

Рефераты по компьютерным наукам

Рефераты по медицинским наукам

Рефераты по финансовым наукам

Рефераты по управленческим наукам

Психология и педагогика

Промышленность производство

Биология и химия

Языкознание филология

Издательское дело и полиграфия

Рефераты по краеведению и этнографии

Рефераты по религии и мифологии

Рефераты по медицине

Рефераты по сексологии

Рефераты по информатике программированию

Краткое содержание произведений

Реферат: Электрорадиоматериалы. Методические указания к лабораторным работам

Реферат: Электрорадиоматериалы. Методические указания к лабораторным работам

 

Электрорадиоматериалы
Методические указания к лабораторным работам

Санкт-Петербург

2000

УДК 621.315.4

Составители:  ст. преп. Г. И. Иванова, доценты Г. А. Татарникова, Б. В. Фролов, С.А. Гусев.

Подготовка к переизд.: доценты С.А. Гусев, И.К. Желанкина, Л.Ф. Погромская; под ред. С.А.Гусева.

Электрорадиоматериалы. Методические указания к лабораторным работам./ Под ред. С.А.Гусева. Изд. второе пер. и доп.; Балт. гос. техн. ун -т, СПб., 2000,      с.

Ил. 26, табл. 18.

©  

Содержание

Работа 1.  Исследование электрических свойств проводниковых материалов........ 4

1.  Краткие сведения из теории...................................................................................................................................... 4

2.  Описание экспериментальной установки......................................................................................................... 6

3. Порядок проведения работы....................................................................................................................................... 6

4. Оформление отчета........................................................................................................................................................ 7

Работа 2. Исследование свойств терморезисторов............................................................................. 7

1. Краткие сведения из теории....................................................................................................................................... 7

2. Описание экспериментальной установки.......................................................................................................... 9

3. Порядок выполнения работы...................................................................................................................................... 9

4. Оформление отчета...................................................................................................................................................... 10

Работа З.  Исследование свойств варисторов......................................................................................... 11

1. Краткие сведения из теории..................................................................................................................................... 11

2. Описание экспериментальной установки........................................................................................................ 12

3. Порядок выполнения работы................................................................................................................................... 13

4. Оформление отчета...................................................................................................................................................... 14

Работа 4. Исследование свойств фоторезисторов............................................................................... 14

1. Краткие сведения из теории..................................................................................................................................... 14

2. Описание экспериментальной установки........................................................................................................ 16

3. Порядок проведения работы..................................................................................................................................... 16

4. Оформление отчета...................................................................................................................................................... 17

Работа 6.  Исследование свойств сегнетоэлектриков..................................................................... 17

1. Краткие сведения из теории..................................................................................................................................... 17

2. Описание экспериментальной установки........................................................................................................ 19

3. Порядок выполнения работы................................................................................................................................... 19

4. Оформление отчета...................................................................................................................................................... 21

Работа 7. Исследование свойств ферромагнитных материалов.......................................... 21

1. Краткие сведения из теории..................................................................................................................................... 21

2. Описание экспериментальной установки........................................................................................................ 23

3. Порядок выполнения работы................................................................................................................................... 24

4. оформление отчета...................................................................................................................................................... 25

Работа 1.  Исследование электрических свойств проводниковых материалов

Цель работы:

1) определение удельных сопротивлений проводниковых материалов низкого и высокого сопротивления и их зависимости от температуры;

2) определение зависимости величины электродвижущей силы термопар от температуры;

3) оценка длины свободного пробега электронов в раз­личных проводниковых материалах.

1.  Краткие сведения из теории

Основные свойства проводниковых материалов характе­ризуются величиной удельного сопротивления электриче­скому току r, температурным коэффициентом удельного электрического сопротивления ar (ТКr), величиной термоэлектро­движущей силы ЕТ.

Наилучшими проводниками электрического тока являются металлы. Механизм протекания тока в металлах, находя­щихся в твердом или жидком состояниях, обусловлен дви­жением свободных электронов, поэтому металлы являются материалами с электронной электропроводностью.

Электропроводность металлов зависит от совершенства кристаллической решетки: чем меньше дефектов имеет кристаллическая решетка, тем выше электропроводность. Поэтому чистые металлы обладают наименьшими значениями удельного сопротивления, а сопротивление сплавов всегда выше сопротивлений металлических компонентов, входящих в их состав.

 Металлические проводниковые материалы могут быть разделены на проводники малого сопротивления (r £ 0,1 мкОм×м) – медь, серебро, алюминий и т. д., и проводники (сплавы) высокого сопро­тивления. Последние в свою очередь делятся на термостойкие сплавы для электронагревательных приборов – ни­хром, хромаль, фехраль и др., и термостабильные сплавы для образцовых резисторов – манганин, константан.

B соответствии с электронной теорией металлов:

,                                                       (1.1)

где mo = 9,109×10-31 кг, e = 1,602×10-19 Кл – масса покоя и заряд электрона; » 105 м/с – средняя скорость теплового движения электронов; no = 1028 м-3 число электронов в единице объема; lср – средняя длина свобод­ного пробега электронов.

Величина удельного электрического сопротивления проводников в основном зависит от средней длины свободного пробега электронов lср. С повышением тем­пературы амплитуда колебаний узлов кристаллической решетки увеличивается, средняя длина свобод­ного пробега электронов уменьшается (рис.1.1), а удельное сопротивление возрастает.  произведение удельного сопро­тивления на величину средней длины свободного пробега электрона является величиной постоянной r×lср = а = const.

Температурным коэффициентом удельного сопротивления ar (ТКr) называется относительное изменение удельного сопротивления при изменении температуры на один Кельвин (градус):

                                                                 (1.2)

Зависимость удельного сопротивления от температуры вызывается не только уменьшением длины свободного пробега электронов, но и увеличением линейных размеров про­водника. Поэтому ar имеет две составляющие:     ar = aR +al,                                              (1.3)

где aR – температурный коэффициент сопротивления в дан­ном интервале температур; alтемпературный коэффициент линейного расширения проводника, значения которого при­ведены в табл. 1.1. У чистых металлов ar >> al, поэтому для них ar » aR. для термостабильных металлических сплавов такое приближение не справедливо.

                            Таблица 1.1

Металлы и сплавы

al ×10-4, K-1

Медь
0,167
Константан 0,17
Манганин 0,181
Нихром 0,163

Температурный коэффициент электрического сопротивле­ния (ТКR) резистора определяется выражением

,                                                            (1.4)

где Ro –сопротивление проводника при температуре То. Производная  определяется по касательной к кривой R(T) (рис.1.2).  Для определения производной dR/dT = dR/dq  (Т температура в градусах Кельвина, qв °С) строится зависимость R(q) (рис. 1.2). При заданной температуре (точка A) проводится касательная к кривой R(q), на кото­рой выбирается участок ab произвольной длины. Производ­ная определяется выражением dR/dq » DR/Dq.

экспериментально удельное электрическое сопротивление определяется по формуле:

,                                                                    (1.5)

где R – электрическое сопротивление проводника, S, I площадь поперечного сечения и  длина проводника.

При соприкосновении двух различных металлов между ними возникает контактная разность потенциалов. Причиной этого являются неодинаковые значения работ выхода элек­тронов и различные значения концентрации свободных элек­тронов в соприкасающихся металлах.

Термопарой называется устройство, содержащее спай двух проводников или полупроводников. Если спай двух металлов А и В (термопара) имеет температуру T1, а свободные (неспаянные) концы темпера­туру T2, причем T1>T2, то между свободными концами возникает термо-э.д.с.

,                                                           (1.6)

где – коэффициент термо-э.д.с. или относительная удельная термо-э.д.с., k=1,381×10-23 Дж/К – постоянная Больцмана, е – заряд электрона, п1, п2 – концентрации свободных электронов в соприкасающихся металлах.

В термопарах используют проводники, имеющие большой и стабильный в рабочем диапазоне температур коэффициент термо-э.д.с.

2.  Описание экспериментальной установки


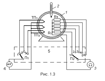
Экспериментальная установка изображена на рис. 1.3. Образцы проволочных резисторов R1R4, изготовленные из меди, константана, манганина и нихрома, металлопленочный резистор МЛТ-1 (R5) и термопары ТП1–ТП3 поме­щаются в термостат 1 с термометром 2. Электрическое сопро­тивление резисторов измеряется омметром 3, э.д.с. термопар – милливольтметром 4. Пере­ключатели П1 и П2 размещены на плате 5 и позволяют поочередно подключать к измерителям исследуемые проводники и термопары. Там же приведена таблица с указанием  вида, длины и сечения исследуемых проводников.

3. Порядок проведения работы

Внимание: все измерения по последующим пунктам проводятся одновременно.

3.1. Определение удельного электрического сопротивления проводников и вычисление  aR, ar.

Проводники, поме­щенные в термостат, поочередно подключить к входным зажимам омметра и замерить их сопротивления сначала при комнатной температуре, а затем при повышении температуры до 90 °С с шагом 10 оС. Результаты измерений записать с максимальной точностью в табл.1.2.

Таблица 1.2

проводник

q, oС

20 30 40 50 60 70 80 90
медь

R1

r1

aR1

ar1

Константан

R2

3.2. Определение зависимости термо-э.д.с термопар от тем­пературы.

Одновременно с нагреванием проводников нагреваются помещенные в термостат спаи трех термопар. Холодные концы термопар поочередно подключить переключателем П1 к милливольт­метру. Значения измеренных термо-э.д.с. занести в табл. 1.3.

Таблица 1.3

q, °С

ET, мВ

Термопара
медь – константан хромель – алюмель хромель – копель
20
90

4. Оформление отчета

1.    Привести схемы экспериментальных установок, данные измерительных приборов и исследуемых элементов, а также таблицы измерений.

2.    По данным измерений табл. 1.1 построить график зависимости R(q). По графику R(q), а также по формулам (1.3), (1.5) рассчитать и занести в таблицу 1.1 значения aR, ar, и r для каждого из исследованных проводников. По данным таблицы 1.1 построить графики зависимостей R(q), r(q), aR(q) и ar(q).

3.    Рассчитать длины свободного пробега электронов для исследованных проводников при комнатной температуре.

4.    По данным таблицы 1.2 и по формуле (1.6) рассчитать средние значения относительной удельной термо-э.д.с. для исследованных термопар. построить графики зависимостей ЕТ(q).

5.    Привести краткое описание исследованных в работе материалов (хими­ческий состав, электрические свойства, области применения).

6.    Дать краткие выводы по результатам работы.

Контрольные вопросы

1.    Какие материалы относятся к классу проводников?

2.    Чем обусловлена высокая электропроводность проводников?

3.    Как можно классифицировать проводники?

4.    Какие факторы и почему влияют на удельное электрическое сопротивление?

5.    Что такое температурный коэффициент удельного сопротивления?

6.    Для каких материалов и почему важно учитывать линейное расширение при нагревании?

7.    Что такое термо-э.д.с., в чем причина ее возникновения?

8.    Исходя из каких соображений подбираются материалы для термопар?

Работа 2. Исследование свойств терморезисторов

Цель работы:

а) определение зависимости сопротивления терморезисторов от температуры;

б) определение энергии активации и коэффициента температурной чувствительности полупроводника;

в) оценка величины постоянной времени тепловой инер­ции терморезисторов;

г) построение динамических вольтамперных характеристик терморезисторов.

1. Краткие сведения из теории

Терморезистором называется полупроводниковый резистор, сопротивление которого в сильной степени зависит от температуры.

Удельная электрическая проводимость полупроводников

 ,                                                           (2.1)

где  – концентрация, – подвижность электронов и дырок соответственно.

В примесных (n-типа или p-типа) полупроводниках одним из слагаемых в приведенном выражении можно пренебречь.

Подвижность носителей при нагревании изменяется сравнительно слабо (по степенному закону, ~), а концентрация очень сильно (по экспоненциальному закону, ~). Поэтому температурная зависимость удельной проводимости полупроводников подобна температурной зависимости концентрации основных носителей, а электрическое сопротивление терморезисторов может быть определено по формуле:

                                                  (2.2)

где Nо – коэффициент, зависящий от типа и геометрических размеров полупроводника; DЭ – энергия активации примесей (для примесных полупроводников) или ширина запрещенной зоны (для собственных полупроводников), k – постоянная Больцмана.

постоянная В =DЭ/k  носит название коэффициент температурной чувствительности и приводится в паспортных  данных на терморезистор. экспериментально коэффициент температурной чувствительности определяют по формуле

                                                      (2.3)

где Т1 и Т2 – исходная и конечная температуры рабочего температурного диапазона, R1 и R2 – сопротивления терморезистора при температуре соответственно Т1 и Т2.

На рис. 2.1 приведен график зависимости сопротивления полупроводникового резистора от температуры.

Чаще всего терморезисторы имеют отрицательный температурный коэффициент сопротивления aR. Выпускаются также терморезисторы, имеющие в сравнительно узком интервале температур положительный aR  и называемые позисторами. При нагревании величина сопротивления терморезисторов убы­вает, а позисторов возрастает в сотни и тысячи раз. В справочниках значение  aR приводится для температуры 20 оС. Значения aR терморезисторов для любой температуры в диапазоне 20…150 оС можно определить по формуле: 

                               (2.4)

терморезистор характеризуется оп­ределенной тепловой инерцией, зависящей от химических свойств полупроводника и конструкции элемента (площади излучающей поверхности). Тепловая инерция оценивается постоянной времени t – временем, за которое разность между собственной температурой тела и температурой среды уменьшается в е (2,7183) раз.

Если терморезистор, имеющий температуру qо, поместить в среду с температурой qс¹qо, то его температура будет изменяться с течением времени по показательному закону:

.                                                    (2.5)

На рис.2.2 показан процесс изменения температуры терморезистора при его остывании.

С остыванием терморезистора сопротивление его увеличивается (рис. 2.3). Знание зависи­мостей R(q) (рис.2.1) и R(t) (рис. 2.3) позволяет, задаваясь значениями R  и определяя по кривым рис. 2.1 и 2.3 соответствующие им значения q и t, построить зависимость q(t) и определить t.

Различают статическую и динамическую вольтамперные характеристики (ВАХ) терморезистора. При снятии статической ВАХ ток фикси­руется после длительной выдержки терморезистора при каждом значении напряжения. Динамическая ВАХ показывает реакцию тер­морезистора на воздействие импульсов напряжения разной величины, но одинаковой длительности. ток фиксируется в конце импульса.

Терморезистор обладает одной статической и семейством динамических ВАХ, соответствующих  ряду фиксированных длительностей Dt импульсов напряжения. ВАХ терморезистора являются нелинейными. динамические ВАХ терморезистора приведены на рис. 2.4.

При длительности импульса  терморезистор не успевает нагреться и сопротивление его практически не изменяется с ростом напряжения. При длительности  терморезистор нагревается, и  ВАХ становится существенно нелинейной. Чем больше длительность импульса, тем больше ток при одной и той же величине напряжения. Статическая ВАХ соответствует .

2. Описание экспериментальной установки

Эксперимент проводится на установке аналогичной изображенной на рис.1.3. терморезистор помещается в термо­стат, температура внутри которого измеряется термометром или термопарой. Сопротивление резистора измеряется омметром.

снятие вольтамперных характеристик выполняется по схеме, приведенной на рис. 2.5. Измерительной цепь питается от источника постоянного регулируемого напряжения ИП со встроенным вольтметром V. Ток через терморезистор измеряется миллиамперметром.

3. Порядок выполнения работы.

3.1. снятие зависимости R(q) сопротивления терморе­зистора от температуры.

 Включить термостат, электронный термометр и омметр. Измерить сопротивление терморезистора при различных температурах – от комнатной до максимальной, равной 90°С,  с интервалом Dq =10 °С. Результаты опыта занести в табл. 2.1.

Таблица 2.1

Опыт Расчет
Примечание
q

R

Т

aR

oC

Ом К

град.-l

20

90

Терморезистор типа  ...

3.2. опре­деление тепловой постоянной времени терморезистора.

Измерив сопротивление терморезистора при 90 °С, быстро извлечь его из термостата. Момент извлечения принять за t = 0. Отключить термостат.

фиксируя время, измерять сопротивление терморезистора при его остывании до тех пор, пока оно не увеличится примерно в три раза. Данные измерений занести в табл. 2.2.

Таблица 2.2

t

с 0 10 20 30 40 50 60 70 и т. д.

R

Ом

3.3. Снятие динамических вольтамперных характеристик

 Собрать электрическую схему установки в соответствии с рис. 2.5.

Установить напряжение на выходе источника питания ИП равное 5В. Замкнув ключ К, записать показания миллиам­перметра в начальный момент времени и далее через каждые 10 секунд. Через 60 с ключ разомкнуть. Перед следующим измерением выдержать минутную паузу для охлаждения терморезистора. Повторить измерения для напряжений 10, 15, 20, 25, 30 В; длительность паузы с ростом напряжения следует увеличивать. Результаты опыта занести в табл. 2.3.

Таблица 2.3

U, В

i (мА) через с

t = 0 10 20 30 40 50 60
Примечание
5 Тип резистора …
10
30

4. Оформление отчета

1.    Привести схемы экспериментальных установок, данные измерительных приборов и исследуемых элементов, а также таблицы измерений.

2.    Для исследованного температурного диапазона определить по формулам (2.2) и (2.3) энергию активации DЭ и коэффициент температурной чувствительности В терморези­стора.

3.    Рассчитать по формуле (2.4) и занести в табл. 2.1 значения aR. по данным табл. 2.1 построить графики зависимостей R=f(q) и aR= f(q).

4.    на основании данных табл. 2.1 и 2.2. построить график зависимости q(t). Определить постоянную времени t тепловой инерции терморезистора. За температуру среды qс принять комнатную температуру.

5.    по данным табл. 2.3  построить динамические вольтамперные характеристики терморезистора.

6.    дать краткие выводы по результатам работы.

Контрольные вопросы

1.    Что называют терморезистором?

2.    Чем обусловлена электропроводность полупроводников?

3.    В чем причина сильной температурной зависимости сопротивления полупроводниковых резисторов?

4.    Что такое коэффициент температурной чувствительности, как его можно определить экспериментально?

5.    Почему терморезисторы обладают отрицательным температурным коэффициентом сопротивления?

6.    Что такое постоянная времени терморезистора, отчего зависит ее величина?

7.    Как практически можно определить постоянную времени терморезистора?

8.    В чем различие между статической и динамической ВАХ терморезистора?

Работа З.  Исследование свойств варисторов

Цель работы – исследование основных свойств варисторов и иллюстрация их практического применения.

1. Краткие сведения из теории

варистором называется нелинейный полупроводниковый резистор, электрическое сопротивление которого изменяется в зависимости от приложенного напряжения.

Варисторы изготавливаются из размолотого карбида кремния (SiC) с добавкой связующего вещества.

Причинами, обусловливающими нелинейность вольтамперной характери­стики варистора, являются:

– микронагрев контактов между отдельными зернами карбида кремния, приводящий к возрастанию проводимости элемента во всем объеме;

– увеличение проводимости вследствие частичного про­боя оксидных пленок, покрывающих зерна карбида кремния, при напряженностях электрического поля E = 105…106 В/м;

– существование на поверхности зерен карбида кремния запирающих р-п-переходов, обусловленных различ­ным характером электропроводности по поверхности и в объеме отдельного зерна SiC.

ВАХ варистора (рис. 3.1), как и всякого нели­нейного резистора, в рабочей точке (точка А) харак­теризуется статическим и дифференциальным сопротивле­ниями

                                                            (3.1)

где МU, MI масштабы по осям координат.

Степень нелинейности ВАХ оценивается коэффициентом нелинейности

                                              ,                                                            (3.2)

который у варисторов довольно велик (b = 2…7) и несколько меняется в различных точках ВАХ. Разделяя переменные в выражении (3.2) и интегрируя, можно получить аналитическую аппроксимацию ВАХ варистора       ,                                                                        (3.3)

 где В – посто­янная, зависящая от свойств полупроводникового материала и геометрических размеров варистора.


Варисторы широко применяются в технике для защиты от перенапряжений (искрогасители), в стабилизаторах и ограничителях напряжения, в преобразователях сигнала (умножители частоты). В данной работе исследуется мостовой стабили­затор напряжения на варисторах (рис. 3.2). напряжение на выходе стабилизатора равно разности напряжений на варисторе (U) и на линейном резисторе (UR):     Uвых = U - UR. С ростом входного напряжения Uвх растет ток в элементах моста. Выходное напря­жение, как видно из рис. 3.3, вначале увеличи­вается, затем падает до нуля и после изменения знака снова растет по абсолютной величине. Внешняя характери­стика стабилизатора Uвых(Uвх) в режиме холостого хода приведена на рис. 3.4.

Выходное напря­жение остается приблизительно постоянным при изменении входного напряжения от Uвх1 до Uвх2, когда величина диф­ференциального сопротивления варистора равна или близка к величине сопротивления линейного резистора. Количественной оценкой стабилизации напряжения является коэффициент стабилизации

                                                      (3.4)

При синусоидальном входном напряжении мост стабили­зирует действующее значение выходного  напряжения. Последнее содержит третью гармонику, удельный вес кото­рой возрастает с ростом амплитуды входного напряжения.

2. Описание экспериментальной установки

Вольтамперные характеристики варистора снимаются по схеме рис. 2.5. Осциллографическое исследование варистора прово­дится по схеме рис. 3.5.


Измерительной цепь питается от задающего генератора ЗГ. Переключатель П подключает на вход осциллографа ЭО варистор или (для масштабирования осциллографа) линейный резистор R. на вертикальные пла­стины ЭО подается напряжение с линейного резистора Rо, пропорциональное току через варистор, на горизонтальные пластины – напряжение на варисторе. Таким образом, на экране осциллографа воспроизво­дится динамическая ВАХ исследуемого элемента. Входное напряжение измеряется цифровым вольтметром V.

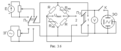
Исследование мостового стабилизатора на варисторах проводится по схеме рис.3.6. Питание осуществляется или от источника постоянного напряжения, или от задающего генератора в зависимость от положения переключателя П1.

Переключатель П2 служит для переключения вольтметра и осциллографа к входным или выходным зажимам моста.

3. Порядок выполнения работы

3.1  Снятие вольтамперной характеристики варистора на постоянном токе

Подать питание на измерительную схему рис. 2.5. Изменяя входное напряжение от 0 до 60 В, замерить и записать в табл. 3.1 значения тока через варистор (6…8 точек).

Таблица 3.1

Oпыт Расчет

U

I

rct

b

В
мА Ом

3.2  Осциллографическое исследование варистора.

Подать питание на схему рис.3.5. Зарисовывать на кальку ВАХ варистора при напряжении на входе 60 В. Определить масштабы по току (по оси у) и по напря­жению (по оси x) для чего, не тро­гая регуляторов усиления осциллографа, переключатель П1 перевести в положение «2». На экране осциллографа получится наклонная прямая – ВАХ линейного резистора. Регулируя напряжение, добиться того, чтобы ее крайние точки не выходили за пределы экрана осциллографа. Масштабы (при R >> Ro) рассчитываются следующим образом:

                                               (3.5)

где U – напряжение, измеренное вольтметром, X, Y – проек­ции ВАХ на оси х, у.

3.3     Исследование мостового стабилизатора напряжения на варисторах

Опыт проводится по схеме рис. 3.6 в режиме холостого хода (Rн = ¥).

а) Исследование моста на постоянном токе.

Отключить осциллограф рубильником К. Переключатель П2 установить в положение «1». Подключить к схеме источник постоянного напряжения и регулируя его напряжение, установить по цифровому вольтметру V напря­жение Uвх на входе стабилизатора 10 В. Установить переключатель П2 в положение «2» и измерить напряжение Uвых на выходе стабилизатора. Провести аналогичные измерения при увеличении входного напряжения до 80 В (через 10 В). Результаты опыта занести в табл.3.2. Коэффициент стабилизации рассчитывается по формуле 3.4.

Таблица 3.2

Uвх, В

Uвых =, В

Uвых~ , В

Kст =

Kст ~

0 0 0
10
20
80

После проведения опытов отключить от схемы источник постоянного напряжения.

б) Исследование моста на переменном токе.

 Включить осциллограф и подключить его к исследуемой цепи, замкнув рубильник К. Переключить клеммы и переключатель рода работы цифрового вольтметра в режим измерения переменного напряжения. Подать на вход схемы переменное напряжение от задающего генератора ЗГ и провести измерения, аналогичные п. 3.3.а. Результаты измерений занести в табл. 3.2. Для трех значений напряжения, соответствующих участкам ab, bc и cd   на рис.3.4, снять на кальку осциллограммы напряжений Uвых(t).

4. Оформление отчета

1.    Привести схемы экспериментальных установок, данные измерительных приборов и исследуемых элементов, а также таблицы с результатами измерений и вычислений.

2.    По данным таблицы 3.1 построить ВАХ варистора, снятую на постоянном токе.

3.    Построить с указанием масштабов по осям ВАХ варистора на переменном токе.

4.    По данным табл. 3.2 построить характеристики «вход-выход» стабилизатора напря­жения Uвых(Uвх), снятые на постоянном и переменном токе.

5.    Привести качественные осциллограммы напряжений на выходе мостового стабилизатора.

6.    Дать краткие выводы по работе.

Контрольные вопросы.

1.    Что называется варистором? Из каких материалов их изготавливают?

2.    Чем обусловлена нелинейность ВАХ варистора?

3.    Что такое степень нелинейности и как используя этот параметр можно аппроксимировать ВАХ варистора?

4.     Где применяют варисторы и почему?

5.    Как устроен и как работает мостовой стабилизатор напряжения на варисторах?

6.    Каким параметром оцениваются стабилизирующие свойства стабилизатора напряжения?

7.    Как степень нелинейности ВАХ варистора влияет на величину коэффициента стабилизации?

8.    Как получить ВАХ варистора на экране осциллографа?

Работа 4. Исследование свойств фоторезисторов

Цель работыисследование основных характеристик фоторезисторов:

1) определение зависимости величины сопротивления от освещенности;

2) получение вольтамперных характеристик при различ­ных значениях освещенности;

3) определение зависимости фототока от величины осве­щенности

4) определение интегральной чувствительности.

1. Краткие сведения из теории

Фоторезистором называется полупроводниковый резистор, сопротивление которого изменяется под действием оптического излучения.

Работа некоторых полупроводниковых элементов основана на использовании фотоэлектрического эффекта – явления взаимо­действия электромагнитного излучения с веществом, в ре­зультате которого энергия фотонов передается электронам вещества. В твердых и жидких полупроводниках различают внешний и внутренний фотоэффекты. В первом случае поглощение фотонов сопровождается вылетом электронов из вещества. Во втором – электроны, оставаясь в веще­стве, переходят из заполненной энергетической зоны в зону проводимости, обуславливая появление фотопроводимости. В газах фотоэффект состоит в ионизации атомов или молекул под действием излучения. Внутренний фотоэффект, возникающий в паре из электронного и дырочного полупроводников, понижает контактную разность потенциалов, выполняя непо­средственное преобразование электромагнитного излучения в энергию электрического поля, что используется в фотодиодах, фототранзисторах. Наиболее ярко внутренний фотоэффект выражен в таких полупроводниковых материалах как селен, германий, кремний, различные селенистые и сернистые соединения таллия, кадмия, свинца и висмута. Из этих материалов изготавливают фотоэлементы и фоторезисторы.

В отсутствие облучения фоторезистор обладает некоторым большим сопротивлением Rт, которое называется темновым. Величина темнового сопротивления определяется температурой и чистотой полупроводника. При приложении к фоторезистору разности потенциалов в цепи возникает ток   I = + ,            (4.1)


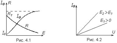
где Iо – темновой ток, – фототок. Зависимость фототока от освещенности (светового потока) называется световой характеристикой (рис. 4.1). Фоторезисторы обладают линейной вольтамперной характеристикой, получаемой при неизменной освещенности Е (рис. 4.2).

Основным параметром фоторезисторов является интегральная чувствительность, под которой понимают отношение фототока к вызвавшему его появление световому потоку белого (немонохромного) света и приложенному напряжению:

                                                              (4.2)

где S – облучаемая площадь фоторезистора, Gф – фотопроводимость, – световой поток. Интегральная чувствительность выражается в микро- или миллиамперах на вольт-люмен (мкА/В×лм, мА/В×лм). С ростом освещенности величина интегральной чувствительности уменьшается, так как световая характеристика Iф(E)  имеет зону насыщения.

Недостатками фоторезисторов являются значительная зависимость сопротивления от температуры, характерная для полупроводников, и большая инерционность, связанная с большим временем рекомбинации электронов и дырок после прекращения облучения. Постоянная времени t различных типов фоторези­сторов колеблется в пределах  4×10-5 …3×10-2 с. Так, для фоторе­зисторов марок ФС-КО, ФС-К1 t = 2×10-2 с, для ФС-А1 – t = 4×10-2 с. Это ограничивает быстродействие и затрудняет контроль быстрых изменений освещенности в приборах с фоторезисторами (рис.4.3).

2. Описание экспериментальной установки

Фоторезистор (рис. 4.4) состоит из диэлектрической пла­стины 1, на которую нанесен слой светочувствительного полупроводникового вещества 2. С противоположных сторон этого слоя укреплены электроды 3. Для защиты от механи­ческих воздействий фоторезистор запрессовывается в пластмассовую оправу с прозрачным окном, штырьки которой соединены с его электродами.  

В лабораторной установке фоторезистор располагается внутри темновой камеры на специальной панели. Рядом размещается фотоэлемент, являющийся датчи­ком  люксметра – прибора,  измеряющего  освещенность. В противоположном конце ка­меры на одинаковом расстоя­нии от фоторезистора и фотоэлемента помещен источник света с регулируемым световым потоком. Ручка регулятора потока расположена на лицевой панели установки. Там же указаны облучаемая площадь и темновое сопротивление фоторезистора. Для измерения сопротивления и тока фоторезистора используется универсальный цифровой вольтметр. Вольтамперные характеристики снимают по схеме рис. 2.5.

3. Порядок проведения работы.

3.1   Определение зависимости сопротивления фоторезистора от освещенности.

Подготовить цифровой вольтметр к измерению сопротивлений, для чего переключатель рода работ установить в положение «R», предел измерения – «10 мОм». Подключить цифровой вольтметр к клеммам фоторезистора, расположенным на правой боковой панели лабораторной установки.

Подать напряжение на стенд, переведя тумблер питания, расположенный на лицевой панели, в положение «Вкл». Изменяя освещенность регулятором на лицевой панели в соответствии со значениями в табл. 4.1, измерить и занести в табл. 4.1 сопротивление фоторезистора.

Таблица 4.1

E лк 0 5 10 25 50 75 100 125 150
R мОм

b=Rт/R

3.2   Снятие семейства вольтамперных характеристик фоторезистора.

 Собрать схему в соответствии с рис. 2.5. Подготовить цифровой вольтметр к измерению тока, для чего переключатель рода работ поставить в положение «мкА», предел измерения «100». Установить освещенность Е = 10 лк. Изменяя напряжение на выходе источника постоянного напряжения от 0 до 30 В (через 5 В), измерить и занести в табл. 4.2 значения тока через фоторезистор. Повторить  опыт при значениях освещенности 15, 25 лк. Темновой ток (при Е = 0) рассчитать по закону Ома:

Таблица 4.2

E = 0

Е= 10 лк

Е =15 лк Е = 25 лк

U

Io

I

Iф

Sи

I

Iф

Sи

I

Iф

Sи

В мкА мкА мкА мкА/лм×В мкА мкА мкА/лм×В мкА мкА мкА/лм×В
0
30

3.3   Определение зависимости интегральной чувствительно­сти фоторезистора от величины освещенности.

Зависимость Sи(E) определяется по схеме предыдущего опыта при неизменном значении напряже­ния U = 25 В. Результаты опыта и рас­четов занести в табл. 4.3.

Таблица 4.3

E

лк 0 10 20 40 60 80 100 120 150

I

мкА

Iф

мкА

Sи

мкА/лм×В

4. Оформление отчета

1.    Привести схемы экспериментальных установок, данные измерительных приборов и исследуемого фоторезистора.

2.    Оформить таблицы с результатами измерений и вычислений. При расчетах использовать формулы  (4.1), (4.2).

3.    Построить графики R(E), Sи(E) и семейство ВАХ U(I) фоторезистора при освещенностях Е = 10, 15, 25 лк.

4.    Сделать краткие выводы по результатам проведенных исследо­ваний.

Контрольные вопросы

1.    Что такое фоторезистор, из каких материалов его изготавливают?

2.    Чем обусловлена фотопроводимость полупроводников?

3.    В чем отличие между внутренним и внешним фотоэффектом?

4.    Что такое темновое сопротивление, от чего зависит его величина?

5.    Что понимают под интегральной чувствительностью фоторезистора?

6.    Что такое световая характеристика? В чем причина ее нелинейности?

7.    Почему ВАХ фоторезистора при постоянной освещенности линейна?

8.    В чем основные недостатки фоторезисторов?

Работа 6.  Исследование свойств сегнетоэлектриков

Цель работыэкспериментальная проверка основ­ных теоретических положений, определяющих физические процессы в сегнетоэлектриках при их периодической переполяризации; приобретение практических навыков в построении основной кривой поляризации D(E) и определении потерь в сегнетоэлектрике.

1. Краткие сведения из теории

Сегнетоэлектриками называют кристаллические диэлектрики, диэлектрическая проницаемость которых достигает  больших значений (порядка 104…105) и зависит от напряженности электрического поля, температуры и предварительной поляризации.

При поляризации любого диэлектрика , где  – вектор электрического смещения,  – вектор напряженности внешнего электрического поля, поляризованность диэлектрика, которая представляет собой электрический момент единицы его объема, eo – электрическая постоянная.

Поляризованность вещества пропорциональна напряженности электрического поля:  где c абсолютная диэлектрическая восприимчивость вещества. В силу этого . Параметр                                              (6.1) носит название абсолютная диэлектрическая проницаемость и характеризует способность диэлектрика к поляризации. Относительная диэлектрическая проницаемость определяется выражением .                                                                                            (6.2)

Сегнетоэлектрики обладают самопроизвольной (спонтанной) поляризацией, связанной с наличием в структуре материала микроскопических областей – доменов, внутри которых диэлектрик поляризован до насыщения. Отдельные домены имеют различные направления электрических моментов. Результирующий электрический момент при этом равен нулю. Если сегнетоэлектрик подвергнуть воздействию внешнего электрического поля, домены ориентиру­ются по полю, и он оказывается поляризованным во всем объеме.

Вследствие  доменной структуры поляризованность и диэлектрическая проницаемость сегнетоэлектриков достигает огромных по сравнению с линейными диэлектриками значений.

Процесс поляризации сегнетоэлектриков во внешнем электрическом поле имеет две основные стадии. На первой стадии происходит смещение границ и рост тех доменов, ориентация векторов поляризации которых наиболее близка к ориентации внешнего поля. На второй – вращение векторов поляризации доменов и их установка параллельно направлению поля. В сильных полях число доменов, не сориентированных по полю, уменьшается, что приводит к постепенному замедлению поляризации – насыщение сегнетоэлектрика.


При циклическом изменении напряженности поля в сегнетоэлектрике наблюдается явление диэлектрического гистерезиса, состоящее в фазовом запаздывании электрического смещения относительно напряженности внешнего поля (рис.6.1).

Кривая, соединяющая вершины гистерезисных циклов поляризации называется основной кривой поляризации. На рис. 6.2 приведены типовые графики основной кривой поляризации и зависимости диэлектрической проницаемости сегнетоэлектрика от напряженности электрического поля. При определенной напряженности Еа, которая соответствует касательной , проведенной из начала координат к кривой D = f(E), диэлектрическая проницаемость e достигает максимального значения.

Переполяризация сегнетоэлектрика связана с достаточно большими затратами энергии. Электрическая мощность, затрачиваемая за один цикл, пропорциональна площади гистерезисной диаграммы SDE и объему сегнетоэлектрика V. При периодической переполяризации мощность пропорциональна частоте f.

                                           (6.3)

где MD, ME – масштабы осей в координатах «смещение-напряженность», MQ, MU – масштабы осей в координатах «заряд-напряжение».

В качестве оценки диэлектрических потерь часто применяют тангенс угла диэлектрических потерь, который может быть определен из выражения для активной мощности, потребляемой конденсатором. При параллельной схеме замещения конденсатора:

.

Отсюда                                                                                                     (6.4)

Поляризация сегнетоэлектриков в сильной степени зависит от температуры. У большинства сегнетоэлектриков гистерезис и нелинейность кулон-вольтной характеристики проявляются при всех температурах вплоть до некоторой предельной, которая соответствует максимуму диэлектрической проницаемости и называется точкой Кюри. Выше этой температуры происходит обратимое изменение структуры материала (разрушение доменов) и исчезновение сегнетоэлектрических свойств. Диэлектрическая проницаемость при этом резко уменьшается (рис. 6.3).

сегнетоэлектрическими свойствами обладают сегнетова соль, титанат бария, титанат и ниобат лития и др. Сегнетоэлектрики применяются в электрических конденсаторах большой емкости, нелинейных конденсаторах (вариконды), в пьезоэлектрических излучателях и приемниках звука и ультразвука, в качестве нелинейных элементов в оптических системах, электронике и вычислительной технике и т.д. 


2. Описание экспериментальной установки

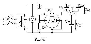
Схема осциллографического исследования сегнетоэлектриков показана на рис. 6.4. Установка питается от сети переменного тока с напряжением 220 В. Напряжение на входе измерительной цепи регулируется с помощью лабораторного автотрансформатора (ЛАТРа). Емкость исследуемого плоского сегнетоэлектрического конденсатора Сx, значительно меньше (на один-два порядка) емкости образцового конденсатора Со1. Поэтому, когда конденсатор Сx под­ключен (переключатель П в положении «1»), заряд в измерительной цепи , т. е. полностью определяется свойствами нелинейного конденсатора, и напряжение Uо1, подаваемое на вертикальные пластины электронного осциллографа (ЭО), пропорционально заряду Qx.  На горизонтальные пластины осциллографа через делитель Rl - R2 подается часть общего напряжения U » Ux. Погрешность будет тем меньше, чем больше отношение емкостей Cо1 и Сx. В результате на экране осциллографа будет наблюдаться гистерезисная диаграмма поляризации Q(U). Положение «2» переключателя П, когда подключается емкость Со2 << Со1 , служит для определения масштабов осциллографа по осям x и у.

3. Порядок выполнения работы

3.1   Снятие основной кривой поляризации и определение  диэлектрической проницаемости сегнетоэлектрика.

Собрать измерительную цепь в соответствии со схемой на рис. 6.4. Перевести переключатель П в положение «1». Установить на входе цепи напряжение 120 В. На экране осциллографа должна наблюдаться гистерезисная диаграмма поляризации сегнетоэлектрика. Подобрать масштаб по вертикальной оси осциллографа так, чтобы изображение занимало весь экран.

Внимание: в процессе выполнения последующих пунктов лабораторной работы не допускается изменять положение масштабного переключателя осциллографа.

Измерить и записать в табл. 6.2 координаты вершины гистерезисного цикла: xm, ym (координаты вершины можно определить как половину размаха изображения по горизонтальной и вертикальной осям экрана). Повторить измерения, изменяя входное напряжение как показано в табл.6.2.

Таблица 6.2

h =    мм, d =    мм, S = pd 2 /4 =    м2.

Опыт Расчет

U

xm

Um

Qm

Dm

Ет

e

eo

В мм мм В мкКл

Кл/м2

кВ/м мкФ/м
120
100
80
60
40
20

При расчете использовать формулы: ,  где h, S – соответственно толщина и площадь слоя сегнетоэлектрика.

3.2   Определение масштабов по осям экрана осциллографа.

Переключатель П установить в положение «2». Вращением регулировочной рукоятки ЛАТРа, установить на входе цепи напряжение в пределах 40…60 В. На экране осциллографа должна наблюдаться наклонная прямая линия, представляющая кулон-вольтную характеристику Q(U) линейного диэлектрика конденсатора Со2. Занести в табл. 6.1 значения напряжения U и размаха колеба­ний луча осциллографа по горизонтали – Dх и верти­кали – Dу.

Таблица 6.1

Измерение Расчет Примечание
U, В

Dх, мм

Dу, мм

MU, В/мм

MQ, Кл/м

Со1 =        мкФ,      Со2 =        мкФ

Масштабы по осям координат определяются по следующим формулам:

                                            (6.5)

3.3   Определение потерь в сегнетоэлектрике при комнатной температуре.

Устанавливая поочередно на входе цепи напряжение 60, 80, 120 В зарисовать на кальку осциллограммы петли гистерезиса. В табл. 6.3 занести координаты вершин гистерезисных циклов.

                                                  Таблица 6.3

Измерения Расчет

U

xm

ym

SQU

Um

Qm

Pг

tg d
В мм мм

мм2

В мкКл мВт
60
80
120

4. Оформление отчета

1.    Привести схему экспериментальной установки, данные измерительных приборов и исследуемого элемента.

2.    Оформить таблицы с результатами измерений и вычислений. При вычислении Um и Qm  использовать координаты вершин осциллограмм гистерезисного цикла с учетом масштабов по осям осциллографа (табл. 6.1). Площадь гистерезисного цикла SQU (табл. 6.3) определяется непосредственно по осциллограммам путем подсчета числа квадратных миллиметров (по миллиметровой бумаге), укладывающихся внутри петли.

3.    По данным табл. 6.2 построить основную кривую поляризации D(E) и график зависимости относительной диэлектрической поляризации от напряженности электрического поля er(Е).

4.    Привести осциллограммы гистерезисных циклов для трех значений напряжения на сегнетоэлектрическом конденсаторе.

5.    Дать краткие выводы по работе.

Контрольные вопросы

1.    Что называют сегнетоэлектриками? Какие материалы обладают сегнетоэлектрическими свойствами?

2.    Что такое диэлектрическая проницаемость, как ее можно практически определить?

3.    Почему диэлектрическая проницаемость сегнетоэлектриков значительно превышает проницаемость обычных диэлектриков и зависит от напряженности внешнего электрического поля?

4.    В чем причина возникновения гистерезиса при поляризации сегнетоэлектриков?

5.    Как происходит процесс поляризации сегнетоэлектриков?

6.    Почему вольтамперная характеристика сегнетоэлектрических конденсаторов нелинейна?

7.    Какими параметрами характеризуют потери мощности в диэлектриках?

8.    Как и почему зависит диэлектрическая проницаемость сегнетоэлектриков от температуры?

9.    Как получить на экране осциллографа кулон-вольтную характеристику?

10.   Назовите области применения сегнетоэлектриков.

Работа 7. Исследование свойств ферромагнитных материалов

Цель работы – экспериментальное подтверждение основ­ных теоретических положений, определяющих физические процессы, происходящие в ферромагнитных телах при их периодическом перемагничивании; приобретение практических навыков в определении потерь в ферромагнетике, их разделе­нии, снятии основной кривой намагничивания B(H) и оценке магнитных характеристик материала.

1. Краткие сведения из теории

Ферромагнитные материалы (Fe, Ni, Co и их сплавы) обладают особыми магнитными свойствами: высокое значение относительной магнитной проницаемости и ее сильная зависимость от напряженности внешнего магнитного поля, при перемагничивании наблюдается магнитный гистерезис, обусловленный наличием доменов – областей спонтанной намагниченности.

Основной причиной магнитных свойств вещества являются внутренние скрытые формы движения электрических зарядов в его атомах – вращение электронов вокруг собственных осей (спиновый магнитный момент) и вокруг ядра (орбитальный магнитный момент). У ферромагнетиков даже при отсутствии внешнего магнитного поля имеются домены с параллельной или антипараллельной ориентацией спинов электронов. Такое вещество находится в состоянии спонтанного (самопроизвольного) намагничивания. В различных доменах эта ориентация различна. Если материал не подвергается воздействию внешнего магнитного поля, суммарный магнитный момент всех доменов и магнитный поток такого тела во внешнем пространстве равны нулю.

При намагничивании внешним магнитным полем происходит поворот векторов магнитных моментов доменов в направлении поля и смещение границ доменов. С увеличением напряженности поля этот процесс замедляется (явление насыщения).


При периодическом перемагничивании ферромагнитного материала наблюдается явление магнитного гистерезиса, т. е. отставание изменения магнитной индукции от изменения напряженности поля. На рис. 7.1 показаны гистерезисные диаграммы при различных предельных значениях напряженности внешнего магнитного поля. Кривая, проходящая через вершины этих диаграмм, называется основной кривой намагничивания B=f(H). Гистерезисный цикл, при котором достигается насыщение ферромагнитного материала, называется предельным. По нему определяется остаточная индукция Вr (при H = 0) и коэрцитивная сила Нc (при B = 0).

Способность материала к намагничиванию характеризуется абсолютной магнитной проницаемостью    m = В/Н .                                                            (7.1)

На рис. 7.2 показана основная кривая намагничивания B=(H) и зависимость абсолютной магнитной прони­цаемости от напряженности внешнего магнитного поля. При определенной величине напря­женности m достигает максимума. Точка а, характеризую­щая этот режим, соответ­ствует касательной Оа, проведенной к основной кривой намагничивания из  начала  координат. Проницаемость, опреде­ленную в очень слабых полях, называют началь­ной (mн).

Одновременному намагничиванию ферромаг­нитных материалов по­стоянным и переменным полем малой ампли­туды Нт со­ответствует частный гистерезисный цикл с вер­шинами /—2, лежащими на основной кривой намагничивания (см. рис. 7.2). При этом реверсивная (обратимая) проницаемость определяется положением вершин этого цикла:

где МB, МHмасштабы по осям координат, a – угол наклона к оси абсцисс прямой, соединяю­щей вершины частного гистерезисного цикла. Аналогично определяется дифференциальная магнитная проницаемость:                                                         (7.2)

где b – угол наклона касательной к основной кривой намагничивания в искомой точке.

Для всех упомянутых проницаемостей чаще всего опреде­ляется их относительные значения

                                               (7.3)

где mо = 4p×10-7 Гн/м – магнитная постоянная.

Материалы с узкой петлей гистерезиса (Hc £ 1 кА/м) называют магнит­омягкими, материалы с широкой  петлей – магнитотвердыми.

При перемагничивании ферромагнитных материалов в них возникают потери на гистерезис и вихревые токи. При посто­янной амплитуде индукции (Bm = const) потери на гистерезис пропорциональны час­тоте, а потери на вихревые токи – квадрату частоты:   Измерив в этих условиях суммарные магнитные потери Pм1 и Рм2 при двух различных частотах, можно определить постоянные

                      (7.4)

Для выполнения условия Вm = сопst необходимо дейст­вующее значение напряжения намагничивающей катушки изменять пропорционально частоте (U1/f = const).

Суммарные магнитные потери могут быть определены по площади  динамической вебер-амперной диаграммы y(i):

                                               (7.5)

где Mi, My – масштабы, принятые по осям координат.

Параллельная ориентация спинов в магнитных доме­нах имеет место только ниже определенной для данного ферромагнетика температуры – точки Кюри. При превышении этой температуры спонтанная намагниченность исчезает, и магнитная проницаемость резко падает.

2. Описание экспериментальной установки


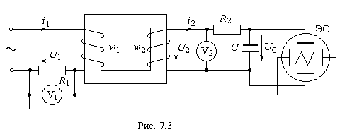
Схема установки для исследования свойств ферромагнитных материалов приведена на рис. 7.3.

Схема питается от задающего генератора. Исследуемый ферромагнетик представляет собой тороидальный магнитопровод с двумя обмотками. Последовательно с намагничивающей обмоткой w1 включено небольшое сопротивление R1, напряжение на кото­ром, пропорциональное току i1, подается на горизонтальные пластины осциллографа и на вольтметр V1. На зажимы измерительной обмотки w2 включена интегрирующая цепочка с большим сопротивлением R2 и большой емкостью С. В схеме выбрано поэтому  

                                     (7.6)

где S – сечение сердечника, kо – постоянная, y1 – потокосцепление обмотки w1.

Таким образом, на экране осциллографа можно наблюдать вебер-амперную характеристику y1(i). При этом масштабы по осям:

           (7.7)

где Dx, Dy – размах осциллограммы по горизонтали и вертикали соответственно.

Для измерения напря­жений на резисторе R1 и на вторичной обмотке w2  применены цифровые вольтметры с большим входным сопротивлением.

3. Порядок выполнения работы

3.1     Определение масштабов осциллографа Mi, Мy и магнитных потерь на частоте f = 50 Гц.

Установить на входе цепи напряжение частотой 50 Гц, при котором на экране осциллографа наблюдается предельный гистерезисный цикл (когда дальнейшее увеличение входного напряжения не вызывает значительного роста индукции). Регулировкой усиления верти­кального и горизонтального каналов осциллографа добиться, чтобы диаграмма заняла не менее 2/3 экрана. Занести в табл. 7.1 показания вольтметров V1, V2 и размах осциллограммы по горизонтали и вертикали, зарисовать осциллограмму на кальку. Площадь гистерезисного цикла Syi  определяется непосредственным подсчетом числа квадратных миллиметров (по миллиметровой бумаге), укладывающихся внутри петли.

Таблица 7.1

Измерения Расчет Примечание

f

U1

U2

Dx

Syi

Мi

My

I

y

Pст

w1 =         витков

w2 =         витков

D =         мм

d =         мм

h =        мм

R1 =        Ом 

R2 =      кОм

Гц В В мм мм

мм2

мА/мм Вб/мм мА Вб мВт
50
400

3.2   Определение магнитных потерь на частоте 400 Гц.

Изменить частоту входного напряжения до 400 Гц. Увеличивая напряжение на выходе задающего генератора (примерно в 8 раз), установить размах осциллограммы по вертикальной оси (ym) такой же, как в предыдущем опыте. Произвести измерения и занести результаты в табл. 7.1. Осциллограмму перенести на кальку.

3.3   Снятие основной кривой намагничивания.

Установить частоту входного напряжения 50 Гц. Изменяя величину входного напряжения, определить коорди­наты xm и уm вершин гистерезисных циклов. Результаты занести в табл. 7.2.

Таблица 7.2

Измерения Расчет

xm

ym

Im

ym

Hm

Bm

m

mr

mдr

мм мм мА Вб А/м Тл Гн/м

4. Оформление отчета

1.    Привести схему исследований, данные приборов и исследуемого образца ферромагнитного материала.

2.    Перенести на миллиметровку осциллограммы вебер-амперных характеристик y(i), снятые при частотах 50 Гц и 400 Гц, с обозначением и оцифровкой в соответствии с масштабами осей координат. Определить параметры предельного гистерезисного цикла Bm, Br, Hc и, используя справочные таблицы, сделать вывод о материале исследованного ферромагнетика.

3.    Оформить таблицы с результатами измерений и расчетов. При расчете масштабов использовать формулы  (7.7). Значения тока Im и потокосцепления ym определяются по координатам xm, ym с учетом масштабов. Расчет индукции Bm и напряженности Hm выполнить по формулам: Bm = ym/w1S,  Hm = w1Im/lср, где S = (Ddh/2, lср = p(D + d)/2 – соответственно площадь поперечного сечения и длина средней линии магнитного образца.

4.    По результатам расчета табл. 7.2 построить основную кривую намагничивания B(H) и зависимости mr (H), mд(H).

5.    Рассчитать удельные магнитные потери при частотах 50 и 400 Гц по формуле Pм.уд= Pм/Vст, где Vcт = p(D2 - d2)×h×kс – объем стали, kc = 0,98—коэффи­циент заполнения образца сталью; D, d, h диаметры и вы­сота стального тороида. По формулам (7.4) разделить суммарные потери в стали на потери на вихревые токи и потери на гистерезис. Результаты расчетов занести в табл. 7.3.

Таблица 7.3

f, Гц

Pст уд., мВт/м3

kг, Вт×с

kв, Вт×с2

Pг, мВт

Pв, мВт

6.  Сделать краткие выводы по работе.

Контрольные вопросы

1.    Какие материалы относят к классу ферромагнетиков?

2.    В чем причина сильных магнитных свойств ферромагнетиков?

3.    Что такое предельный гистерезисный цикл намагничивания? Какие параметры из него определяют?

4.    Что такое магнитная проницаемость, какие существуют ее виды?

5.    Как происходит процесс намагничивания ферромагнетиков?

6.    Как и от каких факторов зависит магнитная проницаемость?

7.    Какие потери возникают в ферромагнетике при его периодическом перемагничивании?

8.    Что такое магнитомягкие и магнитотвердые ферромагнетики? Которые из них обладают меньшими потерями и почему?

9.    Как практически можно разделить потери в ферромагнетике по видам?

10.   Как получить на экране осциллографа характеристику намагничивания?

11.   Назовите области применения сегнетоэлектриков.

Рекомендуемая литература

1.    Пасынков В. В. Материалы электронной техники. М.: Высшая школа, 1980.

2.    Богородицкий Н. П., Пасынков В. В., Тареев Б. М. Электротехнические материалы. Л.: Энергия, 1977.

3.    Справочник по электротехническим материалам. Тт. 1 – 3/ Под ред. Д. В. Корицкого и др. Л.: Энергия, 1974—1976.


© 2012 Рефераты, курсовые и дипломные работы.