рефераты
Главная

Рефераты по рекламе

Рефераты по физике

Рефераты по философии

Рефераты по финансам

Рефераты по химии

Рефераты по хозяйственному праву

Рефераты по цифровым устройствам

Рефераты по экологическому праву

Рефераты по экономико-математическому моделированию

Рефераты по экономической географии

Рефераты по экономической теории

Рефераты по этике

Рефераты по юриспруденции

Рефераты по языковедению

Рефераты по юридическим наукам

Рефераты по истории

Рефераты по компьютерным наукам

Рефераты по медицинским наукам

Рефераты по финансовым наукам

Рефераты по управленческим наукам

Психология и педагогика

Промышленность производство

Биология и химия

Языкознание филология

Издательское дело и полиграфия

Рефераты по краеведению и этнографии

Рефераты по религии и мифологии

Рефераты по медицине

Рефераты по сексологии

Рефераты по информатике программированию

Краткое содержание произведений

Реферат: ГРЭС 1500 Мвт

Реферат: ГРЭС 1500 Мвт

Министерство топлива и энергетики Российской федерации

Управление учебных заведений

ТОМЬ-УСИНСКИЙ ЭНЕРГЕТИЧЕСКИЙ ТЕХНИКУМ


КУРСОАЯ РАБОТА

по специальности______1005_____________

______________________________________

Тема_________ГРЭС-1500 МВт__________

____________________________________________________________________________

Разработал________________

 

Руководитель  к.т.н доцент Крохин Г.Д___________

Консультанты: к.т.н доцент Крохин Г.Д._________

                           к.т.н доцент Пучков В.С.__________

                           Нестеренко Г.В__________________

 

Консультант-контролер Ляшенко Т.М.___________

 

Шифр   З-1390

 

2000

Содержание пояснительной записки

1. Введение                                                                             

2. Составление расчетной тепловой схемы электростанции. Краткая характеристика турбины.

3. Расчет тепловой схемы на номинальном режиме

4. Определение показателей экономичности электростанции при номинальном режиме для ГРЭС.

5. Определение максимального часового расхода условного топлива.

6. Выбор типа, единичной мощности и количества устанавливаемых котлов.

7.Выбор схемы топливного хозяйства ГРЭС на основном топливе.

8. выбор схемы оборудования ГРЭС.

8.1 Регенеративных подогревателей.

8.2 Деаэраторов.

8.3 Питательных насосов.

9. Выбор схемы главных паропроводов. Определение типоразмеров паропроводов.

10. Выбор схемы главных трубопроводов. Определение диаметров трубопроводов.

11. Определение потребности ГРЭС в технической воде, выбор циркуляционных насосов.

12. Выбор оборудования конденсационной установки.

13. Выбор тягодутьевых установок и дымовой трубы.

14. Выбор системы золоудаления и золоулавливания.

15. Выбор схемы водоподготовки.

16. Перечень средств автоматизации технологической защиты турбины.

17. Описание компоновки основного оборудования главного здания электростанции.

18.Мероприятия по охране труда и пожарной профилактике .

19.Мероприятия по охране окружающей среды.

20. Экономическая часть проекта:

21.Список используемой литературы.

1.   Введение. Краткая характеристика ГРЭС.

Дипломный проект выполнен по теме  «Проект тепловой части ГРЭС с подробной разработкой турбинного отделения котлотурбинного цеха.

Разрабатываемая станция установленной мощностью 1500 МВт, расположена в городе Красноярске .

 Источник водоснабжения прямоточная система с питанием из реки Енисей.

Потребителем мощности является единая электрическая сеть России.

На станции установлено три энергоблока с турбинами К-500-240.

Установленное годовое число часов использования установленной мощности  6800 часов.

Вид топлива – Экибастузский каменный уголь марки СС.

2. Составление расчетной тепловой схемы электростанции.

Турбина К-500-240-2

Одновальная паровая конденсационная турбина К-500-240-2 номинальной мощностью 500 МВт состоит из однопоточных цилиндров высокого и среднего давления и двух двухпоточных цилиндров низкого давления (рис. 1,1).  Турбина предназначена для
непосредственного привода генератора переменного тока, который монтируется  на  общем  фундаменте  с турбиной. Параметры пара, поступающего  на турбину: р=23,5 МПа (240 кгс/см²),

=540°С, после промперегрева: р=3,81 МПа  (38,8 кгс/см²), =540°С, давление в конденсаторах 3,9 кПа. Частота вращения роторов  50 с-², направление вращения – по часовой  стрелке, если смотреть со стороны переднего  подшипника турбины в сторону генератора.

   Турбоустановка К-500-240-2 снабжена развитой системой регенеративного подогрева  питательной воды и всережимными питательными насосами с конденсационными турбинными приводами. Кроме отборов на регенерацию, обеспечивается отпуск пара на теплофикационную установку, состоящую из двух  подогревателей сетевой воды, на подогрев  воздуха, подаваемого в котел, а также на подогрев добавка в цикл химически обессоленной воды, подаваемой в конденсаторы.

Краткая характеристика тепловой схемы

Тепловая схема ГРЭС устанавливает взаимосвязь основных агрегатов и аппаратов  электростанции, при помощи которых осуществляются выработка электрической энергии.

Проектируемая тепловая схема предусматривает установку парогенератора с турбоустановкой К-500-240-2 ХТГЗ.

Парогенератор вырабатывает перегретый пар дня турбины, который поступает в турбину сначала в часть высокого давления; отработав в ЦВД, пар подается промперегреватель парогенератора, после чего подается в часть среднего давления ЦСД. Пар отработавший в ЦСД по двум парам ресиверов  направляется в цилиндры низкого давления. Далее пар выходит на подогрев питательной воды в регенеративные подогреватели Из ЧСД и  ЧНД пар поступает на девять нерегулируемых отборов (регенеративные подогреватели) низкого  давления, ПВД и в деаэратор. Конденсат из подогревателей обычно большей частью сливается в предыдущий подогреватель с более низкой температурой, низким давлением (каскадный слив).

Поступающая в парогенератор вода не должна содержать газов (О2 и СО2), могущих  вызвать коррозию. Газы из воды удаляются как правило в термических деаэраторах, обогреваемых паром. Для этой цели в схеме установлены  деаэратора с деаэрационными колонками ДСП-800, , они включены параллельно, и осуществляют нагрев конденсата до 164,2°С при давлении 0,7 МПа, установлены на высоте 28 м для подпора питательного насоса. Деаэратор является одновременно ступенью нерегулируемого подогрева питательной воды. Из деаэратора питательная вода подается питательными насосами в. регенеративные подогреватели расположенные после питательного насоса, которые называются подогревателями  высокого  давления.

Конденсат турбины, подаваемый насосами через ПНД в охладитель эжектора, отсасывает воздух из конденсата (которому требуется вода как можно низкой температуры), а затем  в охладитель выпоров из уплотнений турбины. Суммарный подогрев конденсата в этих подогревателях бывает до 70°С.

   Для резервирования отборов турбины или для получения пара других параметров, а  также для осуществления оперативного пуска и остановки турбины и котла, установлены редукционно-охладительные установки РОУ, в которых достигается необходимое снижение  давления и температуры пара.

3.Расчет тепловой схемы при нормальном режиме.

Исходные данные:

Прототип: турбина К-500-240-2

Начальные параметры пара и питательной воды: Р0 = 24 мПа, t0=555ºC, t пит. в 265ºС.

Давление пром. перегрева Рпп = 3,7 мПа. Температура пром. перегрева tпп = 555ºC

Конечное давление Р2=Рк= 0,0035 мПа.

Удельный объем конденсата после конденсатора Vк=39,48 .

Температура конденсата на выходе из конденсатора tк = 26,692ºC.

КПД  цилиндра высокого давления hoi цвд=0,93

КПД  цилиндра низкого и среднего давления hoi цсд и цнд = 0,95

КПД генератора hген=0,998, электомеханический КПД hмех=0,992

Проточная часть по отборам

Р. мПа tºC D т/ч
1 5,85 336 100
2 4,15 294 147,05
3 1,75 432 77
4 1,13 374 34,4
5 0,53 286 46,4
6 0,3 223 44,4
7 0,158 169 34
8 0,084 113 7,1+5,8
9 0,0165 56 28,8

1.1       Построение ориентировочного рабочего процесса турбины.

С учетом заданного значения КПД hoi цвд, цсд и цнд, строим hs диаграмму процесса расширения пара в проточной части. Для упрощения расчетов, пренебрегаем потерями в промперегреве, и на выхлопе турбины.

Порядок построения ориентировочного рабочего процесса в турбине, следующий:

1)   По заданному давлению Р0 и температуре t0,  по давлению и температуре промперегрева, Рпп и tпп, по давлению в конденсаторе Рк, с учетом значения КПД.

2)   По известным Ро, Рпп, Рк, hoi, определятся значение энтальпии для каждой из этих точек.

      ho=3365, h2t=1865, hпп=3580,

            Определяем тепловой перепад проточной части турбины.

            Н0ад= h0-h2t=3365-1865=1500 кжд/кг

3)   Внутренний тепловой перепад турбины равен:

Hi= hoi цвд*hoi цсд+цнд*H0ад=1500*0,93*0,95= =1325,25 кДж/кг

Оцениваем предварительно теплоперепад через первую регулирующую ступень h0рс=100 кДж/кг.

Выбираем одновенечную регулирующую ступень.

II Определение ориентировочного расхода пара.

1)             Расход пара на турбину по предварительно заданному КПД .(без учета утечек пара через концевые уплотнения)

D=            Nрэ*10³           =            500000                   =

       Н0т´hoi´hген´hмех         1500´0,88´0,992´0,998

=   382,6 кг/с; 1377 т/ч

где hoi – относительный внутренний КПД турбоустановки

равный   hoi=hцвд´hцсд+цнд 0,88

Расчет подогревателей.

1) Выбираем схему подогрева воды с включением смешивающего подогревателя – деаэратора, и схему перекачки дренажа подогревателей. Распределим регенеративный подогрев с использованием пара из отборов турбины. Для этого определяем три базовых точки:

а) в конденсаторе tк = f(Рк`) = 26,692ºС;

б) в деаэраторе tд = f(Pд) = f(7 бар) = 164,17;

в) за последним по ходу воды подогревателем t п.в. = 265ºС ;

2) В каждом подогревателе низкого давления (пнд) вода должна подогреваться на 20-30ºС, в деаэраторе на 15-30ºС, в подогревателе высокого давления (пвд) на 30-40ºС. Равномерно распределим подогрев конденсата между пнд1 и деаэратором, приняв подогрев в основном эжекторе и охладителе пароуплотнения равной 5ºС , температуру насыщения в деаэраторе tд.нас = 16,8 получим:

tк = t эж + t п.в. = 26,69 + 23,2 = 31,69ºС

tпнд1 = 31,69 + 23,2 = 54,9 ºС

tпнд2 = 54,9 + 23,2 = 78,1ºС

tпнд3 = 78,1 + 23,2 = 101,3ºС

tпнд4 = 101,3 + 23,2 = 124,5ºС

tпнд5 = 124,5 + 23,2 = 147,4ºС

деаэратор = tпнд5+ tд.нас = 147,4+16,8 =164,2ºС

2)   Определяем повышение температуры в пвд.

tпвд= tп.в.-tд/n = 265-164.2/3=33,6ºС

 Где n - число подогревателей высокого давления.

tпвд3=164,2+33,6= 197,8°С

tпвд2= 197,8+33,6=231,4°С

tпвд1=231,4+33,6=265°С

4) Определяем температуры насыщения пара в отборах, как сумму температуры за подогревателем и величины недогрева. (для пнд dtns=3ºС, для пвд dtns=5ºС):

Для пнд:

tns9 = tпнд9 + dtns =54,9 + 3 = 57,9ºС

tns8=tпнд8+dtns=78,1+3=81,1ºС

tns7=tпнд7+dtns=101,3+3=104,1ºС

tns6=tпнд6+dtns=124,5+3=127,5ºС

tns5=tпнд5+dtns=147,4+3=150,4ºС

для пвд:

tns3 = tпвд3 + dtns=197,8+5=202,8ºС

tns2 = tпвд2 + dtns=231,4+5=236,4ºС

tns1 = tпвд1 + dtns=265+5=270ºС

5) По температурам насыщения из таблиц «Теплофизические свойства воды и водяного пара» уточним давление в отборах.

Р9=0,18 бар

Р8=0,49 бар

Р7=1,16 бар

Р6=2,49 бар

Р5=4,75 бар

Р4д=7 бар

Р3=16,55 бар

Р2=31,13бар

Р1=55,05 бар

Определяем долю расхода пара на отбор :

ai=Gi/G

a1=27,1/382,6=0,0708

a2=40,97/382,6=0,107

a3=21,38/382,6=0,0558

a4=9,4/382,6=0,0243

a5=12,8/382,6=0,0331

a6=12,3/382,6=0,0318

a7=9,4/382,6=0,0243

a8=3,58/382,6=0,009

a9=7.7/382,6=0,019

aк примем исходя из условия, что расход в конденсатор составляет 0,674

Sai=1,04

3)   На h-s диаграмме по известным данным отложим параметры отборов.

h01= 3010-2975=35 кДж/кг

h02=2930-2875=55 кДж/кг

h03=3360-3340=20 кДж/кг

h04=3240-3218=22 кДж/кг

h05=3040-3015=25 кДж/кг

h06=2910-2875=35 кДж/кг

h07=2790-2750=40 кДж/кг

h08=2675-2620=65 кДж/кг

h09=2430-2375=55 кДж/кг

(Этот раздел (3) советую проверять)

Определение размеров регулирующей ступени.

Диаметр регулирующей ступени определяется величиной теплового  перепада, и отношением U/C1

1)Тепловой перепад на регулирующую ступень выбирается для  конденсационной турбины большой мощности h0рс = 100 кДж/кг

1) Принимаем степень реакции. r = 0, 14

2) Определяем теплоперепад.

h0с = h0рс´(1-r) = 100´(1-0,1) = 86 кДж/кг

3) Определяем скорость пара на выходе из сопел.

С1= 44,72´f´h0с = 44,72´0,94´Ö86= 389,8м/с

Где ~ =0,94 – скоростной коэффициент сопел

4) Принимаем отношение скоростей наивыгоднейшее для данной  ступени.

U/Сф = 0,45

5) Определяем окружную скорость

U = С1´(U/Сф) = 389,8´0,45= 175,4м/с

6) Определяем средний диаметр ступени

dср = 60´U/pn = 60´219,2/3,14~3000 = 1,11м.

 Где p=3,14        n = 3000 об./мин.

 Определяем размер 1 не регулируемой ступени.

Задаемся рядом тепловых перепадов.

Для активной ступени, примем тепоперепад ступени равным h0 =

60 кДж/кг. (для активной 30-60 кДж/кг),

Степень реакции примем   r = 0,2

1)   Определяем скорость пара на выходе из сопел.

С1= 44,72´f´Öh0.1. = 44,72´0,95´Ö60 = 329,1м/с

Где ф = 0,95 - скоростной коэффициент сопел;

2) Задаем отношение скоростей для 1 не регулируемой активной  ступени.

U/Сф = 0,45

3) Определяем окружную скорость 1 не регулируемой ступени.

U = С1´(U/Сф) = 329,1´0,45 = 148,1м/с

4) Определяем средний диаметр 1 не регулируемой ступени

dср = 60 U/p´n = 60´148,2/3,14´ 3000 = 0,94 м.

Где и =3,14 п = 3000 об./мин.

5) Определяем высоту сопловой решетки.

L1=10³´Gчвд´V1t/pdср´m´С1t´sina1´е

Где Gчвд – расход пара на чвд, рваный 336 кг/с

V1t -  удельный объем пара в конце изоэнторпийного расширения  в соплах, определяется из hs диаграммы. И равен 0,028 м'/кг

С1t – Теоретическая скорость истечения пара из сопловой решетки.

С1t=44,724Öh0.1=346 м/с

е – степень парциальности, принимается равным единице.

a1э – эффективный угол выхода потока из сопловой части.  Принимаем 12°.

m - коэффициент расхода сопловой решетки 0,97

L1=50 мм

Высота рабочей решетки первой не регулируемой ступени.

L2=L1+D1+D2   мм. Значения D1 – внутренней, D2 – внешней  перекыш принимаем из таблиц. D1=1мм, D2=2,5 мм

 L2=53,5 мм.

Построим треугольники скоростей для 1 не регулируемой ступени.

Масштаб: в 1 мм – 5 м/с

Построив входной треугольник, находим угол входа на рабочие

лопатки b1=23°, и W1=180 м/с.

Для построения выходного треугольника, найдем выходной угол

рабочих лопаток

b2=b1-(2°¸4°),   b2=20°

Располагаемый теплоперепад на рабочих лопатках:

h02=r´h0=0,2´60=12 кДж/кг

Найдем энергию торможения пара перед рабочими лопатками:

hw1=hw1²/2000=180²/2000=16,2 кДж/кг

Найдем полное теплопадение на рабочих лопатках:

h02*=h02+hw1=12+16,2=28,2 кДж/кг

Относительная скорость на выходе из рабочих лопаток.

W2= 44,72´y´Öh02=223 м/с

где y=0,94

из полученных данных строим выходной  треугольник.

По треугольнику находим угол a2=50°;

 абсолютную скорость пара  за ступенью

С2=100м/с.

Полученные данные заносим в таблицу 1.

Ориентировочный расчет последней ступени.

Определяем диаметр последней ступени, высоту сопловой и рабочей  лопаток, и теплового перепада.

1)   Диаметр последней ступени


dz=ÖDz´V2z´l/p´C2z´sina

где Dz – расход пара через ЧНД, равен 211 кг/с

V2t – удельный объем пара за рабочей решеткой последней ступени,

равен 39 м³/кг

С2z – абсолютная скорость пара за последней ступенью.

принимаем  240 м/с

l - отношение диаметра к длине рабочей лопатки.

 l=dz/L2z l=2,43;

a2z – угол потока абсолютной скорости; принимаем  90°

Подставив приведенные значения, получим:

dz=5,7 м, так как в данной турбине ЧНД выполнена двухпоточной,

dz=dz/2=5,7/2=2,39м.

Определим окружную скорость.

 

Uz=dz´p´/60 = 2,39´3,14´3000/60 = 375,23 м/с

где n – число оборотов турбины, n=3000

Угол выхода b2 находим по формуле:

b2=arcsin´C2z´sina1z    =36°

                        W2z

где a1z=33°

W2z находим по треугольнику скоростей W2z=440 м/с

масштаб: в 1мм 5м/с

3) Определим длину рабочей лопатки.

L2z=dz/l=2,39/2,43=0,983 м.

4) Определяем скорость пара на выходе из сопел.

С1=Uz´(U/Сф) = 375,32´0,7 =263 м/с.

Где (U/Сф) – нивыгоднейшее соотношение скоростей для последней  ступени. Для реактивных ступеней принимаем 0,7.

5) Определим угол входа b1 по треугольникам скоростей. b1=40°

6) Определяем теплоперепад в соплах последней ступени.

h0с=1/2000[(C1/j)²-mс´С2пр²]  кДж/кг

Где j=0,95

mс для реактивной ступени равна единице.

C2пр=0,75´С2z = 240´0,75 = 180 м/с

Подставив имеющиеся данные получим:

h0с=22,1 кДж/кг

7) Определяем теплоперепад срабатываемый на рабочих лопатках.

h0л=1/2000[(W2/y)²-W1]

где y - скоростной коэффициент рабочих лопаток, y=0,95

W1 находим по треугольнику скоростей, W1= 210 м/с.

  Подставив имеющиеся данные получим:

h0л =85,2 кДж/кг

8) Определяем теплоперепад последней ступени.

h0z=h0с+h0л= 22,1+85,2= 107,3 кДж/кг

9) Определяем степень реакции ступени:

r=h0л/h0и=85,2/107,3=0,79.

Таблица 1.

4. Определение показателей тепловой экономичности при номинальном режиме.

4.1 Определение удельного расхода пара.

Мерой технического совершенства конденсационного турбоагрегата в  первом приближении может служить удельный расход пара d0

d0=        D0       =     1500000      =3 кг/кВт *ч

              Wэ             500000

где D0 расход пара на турбину в кг/ч; Wэ электрическая мощность турбоагрегата, в кВт/ч.

4.2 КПД ГРЭС.

Общий КПД энергоблока  составляется из четырех КПД.

hс=hпг*hтр*hту*hсн

hср КПД собственных нужд  0,95

где hпг – КПД парогенератора, hпг=0,9175

hтр – КПД транспорта тепла,  hтр= 0,985

hту – КПД  турбоустановки равен: hту=  3600

                                                           qту

где qту – удельный расход тепла на турбоустановку

qту=    Qту           =4164860000  = 8329,72 кДж/(кВт/ч)

           Wэ                  500000

где Qту расход тепла на турбоустановку

Qту= D0(h0-hп.в.)+Dпп(hпп``-hпп`)=

= 1500000(3365-1156)+1252000(3580-2900)= =4164860000 кВт

hту=      3600              =   3600        =0,43

              qту                      8329,

тогда КПД энергоблока будет равен:

hс=0,92*0,985*0,43*0,96= 0,37

Так как на проектируемой ГРЭС устанавливается три одинаковых энергоблока, то общий КПД ГРЭС будет равен КПД блока.

4.3 Определение удельного расхода условного топлива.

удельный расход условного топлива (нетто) определяется по формуле:

 bу=  34,12   =   34,12   = 92,21г/МДж=332 г/кВт

          hс             0,37

5. Определение максимального часового расхода условного топлива.

Максимальный часовой расход условного топлива будем считать по формуле.

Вmax= n´Qка.max   ´4,19/10³

         hка´Qраб. усл.

Где  n – число котлов;

Qка max - максимальный расход тепла на парогенератор;

 Qраб. усл – низшая теплота сгорания условного топлива 7000 ккал или  29330 кДж;

hка – КПД котлоагрегата;

Ву.max =    n´4562850000    ´4,19/10³= 510,т/ч

                       0,92´7000

Максимальный часовой расход натурального топлива будем считать по формуле

Вmax= n´Qка.max     ´4,19/10³

            hка´Qраб. нат.

Где  n – число котлов;

Qка max - максимальный расход тепла на парогенератор;

 Qраб. усл – низшая теплота сгорания натурального топлива (экибастузский каменный уголь марки СС) 4000 ккал или   16760 кДж;

hка – КПД котлоагрегата;

Вн.max=    n´4562850000  ´4,19/10³=  893,т/ч

                       0,92´4000

6.Выбор типа , единичной мощности и количество устанавливаемых котлов. Краткая характеристика котла.

6.1 По данным задания, и характеристике устанавливаемой турбины, выбор котла произведем по рекомендации (л2; стр5). Выбираем прямоточный однокорпусный котел СКД типа П-57, котороый предназначен для сжигания  углей Экибастузского месторождения. На проектируемой ГРЭС установим три котла данного типа, по одному на каждый энергоблок.

6.2 Расчет тепловой нагрузки парогенератора.

Qка=D0(h0-hп.в.)+Dпп(hпп``-hпп`).

где D0 - производительность парогенератора в  кг/ч.

Dпп – расход вторичного пара.

Qка= 1650000(3365-1156)+ 1350000 (3580-2900)= 4562850000 кВт.

6.2 Расход   топлива подаваемого в топку.

 Вр=            Qка        =  296726, кг/ч, или   296,7 т/ч

           Qр´hка´4,19

где Qр – низшая теплота сгорания топлива  4000 ккал

(Экибастузский каменный уголь марки СС)

hка – КПД парогенератора.

Суточное потребление одного котла:

Всут= 296,7´24=  7121,5 т.

Суточное потребление топлива электростанцией на три энергоблока:

Вст. сут= 7121,5´3=  21364,3 т.

Месячное потребление:

Вмес.= 21364,3´30= 640929 т.

6.3 Котел П-57 энергоблока 500 МВт

Однокорпусный прямоточный паровой котел (моноблок) для сжигания экибастузских каменных углей, отличающимися многозольностью, абразивностью и тугоплавкостью золы, получил маркировку П-57

(Пп-1650-255). В связи с особыми свойствами золы компоновка агрегата  выполнена ЗиО по Т -образной схеме с твердым шлакоудалением . Паропроизводительность котла 460 кг/с (1650 т/ч) давление пара 24,5 МПа, температура 545°С, расход вторичного пара 375 кг/с, температура промперегрева -545°С, температура" питательной воды  270°С,  КПД- 91,75 %.

Рабочая среда в котле движется двумя подъемными потоками. Зона максимальной теплоемкости вынесена в конвективный газоход. Средняя массовая скорость в НРЧ -2000 кг/(м³с). Экраны из плавниковых труб, агрегат цельносварной с уравновешенной тягой. Панели СРЧ, экранирующие боковые стены; на уровне выходного окна из топки образуют фестон. Змеевики конвективных поверхностей перпендикулярны фронту, длиной в половину глубины конвективной шахты, поэтому все камеры трубных пакетов расположены на фронте и задней стене; пакеты опираются через стойки на пять  балок. Все поверхности нагрева размещены симметрично относительно вертикальной  оси котла, что облегчает регулирование параметров по потокам воздействием подачи  вода - топливо: На растопочных режимах включают - рециркуляционные насосы ограниченной производительности.

Промперегреватель размещен по ходу газов после конвективного перегревателя  высокого давления (КПВД) в зоне умеренных температур газов Тракт промперегревателя выполнен в четыре потока, которые направляются последовательно в паро-паровой теплообменник 1, конвективные поверхности первой 5 и второй 4 ступеней.  Регулирование  промперегрева осуществляется изменением пропуска вторичного пара  через ППТО.

На котле установлено восемь углеразмольных мельниц, одна из них резервная, система пылеприготовления с прямым вдуванием. 24 горелки установлены в два яруса  на боковых стенах топки. Очистка стен топки осуществляется аппаратами  ОПР-5,  а устройства по очистке конвективных поверхностей отсутствуют в расчете на самоочистку за счет наличия в зоне экибастузских каменных углей песка.

В конструкции котла воплощены прогрессивные идеи, в том числе: крупноблочное  изготовление поверхностей  нагрева (коэффициент блочности 78 %, число блоков -  3150 шт.), возможность выполнения. Механизированного ремонта, автоматизация процессов регулирования в широком  диапазоне нагрузок   др. Головные агрегаты показали высокую надежность и экономичность в работе, что позволило котлу П-57 присвоить Знак качества. В связи с повышением поставочной зольности экибастузского  угля ЗиО  провел дальнейшую модернизацию агрегата с изменением  наименования  П-57-3. (л3; стр…..)

6.4 Выбор системы пылеприготовления для котла П-57

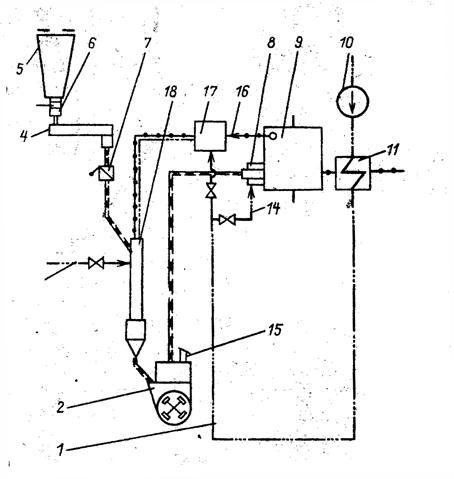
Выбираем индивидуальную систему пылеприготовления с прямым вдуванием – с непосредственной подачей пыли в топку без промежуточного бункера пыли.

Для экибастузского каменного угля, характерезующегося большим выходом летучих (30%), целесообразно применение молотковых мельниц.

Выбираем восемь молотковых мельниц типа ММТ –2000/2590/750, производительностью 44 т/ч, одна их которых резервная.

рис.  6.2    индивидуальная система пылеприготовления с прямым вдуванием с молотковыми мельницами с газовой сушкой.

1 – короб горячего воздуха, 2 – мельница, 3 – присадка холдного воздуха, 4 – питатель сырого топлива, 5 – бункер сырого топлива;

6 – шибера; 7 – клапан мигалка; 8 – горелка; 9 – котел; 10 – дутьевой вентилятор; 11 – воздухоподогреватель; 14 короб вторичного воздуха; 15 – взрывные клапана; 16 – газоход; 17 – смеситель; 18 – устройство нисходящей сушки.

7. Выбор схемы топливного хозяйства ГРЭС на основном топливе.

Основным топливом проектируемой ГРЭС является экибастузский

каменный уголь, марки СС.

 СХЕМА ТОПЛИВНОГО ХОЗЯЙСТВА ЭЛЕКТРОСТАНЦИИ

Топливно-транспортное хозяйство современных тепловых электростанций представляет собой комплекс сооружений, машин и механизмов, предназначенных для:

1) приема поступающих и отправки разгруженных железнодорожных маршрутов;

2) размораживания топлива в полувагонах  перед разгрузкой, если поступает смерзшееся  топливо;

3) разгрузки поступивших железнодорожных маршрутов;

4) внутристанционного транспорта топлива к бункерам парогенераторов или на склад;

5) хранения и выдачи топлива со склада;

6) дробления топлива до установленного  нормами размера кусков;

7) распределения топлива по бункерам  парогенераторов.

Кроме того, в тракте топливоподачи устанавливают механизмы для улавливания и  удаления металлических и древесных предметов из потока топлива с целью предохранения  технологического оборудования от поломок,  пробоотборные и проборазделочные установки,  а также контрольно-измерительные приборы,  измеряющие количество поступающего топлива.

Подъездные пути.

Уголь на ГРЭС поставляется железнодорожным транспортом.

Подъездные пути эксплуатируются по договору с предприятием Министерства путей сообщения, (ЕТП) заключаемому на основании «Единого технологического процесса работы подъездных путей  и станций примыкания».Норма простоя вагонов с углем под разгрузкой  определяется  в результате расчетов в ЕТП затрат времени на следующие операции: подачу маршрута с углем со станции примыкания на ГРЭС; взвешивание угля, разбивку маршрута на ставки и маневровые работы на ГРЭС; разгрузку вагонов с углем ; сбор порожняка иего возврат на станцию примыкания.

  Топливо доставляется в  четырехосных полувагонах грузоподъемностью 63 тонны.

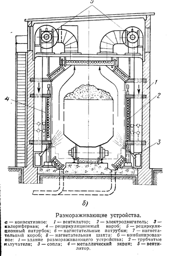
7. 1 Размораживающие устройства.

Восстановление сыпучести смерзшегося в полувагонах топлива осуществляют разогревом его в размораживающих устройствах. Для проектируемой ГРЭС наиболее эффективным является пленочное оттаивание топлива от стенок полувагонов в размораживающем устройстве, с последующей разгрузкой их вагоноопрокидывателем.

рис 7.2

На рисунке показано размораживающее устройство комбинированного типа. Стенки полувагонов нагреваются от  трубчатых излучателей обогреваемых паром и имеющих температуру поверхности 150 - 200°С. Кроме трубчатых  излучателей в размораживающем устройстве установлены вентиляторы для циркуляции горячего воздуха.

Расчет вместимости размораживающего устройства.

Вместимость определяется по формуле : n=    B(tр+tм)

где tр=1,5 ч и tм=0,5ч; В – Часовой                       q

расход топлива эл.станцией т/ч; q – усредненная грузоподъемность полувагона  т.  Размораживающее устройство – двухпутное, комбинированное.

n= 877´(1,5+0,5)          =28 вагонов.

             63

Разгрузочные устройства с вагоноопокидывателям.

Этот тип разгрузочного устройства применяют при поступлении  на электростанции низкокачественного топлива с повышенной влажностью, низкой сыпучестью, склонного к смерзанию при низкой температуре.

Применять вагоноопрокидыватели экономически целесообразно на тепловых электростанциях с расходом топлива свыше 150 т/ч. Разгрузочные устройства с вагопоопрокидывателями позволяют снизить количество эксплуатационного персонала, занятого на разгрузке,  уменьшить длительность простоя железнодорожных полувагонов на территории ТЭС, разгружать большое количество топлива в минимально короткие сроки.

На электростанциях с расходом топлива, от 400 до 1250 т/ч, как правило, устанавливают  два вагоноопрокидывателя.

На проектируемой ГРЭС установим два роторных вагоноопрокидывателя, которые разгружают полувагоны поворотом их вокруг продольной оси на 175°. (рис      )

Роторные вагоноопрокидыватели требуют значительного заглубления подбункерного помещения.

рис 7.3

МЕХАНИЗМЫ ВНУТРИСТАНЦИОННОГО

ТРАНСПОРТА

Транспорт твердого топлива от разгрузочных устройств до бункеров сырого топлива  в главном корпусе, на склад и со склада осуществляется ленточными конвейерами. Ленточные конвейеры могут быть следующих типов: стационарные и передвижные с движением ленты в одном направлении и с движением ленты попеременно в одном из двух направлений (реверсивные).

Ленточные конвейеры имеют высокую производительность, являются надежным и экономичным механизмом непрерывного действия,  ремонт и обслуживание которого сравнительно просты. Конвейеры применяют горизонтальные, наклонные, горизонтально-наклонные. Угол наклона конвейеров с гладкой  лентой принимается не более 18° для всех  видов твердого топлива. В местах загрузки  конвейера крупнокусковым топливом угол  наклона конвейера ограничивается 12 – 15°  для предотвращения скатывания крупных  кусков.

Через пересыпные короба топливо загружается на верхнюю рабочую ветвь ленты и  транспортируется к месту разгрузки, которая  происходит через концевые барабаны или осуществляется специальными разгрузочными устройствами в необходимых местах.

   Основным элементом ленточного конвейера является бесконечная лента, огибающая два или несколько барабанов и поддерживаемая роликами. Скорость движения ленты конвейера принимается от 2,0 до 2,5 м/с.

рис 7.4

Для обеспечения надежности на электростанциях всегда устанавливают два параллельных конвейера. Конвейеры устанавливаются в закрытых отапливаемых помещениях, включая галереи и эстакады. Высота галерей (эстакад) в свету не ниже 2,2 м, ширина исходя из обеспечения прохода между конвейерами не менее 1000 мм и боковых проходов 700 мм. Через каждые 75 - 100 м предусматриваются переходные мостики через конвейеры.

Дробильные устройства.

До поступления в мельницы парогенераторов топливо измельчается в молотковых дробилках до размеров кусков не более 15 мм, а при высокой влажности до 25 мм. Для станции с потреблением топлива в 877 т/ч, выберем две молотковых дробилки . М20´30, производительностью 1000 – 1250 т/ч. 

  по одной на каждую нитку

Топливные склады.

Топливные склады выполняются открытыми. Склад, организуемый для планового и  долговременного хранения топлива в целях обеспечения электростанции  топливом при длительных задержках в его доставке, называется резервным складом или резервной частью склада. Склад, организуемый для  систематического выравнивания расхождения в количестве прибывающего на электростанцию топлива и подаваемого в данный момент в бункера котельной, называется расходным.

Резервные и расходные склады угля располагаются на территории  электростанции поблизости от главного корпуса и могут совмещаться на  одной площадке. В этом случае из-за нечеткой границы между ними значительная часть резервного склада переходит в разряд расходного. На  таких совмещенных складах хранить топливо необходимо в соответствии с нормами, установленными для резервных складов.

Вместимость складов угля и сланцев принимается, как правило, равной  30-суточному расходу топлива. Если электростанция проектируется с учетом расширения, то  должна предусматриваться и возможность расширения склада.

Для определения емкости топливного склада рассчитаем месячный расход топлива при максимальной нагрузке.

Часовой расход топлива на проектируемой ГРЭС - 877 т, суточный – 21048 т, месячный -  631440 т.

Для проектируемой ГРЭС выбираем  кольцевой склад  с поворотным штабелеукладчиком и роторным перегружателем.

На рисунке          показана компоновка  такого склада емкостью 650000 т. угля.

Из разгрузочного устройства ленточными  конвейерами уголь подается к штабелеукладчику. Поворотным штабелеукладчиком, на  стреле которого установлены два конвейера:  стационарный и передвижной реверсивный –  топливо подается на склад. Склад в этом случае имеет форму кольца трапецеидального  профиля. Со склада топливо выдается поворотным роторным перегружателем, мост которого вращается относительно той же вертикальной оси центральной колонны, что и штабелеукладчик.

Центральная вертикальная колонна и бетонное кольцо., ограничивающее внутренний  диаметр штабеля, являются опорами, по которым происходит передвижение штабелеукладчика и роторного перегружателя.

Описанная механизация угольного склада  позволяет полностью или частично автоматизировать складские операции с производительностью до 1800 – 2000 т/ч.


8. Выбор оборудования схемы ГРЭС

8.1 РЕГЕНЕРАТИВНЫЕ ПОДОГРЕВАТЕЛИ

Регенеративная установка, предназначенная для подогрева поступающей в котел питательной воды паром из нерегулируемых отборов турбины, состоит из части  низкого давления (от  конденсатора  до  деаэратора)  и  части высокого давления  (от деаэратора до  котла). Основными элементами регенеративной установки в части низкого давления являются пять поверхностных подогревателей  ПНД-1, ПНД-2, ПНД-З, ПНД-4, ПНД-5, находящихся по водяной стороне од напором  конденсатных насосов. В части высокого давления для регенеративного подогрева питательной воды предназначены три поверхностных подогревателя ПВД-7, ПВД-8 и ПВД-9,  находящихся по водяной стороне под напором питательных насосов.

Вся регенеративная установка выполнена  однониточной.

Характеристики регенеративных подогревателей, применяемых в турбоустановке, приведены табл. 8.1 (л2; стр 114)

таблица 8.1

номер

отбо

ра

тип подогревателя

поверхность

нарева

м²

параметры паорвого пространства (в корпусе)

давле

ние воды

кгс/см²

рас

ход воды

т/ч

гидравлическое сопротивление

кПа

давле

ние МПа

температура

°С

пнд1

пнд2

пнд3

пнд4

пнд5

VIII

VII

VI

V

IV

ПН-800-29-7-III НЖ

ПН-800-29-7-II НЖ

ПН-800-29-7-I НЖ

ПН-900-29-7-II НЖ

ПН-900-29-7-I НЖ

722

1000

705

1015

900

0,49

0,49

0,49

0,49

0,49

53,6

94,2

109,9

225

285

2,84

2,84

2,84

2,84

2,84

1067

1067

1179

1179

1271

59,78

67,62

79,38

89,2

79,38

пвд7

пвд8

пвд9

III

II

I

ПВ-200-380-17

ПВ-200-380-44

ПВ-200-380-61

2150

2150

2150

1,67

4,31

5,98

423

304

345

37,24

37,24

37,24

1705

1625

1504

404,7

453,7

327,32

В состав питательно-деаэраторной установки входят деаэраторы, пусковые подогреватели низкого давления, предвключенные  (бустерные) и главные питательные насосы, приводные турбины питательных насосов с вспомогательным оборудованием.

8.2 Деаэратор.

Выбираем  деаэратор  производства  БКЗ с  деаэрационной  колонкой  ДП-1600  производительностью по  питательной воде 1600 т/ч, который осуществляют нагрев конденсата до  164,2 °С и удаление из него    неконденсирующихся газов.   Номинальное   давление  в деаэраторах    0,69 МПа   (7,0 кгс/см²).   Деаэратор   установлен  на отметке 28 м, что обеспечивает необходимый подпор давления на всосе  бустерных насосов с запасом от вскипания  13 °С.

Питание деаэратора паром осуществляется из следующих источников:

из IV отбора при эксплуатации блока с нагрузкой выше 0,7-0,75 максимальной;

из III отбора в диапазоне нагрузок 0,5-0,7 минимальной;

из коллектора собственных нужд  при нагрузке ниже 0,5 максимальной ( в том числе в период пуска и после сброса нагрузки.)

 

8.3 Приводная турбина энергоблока.

Приводная турбина питательных насосов энергоблока 500 МВт с одновальным турбоагрегатом соединяется со стороны выхлопной части с зубчатой муфтой с валом питательного насоса, а со стороны переднего подшипника  через одноступенчатый редуктор  бустерным насосом.

Турбина питается паром из IV отбора главной турбины,. Энергоблок имеет по два турбонасоса с производительностью каждого, равной 50% полной при совместной работе Каждый из турбонасосов обеспечивает 60% полной нагрузки энергоблока по питательной воде.(л1;стр 166)

Основные характеристики турбопитательного агрегата приведены в таблице 8.2 (л2;стр 12)

таблица 8.2

наименование показатель
приводная турбина  ОК-18ПУ
тип конденсационная , без отборов пара
количество в блоке 2
мощность номинальная 10,3 МВт
расход пара номинальный 49 т/ч
давление пара перед стопорным клапаном номинальное 0,94 МПа
температура пара 378°С
давление в конденсаторе номинальное 4,5 кПа
частота вращения 4600 об/мин
КПД от стопорного клапана 78,1%

8.4 Питательные насосы.

Питательные насосы являются важнейшими из вспомогательных машин паротурбинной электростанции; их рассчитывают на подачу питательной воды при максимальной мощности ТЭС с запасом не менее 5%.

При установке прямоточных парогенераторов необходимое давление воды на выходе из насоса рассчитывают по формуле:

                                                                                     -6

Рн=Рпг+Рс.пг+Нн´rн´g´10+Рсн»Рпг´1,25»30Мпа

Где

Рпг Давление в котле  240 кгс/см²

Нн – уровень от верхней точки трубной системы парогенератора до нуля- 53м.

rн – плотность воды в напорном тракте кг/м³

Рс.пг – гидравлическое сопротивление котла, Рс.пг»4¸5 МПа

rн – средняя плотность питательной воды в напорном тракте,

Рсн – гидравлическое сопротивление ПВД, трубопроводов, арматуры и т.д.

Блоки мощностью 500 мВт оснащаются двумя питательными насосами ПТН-950-350, производительностью 950 м³/ч, при давлении на напоре 34,4 мПа (350 кгс/см³)

каждый из которых обеспечивает более 60% нагрузки блока по питательной воде.

9. Выбор схемы главных паропроводов

Свежий пар  из котла двумя паропроводами подводится в паровые коробки двух стопорных клапанов высокого давления .

Определим тип и размеры паропровода:

Внутренний диаметр паропровода свежего пара определяем по формуле:


dр=0,595ÖDV/c

где D – паропроизводительность котла т/ч;

V – объем пара (t0;P0)   0,01375

c – скорость свежего пара 45 м/с

dр=0,595Ö1650´0,01375/45=  0,422 м.

Так как с котла уходят два паропровода по , то полученный внутренний диаметр одного паропровода равен 211 мм, то по таблице 2 (л6; стр 33), округляя в большую сторону, принимая во внимание то, что условный диаметр  dу кратен 25,  находим наиболее подходящий тип стационарного паропровода:

dу=250,

dн´s = 377´70 мм.

где s – толщина стенки паропровода.

Марка стали для изготовления паропровода 15Х1М1Ф;

Тракт промежуточного перегрева выполнен двухниточным. Отвод пара после ЦВД осуществлен трубопроводами d=630´17 марка стали 16ГС. Подвод вторично перегретого пара к двум блокам клапанов в корпус ЦСД – трубопроводами  d=720´22. марка стали 15Х1М1Ф

10. Выбор схемы питательных трубопроводов. Определение диаметра трубопровода.

 

Питательный трубопровод состоит из одной линии.

Определение диаметра трубопровода.

dв = 0,595 ÖD U/c,    м, где

Определяем диаметр питательного трубопровода:

D- расход среды –1650 т/ч

с- скорость среды – 5,5 м/с

U-удельный объем среды – 0,0012452, (tп.в 265°С;P 30 МПа)


dв=0,595Ö1650´0,0012452/5,5   = 0,363 м.

Расчетный внутренний диаметр dв=363 мм.,  при давлении создаваемом питательным насосом Рраб=30 МПа, и температуре питательной воды tп.в.=265°С; округляя в большую сторону по таблице 16-7(л1; стр250)   определяем наиболее подходящий тип трубопровода dв=400 мм.; Dн´s=530´65 марка стали 15ГС.

Где Dн – диаметр наружный; s – толщина стенки;

11. Определение потребности ГРЭС в технической воде, выбор циркуляционных насосов.

Прямоточные системы технического  водоснабжения

По условию задания, рассчитываемая ГРЭС имеет оборотную систему технического водоснабжения, с водозабором из реки Енисей.

Прямоточное водоснабжение – технически  наиболее совершенная и, как правило, экономичная система водоснабжения, и позволяет получать более глубокий  вакуум в конденсаторах турбин по сравнению с другими системами водоснабжения

При прямоточной системе водоснабжения главный корпус электростанции размещают  вблизи от берега реки. Территория ГРЭС должна быть незатопляемой во время максимального уровня воды  в реке. При значительных колебаниях этого  уровня в течение года циркуляционные насосы обычно размещают в береговой насосной станции (рис.11.1). На крупных ТЭС   применяют осевые насосы поворотно-лопастного типа с вертикальным валом. Они работают с подпором воды в 2 – 5 м, и их колеса размещаются ниже уровня воды (рис.11.2). Подача насосов может изменяться на  работающем агрегате специальным устройством дистанционного поворота лопастей рабочего колеса (например, от – 7 до +4 угловых градусов). Перед поступлением в насосы  вода освобождается от крупных плавающих  или взвешенных предметов и механических  решетках, очищаемых специальными решеткоочистными машинами. После «грубой»  очистки вода проходит через тонкие вращающиеся сетки, представляющие собой вертикальную бесконечную ленту, огибающую барабаны сверху и снизу. Сетки снабжены промывным струйным устройством, автоматически включающимся при их загрязнении.

Расход технической воды на охлаждение конденсатора и прочих потребителей технической воды.

Таблица 11.1

назначение расходуемой воды

расход воды

%

расход воды

м³/ч

конденсация пара 100 2´25740
охлаждение газа и воздуха турбогенератора и крупных электродвигателей 3 1544,4
Охлаждение масла турбоагрегата 1,5 772,2
охлаждение подшипников вспомогательных механизмов 0,5 257,4

продолжение таблицы 11.1

назначение расходуемой воды

расход воды

%

расход воды

м³/ч

гидротранспорт золы и шлака 0,2 102,96
итого 105,2 54156,96

Выбор циркуляционного насоса:

Необходимый напор насосов определяют  с учетом действия сифона. Нагретая вода сливается по трубе из конденсаторов в колодец,  в котором поддерживается необходимый ее  уровень. Сливной трубопровод погружают выходным сечением под уровень воды; труба заполняется водой и благодаря действию атмосферного давления на поверхность воды в колодце в трубе поддерживается столб воды  высотой hсиф=7¸8 м (с учетом гидравлического сопротивления и остаточного воздуха,  в частности выделяемого из воды). Благодаря  этому от насосов требуется подъем воды от  уровня ее в реке, до уровня в сливном колодце на высоту hг не включая высоту подъема  ее до верха конденсатора,  если последняя не  превышает высоты сифона.

Уровень воды можно обеспечить, выполняя в сливном канале порог; это позволяет отказаться от сливных колодцев. Действие сифона  основано на известном из физики явлении перетока жидкости (воды) из верхнего сосуда  в нижний через изогнутую трубку, заполняемую водой, вытесняющей воздух, с коленом  выше уровня воды в верхнем сосуде теоретически на величину атмосферного давления, равного 0,1 МПа.

В нашем случае вода подается из нижнего  сосуда (реки) в верхний (сливной колодец  или канал) насосами., поднимающими ее на  высоту hг равную разности уровней в сосудах  (рис.11.2). При пуске системы, воздух из  нее удаляют пусковыми эжекторами или вакуум-насосами.

Общий напор насосов (давление, создаваемое насосом), МПа, составится в виде суммы:

DР=DРг+DРк+DРс

где DРг;=ghг – давление, необходимое для  подъема воды на геометрическую высоту, , МПа;

g»9,81 кН/м³»0,01 МН/м³ – удельный  вес воды;

hг геодезическая высота подъема воды, равная разности отметок сечения в месте сброса и уровня в заборном устройстве,  3м;

DРг=0,01´3=0,03

 DРк – гидравлическое сопротивление конденсатора, равное 0,04 МПа;

 DРс – гидравлическое сопротивление всасывающих и  напорных трубопроводов с арматурой, » 0,01 МПа;

DР=0,03+0,04+0,01=0,08 МПа » 8 м.вод.ст

Значения DРг, и DРс стремятся всемерно уменьшить, размещая электростанцию и машинный  зал по возможности ближе к реке с минимальным превышением их над уровнями воды  в ней.

Мощность, потребляемую насосами, МВт,  определяют по формуле

Wн= VDР/

где V – объемный секундный расход охлаждающей воды, м/с³;

DР – напор (давление), создаваемое насосом, МПа.

Wн=14,8´0,08/0,8

По справочнику по насосам выберем по два насоса ОП6-145 на один энергоблок.

технические характеристики насоса:

подача воды:  18710-36160 м³/ч

напор:             8,1-4,4  м.вод.ст.

частота вращения: 365 об/мин

Максимальная мощность 338-796 кВт

Каждый из насосов обеспечивает более 60% потребности блока в тех. воде.

На проектируемой ГРЭС установим шесть циркуляционных насосов ОП6-145 , по два на каждый энергоблок.

Сливные каналы подогретой технической  воды, закрытые на территории электростанции и открытые за ее пределами, сливают воду в реку через водосброс, обеспечивающий допустимую разность температур

рис 11.1

рис 11.2

12. Выбор оборудования конденсационной установки.

Основные требования и обоснования выбора конденсатора.

Среди основных требований, предъявляемых к современным конденсаторам, одними  из главных являются обеспечение высоких  теплотехнических показателей и удовлетворение эксплуатационных требований при высокой степени надежности оборудования с учетом блочности турбоустановки и сверхкритических параметров.

Решение вышеперечисленных требований,  в свою очередь, должно основываться на оптимальных конструктивно-технологических  показателях.

Высокие   теплотехнические   показатели  конденсатора определяются главным образом  эффективной работой его  трубного пучка и  характеризуются равномерной паровой нагрузкой различных участков трубного пучка;  минимальным уровнем парового  сопротивления; отсутствием переохлаждения конденсата;  высокой степенью деаэрации конденсата  с обеспечением в нем нормативных показателей по кислороду;  оптимальными аэродинамическими условиями движения отработавшего пара из выхлопного патрубка ЦНД к трубному пучку  конденсатора.

Особенности турбоустановки и эксплуатационные требования обеспечиваются с наличием соответствующих устройств в  конденсаторе, удовлетворяющих различным

режимам работы блока; повышенной плотностью конденсатора по  водяной стороне в условиях длительной эксплуатации; конструктивным решением по конденсационному устройству, исключающим останов  блока при нарушении плотности как о водяной, так и по паровой стороне.

В соответствии с количеством ЦНД в конденсационной установке приняты два конденсатора – по одному на каждый ЦНД. Конденсаторы являются однопоточными по воде,  т. е. имеют по одному подводящему и сливному патрубку. Определено это невозможностью компоновки на одном конденсаторе четырех (два подводящих и два сливных)  циркуляционных водоводов сравнительно большого диаметра. Применение однопоточных конденсаторов, в свою очередь, привело к их объединению по паровому пространству  для предотвращения полной потери мощности  блока при вынужденном отключении одного  из конденсаторов.

Конденсаторы связаны с ЦНД переходными патрубками, между которыми установлены так называемые перепускные патрубки, объединяющие паровые  пространства двух конденсаторов. В  связи с тем, что  в фундаменте турбоустановки между ЦНД установлена дополнительная колонна, подпирающая поперечную  балку, связь по паровому пространству осуществляется  двумя перепускными патрубками, площадь которых  принята максимально возможной из условия их расположения в фундаменте и на переходном патрубке и  составляет примерно 25%, площади выхлопа ЦНД. В  соответствии. с этим при отключении одного конденсатора мощность блока должна быть снижена примерно  на 50 – 40%.

   Проведенные испытания блока с одним отключенным конденсатором подтвердили возможность работы при мощности 60 – 70%. Перепускные патрубки  конструктивно выполнены с системой компенсаторов,  которая, с одной стороны, обеспечивает компенсацию  температурных удлинений ЦНД от своих фикс-пунктов, а с другой – восприятие усилий от атмосферного давления на стенки переходного патрубка в зоне расположения компенсаторов.

Соединение переходного  патрубка с турбиной и конденсатором осуществляется при  помощи сварки, по этому для компенсации температурных удлинений выхлопного патрубка  ЦНД  от опорных лап, переходного  патрубка и корпуса конденсатора последний  устанавливается на пружинных опорах, которые, в свою очередь, устанавливаются а бетонные подушки фундамента турбоустановки.

Для обеспечения нестационарных режимов работы блока (пуск и сброс нагрузки) предусмотрены специальные приемносбросные устройства, через которые осуществляется прием пара в конденсаторы, а также  устройство для приема растопочной воды  котлов.

В днище конденсатора расположены конденсатосборники деаэрационного типа, предназначенные для сбора конденсата с одновременной дополнительной его деаэрацией.  В конденсатосборнике поддерживается постоянный уровень конденсата, чем обеспечивается необходимый подпор на всасе конденатных насосов. Емкость конденсатосборников выбрана из условия обеспечения  указанного подпора исходя из времени срабатывания клапана рециркуляции и производительности конденсатных насосов.

Конденсаторы:

Количество       2

Тип                 К-11520, поверхностные двухходовые по охлаждающей воде, с центральным отсосом воздуха,

Поверхность охлаждения    2*11520 м²

Количество охлаждающих трубок     2*14740

Длина трубок          9 м.

Сортамент трубок          28*1 мм, 28*2 мм

Материал трубок         сплав МНЖ-5-1

Расход охлаждающей воды             2*25740 м³/ч

Гидравлическое сопротивление по водяной стороне. 39,2 кПа (4 м вод. столба)

Конденсатные насосы  I ступени :

Расчетный напор в коллекторе конденсатного насоса первой ступени определяется по формуле:

Ркн1=DРбоу+DРэж+DРтр+DРкн2–Рк

где DРбоу – гидравлическое сопротивление обессоливающей установки, 0,6 МПа;

DРэж гидравлическое сопротивление эжекторной группы, 0,07 МПа;

DРтр - гидравлическое сопротивление трубопроводов, 0,05 МПа;

DРкн2 –необходимое давление на всасе конденсатного насоса второй

ступени, 0,2 МПа;

Рк – давление в конденсаторе 0,0035 МПа;

Ркн1=0,6+0,07+0,05+0,2-0,0035= 0,916»92 м.вод.ст

По литературе (л7; стр 369) выбираем конденсатный насос:

количество:                     2 ( 1 резервный)

тип:                                  КсВ-1600-90

производительность:     1600 м³/ч

напор:                              90 м вод. ст.

   

Конденсатные насосы  II ступени :

Напор конденсатных насосов второй ступени определяем следующим образом:

Ркн2»Рд-DРкн2+DРпнд+DРрку +DРгеод

где Рд – давление в конденсаторе, 0,7 МПа;

DРкн2 – давление создаваемое конденсатным насосом первой ступени, 0,2 МПа;

DРпнд сопротивление теплообменников  ПНД1 – 0,05978 МПа; ПНД2 – 0,06762 МПа; ПНД3 0,07938  ПНД4 – 0,0892;  ПНД5 – 0,07938 МПа ; DРпнд =0,376 МПа;

Рск – общее гидравлическое сопротивление ПНД, трубопроводов с арматурой » 0,2 МПа -

DРгеод – геодезический подпор, определяется разницей в высотах места входа воды в конденсатный насос и уровнем установки деаэратора. 28м. вод.ст.»0,28 МПа

DРрку – сопротивление регулирующего клапана уровня 0,4 МПа;

Ркн2»0,7-0,2+0,376+0,2+0,28+0,4» 1,756 МПа»180 м.вод.ст

По литературе (                     ) выбираем конденсатный насос второго подъема:

количество:                     2 ( 1 резервный)

тип:                                   ЦН-1600-220

производительность:     1600 м³/ч

напор:                                 220м вод. ст.

13. Выбор тягодутьевых установок и дымовой трубы.

Выбор тягодутьевых установок сводится к подбору машины, обеспечивающей производительность и давление, определенные при расчете воздушного и газового трактов, и потребляющей наименьшее количество электроэнергии при эксплуатации.

Для расчета дутьевого вентилятора определим расход

Vдв=Вр´V0(aт-Daт-Daпл+Daвп)´(tхв+273)/273

где Vдв количество холодного воздуха засасываемого дутьевым вентилятором.

Вр – расчетный расход топлива  кг/с;

V0 – теоретическое количество воздуха  м³/кг; aт– коэфф. избытка воздуха в топке;

Daт – коэфф. присосов воздуха в топке;

Daпл - коэфф. присосов воздуха в системе пылеприготовления;

Daвп – коэфф. присосов воздуха в воздухоподогревателе;

tвзп – температура воздухоподогревателя

tх.в= 30°С

Vдв=296000´4,42(1,2-0,7-0,04+0,25)´(30+273)/273= =1030985 м³/ч

Подача воздуха вентиляторами должна обеспечивать полную производительность парогенератора с запасом в 10%

Vдв.расч =1,1´Vдв=1,1´674= 741,4 м³/с= 1134083 м³/ч

Оснащаем парогенератор двумя дутьевыми вентиляторами, производительностью не менее  567048 м³/ч, один дутьевой вентилятор должен обеспечивать не менее половинной нагрузки парогенератора,. номограмме VII-86 (л4; стр. 249) выбираем центробежный дутьевой вентилятор ВДН-24´2-IIу

Выбор дымососов сводится к подбору машины, обеспечивающей производительность и давление, определенные при расчете воздушного и газового трактов, и потребляющей наименьшее количество электроэнергии при эксплуатации.

Расход газов (в м³/ч) рассчитывается по формуле:

Vд=Вр(Vг.+DaV0)´Jд+273

                                      273

где

Вр – расчетный расход топлива  кг/с;

V0 – теоретическое количество воздуха  м³/кг; aт– коэфф. избытка;

Vг. объем продуктов горения  на 1 кг топлива;

Da - присос воздуха в газопроводах за воздухоподогревателем для котлов с электрофильтрами Da=0,1;

V0 – теоретическое количество воздуха  м³/кг;

Vд=296000(479+01´4,42)´145+273  = 2371227 м³/ч

                                                  273

Подача дымовых газов дымососом должна обеспечивать полную производительность парогенератора с запасом в 10%

Vд.р=1,1´Vд= 2608349,7 м³/ч

Оснащаем парогенератор двумя осевыми дымососами, один дымосос должен обеспечивать не менее половинной нагрузки парогенератора производительность дымососа должна быть не менее, 1304174,85 м³/ч. По таблице    (                 )

 выбираем осевой двухступенчатый дымосос ДОД – 43.

характеристики дымососа ДОД – 43 :

подача: 1335/1520  тыс. м³/ч

Напор: 3500/4500 Па,

КПД: 82,5%

Число оборотов: 370

Потребляемая мощность: 1570/2500 кВт.

Расчет дымовой трубы.

Определение высоты дымовой трубы производим в такой последовательности:

Определяем выброс золы:

                  6

Мзл=10   ´Вр/3600´(1-hзу/100)´

´[(1-q4/100)´Ар/100+q4/100]

где Вр – расчетный часовой расход топлива всеми котлами работающими на одну трубу, т/ч;

hзу – КПД золоуловителя 99%;

q4 – потеря теплоты от механического недожога = 1.

Мзл=1000000´893/3600(1-99/100)´

´[(1-1/100)´38,1/100+1/100]= 960 г/с

Определяется выброс SO2 ;

                       6

М SO2=10   ´Вр/3600´Sр/100´mSO2/mS

где Sр –содержание серы в рабочей массе топлива, 0,8%;

mSO2 , mS – молекулярная масса SO2 и S, соотношение их равно 2.

М SO2=1000000´893/3600´0,8/100´2= 3968,8 г/с

Определяется выброс оксидов азота

М NO2=0,034b1´k´Вр´Qр.н.(1-q4/100)b3

Где b1 – безразмерный поправочный коэффициент  учитывающий качество топлива, 1,0;

Вр расход натурального топлива 248 кг/с

b3 – коэффициент учитывающий конструкцию горелок 1,0;

k -  коэффициент характеризующий выход оксидов азота на 1т сожженного условного топлива, k=12D/(200+Dн )

где D и Dн  действительная и номинальная паропроизводительность котла. » 10;

Qр.н низшая теплота сгорания натурального топлива  16,760 МДж/кг

М NO2= 0,034´1´10´248´16,760(1-1/100)´1=1399 г/с

 Определяется диаметр устья трубы


Dу.тр=Ö4Vтр/pwвых

где Vтр – объемный расход продуктов сгорания через трубу, 2371227 м³/ч=  658,7 м³/с

wвых – скорость продуктов сгорания при выходе из дымовой трубы, 20 м/с;

Dу.тр= aÖ4´658,7/3,14´20=6,4 м

Определяем минимальную высоту дымовой трубы.


Н=Ö А´     МSO2+ПДКso2/ПДКNO2´MNO2  Öz/VтрDt

                                           ПДК so2

Где А – коэффициент зависящий от метреологических условий местности, 200;

ПДКso2 – 0,5; ПДКNO2  0,085 мг/м³

z -  число дымовых труб 1,

Dt разность температуры выбрасываемых газов и средней температуры самого жаркого месяца в подень » 110°с;

Н=Ö 200´ 3968,8 +0,5 /0,085 ´1399      Ö1/ 658,7 ´110

                                        0,5

Н= 342 м

Высота устанавливаемой трубы 342 м.

14.Выбор системы золоулавливавния и золоудаления.

Примеси, заключающиеся в дымовых газах, загрязняя атмосферный воздух, оказывают при определенных концентрациях весьма  вредное влияние на человеческий организм и  растительный мир, а также увеличивают износ  механизмов, интенсифицируют процессы коррозии металлов, разрушающе действуют на  строительные конструкции зданий и сооружений. Для снижения количества выбросов золы в атмосферу, на проектируемой ГРЭС устанавливаются комбинированные золоуловители.

Комбинированные золоуловители

При сжигании многозольных видов топлива на электростанциях большой мощности устанавливают двухступенчатую очистку дымовых газов от золы, комбинируя батарейные циклоны и электрофильтры,а также мокрые золоуловители  и электрофильтры.

Суммарную степень очистки газов в двухступенчатом  золоуловителе  определяют  по  формуле

= h'+ h`` (1 – h'),

где h' и h`` – соответственно степень очистки  газов в 1-й и 2-й ступенях.

Для блока 500 МВт, работающего  на многозольном экибастузском угле, зола которого имеет высокое удельное электрическое  сопротивление установка состоит из мокрого золоуловителя с трубой Вентури и четырехпольного электрофильтра. В первой ступени  улавливалось 90% золы, содержащейся в дымовых газах, а также происходили их увлажнение и охлаждение до 75 – 80'С. Это способствовало снижению удельного электрического,  сопротивления слоя золы и уменьшало вероятность образования обратной короны в электрофильтре. Общая степень очистки дымовых  газов на этой установке составила  99,0 – 99,5%.

Стоимость таких высокоэффективных  золоуловителей достигает около 7% общих затрат на сооружение электростанции.

Золоудаление

Система удаления и складирования золы  и шлака современных крупных электрических  станций, называемая золоудалением, представляет собой сложный комплекс, включающий специальное оборудование и устройства,  а также многочисленные инженерные сооружения. Ее назначением является удаление  шлака, образующегося в топках, и золы, уловленной золоуловителями парогенераторов,  транспорт их за пределы территории электростанции, часто на значительное расстояние (до  10 км и больше), и организация их складирования на золошлакоотвалах.

На проектируемой станции осуществлено гидравлическое золошлакоудаление.

Наиболее универсальной  и  экономичной  является система гидрозолоудаления с багерными насосами, транспортирующими совместно золовую и шлаковую пульпу. В настоящее  время для мощных электростанций осуществляют, как правило, эту систему гидрозолоудаления.

На рисунке показана общая схема совместного гидравлического удаления  золы и шлака багерными насосами. Образующийся в топке парогенератора шлак поступает в шлакоудаляющее устройство 1, из которого удаляется в самотечный канал 2 системы гидрозолоудаления, в него подается также смывными  устройствами 3 из бункеров 4 летучая зола, уловленная в золоуловителе. Из канала гидрозолошлаковая смесь (пульпа) поступает  к багерным насосам 5, которые по стальным  трубопроводам 6 перекачивают ее на золошлакоотвал. Перед поступлением к багерному насосу пульпа проходит через центральную  дробилку 7 (если отсутствуют дробилки  у шлакоудаляющих устройств под парогенераторами), где происходит измельчение шлака  до кусков размером не более 25 – 30 мм, а затем через металлоуловитель 8. Осветленная  вода поступает из отвала в отстойный бассейн,  если осуществлена замкнутая (оборотная схема), либо в ближайший водоем, если водоснабжение системы гидрозолоудаления выполнено по разомкнутой (.прямой) схеме.

.

Для удаления шлака из топок парогенераторов большой паропроизводительности, образующегося в твердом  состоянии, служат механизированные устройства непрерывного действия со шнековым транспортером (БКЗ и ЗиО).

Шнековые транспортеры (рис.    ) имеют ванну с наклонным лоткообразным дном.  Производительность этих транспортеров 4 – 8 т/ч. Диаметр шнека 500 – 600 мм, длина 5 – 8 м, угол наклона 15° – 25° . Как правило, за  шнеком, под шлаковой течкой располагают  дробилки.

рис (          )

1бункер холодной воронки; 2 ванна; 3 кольцо для дробления шлака; 4 шнек; 5 привод шнека; 6 шлаковая течка; 7 люк; 8 опорная конструкция; 9 втулка; 10 подшипник;

Шлаковые и золовые каналы в пределах котельного цеха выполняют раздельными. Типовыми являются железобетонные каналы, облицованные плитами из литого базальта,  со съемными металлическими перекрытиями на уровне пола,  который выполняют с уклоном не менее 1° в сторону каналов гидрозолоудаления.

Насосы подающие шлакозолвую пульпу называют багенными. В качестве багерных насосов используют центробежные насосы . Обычно используют грунтовые насосы, которые располагают так, чтобы их всасывающий патрубок всегда находился под заливом.

(л1; стр. 347 – 353)

15. Выбор схемы водоподготовки.

Обычно исходная вода подвергается специальной обработке  для улучшения ее качества. Установки, на которых производится такая обработка, называется водоподготовительными, а вода, полученная в результате обработки, –  химически обработанной. Вода, поступающая в. котельные агрегаты, называется питательной, а находящаяся  в них – котловой (или испаряемой) водой.

Конденсатными насосами первой ступени  турбинный конденсат подается на блочную обессоливающую установку (БОУ) , где происходит его очистка от суспендированных и ионизированных загрязнений. После  БОУ конденсатными насосами второй ступени  конденсат направляется через подогреватели низкого давления (ПНД) в деаэратор , куда поступает также и  конденсат греющего пара подогревателей высокого давления (ПВД).

Так как в деаэратор направляется не только турбинный конденсат, но и другие потоки, то выходящая из  деаэратора смесь называется уже питательной (а так же деаэрированной) водой. Подогретая паром  до 428 К  хорошо дегазированная (т. е. освобожденная от растворенных газов  О2, СО2, N2) питательная вода из деаэратора поступает в бустерные насосы 15, подающие ее на всас питательных насосов . Последние через ПВД  направляют ее в котельный агрегат, где и замыкают  описанный здесь контур энергоблока.

В этом замкнутом цикле имеются потери конденсата, значения для которых для энергоблоков с давлением 24 МПа находится в пределах 1-2% паропроизводительности котла. Эти потери восполняются обессоленной водой подготовленной на специальной водоподготовительной установке (ВПУ). 

У каждой турбины электростанции с прямоточными парогенераторами предусматривается установка для обезжелезивания и глубокого обессоливания 100% конденсата, выходящего из конденсаторов.

Блочная обессоливающая установка предназначена для очистки полного расхода основного конденсата и работает по схеме:  обезжелезивание на намывных целлюлозных  фильтрах, обессоливание на фильтрах смешанного действия с выносной регенерацией ионитов. Производительность установки –  1600 м~/ч.

В состав БОУ входят четыре целлюлозных  фильтра Æ2000 мм производительностью  500 м³/ч каждый, три фильтра смешанного  действия Æ3400 мм производительностью  900 м³/ч каждый с выносной регенерацией.

Дистиллят испарителей электростанций с прямоточными парогенераторами обессоливается в конденсатоочистках турбин.

Внутренние поверхности баков деаэрированной воды, запаса и сбора конденсата должны иметь защитные  покрытия.

На ТЭС блочной структуры общий дополнительный  запас обессоленной воды в баках без давления, устанавливаемых вне зданий, принимается на 40-минутный расход  воды  при  максимальной нагрузке, но :не менее  6000 м³.

Для каждого энергоблока устанавливают один дренажный бак емкостью 15 м³ с двумя насосами.

На электростанциях предусматриваются аппаратура,  насосы, трубопроводы и т. и. для предпусковых и эксплуатационных водно-химических промывок, а также устройства для предупреждения стояночной коррозии  парогенераторов, турбин и прочего оборудования и трубопроводов.

16. Перечень средств автоматизации и технологической защиты турбины

Автоматическая система защиты (АСЗ) – электрогидравлическая, с электрическими измерителями и гидравлической  исполнительной частью. Только защита по  превышению частоты вращения, (автомат  безопасности)  выполнена  механогидравлической. Надежность и быстродействие АСЗ достигаются дублированием элементов, исключением золотниковых. пар, введением положительных обратных связей, периодическими проверками на остановленной и работающей турбине.

 ПРИНЦИПИАЛЬНАЯ СХЕМА  АСЗ.

НАЗНАЧЕНИЕ И ВЗАИМОДЕЙСТВИЕ ЭЛЕМЕНТОВ

На обеих модификациях турбины АСЗ  выполнена беззолотниковой, с положительной  обратной связью во всех ступенях усиления.  На турбинах К-500-240-2 эта система проектная, на К-500-240 – установлена взамен золотниковой при модернизации.

Система защиты (рис. 16.1) имеет четыре (пять на К-500-240) сервомотора 1, 8 и четыре регулятора (два механических автомата  безопасности по предельной частоте вращения 15 и два защитных устройства 12 по  остальным сигналам) и выполнена с двумя ступенями усиления. В промежуточных ступенях использованы выключатели с положительной обратной связью.

Все сервомоторы АСЗ – односторонние, открытие производится конденсатом из напорных линий 2, 5, закрытие – пружинами.  В рабочую камеру каждого сервомотора через ограничительную шайбу осуществляется  постоянный подвод конденсата,  слив из камеры зависит от положения пластины беззолотникового выключателя д, 7.

Положение каждой пластины выключателя зависит от соотношения давлений над ней  р3 и под ней  рр. При  р3 >0,33 Рр, пластина  прижата к нижнему упору, слив из рабочей  камеры закрыт и сервомотор открыт. При  Р3< 0,33 Рр, пластина прижата к верхнему упору, открывая слив и позволяя сервомотору под действием пружин закрыться с максимальным быстродействием.

В случае, Р3=0,33Рр  пластина находится  во взвешенном равновесном положении.

Беззолотниковые выключатели сервомоторов являются второй ступенью усиления АСЗ. Первой ступенью усиления являются также .  беззолотниковые защитные устройства 12,  управляющие сливами из линий защиты 4 и  6. Защитных устройств – два, установлены  они параллельно. При срабатывании каждого закрываются все стопорные клапаны, для  открытия клапанов необходимо взведение  обоих защитных устройств. Каждое из защитных устройств управляет сливом из двух линий защиты и линии 1-го усиления 18 (управляющей регулирующими клапанами).  Давление в одной линии защиты определяет  положение находящихся с одной стороны  турбины клапанов высокого давления и промперегрева,  ложное падение давления приводит к закрытию клапанов только одной стороны и не препятствует продолжению работы  турбины со сниженной нагрузкой в течение  некоторого времени.

Основным элементом защитного устройства является пластина, работающая подобно  пластине выключателя сервомотора. Снизу  пластина нагружена давлением из линий защиты 4, б и 1-го'усиления 18, сверху давлением импульсной линии защиты 10. Подвод  в последнюю  постоянен, сливами управляют четыре клапана. Два клапана, размещенные  непосредственно в корпусах защитных устройств, жестко связаны с электромагнитами защиты и кнопками ручного останова турбины. При нажатии на одну кнопку или срабатывании одного электромагнита происходит  перемещение клапана соответствующего защитного  устройства,  Два других  клапана  открывают слив из импульсной линии от 'действия механических  автоматов безопасности  при повышении частоты вращения ротора.

Общая схема управления стопорными и регулирующими клапанами, показана на рис 16.2


рис.16.1

рис.16.2

17. Описание компоновки главного здания электростанции.

Главным корпусом тепловой электростанции называют главное ее здание, внутри которого размещается основное и связанное с ним  вспомогательное энергетическое оборудование, осуществляющее главный технологический  процесс преобразования теплоты сгорания топлива в электрическую энергию.

В главный корпус подается топливо,  подлежащее использованию, вода для охлаждения отработавшего пара турбин и для других целей и т. д. Из главного корпуса отводятся охлаждающая вода после конденсаторов, дымовые газы парогенераторов, шлак и  зола при использовании твердых топлив и т. Из главного корпуса выводится конечная продукция электростанции – электрическая энергия.

В соответствии с установкой в главном  корпусе основных энергетических агрегатов парогенераторов и турбоагрегатов  в состав  главного корпуса входят два основных помещения (отделения): парогенераторное и турбинное (машинный зал) и, кроме того, так  называемое промежуточное помещение между  парогенераторным и турбинным помещениями  для различного вспомогательного оборудования турбоагрегатов и парогенераторов. Промежуточное помещение выполняют многоэтажным (в виде «этажерки»); наличие его  способствует устойчивости строительных конструкций главного корпуса, включающих,  в частности, колонны наружных (фасадных)  стен машинного зала и отделения парогенераторов.

В промежуточном помещении находятся  деаэраторы с баками, иногда бункеры топлива и оборудование пылеприготовления. Оно выполняется или  однопролетным в виде совмещенного бункерно-деаэраторного помещения. Кроме того,  в нем размещают РОУ и БРОУ, трубопроводы, электрическое распределительное устройство собственного расхода и тепловые щиты,  в том числе блочные щиты управления. Эти  щиты размещают на основном уровне обслуживания, составляющем –10 м и совпадающем с таковым в помещениях турбоагрегатов и парогенераторов. Совмещенное бункерно-деаэраторное помещение  входит в состав парогенераторного отделения

Парогенераторное помещение

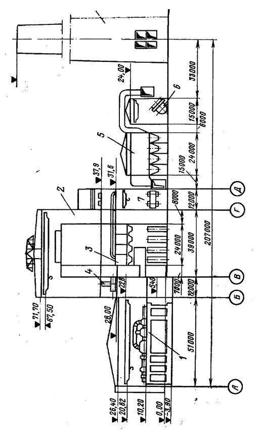
Компоновка энергоблоков 500 Мвт электростанции, использующей экибастузские угли включает парогенератор Т-образной конструкции, способствующей снижению скоростей дымовых газов в двух  конвективных шахтах, и турбоагрегат  500 Мвт, установленный поперек машинного  зала (рис.        ).

 Парогенератор опирается  на самостоятельный фундамент. Бункеры и  молотковые мельницы устанавливаются между парогенераторами, регенеративные воздухоподогреватели и конвейеры топливоподачи – в пристройке к помещению парогенератора. Ячейка энергоблоков имеет размер  66 м, пролет машинного зала 51 м.

Часть вспомогательного оборудования парогенераторов: воздухоподогреватели регенеративного типа, электрофильтры  дымососы  и дутьевые вентиляторы устанавливают в пристройке к помещению парогенераторов.

Компоновка помещения турбогенератора.

Решения, реализованные в компоновке основного и вспомогательного оборудования,  способствуют обеспечению высоких показателей надежности, экономичности и ремонтопригодности турбоустановки.

Компоновка выполнена для условий работы турбоагрегата в моноблоке с одпокорпуспым котлом П-57 с укрупненным вспомогательным оборудованием, паропроводами свежего и вторичного пара. Турбина сопрягается с генератором ТГВ-500,

В основу выполненной компоновки заложены следующие основные принципы.

1.   В ячейке размещается все оборудование турбоустановки, за исключением системы  регенерации фильтров блочной обессоливающей установки, которая размещается у колонн ряда А (фасадной стены) в ремонтном  пролете.

2. Для размещения оборудования при ремонте турбоагрегата предусмотрен дополнительный пролет за каждым нечетным блоком.

3. Основная отметка обслуживания турбоагрегата 10,2 м, глубина подвала 4,2 м.

4, Б машинном зале в этажерке у ряда  А) размещаются из электрической части  только аккумуляторные батареи - и установка  ионного возбуждения, Размещение РУ( Н=  =6 кВ и 0,4 кВ предусмотрено в бункерно-деаэраторной этажерке. Там же на отметке  10,2 м напротив основной ремонтной площадки между соседними энергоблоками размещается блочный щит управления.

5. Трассы кабельных коммуникаций приняты проходными ~2´2 м) и предусмотрены  с обеих сторон фундамента турбоагрегата.

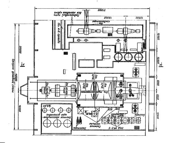
На рис. (             ) показаны план машинного зала для головного образца турбоустановки К-500-240-2.

Компоновка турбоустановки  поперечная,  т. е. продольная ось турбоагрегата перпендикулярна оси колонн главного корпуса ГРЭС.  Ось турбоагрегата совпадает с осью котла.  Такое расположение турбоагрегата обеспечивает наиболее короткие связи с котлом  по  свежему и вторично перегретому пару, питательной воде, симметричность основных трубопроводов и отсутствие неуравновешенных поперечных компенсационных усилий на корпусе турбины. Относительно оси турбины компоновка несимметричная: слева от оси по  виду со стороны ряда Б в сторону ряда А – 1,5 пролета, справа – 2,5 пролета

Слева от оси турбины расположены: конденсатные насосы первой и второй ступеней;  блочная обессоливающая установка; эжекторная группа; подогреватели низкого давления (ПНД-1 – ПНД-5); сетевые подогреватели (основной и пиковый бойлеры с охладителем дренажа); дренажные насосы ПНД и  насосы сетевых подогревателей.

Справа от оси турбины размещены: питательная группа (питательные и бустерные  насосы); подогреватели высокого давления  (ПВД-7 – ПВД-9); оборудование масляного  хозяйства турбины и генератора.

Для данной компоновки принята ячейка  машинного зала размерами 51´48 м, что соответствует удельной площади 4,54 м'/Мвт

Значительная насыщенность ячейки оборудованием потребовала многоярусного размещения узлов и трубопроводов установки и  ремонтных площадок. Примерами такого размещения могут служить: маслохозяйство турбоустановки, расположенное под ремонтной  площадкой отметки 10,2 м, конденсатные  дренажные, сетевые и другие насосы со стороны ПНД под площадкой отметки 5,6 м, на  которой устанавливаются эжекторы пусковые,  сальниковый и другие.

18. Мероприятия по охране труда и пожарной профилактике по котельному или турбинному отделению котлотурбинного цеха.

Охраной труда называют систему организационных и технических мероприятий, осуществляемых на производстве для защиты здоровья и жизни работников от вредных условий, несчастных случаев и травматизма.

Охрана труда состоит из двух самостоятельных разделов промышленной санитарии  (санитарно гигиенические мероприятия) и техники безопасности (мероприятия по технической охране труда).

Промышленная санитария включает мероприятия по борьбе с вредными воздействиями на организм человека промышленных ядов, газов, пыли, производственного шума, а также по рациональному устройству отопления, вентиляции и освещения.

Техника безопасности включает в себя мероприятия по защите работников от несчастных случаев, возникающих на производстве, а также по предупреждению этих случаев.

Промышленная санитария. Для снижения температуры воздуха в помещениях и на рабочих местах кроме общей вентиляции устраивают местную вентиляцию, подавая к рабочим  местам свежий и более холодный воздух, увлажняемый при необходимости разбрызгиваемой  водой. Для работы в барабанах котлов и других местах с высокой температурой применяют  специальные душирующие установки.

При температуре выше 40-45 С и работе средней тяжести независимо от влажности и  скорости движения воздуха охлаждение тела человека не наступает, что может вызвать тепловой удар.

Поэтому в барабанах остановленных котлов, в которых относительная влажность очень высока, запрещается работать при температуре выше 45 С, а при более низких температурах после 20 мин работы устанавливается отдых вне барабана продолжительностью  также 20 мин.

Работа в топках и газоходах при температуре на рабочих местах выше 60 С не допускается. При более высоких температурах работа должна производится в теплой спецодежде  и валенках.

Освещенность рабочих мест. Напряжение в нормальной осветительной сети равно 127  или 220 В, оно опасно для здоровья и жизни людей, попавших под напряжение. Поэтому напряжение местного освещения, аппаратуры, приборов, органов управления, водомерных колонок и других элементов паровых котлов, которые обслуживаются людьми в непосредственной близости от осветительной аппаратуры, должно быть не более 36 В.

При работах в барабанах, топках, газоходах котлов, а также в мельницах, шахтах, коробах, воздухопроводах и других тесных местах с хорошей проводимостью тока человек  может попасть под ток. В таких случаях применяют освещение напряжением не выше 12 В, питающееся от специальных трансформаторов. Для освещения указанных мест служат переносные лампы со шнуром длиной 25-40 м.

Условия работы в котельных цехах электростанций требуют от каждого рабочего знания правил техники безопасности и их беспрекословного выполнения. Несчастные случаи с  людьми происходят главным образом из-за незнания правил или их нарушений. Поэтому все  рабочие котельных цехов проходят специальное обучение правилам безопасности, которое  включает в себя следующие формы:  вводный инструктаж;  индивидуальное обучение по инструкциям и пособиям;  инструктаж перед началом работы;  периодический инструктаж по общим вопросам техники безопасности и инструктаж на рабочем месте; организованное обучение на курсах;  проработка отдельных вопросов техники безопасности на собраниях.

Пожарная безопасность. Противопожарные мероприятия при ремонте оборудования имеют профилактический характер. К ним относятся, в основном, режимные мероприятия, устраняющие непосредственные или возможные причины возникновения пожаров.

Места производства электро-, газосварочных и других огневых работ должны быть согласованы с пожарной охраной, обеспечены средствами пожаротушения (огнетушитель или  ящик с песком, лопата и ведро с водой). При наличии вблизи или под местом этих работ сгораемых конструкций (лесов, подмостей, настилов и т.п.) последние должны быть надежно  защищены от возгорания металлическими экранами или политы водой, а также должны быть  приняты меры против разлета искр и попадания их на сгораемые конструкции и нижележащие площадки.

Ремонтные площадки должны содержаться в чистоте. Не допускается загромождение проходов и подступов к пусковым и электрораспределительным устройствам, а также к пожарному инвентарю.

Ветошь, промасленные обтирочные материалы после употребления следует складывать в специально предназначенные для них металлические ящики. Случайно пролитые горючие жидкости (керосин, масла и т.д.) необходимо немедленно собрать и удалить с места  производства работ.

Бензин, керосин и смазочные материалы должны храниться в металлической таре, запирающимся металлических шкафах. Их количество не должно превышать суточной нормы. Допускается только раздельное хранение горючих жидкостей, баллонов с кислородом и барабанов с карбидом кальция в безопасных кладовых.

Различные нагревательные приборы (отопительные, производственные) должны содержаться в исправности, а после окончания работы приводиться в такое состояние, чтобы  они не могли послужить причиной возникновения пожара. Особенно тщательно надо следить за состоянием электропроводок и предотвращением коротких замыканий, при которых  нередко возникают пожары.

Средства пожаротушения должны храниться на видных, легкодоступных местах и содержаться в постоянной готовности. Весь персонал должен знать местонахождение средств  пожаротушения и уметь приводить их в действие.

Организационные мероприятия, обеспечивающие безопасность работ. К числу мероприятий, обеспечивающих безопасность работ при ремонте теплосилового оборудования электростанций, относятся: оформление работы нарядом или распоряжением; соблюдение  специальных правил допуска к работе; осуществление регламентированного надзора во время работы; соблюдение правил перевода на другое рабочее место; оформление перерывов и  окончания работ.

Нарядом называют письменное распоряжение на работу, определяющее место, время, условия проведения работы и необходимые меры безопасности, а также состав бригады и  фамилии работников, ответственных за безопасность работ. Перечень работ выполняемых по нарядам, устанавливается на каждой электростанции.

Право выдачи нарядов и распоряжений на ремонт котельного оборудования предоставлено начальникам котельных (котлотурбинных) цехов и их заместителям, инженерам и  мастерам этих цехов, а также при необходимости начальникам смен станции, если они уполномочены распоряжением по электростанции.

После получения наряда ответственный руководитель работ выполняет общий инструктаж членов бригады и осуществляет допуск к работе. Производитель работ допускает к  работе и инструктирует каждого члена бригады на его рабочем месте.

Точное выполнение перечисленных организационных мероприятий обеспечивает  безопасное проведение работ на действующем оборудовании или вблизи него.

18.1.Мероприятия по охране труда.

Техника безопасности при производстве ремонтов оборудования турбинных цехов.

Важными мероприятиями при подготовке и проведению ремонтов являются мероприятия по технике безопасности. Анализ несчастных случаев , имевших место при ремонтах оборудования, свидетельствует о том, что преобладающее большинство несчастных случаев является результатом невыполнения установленных Правил по технике безопасности вследствие неудовлетворительного знания персоналом этих правил, а в некоторых случаях из-за пренебрежительного отношения к этим правилам как со стороны рабочих, так и инженерно-технических работников. Для ликвидации несчастных случаев необходимо безусловно выполнять все технические и организационные мероприятия, направленные на обеспечение безопасной работы персонала.

В период подготовки к ремонту необходимо провести с персоналом инструктажи по технике безопасности, проверить наличие и исправность защитных средств, подъемных и транспортных устройств, такелажа, проверить состояние инструмента. Недопустимо использовать при ремонте непроверенные подъемные и транспортные механизмы; такелажные приспособления, неисправный или не отвечающий требованиям техники безопасности  инструмент. Все защитные средства, подъемные  транспортные механизмы и такелажные приспособления должны быть проверены в сроки, установленные для них  Правилами по технике безопасности и результаты проверки должны быть записаны в журнал. Крюки, рым болты и скобы должны иметь клеймо завода-изготовителя и паспорт с указанием грузоподъемности;

Электродрели и другой ручной инструмент с электроприводом должны быть исправными и должны иметь  заземляющий провод. Паяльные лампы должны быть проверены и дата последней проверки указана на бирке;  диэлектрические перчатки должны иметь штамп., на котором указаны дата последнего испытания и напряжение, на которое они испытывались. Переносные лампы  необходимо выполнять на безопасное напряжение: 36 в  для сухих помещений и 24 – 12 в – для сырых.

Перед началом ремонта необходимо принять меры,  исключающие попадание пара и воды из паропроводов  и питательных магистралей, находящихся в рабочем состоянии, а также из дренажных трубопроводов как  в турбину, так и в другие агрегаты, подлежащие вскрытию и ремонту. Для этого турбоустановка должна быть  отключена от общих паропроводов и линий питательной воды задвижками, маховики которых запираются на  цепь с замком, и на задвижках вывешиваются плакаты  «Не включать – работают люди». Точно так же должны быть закрыты на замок приводы задвижек и вентили  открытых дренажей.

К вскрытию турбины можно приступать только тогда, когда после отключения ее задвижками, как это  указывалось выше, будет установлено отсутствие давления в паропроводе перед турбиной. Вскрытие крышек  цилиндров является весьма ответственной операцией, и приступать к подъему крышки цилиндра можно только  после того, как мастером будет проверена правильность строповки крышки. При подъеме и закрытии крышек  цилиндров, выемке и установке роторов и других тяжелых деталей команды должны подаваться только одним человеком. Во время подъема крышки цилиндра ни  в коем случае нельзя класть руки под крышку и производить какие-либо работы с нижним фланцем и с другими деталями, находящимися под крышкой до тех пор, пока она не будет перенесена на специально отведенное место. Переноску крышки цилиндра, как и других деталей, следует производить плавно, без рывков. Стоять и  проходить под поднятым грузом категорически запрещается.

При строповке тросами за рымы (например, при  вскрытии и закрытии подшипников, выемке и установке диафрагм и др.) необходимо следить, чтобы рымы были  ввернуты до отказа. Выемка и установка на место ротора должны производиться при помощи специально предназначенных для этой цели приспособлений. Подъем ротора можно начинать только после проверки правильности строповки.

При разборке автоматического стопорного клапана  необходимо принять меры к осторожному опусканию  пружины, в противном случае пружина может ударить  с большой силой. При выемке клапана следует строповать за крестовины.

При работе в нижней части цилиндра низкого давления отверстие под горловиной конденсатора должно  закрываться специальными деревянными щитами.

Зачистку гребней лабиринтовых уплотнений, во избежание ранений рук, следует, производить в рукавицах.  В случае, когда при центровке турбины поворот ротора производят краном, нельзя становиться против натягивающего троса. 

Ремонт регенеративных подогревателей, водоподогревателей теплофикационной установки и других теплообменных аппаратов может производиться только после отключения их по пару и по воде и после освобождения их от воды и пара. Отключающая арматура должна быть заперта на цепи с замком и на ней должны  быть вывешены плакаты «Не включать – работают люди». Ключи от замков должны храниться у начальника смены и передаваться по дежурству с соответствующими записями в журнале. Если отключающая арматура по своему состоянию не может обеспечить надежного отключения, то на трубопроводах необходимо устанавливать заглушки. Если снятие давления в корпусе теплообменного аппарата или на участке трубопровода производятся путем разъема фланцевого соединения  (при отсутствии дренажных и продувочных линий), необходимо принимать меры предосторожности. Снижение давления следует производить в таких случаях постепенным отвинчиванием гаек без снятия их с болтов до  тех пор, пока давление не будет равно нулю, Начинать  отвинчивать гайки надо со стороны, противоположной  той, на которой находится человек, производящий эту  работу,

Замки с отключающей арматуры можно снимать  только после того, когда мастер убедится в том, что все  работы окончены, заглушки сняты и рабочие ушли с ремонтируемого участка.

Подтяжку болтовых соединений после ремонта разрешается производить на работающем аппарате или на  участке трубопровода только в том случае, если давление не превышает 3 – 4 ат,

При ремонтах задвижек и другой запорной арматуры  с электроприводами обязательно должно быть снято  напряжение и удалены предохранители с цепи, питающей электродвигатель. На ремонтируемой запорной арматуре долины быть вывешены плакаты «Работать  здесь».

Обжатие сальников без снятия давления разрешается только на трубопроводах низкого и среднего давлений. При выполнении этой работы должен обязательно  присутствовать начальник смены.

При производстве ремонтных работ с оборудованием турбинного цеха приходится производить работы в баках и резервуарах (баки деаэраторов, резервные баки  питательной воды и др.). Работа внутри баков и резервуаров разрешается в том случае, если обеспечивается  достаточная естественная, или принудительная вентиляция в них. Достаточность вентиляции устанавливается  путем проверки качества воздуха в резервуаре. На работу внутри резервуаров следует назначить не менее двух человек, один из которых должен находиться вне резервуара и наблюдать за состоянием человека, работающего внутри. Перед закрытием бака или резервуара  после ремонта мастер должен лично удостовериться, не  остался ли случайно кто-либо из рабочих внутри резервуара, а также не остались ли там инструменты или  посторонние предметы.

Перед работой в дренажных каналах сначала необходимо специальным способом проверить отсутствие там  газа. Такая проверка путем бросания в канал зажженных спичек, бумаги, пакли и т. п. не допускается . Канал перед работой должен быть тщательно провентилирован, Если в нем будет обнаружен газ, то работа в таком канале может производиться только в изолирующем  или шланговом противогазе.

На работу внутри каналов нужно назначать не менее двух человек: один должен оставаться вне канала  и вести наблюдение .и работающим. Перед допуском  ремонтников на работу в дренажный или спусковой канал, мастер должен убедиться в отсутствии возможности  спуска горячей воды и пара в канал во время производства там  работ. Работа в каналах при температуре  выше 50°С не допускается. При температуре в канале 40 – -50°С продолжительность работы каждого рабочего  не должна превышать 20 мин. Через каждые 20 мин.  рабочий должен иметь 20-минутный отдых.

При спуске в колодцы рабочий должен иметь предохранительный пояс и привязанную к поясу веревку. Конец веревки должен надежно прикрепляться к какому либо неподвижному предмету, находящемуся на поверхности вблизи дежурного.

(л8; стр 297 – 301)

19. Мероприятия по охране окружающей среды.

Обезвреживание сточных вод систем гидрозолоудалеиия

Количество сточных вод систем ГЗУ во много раз превышает суммарный объем всех остальных загрязненных стоков  ГЭС. По этой причине очистка сточных вод систем ГЗУ,  а для оборотных систем очистка продувочной воды весьма затруднительны. Очистка этих стоков усложняется высокой  концентрацией фторидов, мышьяка, ванадия, ртути, германия  и некоторых других элементов, обладающих токсичными  свойствами. В применении к таким водам более целесообразно их обезвреживание, т. е. снижение концентрации вредных  веществ до значений, при которых возможны их сбросы  в водоемы.

Основные методы обезвреживания: осаждение примесей; сорбция примесей на различных сорбентах, в том числе на  золе; предварительная обработка с применением окислительно-восстановительных процессов.

Наиболее проверенным методом, применяемым для удаления токсичных примесей из сточных вод, является осаждение примесей в результате  образования  малорастворимых  химических  соединений, или  в  результате  их адсорбции  на поверхности образуемых в воде твердых частиц. В качестве  реагента используется, как правило, известь. При необходимости применяются дополнительные реагенты, усиливающие  процесс осаждения.

Некоторые образующиеся комплексы токсичных веществ  с кальцием обладают достаточно высокой растворимостью.  Например, даже наименее растворимый из комплексов мышьяк  с кальцием 3Са(АsО4)2´Ca(OH)2 имеет растворимость 4 мг/кг, что в 18 раз превосходит санитарную норму концентрации  мышьяка в водоемах.

Для улучшения вывода мышьяка из воды одновременно с известью используют сернокислое железо (железистый купорос) FeSO4´7H2О. При этом образуется труднорастворимое  соединение FeAsO. Этот процесс усиливается адсорбцией мышьяка хлопьями гидрооксида железа. В результате совместной с известкованием коагуляции можно снизить содержание  мышьяка в сточной воде ГЗУ при pH=9¸10 до его ПДК  в водоемах (ниже 0,05 мг/кг). Одновременно происходит и со осаждение хрома.

Соединения фтора хорошо осаждаются при добавочном  вводе хлористого магния (MgCl2) в сточную воду. Фтор  осаждается совместно с хлопьями образующегося гидрооксида  Mg(OH)2. Например, на  ГРЭС, сжигающей экибастузский уголь, оптимальными условиями для снижения  концентрации фтора являются pH=10,2¸10,4 при дозе магния,  равной 50 мг/кг фтора.

На ТЭС должно быть создано специальное хранилище для  захоронения там осажденных веществ из продувочных вод  систем ГЗУ.

Применяется и ряд других веществ для осаждения фтора,  например, на Рефтинской ГРЭС испытана коагуляция сточных  вод ГЗУ сернокислым алюминием. При pH=4,5¸5,5 и дозе  сернокислого алюминия в виде безводного Al2(SO4)3, равной  18 – 23 мг на 1 мг удаляемого фтора, его концентрация  снижалась почти до нуля.

Сорбционная очистка основана на способности сорбентов  извлекать токсичные примеси из сточных вод с образованием  или без образования с сорбентами химических соединений.  Сточные воды ГЗУ содержат сорбент – золу. В золе большинства углей содержится до 60%  SiO2 и до 30% Al2O3, которые  образуют в процессе сжигания топлива алюмосиликаты. Последние являются ионообменными материалами, способными  сорбировать ионы многих металлов. Наличие в золе недожога  приводит к сорбции золой органических и малодиссоциированных соединений из воды.

Наладка системы ГЗУ позволяет откорректировать соотношение воды и золы, значение рН и в результате получить  достаточно глубокое удаление токсичных примесей из сточных  вод ГЗУ, используя свойства золы. Благодаря такой наладке  можно избежать строительства специальных очистных сооружений.

Принципиальным решением проблемы обезвреживания сточных вод систем ГЗУ является переход на пневматические,  сухие системы транспортировки и хранения золы и шлака  с полным их использованием в народном хозяйстве.

20. Экономическая часть проекта.

Капиталовложения в головные и последующие блоки.

К-500-240 +1650 т/ч твердое головной 225400 млн руб 1995 г.

послед. 123000 млн. руб.

поправочный коэфф. на территориальный район

красноярск 1,19

Удельные вложения капитала при Крс=0; Ки1 = 0

500 мвт средн. знач. 302 тыс. руб /кВт

энергетические хар. по собствен . нуждам.

Wсн=5,0´n бл´Тр+0,029´Wв

удельный расход эл.эн на собст. нужды, ( в %, от выработки эл. эн)

данные для сравнения К сравн.сн.=6800»2,5%

Топливные расходные хар. 500 т.у.т. /год

Вг.у=14,8´nбл´Тр+0,282Wв+0,016(Nн-410)nбл´hу

Удельный расход условного топлива на отп. эл. эн.

г.у.т/кВт  333г.

красноярск – I пояс

уголь –15 тыс. руб./т.н.т

стоимость перевозки

укрупненная нома численности пром. произ. перс.  1500

коэфф. обсл. Коб, Мвт/чел 1,0

районные коэфф. к зпл. 1,2

Кр зп

зем. налог с 1 га 2250 руб. (1995)

20.1 Определение среднегодовых технико-экономических показателей работы электростанции.

 Абсолютное вложение капитала в новое строительство блочной электростанции.

Кст=[ К г.бл+(nбл-1)´Кп.бл]´Крс´К1´Ки1

где Кг.бл  - капиталовложения в головной бок, 225400 млн. руб. по ценам на 1.01.1995 г.

Кп.бл – капиталовложения в каждый последующий блок 123000 млн. руб. по ценам на 1.01.1995 г.

nбл – количество устанавливаемых блоков - 3 шт.

Крс – коэффициент учитывающий район строительства 1,19

К1 – коэффициент учитывающий вид системы технического водоснабжения, при прямоточной – 0,9

Ки1 – коэффициент инфляции по вложениям капитала на 1.01.2000, по отношению к ценам на 1.01.1995 составил 6,024

Кст= [225400+(3-1)´ 123000]´1,19´0,9´6,024= 3041333,2656/1000= 3041,3 млн. руб

 Удельные вложения капитала.

Куд= Кст/Nу

где Кст – абсолютное вложение капитала на строительство электростанции млн. руб.

Nу – установленная мощность станции МВт.

Кст=3041,3/1500= 2,02  тыс. руб /кВт

20.2 Энергетические показатели работы ГРЭС

Годовая выработка электроэнергии ГРЭС.

Wв=Nу´hу´0,001   тыс. МВт´ч

где Nу – установленная мощность станции МВт.

hу – годовое число часов использования установленной мощности 6800 ч.

Wв=1500´6800´0,001= 10200 тыс. МВт´ч

Годовой расход электроэнергии на собственные нужды

Определяется по энергетической характеристике, в зависимости от мощности энергоблока и вида сжигаемого топлива.

Wсн=5,0´n бл´Тр+0,029´Wв

где nбл – число установленных блоков;

Тр – число часов работы блока в течении года, принимается  7000 ч.

Wсн=5,0´3´7000´0,001+0,029´10200=   400,8 тыс. МВт´ч

 Удельный расход электроэнергии на собственные нужды

Ксн= Wсн    ´100 = 3,9 %

          Wв

 Годовой отпуск электроэнергии с шин электростанции

Wо=Wв-Wсн   тыс МВт´ч

Wо=10200-400,8= 9799,2 тыс МВт´ч

 Годовой расход условного топлива

Вг.у = n´Qту.max´1,006  ´4,19/10³´Тр   г/МДж

            hка´Qраб. усл.

Где  n – число котлов;

Qту -  расход тепла на турбоустановку;

 Qраб. усл – низшая теплота сгорания условного топлива 7000 ккал или  29330 кДж;

hка – КПД котлоагрегата;

Тр – число часов работы блока в течении года, принимается  7000 ч.

Вг.у =    n´4164860000 ´1,006 ´4,19/10³´7000= 3260752  т.у.т/год

                       0,92´7000

 Удельный расход условного топлива  

.

bу=  Вг.у       =    3260752     =   333 г. у.т/кВт´ч

         Wо              9799,2

 Годовой расход натурального топлива:

Вг н= Вг.у´29330  ´(1+aпот%/100     ) тн т./год

                     Qр.н             

где Qр.н – удельная теплота сгорания натурального  = 16760 кДж/кг

aпот – норма потерь топлива при перевозке вне территории электростанции 0,8%.

Вг.н =3260752 ´ 29330    ´(1+0,8/100)= 5751966,5 т.н.т/год

                             16760

 КПД станции по отпуску электрической энергии:

hэ.отп=123/bу´100=123/333=0,37´100=37%

где bу – удельный расход условного топлива.

20.3 Проектная себестоимость электроэнергии отпущенной с шин ГРЭС

 Топливо на технологические цели:

Для станций сжигающих твердое топливо затраты на топливо определяются по формуле:

Итоп=(Цпр+Цтр)´Вгн

где Цпр – оптовая цена одной тонны натурального топлива 15 руб/т.´Ки=15´6,024=90руб./т.

Цтр – стоимость транспортировки одной тонны угля по железной дороге. 15руб./т.´Ки=6,024 =90руб/т.

Итоп(90+90)´ 5751966,5=    1035353970 руб./год

Цена одной тонны условного топлива:

Цту.т=Итоп/Вгу

где Итоп – годовые издержки по топливу;

Вгу – годовой расход условного топлива;

Цту=1035353970/3260752= 317,5 руб/ту.т

Затраты на вспомогательные цели:

Учитывается стоимость покупки сырья, материалов, стоимость износа средств не относящихся к основным, износа инвентаря, приборов спецодежды, и др.:

Ивм=Нвм´Nу´Ки ´0,001

где Нвм - норматив затрат на вспомогательные материалы, 0,076 руб/кВт

Nу – установленная мощность станции 1500 МВт.

Ки – коэффициент инфляции 6,024

Ивм=0,076´1500´6,024´0,001= 0,686736 млн. руб./год

   Стоимость работ и услуг производственного характера:

Учитывается стоимость транспортных услуг сторонних организаций по перевозке грузов внутри предприятия, услуги водоканала, и другие услуги и работы не относящиеся к основному виду деятельности , и выполняемые сторонними организациями.

Иус= Нус´Nу´Ки´0.001   млн. руб./год

где Нус – коэффициент стоимости работ и услуг производственного характера, для станции работающей на каменном угле 0,018 руб/кВт

Nу – установленная мощность станции 1500 МВт.

Ки – коэффициент инфляции 6,024

Иус=0,018´1500´6,024´0.001=  0,1626 млн. руб. год.

Плата за воду в бюджет.

Плата за воду бюджет в целом по станции определяется:

Пл.в.с =SПл.в.б´Ки

где  SПл.в.б – плата за воду в бюджет по всем блокам, плата за один блок 500 МВт.  3,09 млн. руб./год;

Ки – коэффициент инфляции 6,024

Пл.в.с=  9,27´6,024= 55,8 млн. руб./год

Материальные затраты (всего)

Имз=Итоп+Ивм+Иус+Пл.в.с= 1092 млн. руб./год

Оплата труда:

Среднемесячная заработная плата одного работника:

ЗПмес.ср.=Ст(I)´Кt.ср´Крр.ср´Кср.пр.´Кр.зп  руб./мес

где Ст(I) – месячная тарифная ставка рабочего первого разряда электростанции, равная 3-м минимальным месячным оплатам труда (ММЗ). Где  ММЗ = 84,5 руб./мес.

Ст(I)=ММЗ´3=84,5´3=253 руб./мес

Кt.ср – средний тарифный коэффициент по промышленно производственному персоналу, принимается 2,2

Крр.ср. – средний коэффициент, учитывающий доплаты за многосменный режим работы, условия труда, и другие компенсационные выплаты, принимается 1,26

Кср.пр -  средний коэффициент, учитывающий стимулирующие виды доплат,

принимаем 2,5

Кр.зп районный коэффициент к заработной плате, принимаем 1,25

ЗПмес.ср=253´2,2´1,26´2,5´1,25= 2195,94 руб/мес.

Годовой фонд оплаты труда на одного человека:

ФОТ.г.чел.=ЗПмес.ср.´12= 2195,94´12=26351,32 руб/год

Затраты на оплату труда учитываемые в себестоимости продукции:

Иот=ФОТ=Чппп´ ФОТ.г.чел.

где Чппп – численность промышленно-производственного персонала, принимается 1500 чел.

Иот= 1500´26351,32= 39526980 руб./год= 39,52698 млн.руб/год

Коэффициент обслуживания:

Коб= Nу/Чппп= 1500/1500=1,0

Отчисления на социальные нужды:

Исн=Нсн/100´Иот  млн.руб

где Нсн – норматив отчислений на социальные нужды – 39%.

Исн=39/100´39,52698= 15,4 млн.руб/год

Амортизация основных фондов.

Стоимость основных фондов:

Сф=0,9´Кст

Где Кст - капиталовложения в строительство станции, 3041,3 млн.руб.

Сф=0,9´3041,3= 2737,17 млн. руб.

Амортизация основных фондов:

Иа=На.рен/100´Сф

где На.рен – средняя норма амортизации на реновацию в целом по станции, 3,4%.

Иа=3,4/100´2737,17= 93,0 млн.руб./год

 

Прочие затраты

Отчисления в ремонтный фонд

Ремонтный фонд служит для финансирования всех видов ремонтов.

Фрем=Нср.рф./100´Сф

где Нср.рф. средний норматив отчислений времонтный фонд в целом по электростанции  4,6%.

Фрем=4,6/100´2737,17= 126 млн. руб./год

Обязательные страховые платежи:

Обязательное страхование имущества.

Иси=Нси/100´Кст

Где Нси – норматив обязательного страхования 0,15%

Иси=0,15/100´3041,3= 4,5 млн.руб.

Прочие отчисления:

И пр.отч.=Нпр.отч./100´Кст млн.руб./год

где Нпр.отч – норматив прочих отчислений 0,55%

Ипр.отч=0,55/100´3041,3= 16,7 млн.руб./год

Прочие затраты (всего)

Ипр=Фрем+Иси+Ипр.отч=126+4,6+16,7= 147,2 млн.руб./год

Годовые издержки производства электроэнергии на ГРЭС:

И=Имз+Иот+Исн+Иа+Ипр= 1387,1 млн.руб./год

Себестоимость единицы продукции отпущенной с шин электростанции:

Sо.э.=И/Wо руб./кВт´ч

где И – издержки производства, руб.

Wо – отпуск электроэнергии кВт´ч

Sо.э= 1387100000/9799200000=0,14 руб./кВт´ч

Сводная таблица технико-экономических показателей.

таблица 20.1

Наименование показателя

условное обозначение

единица измерения

величина

Тип и количество устанавливаемого оборудования.

К-500-240

П-57

3

3

Вид топлива

Экибастузский каменный уголь

Установленная мощность станции

N

МВт

1500

Годовое число часов использования установленной мощности

hу

ч

6800

Максимальная электрическая нагрузка

1410

Расход электрической энергии на собственные нужды

Wсн

тыс. МВт´ч

400,8

удельный расход условного топлива

bу

г.

333

удельные капиталовложения

тыс. руб /кВт

2,02

удельная численность эксплуатационного персонала

Чэкс

удельная численность промышленно производственного персонала

Чппп

чел/МВт

1,0

себестоимость единицы электрической энергии

руб/кВт´ч

Sэ.отп

0,14

Цена условного топлива

руб/т

Цу.т

317

20.2 Таблица-структура себестоимости электрической энергии на ГРЭС

Наименование статей затрат

Годовые издержки производства

Иi млн.руб/год

структура затрат

%

себестоимость электроэнергии

Sо.э руб/квт´ч

материальные затраты, в т.ч топливо на технологические цели. 1092 78,725 0,111
затраты на оплату труда 39,52 2,85 0,004
отчисления на социальные нужды 15,4 1,11 0,0015
амортизация основных фондов 93 6,7 0,0094
прочие затраты 147,2 10,61 0,015
итого 1387,1 100 0,14

22. Список литературы:

1 – л1 Рыжкин В.Я. Тепловые электрические станции М. «Энергия» 1976

2 – л2 Паровая турбина К-500-240 ХТГЗ М.: «Энергоатомиздат» 1984.

3 – л3 Ковалев А.П.  Парогенераторы  М.; «Энергоатомиздат» 1985

4 – л5 Аэродинамический расчет котельных установок Л., «Энергия» 1977

5 – Гаврилов Е.И. Топливно-транспортное хозяйство и золошлакоудаление на ТЭС М.; «Энергоатомиздат» 1987

6 – л6 Белан Ф.И. Водоподготовка М., «Энергия» 1979

7. – л7; Тепловые и атомные электрические станции М; «Энергоатомиздат», 1989

8 –л8  Рудаков А. Ремонт тепловых двигателей.

9. – л9 Насосное оборудование ТЭС;

10 л.10  Эстеркин. Р.И. Расчет котельных установок.

11.  л.11  Жабо.   Охрана окружающей среды на ТЭС.

12.   л. 12.  Методические указания.  Экономический расчет, в курсовом и дипломном проектировании. Иваново 1996 год.

13   Ривкин. А. Теплофизические свойства воды и водяного пара.


© 2012 Рефераты, курсовые и дипломные работы.