рефераты
Главная

Рефераты по рекламе

Рефераты по физике

Рефераты по философии

Рефераты по финансам

Рефераты по химии

Рефераты по хозяйственному праву

Рефераты по цифровым устройствам

Рефераты по экологическому праву

Рефераты по экономико-математическому моделированию

Рефераты по экономической географии

Рефераты по экономической теории

Рефераты по этике

Рефераты по юриспруденции

Рефераты по языковедению

Рефераты по юридическим наукам

Рефераты по истории

Рефераты по компьютерным наукам

Рефераты по медицинским наукам

Рефераты по финансовым наукам

Рефераты по управленческим наукам

Психология и педагогика

Промышленность производство

Биология и химия

Языкознание филология

Издательское дело и полиграфия

Рефераты по краеведению и этнографии

Рефераты по религии и мифологии

Рефераты по медицине

Рефераты по сексологии

Рефераты по информатике программированию

Краткое содержание произведений

Реферат: Измерение параметров лазеров

Реферат: Измерение параметров лазеров

ВВЕДЕНИЕ

Получение достоверных результатов измерений как самих параметров лазеров, так и выходных характеристик лазерных приборов и систем имеет свою специфику, поскольку лазерное излучение характеризуется некоторыми особенностями: широким спектральным (0,2 мм...1 мм) и динамическим диапазоном (120...200 дБ), малой длительностью импульсов (до 0.1 пс), высокой плотностью мощности (до 109 Вт/см2), энергии и т.п. Система характеристик и параметров ров лазеров и лазерного излучения лазерных приборов установлена ГОСТ 15093-75, ГОСТ 24453-80 и ГОСТ 23778-79, в соответствии с которыми осуществляется контроль изделий лазерной техники на этапе выпуска продукции и при их эксплуатации (табл.1).

Таблица 1

Параметр, характеристика Единица измерения Определение Обозначе-ние
Энергетические параметры и характеристики
Энергия Дж Энергия, переносимая лазерным излучением

W

Мощность Вт Энергия, переносимая лазерным излучением в единицу времени

P

Интенсивность
Величина, пропорциональная квадрату амплитуды электромагнитного колебания

J

Спектральная плотность энергии (мощность)

ДжЧГц-1

ВтЧГц-1


Wl, Wn

(Pl,Pn)

Средняя мощность импульса Вт

Pu,ср

Максимальная мощность импульса Вт

Pu, max

Спектральные параметры и характеристики
Длина волны

l

Частота

n

Ширина спектральной линии

dn

dl

Степень хроматичности

dn/n

dl/l

Пространственно-временные параметры и характеристики
Диаграмма направленности
Угловое распределение энергии или мощности лазерного излучения
Диаметр пучка м Диаметр поперечного сечения пучка лазерного излучения, внутри которого проходит заданная доля энергии или мощности лазера d
Расходимость

рад,

ср

Плоский или телесный угол, характеризующий ширину диаграммы направленности лазерного излучения в дальней зоне по заданному уровню углового распределения энергии или мощности лазерного излучения, определяемому по отношению к его максимальному значению

QP

Энергетическая расходимость

рад,

ср

Плоский или телесный угол, внутри которого распространяется заданная доля энергии или мощности лазерного излучения

qS

Относительное распределение плотности энергии (мощности)
Распределение плотности энергии (мощности) излучения по сечению лазерного пучка, нормированное относительно максимального значения плотности энергии (мощности)

qW,P,qW,S

Частота повторения импульсов Гц Отношени числла импульсов лазерного излучения ко времени F
Длительность импульсов с

tu

Параметры когерентности
Степень пространственно-временной когерентности

Модуль комплексной степени пространственно-временной когерентности при фиксированных координатах точки в пространстве и времени, равный:

, где 0ЈЅg12(t)ЅЈ1, G12(t) — функция взаимной когерентности,G11(O),G22(O) — функции взаимной когерентности для точек пространства с радиус-векторами r1,r2 соответственно при t=0

Ѕg12(t)Ѕ

Степень пространственной когерентнсти

Модуль комплексной степени временной когерентности для фиксированной точки пространства, равный

, где G12(O) — функция пространственной когерентности

Ѕg12(О)Ѕ

Степень временной когерентности

Модуль комплексной степени временной когерентности для фиксированной точки пространства, равный

, где Г11(t) — функция взаимной когерентности для точки пространства с радиусом-векторм r1

Ѕg11(t)Ѕ

Время когерентности с Минимальное запаздывание, для которого степень временной когерентности принимает значение равное нулю
Длина когерентности м Произведение времени когерентности на скорость электромагнитного излучения в вакууме

Параметры поляризации
Плоскость поляризации
Плоскость, проходящая через направление распространения линейно-поляризованного лазерного излучения и направление его электрического вектора
Эллиптичность поляризованного лазерного излучения
Отношение малой полуоси эллипса, по которому поляризовано лазерное излучение к его большой полуоси
Степень поляризации
Отношение интенсивности поляризованной составляющей лазерного излучения к полной его интенсивности

ИЗМЕРЕНИЕ ЭНЕРГЕТИЧЕСКИХ ПАРАМЕТРОВ И ХАРАКТЕРИСТИК ЛАЗЕРНОГО ИЗЛУЧЕНИЯ

Для измерения энергетических параметров лазерного излучения могут использоваться самые разнообразные методы, основанные на различных физических и химических эффектах взаимодействия лазерного излучения с веществом, последнее может находиться в любом агрегатном состоянии. Однако наиболее широкое распространение получили методы, основанные на преобразовании энергии лазерного излучения в тепловую энергию (тепловой метод) и в энергию электрического тока (фотоэлектрический и пироэлектрический методы). Реже применяется пондеремоторный метод, основанный на преобразовании энергии лазерного излучения в механическую энергию.

Измерение мощности и энергии лазерного излучения

Существующие средства измерения (СИ) энергетических параметров лазерного излучения содержат приемный (первичный) измерительный преобразователь (ПИП), измерительное устройство, а также отсчетное, или регистрирующее устройство. В ПИП энергия лазерного излучения преобразуется в тепловую или в механическую энергию или в электрический сигнал, доступные для дальнейшего преобразования и измерения.

Различают ПИП поглощающего и проходного типа. В преобразователях поглощающего типа поступающая на вход энергия лазерного излучения почти полностью поглощается и рассеивается в нем. В преобразователях проходного типа рассеивается лишь часть поступившей на вход энергии излучения (как правило небольшая), а большая чисть изучения проходит через преобразователь и может быть использована для требуемых целей.

Измерительное устройство включает преобразовательные элементы и измерительную цель. Их назначение — преобразование выходного сигнала ПИП в сигнал, подаваемый на отсчетное или регистрирующее устройство. Отсчетное или регистрирующее устройство служит для считывания или регистрации значения измеряемой величины в аналоговой или цифровой форме.

Обычно ПИП конструктивно выполняется в виде отдельного блока, называемого измерительной головкой, а измерительное и отсчетное устройства — в виде измерительного блока. В измерительный блок могут быть включены дополнительные устройства, например цепи коррекции дрейфа нуля, температурной и электрической стабилизации и др.

Тепловой метод

Сущность этого метода состоит в том, что энергия излучения при взаимодействии с веществом приемного преобразователя превращается в тепловую энергию, которая впоследствии измеряется тем или иным способом. Для измерения тепловой энергии, выделившейся в ПИП, обычно используют:
—термоэлектрический эффект Зеебека (возникновение ТЭДС между нагретым и холодным спаями двух разнородных металлов или полупроводников);
—явление изменения сопротивления металлов и полупроводников при изменении температуры (болометрический эффект); фазовые переходы "твердое тело-жидкость" (лед-вода);
—эффект линейного или объемного расширения веществ при нагревании и др.

Необходимо отметить, что все тепловые ПИП в принципе являются калориметрами. Однако в литературе сформировались устойчивые названия ПИП, ассоциируемые обычно с некоторой совокупностью характерных признаков, свойственных приемным преобразователям определенных типов (термоэлементы, болометры, пироприемники и пр. ) .

Наиболее широкое распространение для измерения таких усредняемых во времени энергетических параметров лазерного излучения, как энергия и средняя мощность, получили калориметры. Они имеют достаточно конструктивно развитый приемный элемент, не объединенный с чувствительным элементом. К достоинствам калориметров относятся широкий спектральный и динамический диапазон работы, высокая линейность, точность и стабильность характеристик, простота конструкции, возможность их использования с высокоточными, хотя и инерционными цифровыми приборами, возможность калибровки преобразователей по эквивалентному электрическому воздействию.

Любая калориметрическая система (рис.1.1) содержит внутреннее калориметрическое тело К (приемный элемент), в котором протекает процесс выделения (или поглощения) тепла, и внешнюю оболочку О, с которой происходит теплообмен калориметрического тела путем теплопроводности, конвекции и излучения.



Рисунок 1.1 Принципиальная схема калориметра

Тепловой поток Д от калориметрического тела на оболочку зависит главным образом от разности температур их поверхностей Ф=GT(Tk-To), где GT — параметр, характеризующий тепловую проводимость cреды между калориметрическим телом и оболочкой. Часто теплообмен между K и O характеризуют также обратной величиной RT=1/GT, имеющей смысл теплового сопротивления среды. Наиболее широкое распространение для измерения таких усредненных во времени энергетических параметров лазерного изучения, как энергия и средняя мощность, получили калориметры переменной температуры (или неизотермические калориметры), у которых в процессе измерения ТK=f(t)const. Уравнение теплового равновесия калориметрического тела K с оболочкой О в таком калориметре в предположении бесконечной температуропроводности вещества K имеет вид:

(1.1)
где P(t) — мощность, рассеиваемая в калориметре; c — теплоемкость K: T=TK-TO

У непрерывных лазеров характерным энергетическим параметром, который указывается в паспорте, является мощность лазера P. У лазеров, работающих в режиме свободной генерации одиночных импульсов лазерного излучения, обычно нормируется энергия импульса Wu. Лазеры, работающие в режиме модуляции добротности резонатора и в режиме синхронизации мод, обычно характеризуются значением Wu и дополнительно значением максимальной PUmax или средней PUср мощности импульса. Импульсно-периодические лазеры характеризуются средней мощностью Pср со временем усреднения, значительно превышающим период следования импульсов.

В соответствии с этим рассмотрим некоторые частные решения дифференциального уравнения (1.1).

1. Мощность, рассеиваемая а калориметре, не изменяется во времени, т.е. P(t)=PO=const. Тогда

(1.2)
где t=RTC постоянная времени калориметра.

Максимальное значение Т(t) достигается при t®Ґ и равно Tmax=RTЧPO.

2. Мощность в калориметре выделяется в виде периодической последовательности прямоугольных импульсов: PO, tu и q — импульсная мощность, длительность и скважность импульсов соответственно. Можно показать, что в этом случае для значений параметров лазерного излучения, наиболее часто встречающихся на практике ,

(1.3)
3. В калориметре рассеивается энергия одиночного прямоугольного импульса. Температура калориметрического тела в этом случае изменяется во времени следующим образом:

(1.4)

при 0ЈtЈtu

при tuЈtҐ



Максимальное значение Т(t) достигается при t=tu и равно Tmax=BЧRTЧWu (Wu=POЧtuимпульса; д -- постоянная калориметра) . Перечисленные частные случаи описывают три основных режима работы калориметрических преобразователей переменной температуры: режим измерения мощности непрерывных лазеров, средней мощности импульсно-периодический лазеров и режим измерения энергии одиночных лазерных импульсов.

В рассматриваемых калориметрах наибольшее распространение получили твердотельные приемные измерительные преобразователи. Такие ПИП часто изготавливают в виде полостей — полого конуса, сферы с отверстием, полого цилиндра, а также комбинацией этих элементов. За счет использовать эффекта многократных переотражений излучения внутри полости удается увеличить коэффициент поглощения приемного преобразователя и тем самым расширить рабочий диапазон длин волн, а также увеличить верхний предел измерения мощности и энергии лазерного излучения.




Рисунок 1.2 Упрощенная конструкция калориметрического ПИП прибора ИМО-2

В качестве примера на рис.1.2 изображен ПИП прибора ИМО-2, серийно выпускаемого отечественной промышленностью для измерения средней мощности и энергии импульсов лазерного излучения. Здесь приемный элемент 1 выполнен в виде медного конуса со встроенным электрическим нагревателем для градуировки, причем на его приемную поверхность нанесено поглощающее покрытие, В качестве чувствительного элемента 2 применена медно-константановая термобатарея, содержащая более 2000 термопар, равномерно распределенных между наружной поверхностью приемного элемента и поверхностью пассивной теплоемкой оболочки 3 калориметра. Термобатарею получают путем меднения полувитков спирали прямоугольного сечения из константановой — проволоки. Такие элементы не требуют включения в состав ПИП источников питания, так как их выходной величиной является термо-ЭДС, возникающая между холодным и нагретым спаями разнородных металлов и полупроводников. Большое количество термопар в составе термобатареи повышает чувствительность таких ПИП.

Измерительная головка ИМ0-2 содержит две одинаковые калориметрические секции с ПИП, которые находятся внутри пассивного термостата, образованного толстостенным медным корпусом и кожухом измерительной головки. Для уменьшения нестабильности ПИП термобатареи включены последовательно навстречу друг другу, что позволяет исключить влияние температуры окружающей среды. Измерительной блок содержит стабильный усилитель постоянного тока для усиления сигнала с выхода термопреобразователя, стабилизированный источник постоянного напряжения для проверки сохранности градуировочной характеристики прибора в процессе эксплуатации, цепи коммутации и регулировки коэффициента усиления УПТ и аналоговое отсчетное устройство.

Для расширения верхнего предела измерения мощности непрерывного лазерного излучения в комплекте прибора имеется ослабитель.

Основные технические характеристики прибора ИМО-2 и некоторых других тепловых средств измерений мощности и энергии лазерного излучения, серийно выпускаемых промышленностью, приведены в табл. 2.

В приборе ИКТ имеется также конический элемент, который обладает более высокой стойкостью к лазерному излучению в вследствие того, что на его конический приемный элемент действует лазерное излучение, прошедшее рассеивающий матированный сапфировый элемент. В результате этого излучение распределяется по всей приемной поверхности и плотность его снижается. В качестве чувствительного элемента здесь используется термометр сопротивления, выходной величиной которого является изменение электрического сопротивления ПИП под действием изменения температуры приемного элемента, возникающего при поглощении падающего излучения. Поэтому в состав таких ПИП должен входить источник питания. Измерительная головка ИКТ, так же как и в ИМ0-2, содержит два одинаковых ПИП с термометрами сопротивления, включенных в плечи моста постоянного тока.

Примером ПИП проходного типа может служить малоинерционный проволочный болометрический измеритель средней мощности излучения (рис.1.3). Такой ПИП выполнен в виде двух редких решеток из тонких металлических проволок, перекрывающих все сечение пучка излучения и соединенных последовательно. Принцип работы преобразователя основан на болометрическом эффекте, возникающем при частичном поглощении проходящего через решетки лазерного излучения.

Для редкой двойной решетки, если ее период c значительно превышает диаметр d проволоки, полные потери оптического излучения, включающие потери на отражение, дифракцию и поглощение в элементах решетки, не превышают 4d/c. Наиболее подходящими материалами для проволок являются платина, золото и никель, которые обладают высокой механической прочностью и технологической простотой изготовления решеток с малым диаметром d и большим периодом c.



Таблица 2

п/п

Наимено-вание Тип ПИП Рабочий диапазон длин волн, мкм

Диапазон измерения

мощности энергии

Вт Дж

Время одного измерения для мощности Время установления показания Диапазон длительностей измеряемых импульсов, с Диапазон измеряемых диаметров пучков, мм Основная погрешность измерения, % Вид индикации
1 ОСИСМ — образцовое средство измерений средней мощности Термо­электрический 0.4 - 12

10-3 - 102


2.5 мин

4 ё 10

dP=1 ё 3

Цифровой
2 ОИМ-1-1 — образцовый измеритель мощности излучения (80 кг) То же 0.3 - 3.5

10-3 - 10-1


8 мин

3 ё 8

dP=1

Стрелочный
3 ИМО-2-2М — образцовый измритель мощности и энергии лазерного излучения То же 0.4 - 10.6

10-2 - 102

10-1 - 10

3 мин 5 с / 2 мин

2Ч10-4 - 10-3

4 ё 12

dP=1 ё 3

dE=3 ё 4

Цифровой
4 ИМО-2 — измеритель средней мощности и энергии лазерных импульсов Термоэлектрический 0.33 -10.6

5Ч10-3 - 102

3Ч10-3 - 10

2.5 мин 8 c / 2 мин

10-4 - 10-3

4 ё 12

dP=5 ё 8

dE=7 ё 22

Стрелочный
5 МК 3 - 18А — ваттметр поглощаемой мощности калориметрический Болометрический 0.4 - 3.5

5Ч10-4 - 10-2

10-3 - 0.3

10 с 20 с / 30 с

10-8 - 10-3

Ј10

dP,E=10 ё 20

Стрелочный
6 МЗ - 24 — измеритель мощности калориметрический То же 0.4 - 3.5

10-3 - 10

10-2 -10

10 c 10 c / 20 c

10-8 - 10-3

Ј20

dP=5 ё 12

dE=5 ё 22

Стрелочный
7 ПВ - 1 — пироэлектрический ваттметр Пироэлектрический 0.4 - 10.6

10-4 - 102


10 c

2 ё 23

dP=10 ё 20

Стрелочный
8 ФПМ -01 — фотометр переносной малогабаритный для импульсных и непрерывных лазеров Фотоэлектрический 0.4 -1.06

10-7 - 10-1

10-8 - 0.05


1 c / 1 c

2Ч10-4 - 10-2

2 14

dP=15

dE=10 ё 20

Цифровой
9 ФПМ -02 — то же для импульсных лазеров (модификация ФПМ - 01) Фотоэлектрический 0.53 - 1.06

510-9 - 10-3


1 c / 1 c

10-8 - 10-7

2 14

dE=20

Цифровой
10 ОСИЭ — образцовое средство измерения энергии Термоэлектрический 0.5 - 10.6

2Ч10-2 -10


5 c / 4.5 мин

10-8 - 10-3

4 ё 15

dE=4

Цифровой
11 ИКТ - 1Н - измеритель калориметрический твердотельный То же 0.4 - 4.0

5Ч10-2 - 103


10 c / 8 мин

10-8 - 10-3

4 ё 45

dE=22

Стрелочный


Так, например, из платиновых нитей диаметром 3…5 мкм можно изготовить решетки с поперечным размером более 10 см и периодом 1 мм. В этом случае общие потери но превышают 4·5·10-3=0.02, а коэффициент пропускания приемного измерительного преобразователя достигает 98%. Постоянная времени прибора не превышает 10-3 с.




Рисунок 1.3 Функциональная схема малоинерционного болометрического измерителя мощности лазерного излучения проходного типа

Если в ПИП чувствительным элементом является термометр сопротивления, который непосредственно воспринимает оптическое излучение и в нем отсутствует конструктивно развитый приемный элемент, то такой ПИП традиционно называют болометром, а в качестве термометра сопротивления могут использоваться не только проволочные проводники, а и пленочные. Приемно-чувствителльные элементы этих приборов часто помещают в вакуумированную оболочку И тогда их называют вакуумными. Глубокоохлаждаемые болометры, работающие при температурах жидкого азота и гелия, используют для измерения сверхмалых потоков излучения (эквивалентную мощность шума можно снизить до 10-14 Вт·Гц-1/2) либо при стремлении достичь максимального быстродействия (субнаносекундный диапазон) .

Калориметры, в которых тепловые процессы не приводят к изменению температуры калориметрического тела (т.е. ТK=TO=const), ю называются изотермическими калориметрами, или калориметрами постоянной температуры. Принцип действия таких калориметров основан либо на использовании эффектов фазового перехода вещества и состоит в измерении количества калориметрического вещества (льда), перешедшего под действием поглощенной энергии лазерного излучения в другую фазу (воду) при температуре существования фазового перехода (0°) (калориметры с фазовым переходом), либо на эффекте компенсации в самом калориметре выделенного излучением тепла за счет теплового эффекта с противоположным знаком (компенсационные калориметры и калориметры с предварительным подогревом). Следует отметить, что на практике такие приборы используются редко, за исключением калориметров с предварительным подогревом. В этих приборах калориметрическое тело предварительно (до поступления и ПИП измеряемого излучения) подогревается до некоторой стационарной температуры, превышающей температуру окружающей среды. При подаче лазерного излучения мощность подогрева вручную или автоматически уменьшают ты, чтобы температура калориметрического тела оставалась прежней. Поглощенная ч в калориметре мощность в этом случае равна изменению мощности подогрева. По такому принципу работает образцовый измеритель мощности лазерного излучения ОИМ-1-1, у которого мощность подогрева уменьшается вручную.

Принцип работы пироэлектрических ПИП основан на использовании пироэлектрического эффекта, наблюдаемого у ряда нецентросимметричных кристаллов при их облучении и проявляющегося в возникновении разрядов на гранях кристалла, перпендикулярных особенной полярной оси. Если изготовить небольшой конденсатор и между его обкладками поместить пироэлектрик, то изменения температуры, обусловленные поглощением излучении, будут проявляться в виде изменения заряда этого конденсатора и могут быть зарегистрированы. Входное сопротивление пироэлектрического приемника является почти чисто емкостным. Поэтому сигнал на его выходе может появиться только при переменном входном сигнале, что вызывает необходимость модуляции излучения при измерении пироприемником излучения.

Выходной сигнал пироэлектрических ПИП пропорционален скорости изменения среднего прироста температуры d(DT)/dt чувствительного элемента, а не величине DT, не на которую реагируют тепловой приемники. Следствием этого является высокое быстродействие приемников (до 10-8), в также высокая их чувствительность(10-7…10-8 Дж), большой динамический диапазон работы (10-8…10 Дж) и широкий спектральный диапазон (0.4…10.6 мкм). Конструктивно чувствительный элемент пироприемника не отличается от колориметрических ПИП(см. рис. 1.2), за исключением самого чувствительного элемента 2, выполненного из пироэлектрика. Среди промышленных разработок измерения малых (до 10-9 Вт/см2) и сверхмалых (до 10-12 Вт/см2) потоков излучения наибольшее применение нашли пироэлектрические преемники на основе титаната бария, триглинсульфата и на основе керамики цирконат-титанат бария. Чувствительные элементы таких ПИП представляют собой плоскопараллельную пластину толщиной 20…100 мкм с нанесенными на обе стороны электродами. На облучаемую сторону пластины наносят поглощающее покрытие либо его роль выполняет полупрозрачный электрод. С помощью сравнительно несложной технологии чувствительные элементы можно изготавливать достаточно сложной формы с размерами приемной площадки от 10-4 до 106.

Обладая рядом преимуществ перед тепловыми преобразователями, пирозлектрические ПИП находят все более широкое применение для измерения энергетических и пространственно-энергетических параметров лазерного излучения.

Фотоэлектрический метод.

Фотоэлектрический метод измерения энергетических параметров лазерного излучения основан на переходе носителей заряда под действием фотонов измеряемого излучения на более высокие энергетические уровни. В качестве фотоэлектрических ПИП используют фотоприемники (ФП), которые делятся на две группы: с внешним и внутренним фотоэффектом. Внешний заключается в испускании электронов под действием фотонов в вакуум, внутренний — в переходе электронов из связанного состояния под действием фотонов в свободное, т.е. в возбужденное состояние внутри материала. В обоих случаях переход происходит при поглощении веществом отдельных квантов излучения, поэтому ФП являются квантовыми приборами. Энергия электромагнитного излучения в них непосредственно превращается в электрическую, которую затем измеряют. Выходной электрический сигнал ФП зависит не от мощности падающего излучения, а от количества квантов излучения и энергии каждого кванта.

Общее выражение преобразования входного оптического сигнала в выходной электрический сигнал, осуществляемого фотоэлектрическим ПИП, можно записать в следующем виде:

I=IФП+IТ=SlЧP+IT (1.5)
где I — полный ток, протекающий через ФП, А; IФП — ток через ФП, вызванный падающим потоком излучения, А; IТ — темновой ток, А; Sl — спектральный коэффициент преобразования, или абсолютная спектральная чувствительность ФП, А/Вт; P — мощность падающего на ФП излучения, Вт.

Ниже кратко рассмотрены основные фотоэлектрические преобразователи, применяемые в средствах измерения мощности и энергии лазерного излучения.

Фотопреобразователи с внешним фотоэффектом. Энергия фотоэлектронов, испущенных с поверхности катода под действием электромагнитного излучения, определяется выражением:

W=hn-w (1.6)
где n — частота излучения, Гц; h — постоянная Планка, (h=6.63Ч10-34 ДжЧс); w — постоянная зависящая от природы материала фотокатода. Испускание электронов имеет место лишь в том случае, когда hn>w= hnО, где nО — пороговая частота, ниже которой фотоэффект невозможен. Длину волны lО=с/nО называют длинноволновой (красной) границей фотоэффекта. Обычно коротковолновая граница фотопреобразователя ограничивается пропусканием входного окна ПИП.

К фотоприемникам на основе внешнего фотоэффекта относятся вакуумные приборы: фотоэлементы (ФЭ) и фотоэлектронные умножители,

Спектральный диапазон вакуумных ФП зависит от материала фотокатода. В настоящее время выпускаемые промышленностью ФЭ и ФЭУ перекрывают диапазон от УФ (0.16 мкм) до ближнего ИК излучения (1,2 мкм — для серебряно-кислородно-цезиевого катода). Абсолютная спектральная чувствительность ФЭ определяется следующим образом:

Sl=QЭФЧl/1.24 (1.7)
где QЭФ — эффективный квантовый выход, l — длина волны излучения, мкм, Sl меняется в зависимости от типа и конструкции прибора (10-3…10-1 мА/Вт).

Динамический диапазон, в котором сохраняется линейность преобразования оптического сигнала в электрический, для ФЭ сравнительно большой. Нижний предел ограничен шумами и темновым током ФЭ, верхний — влиянием пространственного заряда и продольным сопротивлением фотокатода, В режиме непрерывного облучения нижний

предел может достигать 10-14 А, верхний не превышает 10-4 А. В импульсном режиме верхний предел может быть увеличен до десятков ампер.

Шумы и темновые токи ФЭ сравнительно невелики, однако из-за низкой чувствительности ФЭ нецелесообразно применять их для измерения малых уровней оптических сигналов.

Современные сильноточные временные ФЭ позволяют получать время нарастания переходной характеристики (между уровнями 0.1 и 0.9 от максимального значения) порядка 10-10 с.

ФЭУ обладают высокой чувствительностью благодаря наличию умножительной (диодной) системы. Если коэффициент вторичной эмиссии i-го диода si, коэффициент сбора электронов gi , а m — число каскадов усиления, то коэффициент усиления ФЭУ:

(1.8)
абсолютная спектральная чувствительность ФЭУ:

Sl= SlkЧM

где абсолютная спектральная чувствительность фотокатода ФЭУ, определяемая аналогично по формуле (1.7).

Чувствительность ФЭУ может достигать ~105 А/Вт в максимуме спектральной характеристики. В обычных ФЭУ линейность сохраняется до десятков миллиампер, у современных сильноточных — до единиц ампер.

При измерениях оптических сигналов большой мощности можно увеличить диапазон линейности ФЭУ для больших потоков частично используя динодную систему и снимая сигнал с промежуточных динодов. Нижний предел динамического диапазона ограничен шумами и темновыми токами ФЭУ, которые обычно составляют 10-11…10-5 А. Быстродействие современных ФЭУ лежит в пределах 30...1 нс (1н=10-9 с).

К ФП на основе внутреннего фотоэффекта относятся фоторезисторы, фотодиоды, фототранзисторы, МДП-фотоприемники и другие полупроводниковые ФП. Для измерения энергетических параметров излучения наиболее широкое распространение получили фотодиоды (ФД) и фоторезисторы (ФР).

Действие ФР основано на явлении фотопроводимости, заключающемся в возникновении свободных носителей заряда в некоторых полупроводниках и диэлектриках при падении на них оптического излучения. Фотопроводимость приводит к уменьшению электрического сопротивления и соответственно к увеличению тока, протекающего через фоторезистор.

Общее выражение для абсолютной спектральной чувствительности ФР может быть представлено в виде:

(1.10)
где e — заряд электрона; V — объем освещенности части полупроводника; Q — квантовый выход внутреннего фотоэффекта; m — подвижность фотоносителей; t — время жизни фотоносителей; l — расстояние между контактами; u — напряжение, приложенное к ФР.

ФР различных типов перекрывают широкий спектральный диапазон(0.4…25 мкм); большинство из них требует охлаждения до температуры жидкого азота или жидкого гелия, что вызывает дополнительные трудности при их использовании в измерительной аппаратуре в качестве ПИП. Кроме того, они обладают большей инерционностью и невысокой чувствительностью, что также ограничивает их применение для измерений энергетических параметров лазерного излучения.

Наиболее широкое использование для этих целей имеют германиевые и кремниевые фотодиоды. Возникающие под действием излучения неосновные носители диффундируют через p-n-переход и ослабляют электрическое поле последнего, что приводит к изменению электрического тока в цепи. Фототок в широких пределах линейно зависит от интенсивности падающего излучения и практически не зависит от напряжения смещения. Для измерения энергетических параметров излучения обычно используют фотодиодный режим (с питанием), так как при этом диапазон линейности и быстродействие гораздо больше, чем в фотовольтаическом режиме (без питания). Важное значение для работы всех ФП имеет согласование с электронной схемой.

Абсолютная спектральная чувствительность ФД:

Sl=tЧgЧQЧl(1-r)/1.24 (1.11)
где t — коэффициент пропускания окна прибора; g — коэффициент

собирания носителей; Q — квантовый выход; l — длина волны излучения; r — коэффициент отражения.

В рабочем спектральном диапазоне абсолютная спектральная чувствительность составляет десятые доли А/Вт. Область спектральной чувствительности кремниевых фотодиодов составляет 0.4…1.2 мкм (максимум около 0,85 мкм), германиевых — 0.3…1.8 мкм (максимум в области 1,5 мкм). Такие ПИП не требуют охлаждения. Темновые токи у кремниевых ФД примерно на порядок ниже, чем у германиевых и достигают 10-5…10-7 А, а при специальной технологии изготовления — 10-9…10-12 А. ФД обладают сравнительно низким уровнем шумов, что в сочетании с высокой чувствительностью делает, их ФП с низким порогом чувствительности. Это позволяет использовать ФД для измерений весьма слабых потоков излучения (до 10-6 Вт)

Инерционность обычных полупроводниковых ФД составляет 10-6…10-8 с, а временное разрешение Ge и Si лавинных ФД достигает 1…10 нс. ФД изготавливают с размерами фоточувствительной площадки примерно от долей мм до 10 мм, а лавинные ФД — до 1 мм.

Для измерения относительно больших уровней мощности и энергии целесообразно применять ПИП с невысокой чувствительностью, т.е. ФЭ. Для измерения средних уровней энергетических параметров лазерного излучения можно применять как вакуумные приборы ( ФЭУ), так и полупроводниковые (ФР, ФД) . Для измерения малых потоков требуются приемники с высокой чувствительностью и низким уровнем шума. Фотодиоды уступают по чувствительности ФЭУ. Однако ФД обладают низким уровнем шума. Это позволяет применять ФД для измерения малых потоков не непосредственно, а с помощью усилителя. В этом случае ФД вполне могут конкурировать с ФЭУ, а в ряде случаев и превосходить их по характеристикам.

Основные преимущества ФД по сравнению с ФЭУ: небольшие габариты, низковольтное питание, высокая надежность и механическая прочность, более высокая стабильность чувствительности, низкий уровень шумов, лучшая помехозащищенность от электрических и магнитных полей.

Недостатки ФД по сравнению с ФЭУ: меньшее быстродействие для большинства ФД, более сильное влияние температуры на параметры и характеристики прибора.

Для измерения временных параметров лазерного излучения следует применять наиболее быстродействующие фотоэлектрические приемники — ФЭ, для измерения малых потоков — ФЭУ и лавинные ФД.

Для измерения мощности лазерного излучения в непрерывном режиме могут быть использованы как вакуумные, так и полупроводниковые ФП, поскольку здесь не требуется их высокого быстродействия.

Пондеромоторный метод

В пондемоторных измерителях энергии и мощности лазерного излучения используется эффект П. Н. Лебедева . Лазерное излучение падает на тонкую приемную металлическую или диэлектрическую пластину и давит на нее. Давление (сила) измеряется чувствительным преобразователем.




Рисунок 1.4 Функциональная схема крутильных весов

Для измерения давления излучения используют различные преобразователи: емкостные, пьезоэлектрические, крутильные весы на механическом и магнитном подвесе, механотроны. Первые два типа большого распространения не получили из-за малого значения коэффициента преобразования, малой помехоустойчивости и сложности системы отсчета и регистрации. Наиболее широко применяются крутильные весы — классический прибор для измерения малых сил. Схема устройства приведена на рис.1.. На растяжках или подвесе 1 укреплено коромысло 2 с приемным крылом 3, противовесом 4 и зеркалом 5, расположенным в вакуумированной камере. При попадании оптического излучения на приемное крыло подвижная система отклоняется от положения равновесия на некоторый угол, по величине которого можно судить о значении оптической мощности или энергии. Крючок 6 предназначен для крепления груза при калибровке весов (определения их момента инерции и жесткости подвеса).

Из решения уравнения движения крутильного маятника можно получить значение угла поворота a приемной пластины 3 при воздействии на нее непрерывного излучения мощностью P

(1.12)
где r — коэффициент отражения пластины; t — коэффициент пропускания входного окна камеры; l — расстояние от оси пучка излучения до оси вращения; j — угол падения излучения на пластину; c — скорость света; K — жесткость подвеса. Аналогичное выражение можно получитъ для максимального угла разворота пластины amax — под действием импульса излучения энергией Wu:

(1.13)
где J — момент инерции вращающейся системы. Углы поворота отсчитываются на шкале 8 по отклонению светового пятна от лампочки 7 (рис. 1.4). При известных параметрах системы формулы (1.12) и (1.13) позволяют определить энергию и мощность излучения в абсолютных единицах.

В настоящее время в конструкцию пондеромоторных измерителей введено много усовершенствований, которые позволили улучшить их эксплуатационные и метрологические параметры. Прежде всего оказалось возможным отказаться от вакуумирования и использовать атмосферное давление воздуха в камере. Применение в качестве приемных элементов прозрачных диэлектрических пластин вместо отражающих металлических позволило увеличить верхний предел изменения энергии излучения (до 104 Дж). Такие устройства позволяют измерять мощность лазерного излучения, начиная с единиц миливатт, и энергию импульсов в десятые доли джоуля.

Для отсчета угла поворота крутильных весов часто используют емкостный преобразователь. В этом случае пластина противовеса является одной из пластин конденсатора, включаемого в резонансный контур генератора. При повороте подвижной системы емкость конденсатора, а значит, и частота генератора меняются, изменение частоты измеряется частотным детектором. Чувствительность такой системы очень высока, но сама система громоздка и сложна в настройке и управлении.

Другим способом реализации высокочувствительной системы отсчета является схема с двумя фоторезисторами, которые включены вместе с двумя постоянными резисторами в мостовую схему. В положении равновесия мост сбалансирован. При отклонении системы освещенность фоторезисторов меняется, мост разбалансируется и в его измерительной диагонали появляется ток, пропорциональный углу поворота, который регистрирует микроамперметр. Подобные системы индикации используются в гальванометрических фотоусилителях Ф117, Ф120, имеющих чувствительность около 0.1 А/рад, что позволяет измерять минимальный угол отклонения порядка нескольких угловых секунд.



Рисунок 1.5 Магнитный подвес в пондеромоторном измерителе

Увеличение чувствительности в пондеромоторных измерителях и улучшение развязки подвижной системы от толчков и вибраций достигнуты при помощи бесконтактного подвеса в магнитном поле (рис. 1.5). Подвижная система 1 с приемной пластиной 2, противовесом 3 и ферромагнитным якорем 4 подвешена в магнитном поле соленоида 5 внутри камеры. Ток соленоида регулируется специальной автоматической системой, состоящей из датчика 6, линейного 7 и дифференциального устройства 9. При изменении вертикального положения системы в ответ на сигнал датчика вырабатывается сигнал обратной связи, усиливающий или ослабляющий ток через соленоид и стабилизирующий положение системы. Поперечная устойчивость обеспечивается радиальным градиентом напряженности поля соленоида.

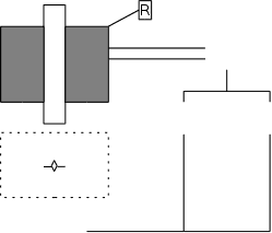
Помимо крутильных весов для измерения используются механотроны, которые представляют собой электровакуумный прибор с механически управляемыми электродами. При воздействии внешнего механического сигнала в механотроне происходит перемещение одного или нескольких подвижных электродов, что вызывает соответствующее изменение анодного тока.



Рисунок 1.6Схема устройства диодного механотрона

Отечественная промышленность выпускает ряд механотронных преобразователей, оформленных в виде обычных электронных ламп с октальным цоколем (6MXIБ, 6MXЗС и др.) и в миниатюрном оформлении с гибкими выводами (6MXIБ и т.п.). Конструкция этих механотронов показана на рис. 1.6. Сам механотрон представляет собой диод с плоскопараллельными электродами. В стеклянном баллоне 1 находятся неподвижный катод 2 с подогревателем 3 и подвижный анод 4, жестко соединенный со стержнем 5, который впаян в гибкую мембрану 6. Входной механический сигнал (сила F) подается на внешний конец стержня. При этом подвижный анод перемещается относительно неподвижного катода, что приводит к изменению анодного тока и выходного сигнала преобразователя, который для измерения включают в мостовые схемы.

Чувствительность механотронов не превышает 10 мА/г (или по мощности 10-9 А/Вт). Такое значение чувствительности при величине флуктуаций тока 0.1 мкА, вызываемых температурным дрейфом, толчками и вибрациями, дает возможность уверенно измерять давление непрерывного излучения более 1кВт. Если излучение промодули ровать так, чтобы подвижная система механотрона вошла в резонанс, нижний предел измерения может достичь 100 Вт. Поэтому механотронный преобразователь обычно применяют для измерения больших уровней мощности и энергии импульсов лазерного излучения, например непрерывного излучения мощных СО2-лазеров и импульсного на стекле с неодимом.

Опыт, накопленный при разработке и эксплуатации различных типов измерителей энергии и мощности лазерного излучения, позволяет сделать заключение об областях применения, достоинствах и недостатках различных методов.

К достоинствам теплового метода измерения энергетических параметров лазерного излучения относятся широкие спектральный и динамический диапазоны измерения, простота и надежность измерительных средств. В настоящее время в некоторых калориметрических измерителях достигнута наиболее высокая точность измерения, а при использовании пироэлектрических приемников излучения и быстродействующих термоэлементов и болометров удалось получить быстродействие до единиц наносекунд.

К недостаткам теплового метода можно отнести малое быстродействие и чувствительность как раз тех тепловых приборов, которые обеспечивают наиболее высокую точность измерения.

В приборах, основанных на фотоэлектрическом действии излучения, достигаются максимальная чувствительность и быстродействие; это позволяет использовать их в качестве измерителей формы импульсов и импульсной мощности вплоть до субнаносекундного диапазона. Недостатками таких приборов является сравнительно узкий спектральный диапазон и обычно невысокий верхний предел измерения мощности (энергии), а также большая погрешность измерений (5…30%) по сравнению с тепловыми приборами.

Преимущество пондеромоторного метода — высокий верхний предел измерения энергии и мощности излучения при достаточно высокой точности абсолютных измерений. Основной недостаток — жесткие требования к условиям эксплуатации (особенно к вибрации) и, вследствие этого, ограничения к применению в полевых условиях.

Измерение основных параметров импульса лазерного излучения

Как известно ряд активных сред в силу принципиальных или технических ограничений обычно работают в импульсном режиме генерации, Сюда в первую очередь относятся лазеры на самоограниченных переходах — азотный лазер, генерирующий в УФ диапазоне (l=337,1 нм), и лазер на парах меди, дающий мощные импульсы зеленого излучения (l=510,5 нм), Еще более широко распространены рубиновые лазеры и лазеры на неодимовом стекле, импульсный характер генерации которых обусловлен прежде всего особенностями системы накачки и охлаждения активной среды. И наконец, в некоторых наиболее ответственных случаях для повышения пиковой мощности излучения некоторые лазеры переводятся в режим управляемой генерации; при этом наиболее часто используются методы управления добротностью резонатора для получения так называемого гигантского импульса и синхронизации продольных мод с целью получения пикосекундных (правильнее — сверхкоротких) импульсов.

В результате возникает задача измерения основных параметров генерируемого лазером импульса излучения. Очевидно, что наиболее простым было бы построение измерений по схеме получения абсолютной зависимости мощности излучения от времени P(t) с последующим извлечением из нее всех интересующих величин — обычно это пиковая мощность Pu,max=P(t*), энергия импульса

и его длительность Dt. Однако точность таких измерений обычно невелика. Поэтому, как правило, разделяют измерение временных (Рmax и tu) и энергетических (W) параметров, что кроме повышения точности получаемых результатов позволяет упростить сами измерения. При этом измерение энергии импульса проводится обычно с помощью калориметрического измерителя (см.1.1), обеспечивающего наибольшую точность, или фотодиода с последующим интегрированием фототока, а измерение зависимости Р(t) — с помощью фотоэлектронного приемника с высоким временным разрешением. Именно по такой схеме построены серийные приборы марок ФН и ФУ, рассчитанные на работу в диапазоне 0.4…1.1 мкм при энергии в импульсе 10-3…10 Дж и пиковой мощности 104 …108 Вт; при длительности импульса tu =2.5…5Ч10-9 с и частотой повторения F < 1 кГц погрешность измерения энергии dE»20%, а мощность около 25%.

Анализ параметров импульса с помощью осциллографа.

Для измерения формы импульса и его временных параметров (в частности, длительность импульса tu, времен нарастания и спада и т.п.) используют быстродействующие фотоприемники с высокой линейностью световой характеристики. К ним, в первую очередь, относятся специально разработанныt во ВНИИОФИ коаксиальные фотоэлементы серии ФЭК, рассчитанные на нагрузку 75 Ом и напряжение питания 1000 В; их временное разрешение (собственная постоянная времени) колеблется в пределах от 10-9 до 10-10 с, и максимальный фототок от 1 до 7 А у разных марок, отличающихся конструкцией и типом фотокатода.

Таким образом, вопрос об эффективном преобразовании светового импульса в электрический в первом приближении (по крайней мере для лазеров с "гигантским" импульсом) можно считать решенным. Для исследования формы полученного электрического импульса используются как обычные универсальные осциллографы с полосой пропускания до 107 Гц, так и специальные скоростные осциллографы с полосой пропускания 1...5 ГГц и чувствительностью ~1 мм/В. Последние обычно не имеют усилителя (вертикального входа), и сигнал в них подается непосредственно на верительные отклоняющие пластины, что и обеспечивает широкую полосу пропускания, но при низкой чувствительности к входному сигналу. Дальнейший анализ осциллограммы проводится по ее фотоснимку, а также при использовании ЭЛТ с длительным свечением люминофора или с накоплением заряда и последующим его многократным считывании.

Ввиду плохой воспроизводимости параметров лазерных импульсов использование стробоскопических методов исследования не обеспечивает необходимой точности измерений и потому обычно не практикуется.

Изучение формы сверхкоротких лазерных импульсов

Как указывалось в 1.1.2, наиболее быстродействующие фотоэлектрические приемники излучения имеют постоянную времени 10-10 …10-9 с, т.е. с их помощью можно надежно исследовать только "гигантские" импульсы, типичная длительность которых составляет 10-8 с, а времена нарастания и спада могут быть значительно короче. Поэтому при исследовании временных зависимостей в случае наиболее коротких гигантских импульсов и, особенно, пикосекундных импульсов используют косвенные методы, основанные на применении временной развертки, используемой в электронных и оптических осциллографах. В настоящее время принцип сверхскоростной временной развертки реализован как на базе оптико-механической развертки с растрами (кинокамера типа "лупа времени"), Что позволяет зарегистрировать Набор малоинформативных двумерных изображений с частотой съемки 105…108 кадр/с, так и на базе непрерывной одномерной (щелевой) оптико-механической развертки (щелевые фоторегистраторы) с временным разрешением от 10-7 до 3Ч10-9 с. Таким образом, использование оптико-механической развертки не позволяет сколько-нибудь существенно улучшить временное разрешение, обеспечиваемое малоинерционными фотоприемниками, но позволяет получить набор двумерных (например, распределение по поперечному сечению пучка) или одномерных (одномерное сечение пучка, спектр и т.п.) изображений, правда, только для излучения лазеров УФ, видимого и ближнего ИК диапазонов, что определяется ограниченным спектральным диапазоном используемых фотопленок.

Поэтому в некоторых случаях применяют электронную развертку одно- или двумерных электронных "изображений", поступающих с фотокатода (сурьмяно-цезиевого, многощелочного или кислородно-цезиевого, что оговаривается при заказе конкретного прибора) ЭОПа. В случае использования кислородно-цезиевого фотокатода "красная" граница достигает 1.3 мкм. Однако более существенным преимуществом используемых для высокоскоростной регистрации ОЭПов является значительное усиление яркости регистрируемого изображения — до (103…108 )х в многокаскадных (2…6) приборах; это важно при регистрации маломощных пикосекундных импульсов. В зависимости от электронной системы развертки можно получить 9…12 отдельных кадров (двумерных изображений) с временем экспонирования до 10-9…5Ч10-13с, что обеспечивается отдельным электронным затвором, расположенным обычно у фотокатода. Частота смены кадров, обеспечиваемая за счет синхронной работы двух взаимно перпендикулярных систем электростатического отклонения (всего пучка фотоэлектронов), гораздо ниже, что затрудняет исследование динамики процесса генерации.

По этой причине ЭОПы с разверткой обычно используют для исследования только временных зависимостей интенсивности сфокусированногованного (монохроматическим объективом) пучка излучения пикосекундного лазера. Применяемая при этом одномерная (обычно линейная) развертка может иметь скорость до 1010 см/с, что обеспечивает получение на выходном люминесцентном экране (Ж40 мм) с разрешением от 5…10 лин/мм (в 5-6-каскадных ЭОПах) до 50 лин/мм (в однокаскадных) временной разрешающей способности 10-11 с. Рекордная скорость одномерной (спиральной) развертки (6Ч1010 см/с) достигнута в ЭОПе "Пикохрон-1" за счет использования на отклоняющих пластинах СВЧ-напряжения (l = 3 см);

соответственно при разрешающей способности (не экране) 5 лин/мм временное разрешение моют достигать 5Ч10-13 с, что соответствует временным разбросам пролета электронов в пучке, и поэтому не может быть улучшено повышением скорости развертки. Характерно, что для обеспечения удовлетворительных яркости характеристик выходного сигнала (спирали на люминесцентных экранах) "Пикохрон-1" имеет шестикаскадную систему усиления, в результате чего яркость возрастает в 107…108 раз по сравнению с исходной (но существенно падает разрешающая способность выходного "изображения").

Таким образом, вопрос исследования временных зависимостей генерации пико- и даже фемтосекундных импульсов лазерного излучения можно считать в первом приближении решенным. Однако сложность, высокая стоимость, громоздкость и необходимость высококвалифицированного обслуживания затрудняет в некоторых случаях практическое использование камер с оптико-механической и электронной развертками.Поэтому в заключении данного пункта целесообразно рассмотреть внешне достаточно простой чисто оптический способ измерения длительности пикосекундных импульсов, в котором используется оптическая "развертка" (со скоростью света) при прохождении излучения в нелинейном (по интенсивности) веществе, за счет чего и достигается "визуализация" светового импульса.

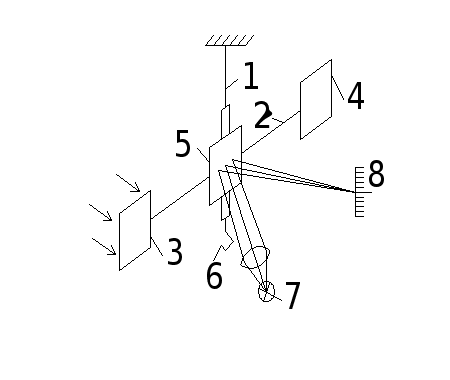
Рисунок 1.7. Схема измерения длительности пикосекундных импульсов методом нелинейной (двухфотонной) люминесценции.

"Световая" развертка была предложена в 1967 г. Джордмейном для использования длительности пикосекундных импульсов при распространении двух одинаковых световых пучков навстречу друг другу в растворе нелинейно люминесцирующего красителя. В первом эксперименте (рис. 1.7) "стоячая" волна образовывалась путем отражения основного пучка пикосекундных импульсов (генерируемого лазером на неодимовом стекле) в зеркале кюветы с красителем. Очевидно, что возле зеркала (и далее с шагом l=TC/n, где n — показатель преломления раствора красителя) плотность энергии прямого и отраженного пучка будет максимальна из-за совпадения i-го импульса. Левее (рис.1.7) зеркала на l будут совпадать (i-1)-й импульс в прямой волне и (i+1)-й — в отраженной. При удалении от зеркала на 2l двухфотонная люминесценция красителя будет ярче из-за наложения (i-2) и (i+2) импульсов цуга и т.д. Для приближенной оценки контраста получаемой картины примем, что все пикосекундные импульсы в цуге имеют одинаковую пиковую интенсивность I1=I2=Ii.Тогда яркость фонового свечения двухфотонной люминесценции Вфона пропорциональна Ii2,а максимальная яркость (возле зеркала и в других "пучностях") Вмакс пропорциональна (2Ii)2=4Ii2, т.е. заметно выше; это обеспечивает надежное выделение информации о длительности пикосекундных импульсов и временном интервале Т между ними по микроденситограмме фотоснимка кюветы с возбужденным красителем (рис. 1.8).


Рисунок 1.8. Микроденситограмма (справа) фотографии центральной части симметрично возбуждаемой пикосекундными импульсами кюветы (слева) с красителем.

В действительности как сам эксперимент, так и его теория значительно сложнее приведенной выше элементарной модели. Ввиду ограниченного объема укажем лишь, что обычно кювета с красителем возбуждается симметрично (рис.1.8), а закон распределения яркости свечения определяется (авто)корреляционной функцией интенсивности лазерного пучка, в результате чего для гауссова импульса происходит "уширение" свечения в раз, а контраст снижается до 3,0. Известен метод измерения корреляционной функции интенсивности лазерного пучка за счет нелинейного эффекта генерации второй гармоники, позволяющий избавиться от фоновой засветки и иметь временное разрешение »0,1 пс; однако как его описание, так и, особенно, реализация достаточно сложны.

Измерение пространственного распределения энергии в лазерном пучке

Наиболее полной пространственно-энергетической характеристикой лазерного излучения является диаграмм направленности, то есть угловое распределение энергии или мощности в лазерном пучке. Вблизи излучающей апертуры лазера угловое распределение имеет непостоянную конфигурацию, поэтому в большинстве случаев практический интерес представляет распределение поля излучения в дальней зоне, когда форма распределения перестает зависеть от расстояния и можно говорить о сформировавшейся диаграмме направленности излучения. В качестве приближенной оценки границы дальней зоны принимают расстояние, превышающее d2/l, где d —диаметр излучающей апертуры лазера; l — длина волны излучения.

Ширину диаграммы направленности в дальней зоне количественно характеризуют углом расходимости лазерного излучения, который обычно нормируется при выпуске лазеров из производства.

На практике используют два понятия расходимости. В первом случае имеют в виду плоский или телесный угол Qp или Qs, определяющий ширину диаграммы направленности в дальней зоне по заданному уровню углового распределения энергии или мощности, отнесенного к его максимальному значению. Чаще всего значение уровня принимается равным 0,5 и 1/е2, где е — основание натуральных логарифмов. Приведенное выше определение однозначно характеризует излучение только одномодового лазера, имеющего диаграмму направленности без боковых лепестков, т.е. близкую к гауссовскому распределению. В случае многомодового режима диаграмма излучения имеет многочисленные боковые лепестки, содержащие значительную часть энергии. Поэтому величина расходимости по заданному уровню энергии или мощности, т.е. по существу центрального максимума распределения, не очень показатальна, если неизвестно угловое распределение энергии или мощности в этом угле. В таких случаях более удобной характеристикой является энергетическая расходимость лазерного излучения (QW,P или QW,S), т.е. плоский или телесный угол, внутри которого распространяется заданная доля энергии или мощности излучения.

Лазерное излучение также характеризуют значением диаметра пучка, т.е. диаметра поперечного сечения пучка лазерного излучения, внутри которого проходит заданная доля энергии или мощности.

Для практического определения расходимости используют три основных метода: метод сечений, метод регистрации диаграммы направленности и метод фокального пятна.


Рис.1.9. Принципиальные схемы трех основных методов измерения расходимости лазерного излучения

Наиболее простым является метод двух сечений (рис.1.9.а). Согласно этому методу расходимость (или энергетическая расходимость) пучка излучения определяют путем измерения диаметров пучка d1 и d2 в двух поперечных сечениях дальней зоны, отстоящих одно от другого на расстоянии L, и вычисления искомого угла Q по формуле:

Q=arctg[(d2-d1)2L]»(d2-d1)/2L

Измерения диаметров d1 и d2 производятся одновременно или последовательно по одному и тому же критерию — заданному уровню интенсивности либо заданной доле мощности (энергии). Достоинством метода является его простота, однако для обеспечения необходимой точности измерений требуется достаточно большая (до нескольких метров) база между сечениями, что затрудняет использование данного метода в лабораторных условиях.

Для уменьшения линейных габаритов установки применяют различные зеркальные или призменные системы, называемые оптическими линиями задержки. В качестве примера реализации метода сечений на рис.1.10 показана схема измерителя расходимости непрерывного лазерного излучения в видимом и ближнем ИК диапазонах. Излучение лазера 1, отразившись от вращающегося зеркала 2 (положение а-а), отклоняется на фотоприемник 12 с щелевой диафрагмой 11 и после преобразования в электрический импульс регистрируется системой 13. При повороте зеркала на выходе приемника образуется электрический импульс, длительность которого пропорциональна диаметру поперечного сечения пучка. При дальнейшем повороте зеркала 2 в положение в-в пучок излучения, пройдя многозеркальную отклоняющую систему 3-10, сканирует по щели фотоприемника 11. Длительность импульса на выходе этого фотоприемника пропорциональна диаметру второго поперечного сечения, удаленного от первого сечения на расстояние, вносимое зеркальной системой, удлиняющей ход пучка. В силу расходимости длительность этого импульса больше первоначального. В регистрирующей системе 13 измеряется разность длительностей этих импульсов и определяется значение угловой расходимости в соответствии с соотношением

(1.15)

где V — скорость сканирования пучка по диафрагме; L — длина оптической задержки; — длительность импульсов; d1 и d2 — диаметры первого и второго сечений пучка. На этом принципе работает измеритель расходимости с цифровым отсчетом, способный измерять расходимость от 20" до 3600" в диапазонах длин волн 0,4...1,15 мкм и мощности 0,15...1000 мВт. Погрешность измерения расходимости данным прибором составляет 3%.

Рисунок 1.10. Схема измерителя расходимости пучка непрерывного лазера, в котором использована модификация метода сечений.

Метод регистрации диаграммы направленности позволяет получить наиболее полную информацию о пространственном распределении лазерного излучения (см. Рис. 1.9б). Для измерения диаграммы направленности можно использовать фотоэлемент или ФЭУ, расположенные в дальней зоне, фотокатод которых закрыт диафрагмой с отверстием малого диаметра. Перемещая фотоэлемент по дуге окружности радиусом R, регистрируют угловое распределение интенсивности излучения. Зная диаграмму направленности, можно рассчитать энергетическую и угловую расходимости излучения. Измерение диаграммы направленности является сложной и трудоемкой процедурой, поэтому редко применяется в метрологической практике.

Метод фокального пятна является наиболее распространенным методом измерения расходимости. Для проведения измерений в дальней зоне, т.е. в области дифракции Фраунгофера, требуются, как правило, значительные расстояния от источника излучения. Условия дифракции Фраунгофера можно получить в фокальной плоскости идеальной безаберрационной положительной линзы (рис.1.9в). Для перехода к угловому распределению необходимо линейное распределение в фокальной плоскости разделить на фокусное расстояние линзы, то есть угол расходимости излучения лазера определяют по формуле

Q»a/f ',

где а — радиус пятна на фокальной плоскости. В этом методе для исключения влияния дифракции на краях линзы применяют длиннофокусные линзы с большой апертурой, превышающей примерно в 2 раза диаметр падающего лазерного пучка, а фокусное расстояние линзы должно удовлетворять условию

где l — длина волны лазерного излучения; QW,P — энергетическая расходимость лазерного излучения, установленная в стандартах или ТУ на лазеры конкретных типов. Погрешность измерения данного метода в основном связана с неточностью определения размера пятна и не превышает 27%.

Как в методе фокального пятна, так и в методе сечений суть измерений расходимости сводится к определению диаметра сечения пучка по тому или иному критерию. Для определения диаметра пучка излучения применяют в основном два метода (ГОСТ 26086-84): метод калиброванных диафрагм и метод распределения плотности энергии (мощности) лазерного излучения. В первом случае используются диафрагмы с плавно изменяющимся диаметром или сменные калиброванные диафрагмы. Их устанавливают непосредственно в пучке или в фокальной плоскости линзы. Изменяя диаметр диафрагм, регулируют диаметр пучка, в пределах которого заключена заданная доля энергии (мощности) излучения от полной энергии. В схеме такого измерителя имеются две ветви, в одной из которых и измеряется полная энергия (мощность) пучка. Рассмотренный способ является недостаточно точным, а процесс измерения малооперативным, кроме того, он не дает информации о распределении поля вблизи максимума излучения и не позволяет выявить неоднородности; неоднородности в распределении излучения. Для устранения этого недостатка применяют метод регистрации распределения плотности энергии (мощности) лазерного изучения в поперечном сечении пучка. Для этого в видимой области и ближнем ИК диапазоне спектра используют фотографирование пятна излучения на фотопленку или фотопластинку с последующей обработкой микрофотометрированием и численным интегрированием на ЭВМ. В случае мощных импульсных и непрерывных лазеров применяют нейтральные светофильтры для ослабления излучения. При грубых оценках достаточно мощных лазеров размер пятна определяют по размеру отверстия, прожигаемого пучком лазера в непрозрачной мишени (черная бумага, тонкие металлические пластины и т.п.). Более удобным способом измерения, распределения интенсивности в сфокусированном пятне является автокалибровочный способ (рис.1.11), который основан на разделении лазерного пучка на ряд пространственно подобных м и достаточно удаленных один от другого пучков различной интенсивности с помощью пластины L под установленной под углом к пучку лазера. Толстая пластина L ослабляет и многократно расщепляет лазерный пучок.




Рисунок 0.7 Схема автокалибровочного способа измерения расходимости излучения

Если коэффициент отражения обеих поверхностей равен r, то интенсивность In, пучка с номером n, выходящего из наклонной пластины L , можно записать в виде:

In=I0(1-r)2Чr2(n-1) (1.18)
где IO — интенсивность пучка, падающего на пластину. Таким образом, на пленке P получается несколько изображений пятна с разной экспозицией, из которых после обработки денситограмм можно достаточно точно определить диаметр пятна на заданном уровне интенсивности.

Для более оперативного получения данных, а также для преобразования излучения в видимую область спектра используют ЭОПы, видиконы и диссекторы, которые позволяют наблюдать или фотографировать объекты в ближних ИК (до 1.5 мкм), видимых, УФ или рентгеновских лучах.

С появлением многоканальных мозаичных приемников излучения задача определения относительного распределения плотности энергии или мощности значительно упростилась, а скорость получения результатов измерений существенно повысилась. Параллельный принцип измерения многоканальных ПИП локальных плотностей мощности и энергии позволяет проводить анализ импульсного и нестабильного во времени в и пространстве непрерывного излучения с выдачей результатов непосредственно на экран дисплея ЭВМ или ЦПУ.

Большинство преобразователей имеют до 100 каналов измерения с размером одного элемента от 5х5 до 10х10 мм2. Матричные ПИП основаны на различных принципах действия (термоэлектрические калориметры, пироэлектрические и полупроводниковые приборы) и могут перекрывать видимую и ИК области спектра l= 0.4…25 мкм).

Современные фотодиодные, фоторезистивные и фототранзисторные матрицы состоят из нескольких десятков тысяч элементов с шагом нескольких десятков микрометров и общей площадью до 15х15 мм2. Время опроса таких матриц составляет доли миллисекунд.

Автоматизированная математическая обработка информации с мозаичных приемников обеспечивает вычисление энергетической расходимости (не только относительно точки с максимальной интенсивностью, но и относительно центра тяжести пятна или геометрического центра); выделение изоуровней; обработку фокальных пятен неправильной формы; коррекцию искажений измерительного тракта, включая возможность индивидуальной коррекции неравномерности чувствительности отдельного канала; определение оси диаграммы направленности, ее дрейф в течение времени и т.д.

В то же время многоканальные мозаичные ПИП обладают все еще низкой разрешающей способностью (до 10 лин/мм), повышенной общей плотностью системы и стоимостью.

Измерение поляризации лазерного пучка

В силу специфики процесса генерации в лазерах (основанного на стимулированном испускании активной средой когерентных фотонов) получаемое таким путем излучение всегда должно обладать 100 %-ной элементарной (линейной или круговой) поляризацией. Вид последней определяется особенностями используемой (в лазере) активной среды — поляризацией ее спонтанного излучения, служащего "затравкой" при разгорании генерации, и величиной коэффициента усиления для элементарных поляризаций; существенное значение в лазерах с резонатором мыв т поляризационная анизотропия последнего, т.е. соотношение потерь для различных элементарных поляризаций. В подавляющем большинстве серийных лазеров генерируется только линейно поляризованное излучение, причем почти всегда плоскость поляризации однозначно определяется либо поляризацией спонтанного излучения активной среды (например, степень поляризации основной R1 линии в стержнях рубина с 90° ориентацией кристаллографической оси составляет 80%), либо брюстеровскими поверхностями (например, брюстеровскими окнами в газоразрядных кюветах, брюстеровскими торцами лазерных стержней, установленными под углом Брюстера модуляторами, затворами и т.п.). Лишь в лазерах на неодимовом стекле при отсутствии поляризационной анизотропии генерируется линейно поляризованное излучение, плоскость поляризации которого хаотически, через время порядка Dt (время развития генерации), "перескакивает" после того, как "съедена" инверсная населенность с соответствующей поляризацией.

С другой стороны, различные дефекты активной среды и особенности используемого оптического резонатора могут изменять состояние поляризации лазерного пучка, в результате чего в некоторых случаях необходимо его исследование; это характерно, например, при использовании поляризационной (главным образом, электрооптической) модуляции и в некоторых других случаях. Перечислим (в порядке нарастания "сложности") возможные "элементарные" состояния поляризации:

1. Линейная поляризация — характеризуется только положением плоскости поляризации — углом a с (произвольной) осью x , перпендикулярной направлению распространения света z;

2. Круговая поляризация — характеризуется только направлением вращения конца проекции вектора Е на плоскость xy (перпендикулярную направлению распространения z) — право- и левоциркулярно поляризованное излучение; отметим, что круговая поляризация может трактоваться как совокупность двух взаимно ортогональных линейно поляризованных лучков равной интенсивности, колебания в которых сдвинуты соответственно на ±l/4 (или на угол d=±p/2);

3. Эллиптически поляризованный свет является наиболее общим случаем элементарной поляризации и определяется уже тремя параметрами: углом плоскости большой оси (преимущественного направления поляризации) с осью x, т.е. углом a, эллиптичностью b, характеризующей соотношение напряженности линейно (и ортогонально) поляризованного света меньшей интенсивности к большей, и направлением вращения (правое или левое, как для циркулярно поляризованного света); в другой трактовке эллиптически поляризованный свет есть совокупность циркулярно поляризованного излучения и (когерентного с одной из его составляющих) линейно поляризованной добавки, плоскость поляризации которой расположена под углом a .

Таким образом, все "элементарные" состояния поляризации могут быть получены из двух линейно поляризованных во взаимно перпендикулярных плоскостях излучений с амплитудами Аx и AY и разностью фаз d. Стоксом были введены четыре параметра

, , , , полностью определяющем состояние поляризации монохроматического пучка; прямо пропорциональный полной интенсивности поляризованного пучка, положение преимущественной (линейной) поляризации (положение большой оси а эллипса) a=0.5arctg(s2/s1), угол эллиптичности (при этом 0 соответствует правая поляризация, а (-p/2)Јb — левая) и сдвиг фаз d=dx-dy=arctg(s2/s3).

Хотя состояние поляризации любой волны, не содержащей неполяризованного света() можно представить точкой в трехкоординатном (декартовом) пространстве параметров Стокса S1, S2, S3, более наглядным является аналогичное представление на сфере Пуанкаре, где в полярной системе координат на сфере радиуса наносится точка Р1 с угловыми координатами ax и bz=(p/2)-2b. Тогда экватору соответствуют все возможные состояния линейно поляризованного света, северному полюсу — правая, а южному — левая циркулярная поляризация. При этом все северное полушарие соответствует правой эллиптической поляризации, а южное — левой. В случае не полностью поляризованного света соответствующая ему точка P лежит на продолжении радиуса OP1 на расстоянии , а для учета неполной поляризации вводится степень поляризации , равная отношению поляризованной интенсивности к полной, т.е. p=Iполяр/I.

Сферу Пуанкаре можно использовать и для качественного анализа изменения состояния поляризации излучения во времени. Так, например, свободной генерации лазера на неодимовом стекле (без анизотропных элементов) будет соответствовать хаотический перескок точки P1 вдоль экватора на угол порядка p/2 (на ортогональную линейную поляризацию) с характерным временем порядка времени разгорания генерации. Незначительные флуктуации двулучепреломления в лазере с активной средой, находящейся в сильном аксиальном поле (но резонатор которого не имеет преимущественной поляризации например, ионный аргоновый лазер с внутренними зеркалами), будут приводить к соответствующему движению две точки Ps1 и Ps2 в области северного и иного полюсов сферы Пуанкаре и т.п.

В то же время для количественного анализа состояния поляризации удобнее использовать следующие параметры Стокса, которые сравнительно просто могут быть измерены непосредственно:

s0=I — полная интенсивность пучка;

s1=Ix-Iy разница интенсивности линейно поляризованных компонент (т.е. интенсивностей, пропускаемых высококачественным поляроидом или поляризационной призмой) для азимутальных углов 0° (x-компонента) и 90° (y-компонента);

s2=Ip/4-Ip/4 — разница интенсивностей при установке поляроида посередине между осями XY (Ip/4) и перпендикулярно биссектрисе угла xOy (I-p/4)

s3=Ig-Is — то же, что и для s1, s2; но для циркулярно поляризованного (соответственно по правому и левому кругу) света.

Таким образом, на первый взгляд, требуется иметь семь измерителей елей интенсивности, однако вполне достаточно четырех величин, например Ix, Iy, Ip/4 и In. При этом параметры Стокса (правда, в более сложной для обработки форме) могут быть автоматически вычислены по соответствующим формулам. Такой эллипсометр состоит из трех пар пластин, установленных под углом Брюстера и развернутых на угол 90° в каждой паре. В результате от первой пластины П1 отражается только составляющая Ix, от второй П2 — только Iy, от третьей П3 — только Ip/4 (так как вторая пара пластин развернута относительно первой на угол 45° ), а от пятой П5 — только In (так как перед третьей парой пластин стоит четвертьволновая пластина +l//4). Отражаемые четвертой П4 и шестой П6 пластинами пучки, пропорциональные I-p/4 и Is, не требуется для вычисления параметров Стокса, но сами пластины необходимы для обеспечения точности работы системы за счет четной симметрии каждого каскада пластин. Очевидно, что такой четырехканальный поляриметр может использоваться для анализа излучения как импульсных (его быстродействие определяется а основном используемыми фотоприемниками и может достигать 10-8 с), так и непрерывных лазеров.

В последнем случав можно применять поляриметры, работающие в режиме последовательного анализа отдельных поляризационных компонент лазерного пучка. Существенно, что в данном случав заметно повышает точность измерения (достижение точности основных величин — степени поляризации р, эллиптичности (а/b) угла преимущественной поляризации a в 1% не составляет труда) за счет снижения шумов при накоплении сигнала и синхронном детектировании. В качестве примера поляриметра данного типа сошлемся на схему модуляционного поляриметра. В нем используется двухканальный поляризационный анализатор последовательного действия, содержащий непрерывно вращающуюся (с угловой скоростью w) четвертьволновую пластинку (d=p/4) и призму Волластона, расщепляющую выходной лучок на две взаимно ортогональные поляризации с переменными во времени интенсивностями:

где q — угол, определяющий ориентацию анализатора — призмы Волластона, а — интенсивность линейно поляризованной составляющей. При попарной обработке обоих получаемых сигналов получим: на нулевой частоте (по постоянному току) s0=I1(0)+I2(0), при детектировании на частоте второй гармонию (f2=2w/2p),

при детектировании на частоте четвертой гармоники) ( угловое положение плоскости преимущественных колебаний a=0.5j4, где j4 — фаза сигнала четвертой гармоники. При высокой стабильности поляризации лазерного излучения измерения могут проводиться путем последовательной установки поляроида и четвертьволновой пластинки на оси пучка, замера интенсивности проходящего пучка и соответствующей обработки результатов аналогично обычным поляризационным измерениям.


ИЗМЕРЕНИЕ СПЕКТРАЛЬНЫХ И КОРРЕЛЯЦИОННЫХ ПАРАМЕТРОВ И ХАРАКТЕРИСТИК ЛАЗЕРНОГО ИЗЛУЧЕНИЯ

Данная глава посвящена измерению наиболее специфичных параметров и характеристик лазерного излучения, непосредственно или косвенно связанных с его когерентностью. Как известно, последняя характеризуется двумя основными параметрами — временной когерентностью, то есть длительностью Dt цуга излучения с постоянной во времени фазой (или длиной когерентности Dl=cЧDt), и степенью пространственной когерентности, определяющей степень корреляции (синфазности) излучения по поперечному сечению лазерного пучка. Естественно, что непосредственное измерение степени когерентности может осуществляться только интерференционными методами, достаточно сложными как для их понимания, так и для реализации; этому и посвящен последний параграф данной главы. Более доступны эксперименты по косвенной оценке временной когерентности путем измерения ширины линии лазерного излучения Dnизл=1/2pDt. В зависимости от абсолютного значения Dnизл такие измерения могут проводиться как в оптическом диапазоне (Dnизл >106 Гц), так и в радиофизическом (при меньших значениях Dnизл), что будет рассмотрено соответственно в 2.2 и 2.3. Предварительно целесообразно вкратце напомнить основные моменты по физике лазерной генерации, связанные с когерентностью излучения.

Влияние параметров лазера на когерентность его излучения

По определению лазер — это прибор, в котором происходит усиление (и, наиболее часто, генерация) оптического излучения за счет стимулированных переходов. Поэтому в идеальном случае лазерное излучение должно быть абсолютно когерентно, т.е. время когерентности Dt®Ґ и, соответственно, длина когерентности n®1, а степень пространственной когерентности n®1 (или к 100%). Такой ситуации соответствует излучение сверхстабильного одночастотного лазера бесконечно большой мощности. Естественно, что на практике это недостижимо. Поэтому целесообразно вкратце восстановить процесс генерации когерентного излучения в реальном лазере.

Генерация в лазере с линейным или кольцевым резонатором происходит в первом приближении на собственных (резонансных) частотах последнего, так как для них обеспечиваются наименьшие потери генерируемого излучения, т.е. максимальная (положительная) обратная связь. В оптическом резонаторе собственные резонансные частоты nmnq=Dnрез[q+(bmn/180°)], где Dnрез =c/2Lопт — частотный интервал между собственными продольными модами резонатора в линейном резонаторе (в кольцевом же Dnрез =c/Lопт); q — продольный индекс; bmn — фазовые искажения для bmn-й поперечной моды, определяемые геометрией резонатора.

К вторичным эффектам, оказывающим незначительное влияние на частоту генерации, относятся эффекты затягивания и отталкивания частот. Однако из-за высокой добротности (Q=Dn0.5/nmnq »106) оптического резонатора (т.е. малой по сравнению с nmnq ширины резонансного пика Dn0.5=сЧеa/4pLопт) отклонение частоты генерации от собственной резонансной частоты nmn крайне незначительно и может быть обнаружено только радиофизическими методами (см. 2.3).

Гораздо сильнее на частоту генерации лазера влияют параметры активной среды: центральная частота лазерного перехода n0=(Ев-Ен)/h (Ев, Ен — средняя энергия верхнего и нижнего рабочих уровней соответственно, h — постоянная Планка) и ширина спектральной линии Dn. При этом из бесконечного (главным образом, по продольному индексу q) набора собственных резонансных частот именно активная среда селектирует одно или несколько (в зависимости от характера уширения лазерного перехода) значений вблизи n0.

По этой причине длина волны генерации lген=с/nген почти всех лазеров (за исключением лазеров на растворах красителей и, в меньшей степени, полупроводниковых лазеров) с достаточной для подавляющего большинства практических случаев точностью однозначно определяется используемой активной средой. С другой стороны, прецизионное измерение длины волны лазерной генерации становится в настоящее время особенно актуальным, так как эталон длины (1м) с 1983 г. определен непосредственно через длину волны пяти газоразрядных лазеров, стабилизированных по частоте излучения соответствующей поглощающей ячейкой. Длина волны этих рекомендованных лазеров лежит в диапазоне от 0,515 мкм (Аг+/127I2) до 3,39 мкм (He-Ne/CH4) и воспроизводится с погрешностью от 1,3Ч10-9 (Аг+/127I2) до 1,3Ч10-10 (He-Ne/CH4). Наименьшую погрешность (6Ч10-10) воспроизведения длины волны (0.57629476027 мкм) в видимом диапазоне обеспечивает вторая гармоника He-Ne лазера, стабилизированного по частоте поглощающей ячейкой на парах 127I2; обе красные линии He-Ne лазера (0,6329 и 0,612 мкм) стабилизируются с заметно меньшей воспроизводимостью: 1.1Ч10-9 и 1Ч10-9 соответственно.

В силу вышеизложенного измерение спектральных характеристик лазерного излучения может быть разделено на три группы (по мере нарастания разрешающей способности проводимого анализа):

1. Измерение спектра излучения многомодовых лазеров непрерывного действия и пикосекундных лазеров; для этой цели вполне достаточно традиционных методов спектрометрии (в отдельных случаях — высокой разрешающей способности).

2. Прецизионное измерение длины волны или частоты генерации стабилизированных по частоте лазеров, для чего применяют интерферометры Фабри-Перо и радиофизические методы "переноса" частоты от цезиевого стандарта (9192631770 Гц) или водородного лазера (14204057518 Гц) в оптической диапазон (обычно He-Ne лазер с метановой ячейкой, nген=88376181,608 МГц).

3. Измерение ширины полосы генерации одночастотного лазера или разности частот генерации двух однотипных частотностабилизированных лазеров, что осуществляется с помощью радиофизического метода фотобиений (гетеродинный прием лазерного излучения).

Рассмотрим вкратце основные особенности технических средств для измерения длины волны — интерферометров и частоты — (фото)гетеродинов.

Интерферометры для измерения спектра лазерного излучения

Специалист-оптик может исследовать спектр лазерного излучения (с разрешением, обычно вполне достаточным для надежного различения соседних продольных мод), наблюдая (рис.2.1) структуру колец 7, возникающих при освещении обычного интерферометра Фабри-Перо 5 коллимированным с помощью телескопической системы 3 пучком исследуемого лазера 1. На рис.2.1 показан и ряд вспомогательных компонентов, обеспечивающих успешное функционирование данной схемы: невзаимный элемент 2 обеспечивает однонаправленное (только слева направо) прохождение лазерного излучения, узкополосный фильтр 4 пропускает только излучение, характерное для исследуемой лазерной генерации; наконец, объектив 6 формирует картину интерференционных колец на расположенном на конечном расстоянии экране, что удобно для наблюдения невооруженным глазом и фоторегистрации. Визуальное наблюдение интерференционных колец можно вести и через бинокль или другой наблюдательный прибор.


Рис.2.1. Анализ частотной структуры излучения лазера с помощью интерферометра Фабри-Перо

В данной схеме длина интерферометра не должна превышать lмакс=2Dnген/с, где Dnген — ширина полосы генерации исследуемого лазера. В первом приближении ширина полосы генерации (для большинства газовых лазеров) равна величине неоднородного уширения Dnнеод лазерного перехода активной среды. Во втором приближении необходим учет кратности превышения усиления над потерями Х; Dnген=DnнеодЧ. Потери интерферометра не должны превышать величины еaинт = еa+2tз = 4plинтЧDnрез /(3...10)С, где еa=2аз — остаточные потери (симметричного) интерферометра, а tз — коэффициент пропускания его зеркал; в этом случае с помощью интерферометра можно легко определить количество генерируемых лазером продольных мод, следующих с шагом Dnрез.

Для анализа частот генерации поперечных мод разрешение интерферометра следует существенно повысить, достигнуть чего можно либо уменьшая полные потери еaинт, либо увеличивая расстояние между пластинами интерферометра. Кроме того, при анализе спектра поперечных мод существенно усложняются вопросы согласования полей лазера и интерферометра и их взаимной юстировки.

Естественно, что непосредственное (визуальное) наблюдение спектра лазерного излучения приемлемо только для лазеров видимого диапазона. ЭОПы несколько расширяют этот диапазон в ультрафиолет (но не далее 0.2 мкм) и ближнюю ИК область (но не далее 1.1 мкм). С другой стороны, тяжело визуально определить соотношение мощностей отдельных мод по относительной яркости соответствующих интерференционных колец.

Поэтому в настоящее время при анализе спектрального состава лазерного излучения в основном используют (рис. 2.2) сканирующие интерферометры (5...7) с фотоэлектрическим приемником 10 и регистрацией спектра лазера 1 на экране осциллографа 11, горизонтальная развертка которого синхронизирована с линейным перемещением одного из зеркал (обычно - выходного) интерферометра с помощью пьезокерамики 8. Если размах (амплитуда) колебаний зеркала 7 превышает lген/2, то на экране осциллографа будет виден весь частотный диапазон интерферометра Dnинт=с/2lинт. Существенно, что в данном варианте разрешающая способность DnіDn0.5, определяется уже не только собственным разрешением интерферометра Dn0.5, но и размером диафрагмы 9 (перед фотоприемником), выделяющей малую часть нулевого порядка интерференционной картины (центрального кольца 7 на рис. 2.1). Узкополосный фильтр 4, как и в предыдущей схеме, уменьшает фоновую засветку.

Рис. 2.2. Анализ частотного спектра основной (ТЕМ00) моды лазера с помощью сканирующего интерферометра со сферическими зеркалами


Поскольку сканирование одного из зеркал интерферометра неизбежно приводит к его разъюстировке, то для обеспечения работоспособности сканирующего интерферометра обычно используют конфокальную геометрию (интерферометр Конна), а не плоские зеркала. В этом случае вопрос об отрицательном влиянии незначительных разъюстировок снимается, но ужесточаются требования к согласованию полей (собственных мод) исследуемого лазера и сканирующего интерферометра: вместо сравнительно простого (афокального) расширителя пучка телескопического типа требуется строго рассчитанная или, по крайней мере, точно установленная линза 3. В результате такого согласования устраняется перекачка энергии лазерного излучения в поперечные моды сканирующего интерферометра, частота которых при конфокальной геометрии, как известно, существенно отличается от частот основных (ТЕМ00) мод на Dnрез/2. По мере отхода от конфокальной конфигурации фазовые искажения bmn поперечных мод асимптотически уменьшаются до величин, существенно меньших 180° в интерферометре Фабри-Перо (с большим числом Френеля N=a2/lL).


Рис. 2.3. Развязка поляризационного типа: в верхней части рисунка — прямой ход луча, в нижней — обратный


Для обеспечения однонаправленного распространения исследуемого излучения от лазера к сканирующему интерферометру, что исключает влияние частотной характеристики интерферометра на исследуемый лазер, между лазером и согласующей оптикой (телескопом-расширителем для интерферометра Фабри-Перо и одиночной линзой 3 для интерферометра с вогнутым зеркалом) ставится "развязка" 2 — невзаимный элемент поляризационного типа (см. рис. 2.1, 2.2). Обычно он состоит из четвертьволновой пластинки l/4 (рис. 2.3), превращающей линейно поляризованное излучение ЛПверт исследуемого лазера в циркулярно поляризованный свет ЦП, и поляризационного элемента, установленного между лазером и этой пластинкой. Этот поляризационный элемент обычно представляет собой пленочный поляроид, а не поляризационную призму, так как он значительно дешевле, а обеспечиваемая им степень поляризации вполне достаточна, по крайней мере при измерении частотного спектра излучения многомодовых лазеров. Четвертьволновая пластинка в данном случае также может быть простейшего типа — из слюды, следует только помнить, что такой простейший вариант пластинки l/4 не обладает широкой спектральной областью из-за большой дисперсии показателей преломления n0 и ne слюды. В результате слюдяная пластинка l/4 может использоваться практически только для одной лазерной длины волны (в данном случае для 0.63; 3.39; 1.15; 0.49; 0.52 мкм и т.п.). Ахроматизированные пластинки из кристаллических материалов обеспечивают нормальное функционирование по крайней мере в пределах спектрального диапазона зеркал интерферометра (Dlі0.1l0), однако их стоимость и дефицитность существенно выше.

Функционирование такого простейшего невзаимного элемента достаточно элементарно: линейно поляризованное излучение ЛПверт исследуемого лазера без потерь проходит через поляроид, сориентированный соответствующим образом (выполняющий в прямом ходе пучка функцию поляризатора По), и пластинку l/4, превращается в циркулярно поляризованный свет ЦП, взаимодействующий с интерферометром. Отраженное им излучение (в случае сканирующего интерферометра оно переменно во времени) вновь проходит пластинку l/4, превращаясь опять в линейно поляризованное, плоскость поляризации ЛПгор которого, однако, ортогональна исходной, так как пластинка l/2 (l/4+l/4=l/2) приводит к повороту плоскости поляризации на 90°. Естественно, что поляроид, выполняющий при обратном ходе лучей роль анализатора Ан, задерживает отраженные от интерферометра пучки. Очевидно, что невзаимный элемент поляризационного типа нормально функционирует лишь в том случае, если интерферометр и согласующая оптика не изменяют состояния поляризации отраженных пучков.

Более эффективную развязку обеспечивают кольцевые (сканирующие) интерферометры, в которых отраженный пучок (рис.2.4) обычно (в трехзеркальном интерферометре) идет под углом 60°. Однако кольцевые сканирующие интерферометры (в том числе коммерческие) обладают определенной поляризационной анизотропией собственных мод, связанной в данном случае с поляризационной анизотропией зеркальных покрытий. Предпочтительнее использовать перпендикулярную ориентацию плоскостей поляризации пучка и кольцевого интерферометра.


Рис.2.4. Схема кольцевого сканирующего интерферометра: ПК — пьезокерамика, на которую подается пилообразное напряжение Uск(t)


Типичной геометрией кольцевого сканирующего интерферометра является почти плоскопараллельный резонатор, образованный одним вогнутым (R»1 м) и двумя плоскими зеркалами, расположенными в углах правильного треугольника со сторонами l1=l2=l3=0.1 м. Соотношение R/l»10 обеспечивает компромисс между допусками на разъюстировку интерферометра при сканировании одного из зеркал, точностью согласования оптических осей лазерного пучка и интерферометра, а также высокоэффективной селекцией в нем поперечных мод при реальных (поперечных) размерах лазерного пучка.

Оценим разрешающую способность интерферометров, понимая под этим полуширину (ширину на полувысоте) его резонансного пика Dn0.5Чеa/4pLопт для типичной длины Lопт=0.1 м. Очевидно, что в этом случае Dn0.5 определяется суммарными потерями еa, которые в основном (при точной юстировке) состоят из потерь в диэлектрических зеркалах; последние при использовании современной технологии обеспечивают еaзер»0.1%. В результате получим Dn0.5»0.1%. Такого разрешения вполне достаточно для надежного различения продольных (аксиальных) мод метрового лазера (Dnрез»150 МГц), а также для анализа спектра мод высших порядков в квазиконфокальном резонаторе и на малых числах Френеля (N»1) — в плоскопараллельном резонаторе. Однако такая разрешающая способность не достаточна при изучении спектра поперечных мод обычных лазеров с плоскопараллельными (и близкими к ним почти плоскопараллельными) резонаторами и в ряде других случаев.

Дальнейшего повышения разрешающей способности можно достичь, используя принципиально отличные от методов оптической спектрометрии радиофизические способы.

Измерение частоты лазерного излучения методом фотобиений

Данный метод, часто называемый методом фотогетеродинного приема оптического излучения, обладает гораздо большей частотой и разрешающей способностью, по крайней мере до долей герц, что и является его основным преимуществом перед интерференционными измерениями. С другой стороны, как всякий косвенный способ (в данном случае, как показано ниже, осуществляется перенос частоты лазерного излучения в область радио- и даже звуковых частот) метод фотобиений требует грамотной интерпретации получаемых результатов с учетом специфики преобразования информации.

Ограничимся рассмотрением простейшего аналитического случая — фотобиений двух когерентных излучений с частотами n1 и n2, описываемых амплитудами электрической составляющей электромагнитного поля и . Если два таких пучка направить на какой-либо фотоприемник, то в соответствии с законом Столетова его фототок i(t) будет прямо пропорционален интенсивности светового потока

Ввиду ограниченной полосы частот фотоприемника фототоки, вызываемые тремя последними составляющими суммарного потока (с частотами, соответственно, n1+n2, 2n1 и 2n2) не могут быть зарегистрированы; два первых слагаемых ( ) образуют постоянную составляющую, которая и регистрируется при обычной фотоэлектрической регистрации световых потоков. Наиболее информативным в интересующем нас аспекте является третье слагаемое , содержащее полную информацию о частотно-фазовых соотношениях обоих световых пучков.

Рассмотренная выше ситуация используется на практике только для анализа частотно-фазовых соотношений в пучках двух одночастотных лазеров (обычно стабилизированных по частоте) или излучения двухчастотных лазеров.

Ввиду весьма ограниченного распространения лазеров последнего типа сосредоточим внимание на применении метода фотобиений для анализа особенностей спектра излучения одночастотного лазера. Для этого необходим второй лазер — гетеродин, стабильность частоты n2 и амплитуды Е2 излучения которого существенно выше, чем исследуемого. При этом условии спектр фототока разностной частоты, наблюдаемый на экране стандартного низкочастотного радиоэлектронного спектроанализатора, прямо пропорционален спектру исследуемого лазера. Естественно, что аналогичный результат получится в случае обычной, а не фотогетеродинной регистрации исследуемого потока фотоприемником. При этом, однако, на исследуемый сигнал (продетектированный фотоприемником спектр исследуемого излучения) будут наложены низкочастотные (а потому очень большие) шумы самого фотоприемника и электронного тракта. Фотогетеродинирование переносит исследуемый сигнал в область разностной частоты (n1-n2), где электронные шумы значительно меньше, что и позволяет более точно анализировать исследуемое излучение. Нестабильность излучения гетеродинного лазера приводит к дополнительному (ложному) уширению исследуемого спектра из-за свертки со спектром гетеродина.

Таким образом, рабочий диапазон частот фотогетеродинного метода сверху ограничен электронным трактом (включая, разумеется, фотоприемник) и обычно не превышает нескольких сотен мегагерц, а снизу - нестабильностью частоты (и амплитуды) лазера-гетеродина, минимальная величина которой (за время анализа спектра) »102 Гц.

Предельные возможности гетеродинного метода были реализованы при исследовании нестабильности частоты генерации одночастотного эталона длины волны 3,39 мкм на He-Ne лазере, стабилизированном по пику Лэмба от внутренней поглощающей ячейки с метаном: в зависимости от физической природы отдельные составляющие нестабильности колебались в пределах 10...40 Гц. В результате этого рассматриваемый метод не позволяет непосредственно исследовать и измерить предельную ширину спектральной линии излучения одночастотного стабилизированного лазера, которая представляет как теоретический, так и существенный практический интерес.

Для прецизионного анализа спектра одночастотного лазерного излучения обычно используют две модификации фотогетеродинного метода. Простейшая из них — гомодинный прием — заключается в анализе фотобиений между всеми компонентами (друг с другом) в спектре излучения одночастотного лазера. Такой прием обладает двумя недостатками: результат наблюдается на нулевой (центральной) частоте, т.е. сильно зашумлен; кроме того, на экране спектроанализатора получается не сам спектр, а его автокорреляция, что необходимо учитывать при интерпретировании полученных результатов. Так, нормальное распределение (гауссоида) уширится в раз, а лоренцева линия — в 2 раза, правда, без изменения формы линии.

Первый недостаток гомодинного метода (нулевая центральная частота и, соответственно, сильная зашумленность) можно устранить, используя метод переноса частот в оптическом или радиодиапазоне. При оптическом переносе часто используется (продольный линейный) эффект Доплера при отражении излучения от прямолинейно движущегося с постоянной скоростью Vзер зеркала. В результате спектр половины исследуемого пучка переносится в область более высоких (зеркало движется к лазеру) или низких (зеркало движется от лазера) частот на величину Dn=(2Vзер/c)nген. Основным недостатком метода оптического переноса частоты гомодинных фотобиений (иногда этот способ называют квазигомодинным детектированием, хотя такое название не полностью отражает его существо) является влияние нестабильности движения зеркала, приводящее к дополнительному и неконтролируемому уширению получаемого спектра.

Перенос спектра в область слабозашумленных (в электронном тракте) частот может быть осуществлен и радиотехническим методом гетеродинирования. Для максимального снижения шумов этот прием надо применять непосредственно к фототоку (а не в последующем электронном тракте, как это делают в обычных супергетеродинных приемниках слабых сигналов), для чего используют фотоЛБВ в СВЧ диапазоне сдвигов и ФЭУ с поперечным высокочастотным магнитным полем в диапазоне сдвигов < 103 МГц.

Метод галогенного приема ранее (до появления сканирующих интерферометров) широко использовался для анализа количества генерируемых (продольных) мод многочастотного лазера 1, излучение которого фокусируется на фотоприемнике 3 линзой 2 (рис. 2.5). При этом на экране радиочастотного спектроанализатора 4 наблюдались особенности частотного спектра фотобиений (возникающих в фотоприемнике 3), обусловленные эффектами затягивания и отталкивания (в области) частот генерации отдельных продольных мод лазера с неоднородно уширенной линией рабочего перехода. В результате спектр генерации незначительно (dn6 Гц) и, что самое главное, неодинаково на разных модах отличался от эквидистантного (с шагом Dnрез=с/2Lопт) спектра оптического резонатора. В результате на первой разностной частоте Dni=ni-nj частоты биений разных мод несколько различались. Легко показать, что количество этих разностных частот на единицу меньше количества генерируемых мод Nген=INT(Dnген/Dnрез), где Dnген — ширина полосы генерации. Действительно, две моды с частотами n1=q1ЧDnрез+dn1 и n2=q2ЧDnрез+dn2 дадут биения только на единственной разностной частоте Dn21=Dnрез+dn2-dn1; аналогично для трех мод получим две почти одинаковые разностные частоты Dn31=Dnрез+dn3-dn2 и Dn21=Dnрез+dn2-dn1 и еще одну частоту — вдвое большую Dn31=2Dnрез+dn3-dn1, на второй резонансной частоте число пиков на два меньше числа генерируемых мод /nген.

Рисунок 0.8 Определение количества генерируемых лазером мод по тонкой структуре спектра фотобиений, возникающих в квадратичном фотоприемнике; справа крупно показаны информативные участки спектра фотобиений, наблюдаемых на экране радиочастотного спектроанализатора, для случаев двух (N=2)…пяти (N=5) продольных мод.


Отметим две особенности рассматриваемого приема анализа спектра многочастотного лазера: во-первых, таким способом затруднительно (но, в принципе, возможно) определениеf интенсивностей отдельных мод, наглядно видимых на экране сканирующего интерферометра (правда, с плохим разрешением по частоте); во-вторых, из-за случайного совпадения величин сдвигов частоты отдельных мод (dnj=dni) могут возникнуть ошибки при определении Nген на первой разностной частоте. Последнего можно избежать, измеряя максимальную разностную частоту, еще присутствующую в спектре фотобиений: искомое число Nген на единицу больше DnN1/Dnрез; однако величина DnN1, может оказаться за пределами полосы пропускания фотоприемника (или электронного тракта), поэтому данный прием можно использовать только для контроля результатов измерения по количеству пиков на первой разностной частоте.

В заключение несколько слов об измерении основных параметров когерентности лазерного излучения: степени пространственной и временной когерентности излучения. Несмотря на то, что оба эти параметра являются фундаментальными при описании лазерного излучения, ни один из них до настоящего времени не стандартизован. Известные методы и средства измерений когерентности не являются таковыми, поскольку отсутствуют измеряемая величина, мера и узаконенная единица физической величины. Соответствующие измерительные установки фактически позволяют только визуализировать картину распределения поля и проводить ее качественный анализ. Поэтому вопросы, смазанные с непосредственным измерением параметров когерентности в данном учебном пособии не рассматривается.

ИЗМЕРЕНИЕ ОСНОВНЫХ ПАРАМЕТРОВ ГЛАВНЫХ КОМПОНЕНТОВ ЛАЗЕРА

Как известно, главными компонентами подавляющего большинства лазеров являются активная среда и оптический резонатор; причем активная среда, преобразующая энергию накачки в когерентное излучение, определяет энергетические характеристики лазера (и длину волны излучения), а оптический резонатор — частотные (тонкую структуру спектра излучения) и пространственные (распределение энергии в дальней зоне и его интегральный параметр — расходимость). В силу этого особое значение приобретает измерение усиления активной среды и потерь резонатора — основных параметров этих двух принципиально неотъемлемых компонентов лазера.

Компенсационный метод измерения потерь или усиления лазерных компонентов

Данный метод (иногда его называют методом калиброванных потерь является наиболее эффективным для решения рассматриваемой задачи. Сущность его достаточна проста и заключается в использовании калибрированного устройства с регулируемыми потерями аттенюатора (ослабителя), устанавливаемого внутри измерительного лазера. До начала измерения система выводится на порот генерации, что наиболее просто регистрируется визуально, а наиболее точно — с помощью фотоэлектрических измерителей мощности (см.1.1). 'Этому (исходному) состоянию соответствуют дополнительные потери а1 вносимые измерительным аттенюатором. Затем изменяются и параметры измеряемого компонента: в активной среде включается (или выключается) накачка, в оптическую схему вводятся (или выводится) пассивные элементы (дополнительные зеркала, селекторы мод, модуляторы в т.п.), вносится контролируемая разъюстировка резонатора и т.п.; это приводит к изменению режима генерации в измерительном лазере. Для повторного приведения лазера в режим близпороговой генерации изменяют вносимые аттенюатором потери до необходимого значения u2. Тогда разница (a2-a1) с учетом знака даст измеряемую величину потерь (или усиления за цикл, последний обычно составляет два прохода излучения через элемент (активную среду, модулятор, селектор мод и т.п.) и лишь при измерении дифракционных потерь (в том числе, потерь из-за разъюстировки) и потерь на поглощение и светорассеяние в концевых отражателях линейных резонаторов не требуется делить (a2-a1) на 2.

В качестве измерительного аттенюатора при реализации компенсационного метода измерения параметров лазерных компонентов наиболее часто используют пластинку (рис.3.1а), устанавливаемую внутри резонатора под углом j к оптической оси. Как известно, минимальные потери такая пластинка вносит, если j=js=arctg n (nl — показатель преломления материала пластинки для длины волны генерации лазера lген). Если j№js, то коэффициент френелевского отражения на каждой поверхности ru=tg2(j-y)/tg2(j+y), где y — угол преломления; соответственно коэффициент пропускания уменьшится на величину tк=(1-r)2 при использовании кольцевого резонатора и на tл=(1-r)4 — в линейном лазере за счет двойного прохода за цикл. Коммерческие аттенюаторы данного типа имеют угломерную шкалу, позволяющую отсчитывать угол поворота пластинки j с точностью, обеспечивающей расчет (1-r)4 до 0.001 (т.е. ~ 0.1%). Следует, однако, иметь в виду что такая точность достигается лишь при абсолютном знании угла j, для чего пластинка с угломерным устройством должна быть предварительно отъюстирована по отношению к оптической оси измерительного лазера. Этой операции можно избежать, установив предварительно пластинку под углом Брюстера (по минимуму отражения) и сняв соответствующий отсчет gБ; тогда текущим потерям при угле поворота g=gБ будет соответствовать угол падения j=jБ+(g-gБ), где jБ рассчитывается аналитически по известному показателю преломления материала пластинки nl





Рисунок 0.1 Измерительные аттенюаторы френелевского типа: а — одиночная пластинка, наклонно установленная в резонаторе; б — графики френелевского отражения r(j) для двух основных поляризаций; в — схема спаренного (из двух пластинок) аттенюатора

Для упрощения процесса измерения некоторые зарубежные фирмы изготавливают измерительные аттенюаторы брюстеровского типа (рис.3.1в) а в виде спаренных пластинок 1 и 5, разворачивающихся в разные стороны при повороте колес 2 и 4 от одного червяка с лимбом 3; эта двухкаскадная схема позволяет исключить смещение оптической оси (и, соответственно, разъюстировку резонатора измерительного лазера), возникающее при повороте одиночной пластинки. Естественно, такой спаренный аттенюатор в линейном резонаторе имеет коэффициент пропускания tл=(1-r)8; в кольцевом резонаторе или при работе на проход t=(1-r)4.

3.2. Измерение усилия активной среды

В лазерной технике активная среда обычно конструктивно оформлена в виде активного элемента: кристаллического или стеклянного стержня в твердотельных лазерах, газоразрядной кюветы в подавляющем большинстве газовых лазеров, пластины полупроводника. В полупроводниковых лазерах и т.д. При этом активный элемент функционирует в лазере только под действием накачки — специального устройства, обеспечивающего такое специфическое воздействие на рабочие частицы активного элемента, которое приводит к созданию в нем удельной (т.е. в 1 см3) инверсной населенности Dn=nв-nн(gв/gн) между верхним рабочим (лазерным) уровнем (ВРУ) и нижним (НРУ). Инверсной населенности Dn соответствует удельный коэффициент усиления активной среды k=DnЧBhn/v, где B=Ввн — коэффициент Эйнштейна для стимулированного перехода с ВРУ на НРУ, а v=c/n — скорость света в активной среде.

Следует напомнить, что для расчета основных энергетических характеристик лазерных устройств удобнее пользоваться удельной мощностью Pуд и параметром насыщения b соответственно для лазера и квантового (лазерного) усилителя, причем все три расчетных параметра активной среды связаны соотношением вида Pуд=vkib. Однако в связи с невозможностью непосредственного измерения Pуд (как мощности когерентного излучения, снимаемой с единицы объема активной среды, помещенной в идеальный, т.е. без диссипативных потерь резонатор с оптимизированным коэффициентом связи) и техническими трудностями, возникающими при попытках непосредственного измерения эффекта насыщения (усиления) в большинстве серийных активных сред, в технике лазерных измерений обычно довольствуются измерением ненасыщенного коэффициента усиления k0=Dn0ЧBhv/c, где индекс 0 подчеркивает, что удельный коэффициент усиления измерен при отсутствии насыщения, т.е. при бесконечно малой плотности энергии стимулированных переходов.

Измерение ненасыщенного усиления методом калиброванных потерь.

Непосредственное использование компенсационного метода (см.3.2) для измерения ненасыщенного удельного коэффициента активной среды обладает рядом особенностей, снижающих точность и ограничивающих область применения получаемых результатов. Действительно, в простейшем варианте (рис.3.2) процедура измерения выглядит довольно просто: на первом этапе пластинки компенсатора выставляются под углом Брюстера, что уменьшает величину вносимых ими потерь до a0, включается накачка измеряемой активной среды и осуществляется подъюстировка резонатора измерительного лазера для минимизации дифракционных потерь aд; на втором этапе (собственно измерении) потери аттенюатора увеличиваются на величину (1-r)4, соответствующих порогу генерации измерительного лазера. Очевидно, что при этом полный коэффициент усиления активной среды за цикл компенсирует все потери резонатора за цикл


Рисунок 0.2 Простейшая схема измерения ненасыщенного усиления активной среды методом калиброванных потерь (одиночного) аттенюатора френелевского типа

SaРез=a1+a2+aдо+t1+t2+aос+a2, где a1,2 и t1,2 — соответственно диссипативные потери концевых отражателей и их коэффициенты пропускания, aдо — дифракционные потери резонатора; aос — диссипативные потери активного элемента; a2=a0+(1-r)4 — потери аттенюатора. Очевидно, что абсолютная погрешность измерения потерь (компенсирующих усиление) в таком простейшем варианте составляет Sa=a1+a2+t1+t2+aдо+a0 и обычно превышает 0.001 (или 1%). Наиболее просто она может быть уменьшена при учете величин t1, t2a0), которые легко замеряются с помощью (спектро) фотометра. Следует, однако, иметь в виду, что по крайней мере часть моделей этих измерительных приборов, имеющих цену деления измерительной шкалы 0.001 (или 0.1%), гарантируют лишь воспроизводимость измерений (на данном приборе или, реже, на приборе данной модели) с такой погрешностью (0.001), но не абсолютную точность, составляющую) обычно 0.002…0.01 (0.2…1%).

Таким образом, непосредственное измерение усиления активной среды компенсационным методом дает абсолютную точность ~0.01 (1%), что гораздо ниже точности вносимых аттенюатором потерь (~ 0.001 или 0.1%). Естественно, относительная погрешность измерения будет существенно зависеть от величины полного усиления K0=exp(2l0k0). Если К мало (0.1 или 10%), что типично для гелий-неоновых, кадмиевых и, в меньшей степени, аргоновых и CO2 газоразрядных кювет, то целесообразно усложнить измерительный лазер, дополнив его вспомогательной активной средой 1 того же типа, но функционирующей (возбуждаемой) на обоих этапах измерены (рис.3.3). Такой прием позволяет в случае стабильности коэффициента усиления вспомогательной активной среды во время его цикла измерения полностью исключить остаточные потери измерительного лазера, в том число и трудноконтролируемые дифракционные потери aд. Действительно, при первом измерении (возбуждена только вспомогательная активная среда 1) порогу генерации соответствует условие exp(2lвсkвс)=Sx4[1-(1-r2)4], а при втором (возбуждена и в измеряемой активной среде 2) -Sx4[1-(1-r2)4]=exp(2lвсkвс+2l0k0). Легко показать, что искомая величина усиления K0= exp(2l0k0)= [1-(1-r1)4]/[1-(1-r2)4], а точность ее измерения теперь определяется в основном точностью измерения потерь r2, вносимых аттенюатором при втором измерении (так как на рабочей ветви кривой r(j) крутизна зависимости коэффициента отражения r от угла падения j монотонно нарастает с ростом j).



Рисунок 0.3 Повышение точности измерения ненасыщенного усиления основной активной среды 2 (длиной l0) при двухэтапном методе

Возможность (по крайней мере, потенциальная) повышения точности измерения коэффициента усиления активных сред позволяет рассмотреть особенности зависимости коэффициента усиления от частоты и по поперечному сечению активного элемента. В связи с тем, что зависимость коэффициента усиления активной среды от частоты в производственных условиях не измеряется (ввиду чрезвычайной сложности таких экспериментов как в методическом, так в чисто техническом плане), остановимся лишь на том, какой же, собственно, коэффициент усиления активной среды измеряется компенсационным методом. В зависимости от вида уширения спектральной линии рабочего (лазерного) перехода различают, как известно, однородное уширение и неоднородное. При однородном (и близком к нему) уширении, когда DnодніDnнеод зависимость ненасыщенного коэффициента усиления от частот (в пределах полуширины линии ) практически отсутствует, т.е. k0(n)@k0(n0), где n0 — частота в центре спектральной линии. Типичным примером такой активной cреды является гелий-неоновая смесь, генерирующая на длине волны lген=З.39 мкм.

Ситуация существенно меняется при неоднородном уширении (Dnод>>Dnнеод), характерном для большинства серийных лазерных сред. Типичный вид зависимости удельного коэффициента усиления от частоты описывается гауссоидой:

k0(V)=k0(V0)exp[-(V-V0)2/(DVc)2], где — величина неоднородного уширения на уровне 0.707 (Dnнеод — соответственно на полувысоте). В этом случае, с помощью компенсационного метода измеряется коэффициент усиления на частоте генерации nген@n0, причем степень приближения частоты генерации nген к центру спектральной линии определяется частотным интервалом Dnрез=c/2Lопт через который расположены продольные моды в резонаторе (с оптической длиной Lопт) измерительного лазера. Поскольку Lопт обычно достаточно велика и, соответственно, DnрезЈDnодн, то даже в случае неоднородного уширения коэффициент усиления, измеряемый компенсационным методом, соответствует центру спектральной линии, т.е. k0@ k0(n0).

Несколько сложнее обстоит дело с учетом распределения инверсной населенности (и, соответственно коэффициента усиления) по поперечному сечению активной среды. Особенности создания инверсии как возбуждения ВРУ, что более характерно для оптической накачки, так и расселения НРУ, существенного для газовых активных сред, приводят к заметно неравномерной зависимости коэффициента усиления от поперечных координат x, y. В рубиновых и ИАГ стержнях это дополнительно усугубляется неравномерным распределением легирующей примеси соответственно Cr2O3 и Nd2O3 по поперечному сечению кристаллической заготовки стержня (були). В силу этого (в лабораторных условиях) иногда требуется получить зависимость k0(x,y), для чего достаточно модифицировать установку, работающую по методу калиброванных потерь, точнее, ее резонатор.

В простейшем варианте в резонатор вводится круглая (желательно, ирисовая) диафрагма, ограничивающая поперечное сечение генерирующего пучка. Очевидно, что в упрощенной измерительной установке (без вспомогательной активной среды) дифракционные потери, вносимые диафрагмой, не долины превышать 0.1%. При использовании вспомогательной активной среды (рис.З.4) можно использовать диафрагму с большими дифракционными потерями, что улучшит селекцию высших поперечных мод, но не изменит размер пятна и, соответственно, разрешающую способность при снятии поперечного распределения k0(x,y).

Построение искомой зависимости k0(x,y) проводится по точкам k(xi,yi), соответствующим отдельным замерам k0 при разных (поперечных) положениях измеряемой активной среды относительно оптической оси измерительного лазера. Смещать вспомогательную активную среду и проводить подъюстировку резонатора при этом, нельзя, так как это приведет к погрешностям измерения. Поэтому желательно использовать спаренный компенсатор (как показано на рис.3.4), а одиночную пластинку аттенюатора устанавливать обязательно у плоского зеркала резонатора измерительного лазера.



Рисунок 0.4 Схема измерительной установки для снятия зависимости коэффициента ненасыщенного усиления от удаления x с геометрической оси активной cреды; c геометрической оси активной среды; диафрагма Д сужает зондирующий пучок до минимального размера, соответствующего основной (ТЕМҐ) моде.

В заключение остановимся на некоторых особенностях ~измерения ненасыщенного усиления активных сред, возбуждаемых в импульсном режиме. Очевидно, что в этом случае желательно (а в ИК и УФ диапазонах излучения обязательно) использование фотоэлектрической регистрации порога генерации. Сигнал с фотоэлектрического приемника с постоянной времени, существенно меньшей длительности импульса накачки, удобно просматривать на двухлучевом осциллографе, ждущая развертка которого запускается импульсом накачки.

Используя такой комплект аппаратуры, можно промерить не только максимально создаваемую в измерительной активной среде инверсную населенность (в действительности — ненасыщенный коэффициент усиления), но и зависимость k0(t) при воспроизводимой (от импульса к импульсу) интенсивности накачки. Естественно, при этом предполагается (и практически всегда выполняется на практике) постоянство формы импульса накачки. Зависимость k0(t) строится по серии экспериментов: для различных значений вносимых в резонатор измерительного лазере потерь ai фиксируется момент времени ti (отсчитываемый от момента включения импульса накачки), когда возникает генерация.

Измерение усиления активной среды прямым методом.



Рисунок 0.5 Измерение насыщения в проходном лазерном усилителе длиной l0 — к вопросу измерения усиления прямым методом

Сущность данного метода тривиальна и заключается в построении зависимости коэффициента усиления активной среды K=Iвых/Iвх от интенсивности входного сигнала Iвх (рис.3.5), величина которого регулируется с помощью (клинового) аттенюатора Осл, уменьшающего интенсивность вспомогательного лазера Iлаз, интерференционный фильтр ИФ и диафрагма Д уменьшают уровень фоновой засветки. Экстраполируя экспериментальную зависимость K(Iвх) к бесконечно малым Iвх (bSхр), можно получить ненасыщенный коэффициент усиления K0=K(0); поскольку измерения проводятся обычно с активной средой, работающей в режиме проходного усилителя, когда K0=exp(l0k0), то, очевидно, ненасыщенный коэффициент усиления . Следует отметить, что непосредственно данный метод редко используется на практике в связи с невысокой точностью измерений, обусловленной при небольших усилениях погрешностями определения K из-за шумов измерительной схемы, а при большом усилении — экстраполяцией K(Iвх) в область малых входных сигналов. С другой стороны, ара атом при этом появляется возможность (по крайней мере в первом приближении) определить параметр насыщения b, для чего следует сравнить полученную зависимость K(Iвх) с расчетной (при том же виде уширения).

Можно проще получить значение параметра насыщения b, используя измерительный лазер с калиброванными потерями и измеритель плотности энергии U в резонаторе. Эту плотность легко вычислить, измеряя мощность, выходящую через одно из "глухих" зеркал резонатора, по формуле U=2P/tcSэф. Очевидно, что в измерительном




Рисунок 1.1. Принципиальная схема калориметра.



Рисунок 1.2. Упрощенная конструкция калориметрического ПИП прибора ИМО-2



Рисунок 1.3. Функциональная схема малоинерционного болометрического измерителя мощности лазерного излучения проходного типа



Рисунок 1.4. Функциональная схема крутильных весов



Рисунок 1.5. Магнитный подвес в пондеромоторном измерителе



Рисунок 1.6. Схема устройства диодного механотрона










Таблица 1

Параметр, характеристика

Еди-ница изме-рения

Определение

Обоз-наче-ние

Энергетические параметры и характеристики

Энергия

Дж

Энергия, переносимая лазерным излучением

W

Мощность

Вт

Энергия, переносимая лазерным излучением в единицу времени

P

Интенсивность


Величина, пропорциональная квадрату амплитуды электромагнитного колебания

J

Спектральная плотность энергии (мощности)

ДжЧГц-1

ВтЧГц-1


Wl,Wn

(Pl,Pn)

Средняя мощность импульса

Вт


Pи.ср.

Максимальная мощность импульса

Вт


Pи.max

Спектральные параметры и характеристики

Длина волны

мкм

Средняя длина волны спектра лазерного излучения в пределах интервала длин волн линии спонтанного излучения

l

Частота

Гц

Средняя частота спектра лазерного излучения в пределах интервала частот линии спонтанного излучения

n

Ширина спектральной линии

Гц,

мкм

Расстояние между точками контура спектральной линии лазерного излучения, соответствующими половине интенсивности линии в максимуме

dn

dl

Степень монохроматичности

Отношение ширины огибающей спектра лазерного излучения к усредненной по спектру частоте или длине волны лазерного излучения в данный момент времени.

dn/n

dl/l

Пространственно-временные параметры и характеристики

Диаграмма направленности


Угловое распределение энергии или мощности лазерного излучения


Диаметр пучка

м

Диаметр поперечного сечения пучка лазерного излучения, внутри которого проходит заданная доля энергии или мощности лазерного излучения

d

Продолжение таблицы 1

Параметр, характеристика

Еди-ница изме-рения

Определение

Обоз-наче-ние

Расходимость

рад

ср

Плоский или телесный угол, характеризующий ширину диаграммы направленности лазерного излучения в дальней зоне по заданному уровню углового распределения энергии или мощности лазерного излучения, определяемому по отношению к его максимальному значению

Qp

Qs

Энергетическая расходимость

рад

ср

Плоский или телесный угол, внутри которого распространяется заданная доля энергии или мощности лазерного излучения

QW,P

QW,S

Относительное распределение плотности энергии (мощности)


Распределение плотности энергии (мощности) излучения по сечению лазерного пучка, нормированное относительно максимального значения плотности энергии (мощности)


Частота повторения импульсов

Гц

Отношение числа импульсов лазерного излучения ко времени

F

Длительность импульса

с


tи

Параметры когерентности

Степень пространственно-временной когерентности


Модуль комплексной степени пространственно-временной когерентности при фиксированных координатах точки в пространстве и времени, равный

где — функция взаимной когерентности, G11(0), G22(0) — функции взаимной когерентности для точек пространства с радиус-векторами r1 и r2 соответственно при t=0


Ѕg12(t)Ѕ

Степень пространственной когерентности


Модуль комплексной пространственной когерентности для фиксированного момента времени, равный

где G12(0) — функция пространственной когерентности


Ѕg12(0)Ѕ

Окончание таблицы 1

Параметр, характеристика

Еди-ница изме-рения

Определение

Обоз-наче-ние

Степень временной когерентности


Модуль комплексной степени временной когерентности для фиксированной точки пространства, равный

где G11(t) — функция взаимной когерентности для точки пространства с радиус-вектором r1


Ѕg11(t)Ѕ

Время когерентности

с

Минимальное запаздывание, для которого степень временной когерентности принимает значение, равное нулю


Длина когерентности

м

Произведение времени когерентности на скорость распространения электромагнитного излучения в вакууме

Dк

Параметры поляризации

Плоскость поляризации


Плоскость, проходящая через направление распространения линейно поляризованного лазерного излучения и направление его электрического вектора


Эллиптичность поляризованного лазерного излучения


Отношение малой полуоси эллипса, по которому поляризовано лазерное излучение, к его большой полуоси


Степень поляризации


Отношение интенсивности поляризованной составляющей лазерного излучения к полной его интенсивности



6


Таблица 2

Наименование

Тип ПИП

Рабочий диапазон длин волн,

Диапазон измерения

Время одного измере­ния для

Время установ­ления показа-­

Диапа­зон длительнос­тей изме-

Диапа­зон измеря­е­мых

Основ­ная погреш­ность

Вид индикации




мкм

мощнос­ти, Вт

энергии, Дж

мощнос­ти

ния *

­ряе­мых импуль­сов, с

диамет­ров пучков, мм

измерения, %


1

ОСИСМ—образцовое средство измерений средней мощности

Термо­электри­ческий

0.4ё12.0

10-3ё102

2.5 мин

4ё10

dр=1ё3

Цифро­вой

КП: БИ 118 х 420, 18 кг; ПИП 210 х 210 х 140, 6 кг

2

ОИМ-1-1—образцовый измеритель мощности излучения

Термо­электри­ческий

0.3ё3.5

10-3ё10-1

8 мин

3ё8

dр=1

Стре­лочный

Общая масса около 80 кг

Продолжение таблицы 2

Наименование

Тип ПИП

Рабочий диапазон длин волн,

Диапазон измерения

Время одного измере­ния для

Время установ­ления показа-­

Диапа­зон длительнос­тей изме-

Диапа­зон измеря­е­мых

Основ­ная погреш­ность

Вид индикации




мкм

мощнос­ти, Вт

энергии, Дж

мощнос­ти

ния *

­ряе­мых импуль­сов, с

диамет­ров пучков, мм

измерения, %


3

ИМО-2-2М—образцовый измеритель мощности и энергии лазерного излучения

Термо­электри­ческий

0.4ё10.6

10-2ё102

10-1ё10

3 мин

5 с
_____
2 мин

2Ч10-4ё
10-3

4ё12

dр=1ё3
dЕ=3ё4

Цифро­вой

КП: БИ1 148 х 382 х 412, 13 кг; БИ2 550 х 205 х 450, 23 кг; ПИП и ЮМ 173 х 190 х 263, 15 кг: ОЭ и ОМ 58 кг

4

ИМО-2—измеритель средней мощности и энергии лазерных импульсов

Термо­электри­ческий

0.33ё10.6

5Ч10-3ё
102

3Ч10-3ё10

2.5 мин

8 с
_____
2 мин

2Ч10-4ё
10-3

4ё12

dр=5ё8
dЕ=7ё22

Стре­лочный

КП: БИ 512 х 375 х 155, 23 кг; ПИП и ЮМ 120 х 185 х 260, 10 кг; ОЭ и ОМ 165 х 210 х 280, 4 кг

Продолжение таблицы 2

Наименование

Тип ПИП

Рабочий диапазон длин волн,

Диапазон измерения

Время одного измере­ния для

Время установ­ления показа-­

Диапа­зон длительнос­тей изме-

Диапа­зон измеря­е­мых

Основ­ная погреш­ность

Вид индикации




мкм

мощнос­ти, Вт

энергии, Дж

мощнос­ти

ния *

­ряе­мых импуль­сов, с

диамет­ров пучков, мм

измерения, %


5

МК 3-18А—ваттметр поглощаемой мощности калориметри­ческий

Боло­метри­ческий

0.4ё3.5

5Ч10-4ё
10-2

10-3ё0.3

10 с

20 с
_____
30 с

10-8ё10-3

Ј10

dр=10ё20
dЕ=10ё20

Стре­лочный

КП: БИ 480 х 120 х475, 19 кг; ПИП и ЮМ 340 х 300 х 130, 12 кг;

6

М3-24—измеритель мощности калориметри­ческий

Боло­метри­ческий

0.4ё3.5

10-3ё10

10-2ё10

10 с

10 с
_____
20 с

10-8ё10-3

Ј20

dр=5ё12
dЕ=5ё22

Стре­лочный

КП: БИ 480 х 120 х475, 19 кг; ПИП и ЮМ 340 х 300 х 130, 12 кг;

Продолжение таблицы 2

Наименование

Тип ПИП

Рабочий диапазон длин волн,

Диапазон измерения

Время одного измере­ния для

Время установ­ления показа-­

Диапа­зон длительнос­тей изме-

Диапа­зон измеря­е­мых

Основ­ная погреш­ность

Вид индикации




мкм

мощнос­ти, Вт

энергии, Дж

мощнос­ти

ния *

­ряе­мых импуль­сов, с

диамет­ров пучков, мм

измерения, %


7

ПВ-1—пироэлектри­ческий ваттметр

Пиро­электри­ческий

0.4ё10.6

10-4ё102

10 с

2ё23

dр=10ё20

Стре­лочный

КП: БИ 130х175х362, 6 кг; модулятор 204х165х300, 5 кг (fмод=2Гц);ПИП 180х70х50, 1.3 кг; ЮМ 150х130х204, 4 кг

8

ФПМ-01—фотометр переносной малогабаритный для импульсных и непрерывных лазеров

Фото­электри­ческий

0.4ё1.06

10-7ё10-1

10-8ё0.05

1 с
_____
1 с

2Ч10-4ё
10-2

2ё14

dр=15
dЕ=10ё20

Цифро­вой

КП: БИ 250 х250 х 115, 4 кг; ПИП 55 х 200 х 65, 1.2 кг; штатив 120 х 140 х 350, 3.5 кг; фотоприемник ФД-7к

Продолжение таблицы 2

Наименование

Тип ПИП

Рабочий диапазон длин волн,

Диапазон измерения

Время одного измере­ния для

Время установ­ления показа-­

Диапа­зон длительнос­тей изме-

Диапа­зон измеря­е­мых

Основ­ная погреш­ность

Вид индикации




мкм

мощнос­ти, Вт

энергии, Дж

мощнос­ти

ния *

­ряе­мых импуль­сов, с

диамет­ров пучков, мм

измерения, %


9

ФПМ-02—то же для импульсных лазеров (модификация ФПМ-01)

Фото­электри­ческий

0.53ё1.06

5Ч10-9ё
10-3

1 с
_____
1 с

10-8ё10-7

2ё14

dЕ=20

Цифро­вой

10

ОСИЭ—образцовое средство измерения энергии

Термо­электри­ческий

0.5ё10.6

2Ч10-2ё10

5 с
_____
4.5 мин

10-8ё1.0

4ё15

dЕ=4

Цифро­вой

КП: БИ 118 х 420 х 480, 20 кг; ПИП 210 х 210 х 140, 6 кг; ЮМ 30 кг

Окончание таблицы 2

Наименование

Тип ПИП

Рабочий диапазон длин волн,

Диапазон измерения

Время одного измере­ния для

Время установ­ления показа-­

Диапа­зон длительнос­тей изме-

Диапа­зон измеря­е­мых

Основ­ная погреш­ность

Вид индикации




мкм

мощнос­ти, Вт

энергии, Дж

мощнос­ти

ния *

­ряе­мых импуль­сов, с

диамет­ров пучков, мм

измерения, %


11

ИКТ-1Н—измеритель калориметрический твердотельный

Термо­электри­ческий

0.4ё4.0

5Ч10-2ё
103

10 с
_____
8 мин

10-8ё10-3

4ё45

dЕ=22

Стре­лочный

КП: БИ 480 х 380 х 135; ПИП и ЮМ 260 х 180 х 85; аттенюатор Ж96 х 194; масса 30 кг


Примечания: ПИП — первичный измерительный преобразователь;
ЮМ — юстировочный механизм;
БИ — блок измерительный;
ОЭ и ОМ — ослабитель энергии и мощности излучения;
КП — комплект поставки (габаритные размеры и масса).

* В числителе — время измерения энергии одного импульса, в знаменателе — интервал времени между двумя измеряемыми импульсами.


8


ВВЕДЕНИЕ

Получение достоверных результатов измерений как самих параметров лазеров, так и выходных характеристик лазерных приборов и систем имеет свою специфику, поскольку лазерное излучение характеризуется некоторыми особенностями: широким спектральным (0,2 мм...1 мм) и динамическим диапазоном (120...200 дБ), малой длительностью импульсов (до 0.1 пс), высокой плотностью мощности (до 109 Вт/см2), энергии и т.п. Система характеристик и параметров ров лазеров и лазерного излучения лазерных приборов установлена ГОСТ 15093-75, ГОСТ 24453-80 и ГОСТ 23778-79, в соответствии с которыми осуществляется контроль изделий лазерной техники на этапе выпуска продукции и при их эксплуатации (табл.1).

Таблица 1

Параметр, характеристика

Единица измерения

Определение

Обозначе-ние

Энергетические параметры и характеристики
Энергия Дж Энергия, переносимая лазерным излучением

W

Мощность Вт Энергия, переносимая лазерным излучением в единицу времени

P

Интенсивность
Величина, пропорциональная квадрату амплитуды электромагнитного колебания

J

Спектральная плотность энергии (мощность)

ДжЧГц-1

ВтЧГц-1


Wl, Wn

(Pl,Pn)

Средняя мощность импульса Вт

Pu,ср

Максимальная мощность импульса Вт

Pu, max

Спектральные параметры и характеристики
Длина волны

l

Частота

n

Ширина спектральной линии

dn

dl

Степень хроматичности

dn/n

dl/l

Пространственно-временные параметры и характеристики
Диаграмма направленности
Угловое распределение энергии или мощности лазерного излучения
Диаметр пучка м Диаметр поперечного сечения пучка лазерного излучения, внутри которого проходит заданная доля энергии или мощности лазера d
Расходимость

рад,

ср

Плоский или телесный угол, характеризующий ширину диаграммы направленности лазерного излучения в дальней зоне по заданному уровню углового распределения энергии или мощности лазерного излучения, определяемому по отношению к его максимальному значению

QP

Энергетическая расходимость

рад,

ср

Плоский или телесный угол, внутри которого распространяется заданная доля энергии или мощности лазерного излучения

qS

Относительное распределение плотности энергии (мощности)
Распределение плотности энергии (мощности) излучения по сечению лазерного пучка, нормированное относительно максимального значения плотности энергии (мощности)

qW,P,qW,S

Частота повторения импульсов Гц Отношени числла импульсов лазерного излучения ко времени F
Длительность импульсов с

tu

Параметры когерентности
Степень пространственно-временной когерентности

Модуль комплексной степени пространственно-временной когерентности при фиксированных координатах точки в пространстве и времени, равный:

, где 0ЈЅg12(t)ЅЈ1, G12(t) — функция взаимной когерентности,G11(O),G22(O) — функции взаимной когерентности для точек пространства с радиус-векторами r1,r2 соответственно при t=0

Ѕg12(t)Ѕ

Степень пространственной когерентнсти

Модуль комплексной степени временной когерентности для фиксированной точки пространства, равный

, где G12(O) — функция пространственной когерентности

Ѕg12(О)Ѕ

Степень временной когерентности

Модуль комплексной степени временной когерентности для фиксированной точки пространства, равный

, где Г11(t) — функция взаимной когерентности для точки пространства с радиусом-векторм r1

Ѕg11(t)Ѕ

Время когерентности с Минимальное запаздывание, для которого степень временной когерентности принимает значение равное нулю
Длина когерентности м Произведение времени когерентности на скорость электромагнитного излучения в вакууме

Параметры поляризации
Плоскость поляризации
Плоскость, проходящая через направление распространения линейно-поляризованного лазерного излучения и направление его электрического вектора
Эллиптичность поляризованного лазерного излучения
Отношение малой полуоси эллипса, по которому поляризовано лазерное излучение к его большой полуоси
Степень поляризации
Отношение интенсивности поляризованной составляющей лазерного излучения к полной его интенсивности

ИЗМЕРЕНИЕ ЭНЕРГЕТИЧЕСКИХ ПАРАМЕТРОВ И ХАРАКТЕРИСТИК ЛАЗЕРНОГО ИЗЛУЧЕНИЯ

Для измерения энергетических параметров лазерного излучения могут использоваться самые разнообразные методы, основанные на различных физических и химических эффектах взаимодействия лазерного излучения с веществом, последнее может находиться в любом агрегатном состоянии. Однако наиболее широкое распространение получили методы, основанные на преобразовании энергии лазерного излучения в тепловую энергию (тепловой метод) и в энергию электрического тока (фотоэлектрический и пироэлектрический методы). Реже применяется пондеремоторный метод, основанный на преобразовании энергии лазерного излучения в механическую энергию.

Измерение мощности и энергии лазерного излучения

Существующие средства измерения (СИ) энергетических параметров лазерного излучения содержат приемный (первичный) измерительный преобразователь (ПИП), измерительное устройство, а также отсчетное, или регистрирующее устройство. В ПИП энергия лазерного излучения преобразуется в тепловую или в механическую энергию или в электрический сигнал, доступные для дальнейшего преобразования и измерения.

Различают ПИП поглощающего и проходного типа. В преобразователях поглощающего типа поступающая на вход энергия лазерного излучения почти полностью поглощается и рассеивается в нем. В преобразователях проходного типа рассеивается лишь часть поступившей на вход энергии излучения (как правило небольшая), а большая чисть изучения проходит через преобразователь и может быть использована для требуемых целей.

Измерительное устройство включает преобразовательные элементы и измерительную цель. Их назначение — преобразование выходного сигнала ПИП в сигнал, подаваемый на отсчетное или регистрирующее устройство. Отсчетное или регистрирующее устройство служит для считывания или регистрации значения измеряемой величины в аналоговой или цифровой форме.

Обычно ПИП конструктивно выполняется в виде отдельного блока, называемого измерительной головкой, а измерительное и отсчетное устройства — в виде измерительного блока. В измерительный блок могут быть включены дополнительные устройства, например цепи коррекции дрейфа нуля, температурной и электрической стабилизации и др.

Тепловой метод

Сущность этого метода состоит в том, что энергия излучения при взаимодействии с веществом приемного преобразователя превращается в тепловую энергию, которая впоследствии измеряется тем или иным способом. Для измерения тепловой энергии, выделившейся в ПИП, обычно используют:
—термоэлектрический эффект Зеебека (возникновение ТЭДС между нагретым и холодным спаями двух разнородных металлов или полупроводников);
—явление изменения сопротивления металлов и полупроводников при изменении температуры (болометрический эффект); фазовые переходы "твердое тело-жидкость" (лед-вода);
—эффект линейного или объемного расширения веществ при нагревании и др.

Необходимо отметить, что все тепловые ПИП в принципе являются калориметрами. Однако в литературе сформировались устойчивые названия ПИП, ассоциируемые обычно с некоторой совокупностью характерных признаков, свойственных приемным преобразователям определенных типов (термоэлементы, болометры, пироприемники и пр. ) .

Наиболее широкое распространение для измерения таких усредняемых во времени энергетических параметров лазерного излучения, как энергия и средняя мощность, получили калориметры. Они имеют достаточно конструктивно развитый приемный элемент, не объединенный с чувствительным элементом. К достоинствам калориметров относятся широкий спектральный и динамический диапазон работы, высокая линейность, точность и стабильность характеристик, простота конструкции, возможность их использования с высокоточными, хотя и инерционными цифровыми приборами, возможность калибровки преобразователей по эквивалентному электрическому воздействию.

Любая калориметрическая система (рис.1.1) содержит внутреннее калориметрическое тело К (приемный элемент), в котором протекает процесс выделения (или поглощения) тепла, и внешнюю оболочку О, с которой происходит теплообмен калориметрического тела путем теплопроводности, конвекции и излучения.



Рисунок 1.1 Принципиальная схема калориметра

Тепловой поток Д от калориметрического тела на оболочку зависит главным образом от разности температур их поверхностей Ф=GT(Tk-To), где GT — параметр, характеризующий тепловую проводимость cреды между калориметрическим телом и оболочкой. Часто теплообмен между K и O характеризуют также обратной величиной RT=1/GT, имеющей смысл теплового сопротивления среды. Наиболее широкое распространение для измерения таких усредненных во времени энергетических параметров лазерного изучения, как энергия и средняя мощность, получили калориметры переменной температуры (или неизотермические калориметры), у которых в процессе измерения ТK=f(t)const. Уравнение теплового равновесия калориметрического тела K с оболочкой О в таком калориметре в предположении бесконечной температуропроводности вещества K имеет вид:

(1.1)
где P(t) — мощность, рассеиваемая в калориметре; c — теплоемкость K: T=TK-TO

У непрерывных лазеров характерным энергетическим параметром, который указывается в паспорте, является мощность лазера P. У лазеров, работающих в режиме свободной генерации одиночных импульсов лазерного излучения, обычно нормируется энергия импульса Wu. Лазеры, работающие в режиме модуляции добротности резонатора и в режиме синхронизации мод, обычно характеризуются значением Wu и дополнительно значением максимальной PUmax или средней PUср мощности импульса. Импульсно-периодические лазеры характеризуются средней мощностью Pср со временем усреднения, значительно превышающим период следования импульсов.

В соответствии с этим рассмотрим некоторые частные решения дифференциального уравнения (1.1).

1. Мощность, рассеиваемая а калориметре, не изменяется во времени, т.е. P(t)=PO=const. Тогда

(1.2)
где t=RTC постоянная времени калориметра.

Максимальное значение Т(t) достигается при t®Ґ и равно Tmax=RTЧPO.

2. Мощность в калориметре выделяется в виде периодической последовательности прямоугольных импульсов: PO, tu и q — импульсная мощность, длительность и скважность импульсов соответственно. Можно показать, что в этом случае для значений параметров лазерного излучения, наиболее часто встречающихся на практике ,

(1.3)
3. В калориметре рассеивается энергия одиночного прямоугольного импульса. Температура калориметрического тела в этом случае изменяется во времени следующим образом:

(1.4)

при 0ЈtЈtu

при tuЈtҐ



Максимальное значение Т(t) достигается при t=tu и равно Tmax=BЧRTЧWu (Wu=POЧtuимпульса; д -- постоянная калориметра) . Перечисленные частные случаи описывают три основных режима работы калориметрических преобразователей переменной температуры: режим измерения мощности непрерывных лазеров, средней мощности импульсно-периодический лазеров и режим измерения энергии одиночных лазерных импульсов.

В рассматриваемых калориметрах наибольшее распространение получили твердотельные приемные измерительные преобразователи. Такие ПИП часто изготавливают в виде полостей — полого конуса, сферы с отверстием, полого цилиндра, а также комбинацией этих элементов. За счет использовать эффекта многократных переотражений излучения внутри полости удается увеличить коэффициент поглощения приемного преобразователя и тем самым расширить рабочий диапазон длин волн, а также увеличить верхний предел измерения мощности и энергии лазерного излучения.




Рисунок 1.2 Упрощенная конструкция калориметрического ПИП прибора ИМО-2

В качестве примера на рис.1.2 изображен ПИП прибора ИМО-2, серийно выпускаемого отечественной промышленностью для измерения средней мощности и энергии импульсов лазерного излучения. Здесь приемный элемент 1 выполнен в виде медного конуса со встроенным электрическим нагревателем для градуировки, причем на его приемную поверхность нанесено поглощающее покрытие, В качестве чувствительного элемента 2 применена медно-константановая термобатарея, содержащая более 2000 термопар, равномерно распределенных между наружной поверхностью приемного элемента и поверхностью пассивной теплоемкой оболочки 3 калориметра. Термобатарею получают путем меднения полувитков спирали прямоугольного сечения из константановой — проволоки. Такие элементы не требуют включения в состав ПИП источников питания, так как их выходной величиной является термо-ЭДС, возникающая между холодным и нагретым спаями разнородных металлов и полупроводников. Большое количество термопар в составе термобатареи повышает чувствительность таких ПИП.

Измерительная головка ИМ0-2 содержит две одинаковые калориметрические секции с ПИП, которые находятся внутри пассивного термостата, образованного толстостенным медным корпусом и кожухом измерительной головки. Для уменьшения нестабильности ПИП термобатареи включены последовательно навстречу друг другу, что позволяет исключить влияние температуры окружающей среды. Измерительной блок содержит стабильный усилитель постоянного тока для усиления сигнала с выхода термопреобразователя, стабилизированный источник постоянного напряжения для проверки сохранности градуировочной характеристики прибора в процессе эксплуатации, цепи коммутации и регулировки коэффициента усиления УПТ и аналоговое отсчетное устройство.

Для расширения верхнего предела измерения мощности непрерывного лазерного излучения в комплекте прибора имеется ослабитель.

Основные технические характеристики прибора ИМО-2 и некоторых других тепловых средств измерений мощности и энергии лазерного излучения, серийно выпускаемых промышленностью, приведены в табл. 2.

В приборе ИКТ имеется также конический элемент, который обладает более высокой стойкостью к лазерному излучению в вследствие того, что на его конический приемный элемент действует лазерное излучение, прошедшее рассеивающий матированный сапфировый элемент. В результате этого излучение распределяется по всей приемной поверхности и плотность его снижается. В качестве чувствительного элемента здесь используется термометр сопротивления, выходной величиной которого является изменение электрического сопротивления ПИП под действием изменения температуры приемного элемента, возникающего при поглощении падающего излучения. Поэтому в состав таких ПИП должен входить источник питания. Измерительная головка ИКТ, так же как и в ИМ0-2, содержит два одинаковых ПИП с термометрами сопротивления, включенных в плечи моста постоянного тока.

Примером ПИП проходного типа может служить малоинерционный проволочный болометрический измеритель средней мощности излучения (рис.1.3). Такой ПИП выполнен в виде двух редких решеток из тонких металлических проволок, перекрывающих все сечение пучка излучения и соединенных последовательно. Принцип работы преобразователя основан на болометрическом эффекте, возникающем при частичном поглощении проходящего через решетки лазерного излучения.

Для редкой двойной решетки, если ее период c значительно превышает диаметр d проволоки, полные потери оптического излучения, включающие потери на отражение, дифракцию и поглощение в элементах решетки, не превышают 4d/c. Наиболее подходящими материалами для проволок являются платина, золото и никель, которые обладают высокой механической прочностью и технологической простотой изготовления решеток с малым диаметром d и большим периодом c.



Таблица 2

п/п

Наимено-вание

Тип ПИП

Рабочий диапазон длин волн, мкм

Диапазон измерения

мощности энергии

Вт Дж

Время одного измерения для мощности

Время установления показания

Диапазон длительностей измеряемых импульсов, с

Диапазон измеряемых диаметров пучков, мм

Основная погрешность измерения, %

Вид индикации

1 ОСИСМ — образцовое средство измерений средней мощности Термо­электрический 0.4 - 12

10-3 - 102


2.5 мин

4 ё 10

dP=1 ё 3

Цифровой
2 ОИМ-1-1 — образцовый измеритель мощности излучения (80 кг) То же 0.3 - 3.5

10-3 - 10-1


8 мин

3 ё 8

dP=1

Стрелочный
3 ИМО-2-2М — образцовый измритель мощности и энергии лазерного излучения То же 0.4 - 10.6

10-2 - 102

10-1 - 10

3 мин 5 с / 2 мин

2Ч10-4 - 10-3

4 ё 12

dP=1 ё 3

dE=3 ё 4

Цифровой
4 ИМО-2 — измеритель средней мощности и энергии лазерных импульсов Термоэлектрический 0.33 -10.6

5Ч10-3 - 102

3Ч10-3 - 10

2.5 мин 8 c / 2 мин

10-4 - 10-3

4 ё 12

dP=5 ё 8

dE=7 ё 22

Стрелочный
5 МК 3 - 18А — ваттметр поглощаемой мощности калориметрический Болометрический 0.4 - 3.5

5Ч10-4 - 10-2

10-3 - 0.3

10 с 20 с / 30 с

10-8 - 10-3

Ј10

dP,E=10 ё 20

Стрелочный
6 МЗ - 24 — измеритель мощности калориметрический То же 0.4 - 3.5

10-3 - 10

10-2 -10

10 c 10 c / 20 c

10-8 - 10-3

Ј20

dP=5 ё 12

dE=5 ё 22

Стрелочный
7 ПВ - 1 — пироэлектрический ваттметр Пироэлектрический 0.4 - 10.6

10-4 - 102


10 c

2 ё 23

dP=10 ё 20

Стрелочный
8 ФПМ -01 — фотометр переносной малогабаритный для импульсных и непрерывных лазеров Фотоэлектрический 0.4 -1.06

10-7 - 10-1

10-8 - 0.05


1 c / 1 c

2Ч10-4 - 10-2

2 14

dP=15

dE=10 ё 20

Цифровой
9 ФПМ -02 — то же для импульсных лазеров (модификация ФПМ - 01) Фотоэлектрический 0.53 - 1.06

510-9 - 10-3


1 c / 1 c

10-8 - 10-7

2 14

dE=20

Цифровой
10 ОСИЭ — образцовое средство измерения энергии Термоэлектрический 0.5 - 10.6

2Ч10-2 -10


5 c / 4.5 мин

10-8 - 10-3

4 ё 15

dE=4

Цифровой
11 ИКТ - 1Н - измеритель калориметрический твердотельный То же 0.4 - 4.0

5Ч10-2 - 103


10 c / 8 мин

10-8 - 10-3

4 ё 45

dE=22

Стрелочный


Так, например, из платиновых нитей диаметром 3…5 мкм можно изготовить решетки с поперечным размером более 10 см и периодом 1 мм. В этом случае общие потери но превышают 4·5·10-3=0.02, а коэффициент пропускания приемного измерительного преобразователя достигает 98%. Постоянная времени прибора не превышает 10-3 с.




Рисунок 1.3 Функциональная схема малоинерционного болометрического измерителя мощности лазерного излучения проходного типа

Если в ПИП чувствительным элементом является термометр сопротивления, который непосредственно воспринимает оптическое излучение и в нем отсутствует конструктивно развитый приемный элемент, то такой ПИП традиционно называют болометром, а в качестве термометра сопротивления могут использоваться не только проволочные проводники, а и пленочные. Приемно-чувствителльные элементы этих приборов часто помещают в вакуумированную оболочку И тогда их называют вакуумными. Глубокоохлаждаемые болометры, работающие при температурах жидкого азота и гелия, используют для измерения сверхмалых потоков излучения (эквивалентную мощность шума можно снизить до 10-14 Вт·Гц-1/2) либо при стремлении достичь максимального быстродействия (субнаносекундный диапазон) .

Калориметры, в которых тепловые процессы не приводят к изменению температуры калориметрического тела (т.е. ТK=TO=const), ю называются изотермическими калориметрами, или калориметрами постоянной температуры. Принцип действия таких калориметров основан либо на использовании эффектов фазового перехода вещества и состоит в измерении количества калориметрического вещества (льда), перешедшего под действием поглощенной энергии лазерного излучения в другую фазу (воду) при температуре существования фазового перехода (0°) (калориметры с фазовым переходом), либо на эффекте компенсации в самом калориметре выделенного излучением тепла за счет теплового эффекта с противоположным знаком (компенсационные калориметры и калориметры с предварительным подогревом). Следует отметить, что на практике такие приборы используются редко, за исключением калориметров с предварительным подогревом. В этих приборах калориметрическое тело предварительно (до поступления и ПИП измеряемого излучения) подогревается до некоторой стационарной температуры, превышающей температуру окружающей среды. При подаче лазерного излучения мощность подогрева вручную или автоматически уменьшают ты, чтобы температура калориметрического тела оставалась прежней. Поглощенная ч в калориметре мощность в этом случае равна изменению мощности подогрева. По такому принципу работает образцовый измеритель мощности лазерного излучения ОИМ-1-1, у которого мощность подогрева уменьшается вручную.

Принцип работы пироэлектрических ПИП основан на использовании пироэлектрического эффекта, наблюдаемого у ряда нецентросимметричных кристаллов при их облучении и проявляющегося в возникновении разрядов на гранях кристалла, перпендикулярных особенной полярной оси. Если изготовить небольшой конденсатор и между его обкладками поместить пироэлектрик, то изменения температуры, обусловленные поглощением излучении, будут проявляться в виде изменения заряда этого конденсатора и могут быть зарегистрированы. Входное сопротивление пироэлектрического приемника является почти чисто емкостным. Поэтому сигнал на его выходе может появиться только при переменном входном сигнале, что вызывает необходимость модуляции излучения при измерении пироприемником излучения.

Выходной сигнал пироэлектрических ПИП пропорционален скорости изменения среднего прироста температуры d(DT)/dt чувствительного элемента, а не величине DT, не на которую реагируют тепловой приемники. Следствием этого является высокое быстродействие приемников (до 10-8), в также высокая их чувствительность(10-7…10-8 Дж), большой динамический диапазон работы (10-8…10 Дж) и широкий спектральный диапазон (0.4…10.6 мкм). Конструктивно чувствительный элемент пироприемника не отличается от колориметрических ПИП(см. рис. 1.2), за исключением самого чувствительного элемента 2, выполненного из пироэлектрика. Среди промышленных разработок измерения малых (до 10-9 Вт/см2) и сверхмалых (до 10-12 Вт/см2) потоков излучения наибольшее применение нашли пироэлектрические преемники на основе титаната бария, триглинсульфата и на основе керамики цирконат-титанат бария. Чувствительные элементы таких ПИП представляют собой плоскопараллельную пластину толщиной 20…100 мкм с нанесенными на обе стороны электродами. На облучаемую сторону пластины наносят поглощающее покрытие либо его роль выполняет полупрозрачный электрод. С помощью сравнительно несложной технологии чувствительные элементы можно изготавливать достаточно сложной формы с размерами приемной площадки от 10-4 до 106.

Обладая рядом преимуществ перед тепловыми преобразователями, пирозлектрические ПИП находят все более широкое применение для измерения энергетических и пространственно-энергетических параметров лазерного излучения.

Фотоэлектрический метод.

Фотоэлектрический метод измерения энергетических параметров лазерного излучения основан на переходе носителей заряда под действием фотонов измеряемого излучения на более высокие энергетические уровни. В качестве фотоэлектрических ПИП используют фотоприемники (ФП), которые делятся на две группы: с внешним и внутренним фотоэффектом. Внешний заключается в испускании электронов под действием фотонов в вакуум, внутренний — в переходе электронов из связанного состояния под действием фотонов в свободное, т.е. в возбужденное состояние внутри материала. В обоих случаях переход происходит при поглощении веществом отдельных квантов излучения, поэтому ФП являются квантовыми приборами. Энергия электромагнитного излучения в них непосредственно превращается в электрическую, которую затем измеряют. Выходной электрический сигнал ФП зависит не от мощности падающего излучения, а от количества квантов излучения и энергии каждого кванта.

Общее выражение преобразования входного оптического сигнала в выходной электрический сигнал, осуществляемого фотоэлектрическим ПИП, можно записать в следующем виде:

I=IФП+IТ=SlЧP+IT (1.5)
где I — полный ток, протекающий через ФП, А; IФП — ток через ФП, вызванный падающим потоком излучения, А; IТ — темновой ток, А; Sl — спектральный коэффициент преобразования, или абсолютная спектральная чувствительность ФП, А/Вт; P — мощность падающего на ФП излучения, Вт.

Ниже кратко рассмотрены основные фотоэлектрические преобразователи, применяемые в средствах измерения мощности и энергии лазерного излучения.

Фотопреобразователи с внешним фотоэффектом. Энергия фотоэлектронов, испущенных с поверхности катода под действием электромагнитного излучения, определяется выражением:

W=hn-w (1.6)
где n — частота излучения, Гц; h — постоянная Планка, (h=6.63Ч10-34 ДжЧс); w — постоянная зависящая от природы материала фотокатода. Испускание электронов имеет место лишь в том случае, когда hn>w= hnО, где nО — пороговая частота, ниже которой фотоэффект невозможен. Длину волны lО=с/nО называют длинноволновой (красной) границей фотоэффекта. Обычно коротковолновая граница фотопреобразователя ограничивается пропусканием входного окна ПИП.

К фотоприемникам на основе внешнего фотоэффекта относятся вакуумные приборы: фотоэлементы (ФЭ) и фотоэлектронные умножители,

Спектральный диапазон вакуумных ФП зависит от материала фотокатода. В настоящее время выпускаемые промышленностью ФЭ и ФЭУ перекрывают диапазон от УФ (0.16 мкм) до ближнего ИК излучения (1,2 мкм — для серебряно-кислородно-цезиевого катода). Абсолютная спектральная чувствительность ФЭ определяется следующим образом:

Sl=QЭФЧl/1.24 (1.7)
где QЭФ — эффективный квантовый выход, l — длина волны излучения, мкм, Sl меняется в зависимости от типа и конструкции прибора (10-3…10-1 мА/Вт).

Динамический диапазон, в котором сохраняется линейность преобразования оптического сигнала в электрический, для ФЭ сравнительно большой. Нижний предел ограничен шумами и темновым током ФЭ, верхний — влиянием пространственного заряда и продольным сопротивлением фотокатода, В режиме непрерывного облучения нижний

предел может достигать 10-14 А, верхний не превышает 10-4 А. В импульсном режиме верхний предел может быть увеличен до десятков ампер.

Шумы и темновые токи ФЭ сравнительно невелики, однако из-за низкой чувствительности ФЭ нецелесообразно применять их для измерения малых уровней оптических сигналов.

Современные сильноточные временные ФЭ позволяют получать время нарастания переходной характеристики (между уровнями 0.1 и 0.9 от максимального значения) порядка 10-10 с.

ФЭУ обладают высокой чувствительностью благодаря наличию умножительной (диодной) системы. Если коэффициент вторичной эмиссии i-го диода si, коэффициент сбора электронов gi , а m — число каскадов усиления, то коэффициент усиления ФЭУ:

(1.8)
абсолютная спектральная чувствительность ФЭУ:

Sl= SlkЧM

где абсолютная спектральная чувствительность фотокатода ФЭУ, определяемая аналогично по формуле (1.7).

Чувствительность ФЭУ может достигать ~105 А/Вт в максимуме спектральной характеристики. В обычных ФЭУ линейность сохраняется до десятков миллиампер, у современных сильноточных — до единиц ампер.

При измерениях оптических сигналов большой мощности можно увеличить диапазон линейности ФЭУ для больших потоков частично используя динодную систему и снимая сигнал с промежуточных динодов. Нижний предел динамического диапазона ограничен шумами и темновыми токами ФЭУ, которые обычно составляют 10-11…10-5 А. Быстродействие современных ФЭУ лежит в пределах 30...1 нс (1н=10-9 с).

К ФП на основе внутреннего фотоэффекта относятся фоторезисторы, фотодиоды, фототранзисторы, МДП-фотоприемники и другие полупроводниковые ФП. Для измерения энергетических параметров излучения наиболее широкое распространение получили фотодиоды (ФД) и фоторезисторы (ФР).

Действие ФР основано на явлении фотопроводимости, заключающемся в возникновении свободных носителей заряда в некоторых полупроводниках и диэлектриках при падении на них оптического излучения. Фотопроводимость приводит к уменьшению электрического сопротивления и соответственно к увеличению тока, протекающего через фоторезистор.

Общее выражение для абсолютной спектральной чувствительности ФР может быть представлено в виде:

(1.10)
где e — заряд электрона; V — объем освещенности части полупроводника; Q — квантовый выход внутреннего фотоэффекта; m — подвижность фотоносителей; t — время жизни фотоносителей; l — расстояние между контактами; u — напряжение, приложенное к ФР.

ФР различных типов перекрывают широкий спектральный диапазон(0.4…25 мкм); большинство из них требует охлаждения до температуры жидкого азота или жидкого гелия, что вызывает дополнительные трудности при их использовании в измерительной аппаратуре в качестве ПИП. Кроме того, они обладают большей инерционностью и невысокой чувствительностью, что также ограничивает их применение для измерений энергетических параметров лазерного излучения.

Наиболее широкое использование для этих целей имеют германиевые и кремниевые фотодиоды. Возникающие под действием излучения неосновные носители диффундируют через p-n-переход и ослабляют электрическое поле последнего, что приводит к изменению электрического тока в цепи. Фототок в широких пределах линейно зависит от интенсивности падающего излучения и практически не зависит от напряжения смещения. Для измерения энергетических параметров излучения обычно используют фотодиодный режим (с питанием), так как при этом диапазон линейности и быстродействие гораздо больше, чем в фотовольтаическом режиме (без питания). Важное значение для работы всех ФП имеет согласование с электронной схемой.

Абсолютная спектральная чувствительность ФД:

Sl=tЧgЧQЧl(1-r)/1.24 (1.11)
где t — коэффициент пропускания окна прибора; g — коэффициент

собирания носителей; Q — квантовый выход; l — длина волны излучения; r — коэффициент отражения.

В рабочем спектральном диапазоне абсолютная спектральная чувствительность составляет десятые доли А/Вт. Область спектральной чувствительности кремниевых фотодиодов составляет 0.4…1.2 мкм (максимум около 0,85 мкм), германиевых — 0.3…1.8 мкм (максимум в области 1,5 мкм). Такие ПИП не требуют охлаждения. Темновые токи у кремниевых ФД примерно на порядок ниже, чем у германиевых и достигают 10-5…10-7 А, а при специальной технологии изготовления — 10-9…10-12 А. ФД обладают сравнительно низким уровнем шумов, что в сочетании с высокой чувствительностью делает, их ФП с низким порогом чувствительности. Это позволяет использовать ФД для измерений весьма слабых потоков излучения (до 10-6 Вт)

Инерционность обычных полупроводниковых ФД составляет 10-6…10-8 с, а временное разрешение Ge и Si лавинных ФД достигает 1…10 нс. ФД изготавливают с размерами фоточувствительной площадки примерно от долей мм до 10 мм, а лавинные ФД — до 1 мм.

Для измерения относительно больших уровней мощности и энергии целесообразно применять ПИП с невысокой чувствительностью, т.е. ФЭ. Для измерения средних уровней энергетических параметров лазерного излучения можно применять как вакуумные приборы ( ФЭУ), так и полупроводниковые (ФР, ФД) . Для измерения малых потоков требуются приемники с высокой чувствительностью и низким уровнем шума. Фотодиоды уступают по чувствительности ФЭУ. Однако ФД обладают низким уровнем шума. Это позволяет применять ФД для измерения малых потоков не непосредственно, а с помощью усилителя. В этом случае ФД вполне могут конкурировать с ФЭУ, а в ряде случаев и превосходить их по характеристикам.

Основные преимущества ФД по сравнению с ФЭУ: небольшие габариты, низковольтное питание, высокая надежность и механическая прочность, более высокая стабильность чувствительности, низкий уровень шумов, лучшая помехозащищенность от электрических и магнитных полей.

Недостатки ФД по сравнению с ФЭУ: меньшее быстродействие для большинства ФД, более сильное влияние температуры на параметры и характеристики прибора.

Для измерения временных параметров лазерного излучения следует применять наиболее быстродействующие фотоэлектрические приемники — ФЭ, для измерения малых потоков — ФЭУ и лавинные ФД.

Для измерения мощности лазерного излучения в непрерывном режиме могут быть использованы как вакуумные, так и полупроводниковые ФП, поскольку здесь не требуется их высокого быстродействия.

Пондеромоторный метод

В пондемоторных измерителях энергии и мощности лазерного излучения используется эффект П. Н. Лебедева . Лазерное излучение падает на тонкую приемную металлическую или диэлектрическую пластину и давит на нее. Давление (сила) измеряется чувствительным преобразователем.




Рисунок 1.4 Функциональная схема крутильных весов

Для измерения давления излучения используют различные преобразователи: емкостные, пьезоэлектрические, крутильные весы на механическом и магнитном подвесе, механотроны. Первые два типа большого распространения не получили из-за малого значения коэффициента преобразования, малой помехоустойчивости и сложности системы отсчета и регистрации. Наиболее широко применяются крутильные весы — классический прибор для измерения малых сил. Схема устройства приведена на рис.1.. На растяжках или подвесе 1 укреплено коромысло 2 с приемным крылом 3, противовесом 4 и зеркалом 5, расположенным в вакуумированной камере. При попадании оптического излучения на приемное крыло подвижная система отклоняется от положения равновесия на некоторый угол, по величине которого можно судить о значении оптической мощности или энергии. Крючок 6 предназначен для крепления груза при калибровке весов (определения их момента инерции и жесткости подвеса).

Из решения уравнения движения крутильного маятника можно получить значение угла поворота a приемной пластины 3 при воздействии на нее непрерывного излучения мощностью P

(1.12)
где r — коэффициент отражения пластины; t — коэффициент пропускания входного окна камеры; l — расстояние от оси пучка излучения до оси вращения; j — угол падения излучения на пластину; c — скорость света; K — жесткость подвеса. Аналогичное выражение можно получитъ для максимального угла разворота пластины amax — под действием импульса излучения энергией Wu:

(1.13)
где J — момент инерции вращающейся системы. Углы поворота отсчитываются на шкале 8 по отклонению светового пятна от лампочки 7 (рис. 1.4). При известных параметрах системы формулы (1.12) и (1.13) позволяют определить энергию и мощность излучения в абсолютных единицах.

В настоящее время в конструкцию пондеромоторных измерителей введено много усовершенствований, которые позволили улучшить их эксплуатационные и метрологические параметры. Прежде всего оказалось возможным отказаться от вакуумирования и использовать атмосферное давление воздуха в камере. Применение в качестве приемных элементов прозрачных диэлектрических пластин вместо отражающих металлических позволило увеличить верхний предел изменения энергии излучения (до 104 Дж). Такие устройства позволяют измерять мощность лазерного излучения, начиная с единиц миливатт, и энергию импульсов в десятые доли джоуля.

Для отсчета угла поворота крутильных весов часто используют емкостный преобразователь. В этом случае пластина противовеса является одной из пластин конденсатора, включаемого в резонансный контур генератора. При повороте подвижной системы емкость конденсатора, а значит, и частота генератора меняются, изменение частоты измеряется частотным детектором. Чувствительность такой системы очень высока, но сама система громоздка и сложна в настройке и управлении.

Другим способом реализации высокочувствительной системы отсчета является схема с двумя фоторезисторами, которые включены вместе с двумя постоянными резисторами в мостовую схему. В положении равновесия мост сбалансирован. При отклонении системы освещенность фоторезисторов меняется, мост разбалансируется и в его измерительной диагонали появляется ток, пропорциональный углу поворота, который регистрирует микроамперметр. Подобные системы индикации используются в гальванометрических фотоусилителях Ф117, Ф120, имеющих чувствительность около 0.1 А/рад, что позволяет измерять минимальный угол отклонения порядка нескольких угловых секунд.



Рисунок 1.5 Магнитный подвес в пондеромоторном измерителе

Увеличение чувствительности в пондеромоторных измерителях и улучшение развязки подвижной системы от толчков и вибраций достигнуты при помощи бесконтактного подвеса в магнитном поле (рис. 1.5). Подвижная система 1 с приемной пластиной 2, противовесом 3 и ферромагнитным якорем 4 подвешена в магнитном поле соленоида 5 внутри камеры. Ток соленоида регулируется специальной автоматической системой, состоящей из датчика 6, линейного 7 и дифференциального устройства 9. При изменении вертикального положения системы в ответ на сигнал датчика вырабатывается сигнал обратной связи, усиливающий или ослабляющий ток через соленоид и стабилизирующий положение системы. Поперечная устойчивость обеспечивается радиальным градиентом напряженности поля соленоида.

Помимо крутильных весов для измерения используются механотроны, которые представляют собой электровакуумный прибор с механически управляемыми электродами. При воздействии внешнего механического сигнала в механотроне происходит перемещение одного или нескольких подвижных электродов, что вызывает соответствующее изменение анодного тока.



Рисунок 1.6Схема устройства диодного механотрона

Отечественная промышленность выпускает ряд механотронных преобразователей, оформленных в виде обычных электронных ламп с октальным цоколем (6MXIБ, 6MXЗС и др.) и в миниатюрном оформлении с гибкими выводами (6MXIБ и т.п.). Конструкция этих механотронов показана на рис. 1.6. Сам механотрон представляет собой диод с плоскопараллельными электродами. В стеклянном баллоне 1 находятся неподвижный катод 2 с подогревателем 3 и подвижный анод 4, жестко соединенный со стержнем 5, который впаян в гибкую мембрану 6. Входной механический сигнал (сила F) подается на внешний конец стержня. При этом подвижный анод перемещается относительно неподвижного катода, что приводит к изменению анодного тока и выходного сигнала преобразователя, который для измерения включают в мостовые схемы.

Чувствительность механотронов не превышает 10 мА/г (или по мощности 10-9 А/Вт). Такое значение чувствительности при величине флуктуаций тока 0.1 мкА, вызываемых температурным дрейфом, толчками и вибрациями, дает возможность уверенно измерять давление непрерывного излучения более 1кВт. Если излучение промодули ровать так, чтобы подвижная система механотрона вошла в резонанс, нижний предел измерения может достичь 100 Вт. Поэтому механотронный преобразователь обычно применяют для измерения больших уровней мощности и энергии импульсов лазерного излучения, например непрерывного излучения мощных СО2-лазеров и импульсного на стекле с неодимом.

Опыт, накопленный при разработке и эксплуатации различных типов измерителей энергии и мощности лазерного излучения, позволяет сделать заключение об областях применения, достоинствах и недостатках различных методов.

К достоинствам теплового метода измерения энергетических параметров лазерного излучения относятся широкие спектральный и динамический диапазоны измерения, простота и надежность измерительных средств. В настоящее время в некоторых калориметрических измерителях достигнута наиболее высокая точность измерения, а при использовании пироэлектрических приемников излучения и быстродействующих термоэлементов и болометров удалось получить быстродействие до единиц наносекунд.

К недостаткам теплового метода можно отнести малое быстродействие и чувствительность как раз тех тепловых приборов, которые обеспечивают наиболее высокую точность измерения.

В приборах, основанных на фотоэлектрическом действии излучения, достигаются максимальная чувствительность и быстродействие; это позволяет использовать их в качестве измерителей формы импульсов и импульсной мощности вплоть до субнаносекундного диапазона. Недостатками таких приборов является сравнительно узкий спектральный диапазон и обычно невысокий верхний предел измерения мощности (энергии), а также большая погрешность измерений (5…30%) по сравнению с тепловыми приборами.

Преимущество пондеромоторного метода — высокий верхний предел измерения энергии и мощности излучения при достаточно высокой точности абсолютных измерений. Основной недостаток — жесткие требования к условиям эксплуатации (особенно к вибрации) и, вследствие этого, ограничения к применению в полевых условиях.

Измерение основных параметров импульса лазерного излучения

Как известно ряд активных сред в силу принципиальных или технических ограничений обычно работают в импульсном режиме генерации, Сюда в первую очередь относятся лазеры на самоограниченных переходах — азотный лазер, генерирующий в УФ диапазоне (l=337,1 нм), и лазер на парах меди, дающий мощные импульсы зеленого излучения (l=510,5 нм), Еще более широко распространены рубиновые лазеры и лазеры на неодимовом стекле, импульсный характер генерации которых обусловлен прежде всего особенностями системы накачки и охлаждения активной среды. И наконец, в некоторых наиболее ответственных случаях для повышения пиковой мощности излучения некоторые лазеры переводятся в режим управляемой генерации; при этом наиболее часто используются методы управления добротностью резонатора для получения так называемого гигантского импульса и синхронизации продольных мод с целью получения пикосекундных (правильнее — сверхкоротких) импульсов.

В результате возникает задача измерения основных параметров генерируемого лазером импульса излучения. Очевидно, что наиболее простым было бы построение измерений по схеме получения абсолютной зависимости мощности излучения от времени P(t) с последующим извлечением из нее всех интересующих величин — обычно это пиковая мощность Pu,max=P(t*), энергия импульса

и его длительность Dt. Однако точность таких измерений обычно невелика. Поэтому, как правило, разделяют измерение временных (Рmax и tu) и энергетических (W) параметров, что кроме повышения точности получаемых результатов позволяет упростить сами измерения. При этом измерение энергии импульса проводится обычно с помощью калориметрического измерителя (см.1.1), обеспечивающего наибольшую точность, или фотодиода с последующим интегрированием фототока, а измерение зависимости Р(t) — с помощью фотоэлектронного приемника с высоким временным разрешением. Именно по такой схеме построены серийные приборы марок ФН и ФУ, рассчитанные на работу в диапазоне 0.4…1.1 мкм при энергии в импульсе 10-3…10 Дж и пиковой мощности 104 …108 Вт; при длительности импульса tu =2.5…5Ч10-9 с и частотой повторения F < 1 кГц погрешность измерения энергии dE»20%, а мощность около 25%.

Анализ параметров импульса с помощью осциллографа.

Для измерения формы импульса и его временных параметров (в частности, длительность импульса tu, времен нарастания и спада и т.п.) используют быстродействующие фотоприемники с высокой линейностью световой характеристики. К ним, в первую очередь, относятся специально разработанныt во ВНИИОФИ коаксиальные фотоэлементы серии ФЭК, рассчитанные на нагрузку 75 Ом и напряжение питания 1000 В; их временное разрешение (собственная постоянная времени) колеблется в пределах от 10-9 до 10-10 с, и максимальный фототок от 1 до 7 А у разных марок, отличающихся конструкцией и типом фотокатода.

Таким образом, вопрос об эффективном преобразовании светового импульса в электрический в первом приближении (по крайней мере для лазеров с "гигантским" импульсом) можно считать решенным. Для исследования формы полученного электрического импульса используются как обычные универсальные осциллографы с полосой пропускания до 107 Гц, так и специальные скоростные осциллографы с полосой пропускания 1...5 ГГц и чувствительностью ~1 мм/В. Последние обычно не имеют усилителя (вертикального входа), и сигнал в них подается непосредственно на верительные отклоняющие пластины, что и обеспечивает широкую полосу пропускания, но при низкой чувствительности к входному сигналу. Дальнейший анализ осциллограммы проводится по ее фотоснимку, а также при использовании ЭЛТ с длительным свечением люминофора или с накоплением заряда и последующим его многократным считывании.

Ввиду плохой воспроизводимости параметров лазерных импульсов использование стробоскопических методов исследования не обеспечивает необходимой точности измерений и потому обычно не практикуется.

Изучение формысверхкоротких лазерных импульсов

Как указывалось в 1.1.2, наиболее быстродействующие фотоэлектрические приемники излучения имеют постоянную времени 10-10 …10-9 с, т.е. с их помощью можно надежно исследовать только "гигантские" импульсы, типичная длительность которых составляет 10-8 с, а времена нарастания и спада могут быть значительно короче. Поэтому при исследовании временных зависимостей в случае наиболее коротких гигантских импульсов и, особенно, пикосекундных импульсов используют косвенные методы, основанные на применении временной развертки, используемой в электронных и оптических осциллографах. В настоящее время принцип сверхскоростной временной развертки реализован как на базе оптико-механической развертки с растрами (кинокамера типа "лупа времени"), Что позволяет зарегистрировать Набор малоинформативных двумерных изображений с частотой съемки 105…108 кадр/с, так и на базе непрерывной одномерной (щелевой) оптико-механической развертки (щелевые фоторегистраторы) с временным разрешением от 10-7 до 3Ч10-9 с. Таким образом, использование оптико-механической развертки не позволяет сколько-нибудь существенно улучшить временное разрешение, обеспечиваемое малоинерционными фотоприемниками, но позволяет получить набор двумерных (например, распределение по поперечному сечению пучка) или одномерных (одномерное сечение пучка, спектр и т.п.) изображений, правда, только для излучения лазеров УФ, видимого и ближнего ИК диапазонов, что определяется ограниченным спектральным диапазоном используемых фотопленок.

Поэтому в некоторых случаях применяют электронную развертку одно- или двумерных электронных "изображений", поступающих с фотокатода (сурьмяно-цезиевого, многощелочного или кислородно-цезиевого, что оговаривается при заказе конкретного прибора) ЭОПа. В случае использования кислородно-цезиевого фотокатода "красная" граница достигает 1.3 мкм. Однако более существенным преимуществом используемых для высокоскоростной регистрации ОЭПов является значительное усиление яркости регистрируемого изображения — до (103…108 )х в многокаскадных (2…6) приборах; это важно при регистрации маломощных пикосекундных импульсов. В зависимости от электронной системы развертки можно получить 9…12 отдельных кадров (двумерных изображений) с временем экспонирования до 10-9…5Ч10-13с, что обеспечивается отдельным электронным затвором, расположенным обычно у фотокатода. Частота смены кадров, обеспечиваемая за счет синхронной работы двух взаимно перпендикулярных систем электростатического отклонения (всего пучка фотоэлектронов), гораздо ниже, что затрудняет исследование динамики процесса генерации.

По этой причине ЭОПы с разверткой обычно используют для исследования только временных зависимостей интенсивности сфокусированногованного (монохроматическим объективом) пучка излучения пикосекундного лазера. Применяемая при этом одномерная (обычно линейная) развертка может иметь скорость до 1010 см/с, что обеспечивает получение на выходном люминесцентном экране (Ж40 мм) с разрешением от 5…10 лин/мм (в 5-6-каскадных ЭОПах) до 50 лин/мм (в однокаскадных) временной разрешающей способности 10-11 с. Рекордная скорость одномерной (спиральной) развертки (6Ч1010 см/с) достигнута в ЭОПе "Пикохрон-1" за счет использования на отклоняющих пластинах СВЧ-напряжения (l = 3 см);

соответственно при разрешающей способности (не экране) 5 лин/мм временное разрешение моют достигать 5Ч10-13 с, что соответствует временным разбросам пролета электронов в пучке, и поэтому не может быть улучшено повышением скорости развертки. Характерно, что для обеспечения удовлетворительных яркости характеристик выходного сигнала (спирали на люминесцентных экранах) "Пикохрон-1" имеет шестикаскадную систему усиления, в результате чего яркость возрастает в 107…108 раз по сравнению с исходной (но существенно падает разрешающая способность выходного "изображения").

Таким образом, вопрос исследования временных зависимостей генерации пико- и даже фемтосекундных импульсов лазерного излучения можно считать в первом приближении решенным. Однако сложность, высокая стоимость, громоздкость и необходимость высококвалифицированного обслуживания затрудняет в некоторых случаях практическое использование камер с оптико-механической и электронной развертками.

ОГЛАВЛЕНИЕ,




44


Поэтому в заключении данного пункта целесообразно рассмотреть внешне достаточно простой чисто оптический способ измерения длительности пикосекундных импульсов, в котором используется оптическая "развертка" (со скоростью света) при прохождении излучения в нелинейном (по интенсивности) веществе, за счет чего и достигается "визуализация" светового импульса.

Рисунок 1.7. Схема измерения длительности пикосекундных импульсов методом нелинейной (двухфотонной) люминесценции.

"Световая" развертка была предложена в 1967 г. Джордмейном для использования длительности пикосекундных импульсов при распространении двух одинаковых световых пучков навстречу друг другу в растворе нелинейно люминесцирующего красителя. В первом эксперименте (рис. 1.7) "стоячая" волна образовывалась путем отражения основного пучка пикосекундных импульсов (генерируемого лазером на неодимовом стекле) в зеркале кюветы с красителем. Очевидно, что возле зеркала (и далее с шагом l=TC/n, где n — показатель преломления раствора красителя) плотность энергии прямого и отраженного пучка будет максимальна из-за совпадения i-го импульса. Левее (рис.1.7) зеркала на l будут совпадать (i-1)-й импульс в прямой волне и (i+1)-й — в отраженной. При удалении от зеркала на 2l двухфотонная люминесценция красителя будет ярче из-за наложения (i-2) и (i+2) импульсов цуга и т.д. Для приближенной оценки контраста получаемой картины примем, что все пикосекундные импульсы в цуге имеют одинаковую пиковую интенсивность I1=I2=Ii.Тогда яркость фонового свечения двухфотонной люминесценции Вфона пропорциональна Ii2,а максимальная яркость (возле зеркала и в других "пучностях") Вмакс пропорциональна (2Ii)2=4Ii2, т.е. заметно выше; это обеспечивает надежное выделение информации о длительности пикосекундных импульсов и временном интервале Т между ними по микроденситограмме фотоснимка кюветы с возбужденным красителем (рис. 1.8).


Рисунок 1.8. Микроденситограмма (справа) фотографии центральной части симметрично возбуждаемой пикосекундными импульсами кюветы (слева) с красителем.

В действительности как сам эксперимент, так и его теория значительно сложнее приведенной выше элементарной модели. Ввиду ограниченного объема укажем лишь, что обычно кювета с красителем возбуждается симметрично (рис.1.8), а закон распределения яркости свечения определяется (авто)корреляционной функцией интенсивности лазерного пучка, в результате чего для гауссова импульса происходит "уширение" свечения в раз, а контраст снижается до 3,0. Известен метод измерения корреляционной функции интенсивности лазерного пучка за счет нелинейного эффекта генерации второй гармоники, позволяющий избавиться от фоновой засветки и иметь временное разрешение »0,1 пс; однако как его описание, так и, особенно, реализация достаточно сложны.

Измерение пространственного распределения энергии в лазерном пучке

Наиболее полной пространственно-энергетической характеристикой лазерного излучения является диаграмм направленности, то есть угловое распределение энергии или мощности в лазерном пучке. Вблизи излучающей апертуры лазера угловое распределение имеет непостоянную конфигурацию, поэтому в большинстве случаев практический интерес представляет распределение поля излучения в дальней зоне, когда форма распределения перестает зависеть от расстояния и можно говорить о сформировавшейся диаграмме направленности излучения. В качестве приближенной оценки границы дальней зоны принимают расстояние, превышающее d2/l, где d —диаметр излучающей апертуры лазера; l — длина волны излучения.

Ширину диаграммы направленности в дальней зоне количественно характеризуют углом расходимости лазерного излучения, который обычно нормируется при выпуске лазеров из производства.

На практике используют два понятия расходимости. В первом случае имеют в виду плоский или телесный угол Qp или Qs, определяющий ширину диаграммы направленности в дальней зоне по заданному уровню углового распределения энергии или мощности, отнесенного к его максимальному значению. Чаще всего значение уровня принимается равным 0,5 и 1/е2, где е — основание натуральных логарифмов. Приведенное выше определение однозначно характеризует излучение только одномодового лазера, имеющего диаграмму направленности без боковых лепестков, т.е. близкую к гауссовскому распределению. В случае многомодового режима диаграмма излучения имеет многочисленные боковые лепестки, содержащие значительную часть энергии. Поэтому величина расходимости по заданному уровню энергии или мощности, т.е. по существу центрального максимума распределения, не очень показатальна, если неизвестно угловое распределение энергии или мощности в этом угле. В таких случаях более удобной характеристикой является энергетическая расходимость лазерного излучения (QW,P или QW,S), т.е. плоский или телесный угол, внутри которого распространяется заданная доля энергии или мощности излучения.

Лазерное излучение также характеризуют значением диаметра пучка, т.е. диаметра поперечного сечения пучка лазерного излучения, внутри которого проходит заданная доля энергии или мощности.

Для практического определения расходимости используют три основных метода: метод сечений, метод регистрации диаграммы направленности и метод фокального пятна.


Рис.1.9. Принципиальные схемы трех основных методов измерения расходимости лазерного излучения

Наиболее простым является метод двух сечений (рис.1.9.а). Согласно этому методу расходимость (или энергетическая расходимость) пучка излучения определяют путем измерения диаметров пучка d1 и d2 в двух поперечных сечениях дальней зоны, отстоящих одно от другого на расстоянии L, и вычисления искомого угла Q по формуле:

Q=arctg[(d2-d1)2L]»(d2-d1)/2L

Измерения диаметров d1 и d2 производятся одновременно или последовательно по одному и тому же критерию — заданному уровню интенсивности либо заданной доле мощности (энергии). Достоинством метода является его простота, однако для обеспечения необходимой точности измерений требуется достаточно большая (до нескольких метров) база между сечениями, что затрудняет использование данного метода в лабораторных условиях.

Для уменьшения линейных габаритов установки применяют различные зеркальные или призменные системы, называемые оптическими линиями задержки. В качестве примера реализации метода сечений на рис.1.10 показана схема измерителя расходимости непрерывного лазерного излучения в видимом и ближнем ИК диапазонах. Излучение лазера 1, отразившись от вращающегося зеркала 2 (положение а-а), отклоняется на фотоприемник 12 с щелевой диафрагмой 11 и после преобразования в электрический импульс регистрируется системой 13. При повороте зеркала на выходе приемника образуется электрический импульс, длительность которого пропорциональна диаметру поперечного сечения пучка. При дальнейшем повороте зеркала 2 в положение в-в пучок излучения, пройдя многозеркальную отклоняющую систему 3-10, сканирует по щели фотоприемника 11. Длительность импульса на выходе этого фотоприемника пропорциональна диаметру второго поперечного сечения, удаленного от первого сечения на расстояние, вносимое зеркальной системой, удлиняющей ход пучка. В силу расходимости длительность этого импульса больше первоначального. В регистрирующей системе 13 измеряется разность длительностей этих импульсов и определяется значение угловой расходимости в соответствии с соотношением

(1.15)

где V — скорость сканирования пучка по диафрагме; L — длина оптической задержки; — длительность импульсов; d1 и d2 — диаметры первого и второго сечений пучка. На этом принципе работает измеритель расходимости с цифровым отсчетом, способный измерять расходимость от 20" до 3600" в диапазонах длин волн 0,4...1,15 мкм и мощности 0,15...1000 мВт. Погрешность измерения расходимости данным прибором составляет 3%.

Рисунок 1.10. Схема измерителя расходимости пучка непрерывного лазера, в котором использована модификация метода сечений.

Метод регистрации диаграммы направленности позволяет получить наиболее полную информацию о пространственном распределении лазерного излучения (см. Рис. 1.9б). Для измерения диаграммы направленности можно использовать фотоэлемент или ФЭУ, расположенные в дальней зоне, фотокатод которых закрыт диафрагмой с отверстием малого диаметра. Перемещая фотоэлемент по дуге окружности радиусом R, регистрируют угловое распределение интенсивности излучения. Зная диаграмму направленности, можно рассчитать энергетическую и угловую расходимости излучения. Измерение диаграммы направленности является сложной и трудоемкой процедурой, поэтому редко применяется в метрологической практике.

Метод фокального пятна является наиболее распространенным методом измерения расходимости. Для проведения измерений в дальней зоне, т.е. в области дифракции Фраунгофера, требуются, как правило, значительные расстояния от источника излучения. Условия дифракции Фраунгофера можно получить в фокальной плоскости идеальной безаберрационной положительной линзы (рис.1.9в). Для перехода к угловому распределению необходимо линейное распределение в фокальной плоскости разделить на фокусное расстояние линзы, то есть угол расходимости излучения лазера определяют по формуле

Q»a/f ',

где а — радиус пятна на фокальной плоскости. В этом методе для исключения влияния дифракции на краях линзы применяют длиннофокусные линзы с большой апертурой, превышающей примерно в 2 раза диаметр падающего лазерного пучка, а фокусное расстояние линзы должно удовлетворять условию

где l — длина волны лазерного излучения; QW,P — энергетическая расходимость лазерного излучения, установленная в стандартах или ТУ на лазеры конкретных типов. Погрешность измерения данного метода в основном связана с неточностью определения размера пятна и не превышает 27%.

Как в методе фокального пятна, так и в методе сечений суть измерений расходимости сводится к определению диаметра сечения пучка по тому или иному критерию. Для определения диаметра пучка излучения применяют в основном два метода (ГОСТ 26086-84): метод калиброванных диафрагм и метод распределения плотности энергии (мощности) лазерного излучения. В первом случае используются диафрагмы с плавно изменяющимся диаметром или сменные калиброванные диафрагмы. Их устанавливают непосредственно в пучке или в фокальной плоскости линзы. Изменяя диаметр диафрагм, регулируют диаметр пучка, в пределах которого заключена заданная доля энергии (мощности) излучения от полной энергии. В схеме такого измерителя имеются две ветви, в одной из которых и измеряется полная энергия (мощность) пучка. Рассмотренный способ является недостаточно точным, а процесс измерения малооперативным, кроме того, он не дает информации о распределении поля вблизи максимума излучения и не позволяет выявить неоднородности; неоднородности в распределении излучения. Для устранения этого недостатка применяют метод регистрации распределения плотности энергии (мощности) лазерного изучения в поперечном сечении пучка. Для этого в видимой области и ближнем ИК диапазоне спектра используют фотографирование пятна излучения на фотопленку или фотопластинку с последующей обработкой микрофотометрированием и численным интегрированием на ЭВМ. В случае мощных импульсных и непрерывных лазеров применяют нейтральные светофильтры для ослабления излучения. При грубых оценках достаточно мощных лазеров размер пятна определяют по размеру отверстия, прожигаемого пучком лазера в непрозрачной мишени (черная бумага, тонкие металлические пластины и т.п.). Более удобным способом измерения, распределения интенсивности в сфокусированном пятне является автокалибровочный способ (рис.1.11), который основан на разделении лазерного пучка на ряд пространственно подобных м и достаточно удаленных один от другого пучков различной интенсивности с помощью пластины L под установленной под углом к пучку лазера. Толстая пластина L ослабляет и многократно расщепляет лазерный пучок.




Рисунок 0.1 Схема автокалибровочного способа измерения расходимости излучения

Если коэффициент отражения обеих поверхностей равен r, то интенсивность In, пучка с номером n, выходящего из наклонной пластины L , можно записать в виде:

In=I0(1-r)2Чr2(n-1) (1.18)
где IO — интенсивность пучка, падающего на пластину. Таким образом, на пленке P получается несколько изображений пятна с разной экспозицией, из которых после обработки денситограмм можно достаточно точно определить диаметр пятна на заданном уровне интенсивности.

Для более оперативного получения данных, а также для преобразования излучения в видимую область спектра используют ЭОПы, видиконы и диссекторы, которые позволяют наблюдать или фотографировать объекты в ближних ИК (до 1.5 мкм), видимых, УФ или рентгеновских лучах.

С появлением многоканальных мозаичных приемников излучения задача определения относительного распределения плотности энергии или мощности значительно упростилась, а скорость получения результатов измерений существенно повысилась. Параллельный принцип измерения многоканальных ПИП локальных плотностей мощности и энергии позволяет проводить анализ импульсного и нестабильного во времени в и пространстве непрерывного излучения с выдачей результатов непосредственно на экран дисплея ЭВМ или ЦПУ.

Большинство преобразователей имеют до 100 каналов измерения с размером одного элемента от 5х5 до 10х10 мм2. Матричные ПИП основаны на различных принципах действия (термоэлектрические калориметры, пироэлектрические и полупроводниковые приборы) и могут перекрывать видимую и ИК области спектра l= 0.4…25 мкм).

Современные фотодиодные, фоторезистивные и фототранзисторные матрицы состоят из нескольких десятков тысяч элементов с шагом нескольких десятков микрометров и общей площадью до 15х15 мм2. Время опроса таких матриц составляет доли миллисекунд.

Автоматизированная математическая обработка информации с мозаичных приемников обеспечивает вычисление энергетической расходимости (не только относительно точки с максимальной интенсивностью, но и относительно центра тяжести пятна или геометрического центра); выделение изоуровней; обработку фокальных пятен неправильной формы; коррекцию искажений измерительного тракта, включая возможность индивидуальной коррекции неравномерности чувствительности отдельного канала; определение оси диаграммы направленности, ее дрейф в течение времени и т.д.

В то же время многоканальные мозаичные ПИП обладают все еще низкой разрешающей способностью (до 10 лин/мм), повышенной общей плотностью системы и стоимостью.

Измерение поляризации лазерного пучка

В силу специфики процесса генерации в лазерах (основанного на стимулированном испускании активной средой когерентных фотонов) получаемое таким путем излучение всегда должно обладать 100 %-ной элементарной (линейной или круговой) поляризацией. Вид последней определяется особенностями используемой (в лазере) активной среды — поляризацией ее спонтанного излучения, служащего "затравкой" при разгорании генерации, и величиной коэффициента усиления для элементарных поляризаций; существенное значение в лазерах с резонатором мыв т поляризационная анизотропия последнего, т.е. соотношение потерь для различных элементарных поляризаций. В подавляющем большинстве серийных лазеров генерируется только линейно поляризованное излучение, причем почти всегда плоскость поляризации однозначно определяется либо поляризацией спонтанного излучения активной среды (например, степень поляризации основной R1 линии в стержнях рубина с 90° ориентацией кристаллографической оси составляет 80%), либо брюстеровскими поверхностями (например, брюстеровскими окнами в газоразрядных кюветах, брюстеровскими торцами лазерных стержней, установленными под углом Брюстера модуляторами, затворами и т.п.). Лишь в лазерах на неодимовом стекле при отсутствии поляризационной анизотропии генерируется линейно поляризованное излучение, плоскость поляризации которого хаотически, через время порядка Dt (время развития генерации), "перескакивает" после того, как "съедена" инверсная населенность с соответствующей поляризацией.

С другой стороны, различные дефекты активной среды и особенности используемого оптического резонатора могут изменять состояние поляризации лазерного пучка, в результате чего в некоторых случаях необходимо его исследование; это характерно, например, при использовании поляризационной (главным образом, электрооптической) модуляции и в некоторых других случаях. Перечислим (в порядке нарастания "сложности") возможные "элементарные" состояния поляризации:

1. Линейная поляризация — характеризуется только положением плоскости поляризации — углом a с (произвольной) осью x , перпендикулярной направлению распространения света z;

2. Круговая поляризация — характеризуется только направлением вращения конца проекции вектора Е на плоскость xy (перпендикулярную направлению распространения z) — право- и левоциркулярно поляризованное излучение; отметим, что круговая поляризация может трактоваться как совокупность двух взаимно ортогональных линейно поляризованных лучков равной интенсивности, колебания в которых сдвинуты соответственно на ±l/4 (или на угол d=±p/2);

3. Эллиптически поляризованный свет является наиболее общим случаем элементарной поляризации и определяется уже тремя параметрами: углом плоскости большой оси (преимущественного направления поляризации) с осью x, т.е. углом a, эллиптичностью b, характеризующей соотношение напряженности линейно (и ортогонально) поляризованного света меньшей интенсивности к большей, и направлением вращения (правое или левое, как для циркулярно поляризованного света); в другой трактовке эллиптически поляризованный свет есть совокупность циркулярно поляризованного излучения и (когерентного с одной из его составляющих) линейно поляризованной добавки, плоскость поляризации которой расположена под углом a .

Таким образом, все "элементарные" состояния поляризации могут быть получены из двух линейно поляризованных во взаимно перпендикулярных плоскостях излучений с амплитудами Аx и AY и разностью фаз d. Стоксом были введены четыре параметра

, , , , полностью определяющем состояние поляризации монохроматического пучка; прямо пропорциональный полной интенсивности поляризованного пучка, положение преимущественной (линейной) поляризации (положение большой оси а эллипса) a=0.5arctg(s2/s1), угол эллиптичности (при этом 0 соответствует правая поляризация, а (-p/2)Јb — левая) и сдвиг фаз d=dx-dy=arctg(s2/s3).

Хотя состояние поляризации любой волны, не содержащей неполяризованного света() можно представить точкой в трехкоординатном (декартовом) пространстве параметров Стокса S1, S2, S3, более наглядным является аналогичное представление на сфере Пуанкаре, где в полярной системе координат на сфере радиуса наносится точка Р1 с угловыми координатами ax и bz=(p/2)-2b. Тогда экватору соответствуют все возможные состояния линейно поляризованного света, северному полюсу — правая, а южному — левая циркулярная поляризация. При этом все северное полушарие соответствует правой эллиптической поляризации, а южное — левой. В случае не полностью поляризованного света соответствующая ему точка P лежит на продолжении радиуса OP1 на расстоянии , а для учета неполной поляризации вводится степень поляризации , равная отношению поляризованной интенсивности к полной, т.е. p=Iполяр/I.

Сферу Пуанкаре можно использовать и для качественного анализа изменения состояния поляризации излучения во времени. Так, например, свободной генерации лазера на неодимовом стекле (без анизотропных элементов) будет соответствовать хаотический перескок точки P1 вдоль экватора на угол порядка p/2 (на ортогональную линейную поляризацию) с характерным временем порядка времени разгорания генерации. Незначительные флуктуации двулучепреломления в лазере с активной средой, находящейся в сильном аксиальном поле (но резонатор которого не имеет преимущественной поляризации например, ионный аргоновый лазер с внутренними зеркалами), будут приводить к соответствующему движению две точки Ps1 и Ps2 в области северного и иного полюсов сферы Пуанкаре и т.п.

В то же время для количественного анализа состояния поляризации удобнее использовать следующие параметры Стокса, которые сравнительно просто могут быть измерены непосредственно:

s0=I — полная интенсивность пучка;

s1=Ix-Iy разница интенсивности линейно поляризованных компонент (т.е. интенсивностей, пропускаемых высококачественным поляроидом или поляризационной призмой) для азимутальных углов 0° (x-компонента) и 90° (y-компонента);

s2=Ip/4-Ip/4 — разница интенсивностей при установке поляроида посередине между осями XY (Ip/4) и перпендикулярно биссектрисе угла xOy (I-p/4)

s3=Ig-Is — то же, что и для s1, s2; но для циркулярно поляризованного (соответственно по правому и левому кругу) света.

Таким образом, на первый взгляд, требуется иметь семь измерителей елей интенсивности, однако вполне достаточно четырех величин, например Ix, Iy, Ip/4 и In. При этом параметры Стокса (правда, в более сложной для обработки форме) могут быть автоматически вычислены по соответствующим формулам. Такой эллипсометр состоит из трех пар пластин, установленных под углом Брюстера и развернутых на угол 90° в каждой паре. В результате от первой пластины П1 отражается только составляющая Ix, от второй П2 — только Iy, от третьей П3 — только Ip/4 (так как вторая пара пластин развернута относительно первой на угол 45° ), а от пятой П5 — только In (так как перед третьей парой пластин стоит четвертьволновая пластина +l//4). Отражаемые четвертой П4 и шестой П6 пластинами пучки, пропорциональные I-p/4 и Is, не требуется для вычисления параметров Стокса, но сами пластины необходимы для обеспечения точности работы системы за счет четной симметрии каждого каскада пластин. Очевидно, что такой четырехканальный поляриметр может использоваться для анализа излучения как импульсных (его быстродействие определяется а основном используемыми фотоприемниками и может достигать 10-8 с), так и непрерывных лазеров.

В последнем случав можно применять поляриметры, работающие в режиме последовательного анализа отдельных поляризационных компонент лазерного пучка. Существенно, что в данном случав заметно повышает точность измерения (достижение точности основных величин — степени поляризации р, эллиптичности (а/b) угла преимущественной поляризации a в 1% не составляет труда) за счет снижения шумов при накоплении сигнала и синхронном детектировании. В качестве примера поляриметра данного типа сошлемся на схему модуляционного поляриметра. В нем используется двухканальный поляризационный анализатор последовательного действия, содержащий непрерывно вращающуюся (с угловой скоростью w) четвертьволновую пластинку (d=p/4) и призму Волластона, расщепляющую выходной лучок на две взаимно ортогональные поляризации с переменными во времени интенсивностями:

где q — угол, определяющий ориентацию анализатора — призмы Волластона, а — интенсивность линейно поляризованной составляющей. При попарной обработке обоих получаемых сигналов получим: на нулевой частоте (по постоянному току) s0=I1(0)+I2(0), при детектировании на частоте второй гармонию (f2=2w/2p),

при детектировании на частоте четвертой гармоники) ( угловое положение плоскости преимущественных колебаний a=0.5j4, где j4 — фаза сигнала четвертой гармоники. При высокой стабильности поляризации лазерного излучения измерения могут проводиться путем последовательной установки поляроида и четвертьволновой пластинки на оси пучка, замера интенсивности проходящего пучка и соответствующей обработки результатов аналогично обычным поляризационным измерениям.


ИЗМЕРЕНИЕ СПЕКТРАЛЬНЫХ И КОРРЕЛЯЦИОННЫХ ПАРАМЕТРОВ И ХАРАКТЕРИСТИК ЛАЗЕРНОГО ИЗЛУЧЕНИЯ

Данная глава посвящена измерению наиболее специфичных параметров и характеристик лазерного излучения, непосредственно или косвенно связанных с его когерентностью. Как известно, последняя характеризуется двумя основными параметрами — временной когерентностью, то есть длительностью Dt цуга излучения с постоянной во времени фазой (или длиной когерентности Dl=cЧDt), и степенью пространственной когерентности, определяющей степень корреляции (синфазности) излучения по поперечному сечению лазерного пучка. Естественно, что непосредственное измерение степени когерентности может осуществляться только интерференционными методами, достаточно сложными как для их понимания, так и для реализации; этому и посвящен последний параграф данной главы. Более доступны эксперименты по косвенной оценке временной когерентности путем измерения ширины линии лазерного излучения Dnизл=1/2pDt. В зависимости от абсолютного значения Dnизл такие измерения могут проводиться как в оптическом диапазоне (Dnизл >106 Гц), так и в радиофизическом (при меньших значениях Dnизл), что будет рассмотрено соответственно в 2.2 и 2.3. Предварительно целесообразно вкратце напомнить основные моменты по физике лазерной генерации, связанные с когерентностью излучения.

Влияние параметров лазера на когерентность его излучения

По определению лазер — это прибор, в котором происходит усиление (и, наиболее часто, генерация) оптического излучения за счет стимулированных переходов. Поэтому в идеальном случае лазерное излучение должно быть абсолютно когерентно, т.е. время когерентности Dt®Ґ и, соответственно, длина когерентности n®1, а степень пространственной когерентности n®1 (или к 100%). Такой ситуации соответствует излучение сверхстабильного одночастотного лазера бесконечно большой мощности. Естественно, что на практике это недостижимо. Поэтому целесообразно вкратце восстановить процесс генерации когерентного излучения в реальном лазере.

Генерация в лазере с линейным или кольцевым резонатором происходит в первом приближении на собственных (резонансных) частотах последнего, так как для них обеспечиваются наименьшие потери генерируемого излучения, т.е. максимальная (положительная) обратная связь. В оптическом резонаторе собственные резонансные частоты nmnq=Dnрез[q+(bmn/180°)], где Dnрез =c/2Lопт — частотный интервал между собственными продольными модами резонатора в линейном резонаторе (в кольцевом же Dnрез =c/Lопт); q — продольный индекс; bmn — фазовые искажения для bmn-й поперечной моды, определяемые геометрией резонатора.

К вторичным эффектам, оказывающим незначительное влияние на частоту генерации, относятся эффекты затягивания и отталкивания частот. Однако из-за высокой добротности (Q=Dn0.5/nmnq »106) оптического резонатора (т.е. малой по сравнению с nmnq ширины резонансного пика Dn0.5=сЧеa/4pLопт) отклонение частоты генерации от собственной резонансной частоты nmn крайне незначительно и может быть обнаружено только радиофизическими методами (см. 2.3).

Гораздо сильнее на частоту генерации лазера влияют параметры активной среды: центральная частота лазерного перехода n0=(Ев-Ен)/h (Ев, Ен — средняя энергия верхнего и нижнего рабочих уровней соответственно, h — постоянная Планка) и ширина спектральной линии Dn. При этом из бесконечного (главным образом, по продольному индексу q) набора собственных резонансных частот именно активная среда селектирует одно или несколько (в зависимости от характера уширения лазерного перехода) значений вблизи n0.

По этой причине длина волны генерации lген=с/nген почти всех лазеров (за исключением лазеров на растворах красителей и, в меньшей степени, полупроводниковых лазеров) с достаточной для подавляющего большинства практических случаев точностью однозначно определяется используемой активной средой. С другой стороны, прецизионное измерение длины волны лазерной генерации становится в настоящее время особенно актуальным, так как эталон длины (1м) с 1983 г. определен непосредственно через длину волны пяти газоразрядных лазеров, стабилизированных по частоте излучения соответствующей поглощающей ячейкой. Длина волны этих рекомендованных лазеров лежит в диапазоне от 0,515 мкм (Аг+/127I2) до 3,39 мкм (He-Ne/CH4) и воспроизводится с погрешностью от 1,3Ч10-9 (Аг+/127I2) до 1,3Ч10-10 (He-Ne/CH4). Наименьшую погрешность (6Ч10-10) воспроизведения длины волны (0.57629476027 мкм) в видимом диапазоне обеспечивает вторая гармоника He-Ne лазера, стабилизированного по частоте поглощающей ячейкой на парах 127I2; обе красные линии He-Ne лазера (0,6329 и 0,612 мкм) стабилизируются с заметно меньшей воспроизводимостью: 1.1Ч10-9 и 1Ч10-9 соответственно.

В силу вышеизложенного измерение спектральных характеристик лазерного излучения может быть разделено на три группы (по мере нарастания разрешающей способности проводимого анализа):

1. Измерение спектра излучения многомодовых лазеров непрерывного действия и пикосекундных лазеров; для этой цели вполне достаточно традиционных методов спектрометрии (в отдельных случаях — высокой разрешающей способности).

2. Прецизионное измерение длины волны или частоты генерации стабилизированных по частоте лазеров, для чего применяют интерферометры Фабри-Перо и радиофизические методы "переноса" частоты от цезиевого стандарта (9192631770 Гц) или водородного лазера (14204057518 Гц) в оптической диапазон (обычно He-Ne лазер с метановой ячейкой, nген=88376181,608 МГц).

3. Измерение ширины полосы генерации одночастотного лазера или разности частот генерации двух однотипных частотностабилизированных лазеров, что осуществляется с помощью радиофизического метода фотобиений (гетеродинный прием лазерного излучения).

Рассмотрим вкратце основные особенности технических средств для измерения длины волны — интерферометров и частоты — (фото)гетеродинов.

Интерферометры для измерения спектра лазерного излучения

Специалист-оптик может исследовать спектр лазерного излучения (с разрешением, обычно вполне достаточным для надежного различения соседних продольных мод), наблюдая (рис.2.1) структуру колец 7, возникающих при освещении обычного интерферометра Фабри-Перо 5 коллимированным с помощью телескопической системы 3 пучком исследуемого лазера 1. На рис.2.1 показан и ряд вспомогательных компонентов, обеспечивающих успешное функционирование данной схемы: невзаимный элемент 2 обеспечивает однонаправленное (только слева направо) прохождение лазерного излучения, узкополосный фильтр 4 пропускает только излучение, характерное для исследуемой лазерной генерации; наконец, объектив 6 формирует картину интерференционных колец на расположенном на конечном расстоянии экране, что удобно для наблюдения невооруженным глазом и фоторегистрации. Визуальное наблюдение интерференционных колец можно вести и через бинокль или другой наблюдательный прибор.


Рис.2.1. Анализ частотной структуры излучения лазера с помощью интерферометра Фабри-Перо

В данной схеме длина интерферометра не должна превышать lмакс=2Dnген/с, где Dnген — ширина полосы генерации исследуемого лазера. В первом приближении ширина полосы генерации (для большинства газовых лазеров) равна величине неоднородного уширения Dnнеод лазерного перехода активной среды. Во втором приближении необходим учет кратности превышения усиления над потерями Х; Dnген=DnнеодЧ. Потери интерферометра не должны превышать величины еaинт = еa+2tз = 4plинтЧDnрез /(3...10)С, где еa=2аз — остаточные потери (симметричного) интерферометра, а tз — коэффициент пропускания его зеркал; в этом случае с помощью интерферометра можно легко определить количество генерируемых лазером продольных мод, следующих с шагом Dnрез.

Для анализа частот генерации поперечных мод разрешение интерферометра следует существенно повысить, достигнуть чего можно либо уменьшая полные потери еaинт, либо увеличивая расстояние между пластинами интерферометра. Кроме того, при анализе спектра поперечных мод существенно усложняются вопросы согласования полей лазера и интерферометра и их взаимной юстировки.

Естественно, что непосредственное (визуальное) наблюдение спектра лазерного излучения приемлемо только для лазеров видимого диапазона. ЭОПы несколько расширяют этот диапазон в ультрафиолет (но не далее 0.2 мкм) и ближнюю ИК область (но не далее 1.1 мкм). С другой стороны, тяжело визуально определить соотношение мощностей отдельных мод по относительной яркости соответствующих интерференционных колец.

Поэтому в настоящее время при анализе спектрального состава лазерного излучения в основном используют (рис. 2.2) сканирующие интерферометры (5...7) с фотоэлектрическим приемником 10 и регистрацией спектра лазера 1 на экране осциллографа 11, горизонтальная развертка которого синхронизирована с линейным перемещением одного из зеркал (обычно - выходного) интерферометра с помощью пьезокерамики 8. Если размах (амплитуда) колебаний зеркала 7 превышает lген/2, то на экране осциллографа будет виден весь частотный диапазон интерферометра Dnинт=с/2lинт. Существенно, что в данном варианте разрешающая способность DnіDn0.5, определяется уже не только собственным разрешением интерферометра Dn0.5, но и размером диафрагмы 9 (перед фотоприемником), выделяющей малую часть нулевого порядка интерференционной картины (центрального кольца 7 на рис. 2.1). Узкополосный фильтр 4, как и в предыдущей схеме, уменьшает фоновую засветку.

Рис. 2.2. Анализ частотного спектра основной (ТЕМ00) моды лазера с помощью сканирующего интерферометра со сферическими зеркалами


Поскольку сканирование одного из зеркал интерферометра неизбежно приводит к его разъюстировке, то для обеспечения работоспособности сканирующего интерферометра обычно используют конфокальную геометрию (интерферометр Конна), а не плоские зеркала. В этом случае вопрос об отрицательном влиянии незначительных разъюстировок снимается, но ужесточаются требования к согласованию полей (собственных мод) исследуемого лазера и сканирующего интерферометра: вместо сравнительно простого (афокального) расширителя пучка телескопического типа требуется строго рассчитанная или, по крайней мере, точно установленная линза 3. В результате такого согласования устраняется перекачка энергии лазерного излучения в поперечные моды сканирующего интерферометра, частота которых при конфокальной геометрии, как известно, существенно отличается от частот основных (ТЕМ00) мод на Dnрез/2. По мере отхода от конфокальной конфигурации фазовые искажения bmn поперечных мод асимптотически уменьшаются до величин, существенно меньших 180° в интерферометре Фабри-Перо (с большим числом Френеля N=a2/lL).


Рис. 2.3. Развязка поляризационного типа: в верхней части рисунка — прямой ход луча, в нижней — обратный


Для обеспечения однонаправленного распространения исследуемого излучения от лазера к сканирующему интерферометру, что исключает влияние частотной характеристики интерферометра на исследуемый лазер, между лазером и согласующей оптикой (телескопом-расширителем для интерферометра Фабри-Перо и одиночной линзой 3 для интерферометра с вогнутым зеркалом) ставится "развязка" 2 — невзаимный элемент поляризационного типа (см. рис. 2.1, 2.2). Обычно он состоит из четвертьволновой пластинки l/4 (рис. 2.3), превращающей линейно поляризованное излучение ЛПверт исследуемого лазера в циркулярно поляризованный свет ЦП, и поляризационного элемента, установленного между лазером и этой пластинкой. Этот поляризационный элемент обычно представляет собой пленочный поляроид, а не поляризационную призму, так как он значительно дешевле, а обеспечиваемая им степень поляризации вполне достаточна, по крайней мере при измерении частотного спектра излучения многомодовых лазеров. Четвертьволновая пластинка в данном случае также может быть простейшего типа — из слюды, следует только помнить, что такой простейший вариант пластинки l/4 не обладает широкой спектральной областью из-за большой дисперсии показателей преломления n0 и ne слюды. В результате слюдяная пластинка l/4 может использоваться практически только для одной лазерной длины волны (в данном случае для 0.63; 3.39; 1.15; 0.49; 0.52 мкм и т.п.). Ахроматизированные пластинки из кристаллических материалов обеспечивают нормальное функционирование по крайней мере в пределах спектрального диапазона зеркал интерферометра (Dlі0.1l0), однако их стоимость и дефицитность существенно выше.

Функционирование такого простейшего невзаимного элемента достаточно элементарно: линейно поляризованное излучение ЛПверт исследуемого лазера без потерь проходит через поляроид, сориентированный соответствующим образом (выполняющий в прямом ходе пучка функцию поляризатора По), и пластинку l/4, превращается в циркулярно поляризованный свет ЦП, взаимодействующий с интерферометром. Отраженное им излучение (в случае сканирующего интерферометра оно переменно во времени) вновь проходит пластинку l/4, превращаясь опять в линейно поляризованное, плоскость поляризации ЛПгор которого, однако, ортогональна исходной, так как пластинка l/2 (l/4+l/4=l/2) приводит к повороту плоскости поляризации на 90°. Естественно, что поляроид, выполняющий при обратном ходе лучей роль анализатора Ан, задерживает отраженные от интерферометра пучки. Очевидно, что невзаимный элемент поляризационного типа нормально функционирует лишь в том случае, если интерферометр и согласующая оптика не изменяют состояния поляризации отраженных пучков.

Более эффективную развязку обеспечивают кольцевые (сканирующие) интерферометры, в которых отраженный пучок (рис.2.4) обычно (в трехзеркальном интерферометре) идет под углом 60°. Однако кольцевые сканирующие интерферометры (в том числе коммерческие) обладают определенной поляризационной анизотропией собственных мод, связанной в данном случае с поляризационной анизотропией зеркальных покрытий. Предпочтительнее использовать перпендикулярную ориентацию плоскостей поляризации пучка и кольцевого интерферометра.


Рис.2.4. Схема кольцевого сканирующего интерферометра: ПК — пьезокерамика, на которую подается пилообразное напряжение Uск(t)


Типичной геометрией кольцевого сканирующего интерферометра является почти плоскопараллельный резонатор, образованный одним вогнутым (R»1 м) и двумя плоскими зеркалами, расположенными в углах правильного треугольника со сторонами l1=l2=l3=0.1 м. Соотношение R/l»10 обеспечивает компромисс между допусками на разъюстировку интерферометра при сканировании одного из зеркал, точностью согласования оптических осей лазерного пучка и интерферометра, а также высокоэффективной селекцией в нем поперечных мод при реальных (поперечных) размерах лазерного пучка.

Оценим разрешающую способность интерферометров, понимая под этим полуширину (ширину на полувысоте) его резонансного пика Dn0.5Чеa/4pLопт для типичной длины Lопт=0.1 м. Очевидно, что в этом случае Dn0.5 определяется суммарными потерями еa, которые в основном (при точной юстировке) состоят из потерь в диэлектрических зеркалах; последние при использовании современной технологии обеспечивают еaзер»0.1%. В результате получим Dn0.5»0.1%. Такого разрешения вполне достаточно для надежного различения продольных (аксиальных) мод метрового лазера (Dnрез»150 МГц), а также для анализа спектра мод высших порядков в квазиконфокальном резонаторе и на малых числах Френеля (N»1) — в плоскопараллельном резонаторе. Однако такая разрешающая способность не достаточна при изучении спектра поперечных мод обычных лазеров с плоскопараллельными (и близкими к ним почти плоскопараллельными) резонаторами и в ряде других случаев.

Дальнейшего повышения разрешающей способности можно достичь, используя принципиально отличные от методов оптической спектрометрии радиофизические способы.

Измерение частоты лазерного излучения методом фотобиений

Данный метод, часто называемый методом фотогетеродинного приема оптического излучения, обладает гораздо большей частотой и разрешающей способностью, по крайней мере до долей герц, что и является его основным преимуществом перед интерференционными измерениями. С другой стороны, как всякий косвенный способ (в данном случае, как показано ниже, осуществляется перенос частоты лазерного излучения в область радио- и даже звуковых частот) метод фотобиений требует грамотной интерпретации получаемых результатов с учетом специфики преобразования информации.

Ограничимся рассмотрением простейшего аналитического случая — фотобиений двух когерентных излучений с частотами n1 и n2, описываемых амплитудами электрической составляющей электромагнитного поля и . Если два таких пучка направить на какой-либо фотоприемник, то в соответствии с законом Столетова его фототок i(t) будет прямо пропорционален интенсивности светового потока

Ввиду ограниченной полосы частот фотоприемника фототоки, вызываемые тремя последними составляющими суммарного потока (с частотами, соответственно, n1+n2, 2n1 и 2n2) не могут быть зарегистрированы; два первых слагаемых ( ) образуют постоянную составляющую, которая и регистрируется при обычной фотоэлектрической регистрации световых потоков. Наиболее информативным в интересующем нас аспекте является третье слагаемое , содержащее полную информацию о частотно-фазовых соотношениях обоих световых пучков.

Рассмотренная выше ситуация используется на практике только для анализа частотно-фазовых соотношений в пучках двух одночастотных лазеров (обычно стабилизированных по частоте) или излучения двухчастотных лазеров.

Ввиду весьма ограниченного распространения лазеров последнего типа сосредоточим внимание на применении метода фотобиений для анализа особенностей спектра излучения одночастотного лазера. Для этого необходим второй лазер — гетеродин, стабильность частоты n2 и амплитуды Е2 излучения которого существенно выше, чем исследуемого. При этом условии спектр фототока разностной частоты, наблюдаемый на экране стандартного низкочастотного радиоэлектронного спектроанализатора, прямо пропорционален спектру исследуемого лазера. Естественно, что аналогичный результат получится в случае обычной, а не фотогетеродинной регистрации исследуемого потока фотоприемником. При этом, однако, на исследуемый сигнал (продетектированный фотоприемником спектр исследуемого излучения) будут наложены низкочастотные (а потому очень большие) шумы самого фотоприемника и электронного тракта. Фотогетеродинирование переносит исследуемый сигнал в область разностной частоты (n1-n2), где электронные шумы значительно меньше, что и позволяет более точно анализировать исследуемое излучение. Нестабильность излучения гетеродинного лазера приводит к дополнительному (ложному) уширению исследуемого спектра из-за свертки со спектром гетеродина.

Таким образом, рабочий диапазон частот фотогетеродинного метода сверху ограничен электронным трактом (включая, разумеется, фотоприемник) и обычно не превышает нескольких сотен мегагерц, а снизу - нестабильностью частоты (и амплитуды) лазера-гетеродина, минимальная величина которой (за время анализа спектра) »102 Гц.

Предельные возможности гетеродинного метода были реализованы при исследовании нестабильности частоты генерации одночастотного эталона длины волны 3,39 мкм на He-Ne лазере, стабилизированном по пику Лэмба от внутренней поглощающей ячейки с метаном: в зависимости от физической природы отдельные составляющие нестабильности колебались в пределах 10...40 Гц. В результате этого рассматриваемый метод не позволяет непосредственно исследовать и измерить предельную ширину спектральной линии излучения одночастотного стабилизированного лазера, которая представляет как теоретический, так и существенный практический интерес.

Для прецизионного анализа спектра одночастотного лазерного излучения обычно используют две модификации фотогетеродинного метода. Простейшая из них — гомодинный прием — заключается в анализе фотобиений между всеми компонентами (друг с другом) в спектре излучения одночастотного лазера. Такой прием обладает двумя недостатками: результат наблюдается на нулевой (центральной) частоте, т.е. сильно зашумлен; кроме того, на экране спектроанализатора получается не сам спектр, а его автокорреляция, что необходимо учитывать при интерпретировании полученных результатов. Так, нормальное распределение (гауссоида) уширится в раз, а лоренцева линия — в 2 раза, правда, без изменения формы линии.


ративным, кроме того, он не дает информации о распределении поля вблизи максимума излучения и и не позволяет выявить неоднородности; неоднородности в распределении излучения. Для устранения этого недостатка применяют метод регистрации распределения плотности энергии (мощности) лазерного изучения в поперечном сечении пучка. Для этого в видимой области и ближнем ИК диапазоне спектра используют фотографирование пятна излучения на фотопленку или фотопластинку с последующей обработкой микрофотометрированием и численным интегрированием на ЭВМ. В случае мощных импульсных и непрерывных лазеров применяют нейтральные светофильтры для ослабления излучения. При грубых оценках достаточно мощных лазеров размер пятна определяют по размеру отверстия, прожигаемого пучком лазера в непрозрачной мишени (черная бумага, тонкие металлические пластины и т.п.). Более удобным способом измерения, распределения интенсивности в сфокусированном пятне является автокалибровочный способ (рис.1.11), который основан на разделении лазерного пучка на ряд пространственно подобных м и достаточно удаленных один от другого пучков различной интенсивности с помощью пластины L под установленной под углом к пучку лазера. Толстая пластина L ослабляет и многократно расщепляет лазерный пучок.




Рисунок 0.1 Схема автокалибровочного способа измерения расходимости излучения

Если коэффициент отражения обеих поверхностей равен r, то интенсивность In, пучка с номером n, выходящего из наклонной пластины L , можно записать в виде:

In=Ic(1-r)2Чr2(n-1) (1.18)
где IO — интенсивность пучка, падающего на пластину. Таким образом, на пленке P получается несколько изображений пятна с разной экспозицией, из которых после обработки денситограмм можно достаточно точно определить диаметр пятна на заданном уровне интенсивности.

Для более оперативного получения данных, а также для преобразования излучения в видимую область спектра используют ЭОПы, видиконы и диссекторы, которые позволяют наблюдать или фотографировать объекты в ближних ИК (до 1.5 мкм), видимых, УФ или рентгеновских лучах.

С появлением многоканальных мозаичных приемников излучения задача определения относительного распределения плотности энергии или мощности значительно упростилась, а скорость получения результатов измерений существенно повысилась. Параллельный принцип измерения многоканальных ПИП локальных плотностей мощности и энергии позволяет проводить анализ импульсного и нестабильного во времени в и пространстве непрерывного излучения с выдачей результатов непосредственно на экран дисплея ЭВМ или ЦПУ.

Большинство преобразователей имеют до 100 каналов измерения с размером одного элемента от 5х5 до 10х10 мм2. Матричные ПИП основаны на различных принципах действия (термоэлектрические калориметры, пироэлектрические и фотопроводниковые приборы) и могут перекрывать видимую и ИК области спектра l= 0.4…25 мкм).

Современные фотодиодные, фоторезистивные и фототранзисторные матрицы состоят из нескольких десятков тысяч элементов с шагом нескольких десятков микрометров и общей площадью до 15х15 мм2. Время опроса таких матриц составляет доли миллисекунд.

Автоматизированная математическая обработка информации с мозаичных приемников обеспечивает вычисление энергетической расходимости (не только относительно точки с максимальной интенсивностью, но и относительно центра тяжести пятна или геометрического центра); выделение изоуровней; обработку фокальных пятен неправильной формы; коррекцию искажений измерительного тракта, включая возможность индивидуальной коррекции неравномерности чувствительности отдельного канала; определение оси диаграммы направленности, ее дрейф в течение времени и т.д.

В то же время многоканальные мозаичные ПИП обладают все еще низкой разрешающей способностью (до 10 лин/мм), повышенной общей плотностью системы и стоимостью.

1.4. Измерение поляризации лазерного пучка

В силу специфики процесса генерации в лазерах (основанного на стимулированном испускании активной средой когерентных фотонов) получаемое таким путем излучение всегда должно обладать 100 %-ной элементарной (линейной или круговой) поляризацией. Вид последней определяется особенностями используемой (в лазере) активной среды — поляризацией ее спонтанного излучения, служащего "затравкой" при разгорании генерации, и величиной коэффициента усиления для элементарных поляризаций; существенное значение в лазерах с резонатором мыв т поляризационная анизотропия последнего, т.е. соотношение потерь для различных элементарных поляризаций. В подавляющем большинстве серийных лазеров генерируется только линейно поляризованное излучение, причем почти всегда плоскость поляризации однозначно определяется либо поляризацией спонтанного излучения активной среды (например, степень поляризации основной R1 линии в стержнях рубина с 90° ориентацией кристаллографической оси составляет 80%), либо брюстеровскими поверхностями (например, брюстеровскими окнами в газоразрядных кюветах, брюстеровскими торцами лазерных стержней, установленными под углом Брюстера модуляторами, затворами и т.п.). Лишь в лазерах на неодимовом стекле при отсутствии поляризационной анизотропии генерируется линейно поляризованное излучение, плоскость поляризации которого хаотически, через время порядка Dt/ время развития генерации, "перескакивает" после того, как "съедена" инверсная< населенность с соответствующей поляризацией.

С другой стороны, различные дефекты активной среды и особенности используемого оптического резонатора могут изменять состояние поляризации лазерного пучка, в результате чего в некоторых случаях необходимо его исследование; это характерно, например, при использовании поляризационной (главным образом, электрооптической) модуляции и в некоторых других случаях. Перечислим (в порядке нарастания "сложности") возможные "элементарные" состояния поляризации:

1. Линейная поляризация — характеризуется только положением плоскости поляризации — углом a с (произвольной) осью x , перпендикулярной направлению распространения света z;

2. Круговая поляризация — характеризуется только направлением вращения конца проекции вектора Е на плоскость xy (перпендикулярную направлению распространения z) — право- и левоцириулярно поляризованное излучение; отметим, что круговая поляризация может трактоваться как совокупность двух взаимно ортогональных линейно поляризованных лучков равной интенсивности, колебания в которых сдвинуты соответственно на ±l/4 (или на угол d=±p/2);

Э. Эллиптически поляризованный свет является наиболее общим случаем элементарной поляризации и определяется уже тремя параметрами: углом плоскости большой оси (преимущественного направления поляризации) с осью x, т.е. углом a, эллиптичностью b, характеризующей соотношение напряженности линейно (и ортогонально) поляризованного света меньшей интенсивности к большей, и направлением вращения (правое или левое, как для циркулярно поляризованного света); в другой трактовке эллиптически поляризованный свет есть совокупность циркулярно поляризованного излучения и (когерентного с одной из его составляющих) линейно поляризованной добавки, плоскость поляризации которой расположена под углом a .

Таким образом, все "элементарные" состояния поляризации могут быть получены из двух линейно поляризованных во взаимно перпендикулярных плоскостях излучений с амплитудами Аx и AY и разностью фаз d. Стоксом были введены четыре параметра

, , , , полностью определяющем состояние поляризации монохроматического пучка; прямо пропорциональный полной интенсивности поляризованного пучка, положение преимущественной (линейной) поляризации (положение большой оси а эллипса) a=0.5arctg(s2/s1), угол эллиптичности (при этом 0 соответствует правая поляризация, а (-p/2)Јb — левая) и сдвиг фаз d=dx-dy=arctg(s2/s3).

Хотя состояние поляризации любой волны, не содержащей неполяризованного света() можно представить точкой в трехкоординатном (декартовом) пространстве параметров Стокса S1, S2, S3, более наглядным является аналогичное представление на сфере Пуанкаре, где в полярной системе координат на сфере радиуса наносится точка Р1 с угловыми координатами ax и bz=(p/2)-2b. Тогда экватору соответствуют все возможные состояния линейно поляризованного света, северному полюсу — правая, а южному — левая циркулярная поляризация. При этом все северное полушарие соответствует правой эллиптической поляризации, а южное — левой. В случае не полностью поляризованного света соответствующая ему точка P лежит на продолжении радиуса OP1 на расстоянии , а для учета неполной поляризации вводится степень поляризации , равная отношению поляризованной интенсивности к полной, т.е. p=Iполяр/I.

Сферу Пуанкаре можно использовать и для качественного анализа изменения состояния поляризации излучения во времени. Так, например, свободной генерации лазера на неодимовом стекле (без анизотропных элементов) будет соответствовать хаотический перескок точки P1 вдоль экватора на угол порядка p/2 (на ортогональную линейную поляризацию) с характерным временем порядка времени разгорания генерации. Незначительные флуктуации двулучепреломления в лазере с активной средой, находящейся в сильном аксиальном поле (но резонатор которого не имеет преимущественной поляризации например, ионный аргоновый лазер с внутренними зеркалами), будут приводить к соответствующему движению две точки Ps1 и Ps2 в области северного и иного полюсов сферы Пуанкаре и т.п.

В то и.о. время для количественного анализа состояния поляризации удобнее использовать следующие параметры Стокса, которые сравнительно просто могут быть измерены непосредственно:

s0=I — полная интенсивность пучка;

s1=Ix-Iy разница интенсивности линейно поляризованных компонент (т.е. интенсивностей, пропускаемых высококачественным поляроидом или поляризационной призмой) для азимутальных углов 0° (x-компонента) и 90° (y-компонента);

s2=Ip/4-Ip/4 — разница интенсивностей при установке поляроида посередине между осями XY (Ip/4) и перпендикулярно биссектрисе угла xOy (I-p/4)

s3=Ig-Is — то же, что и для s1, s2; но для циркулярно поляризованного (соответственно по правому и левому кругу) света.

Таким образом, на первый взгляд, требуется иметь семь измерителей елей интенсивности, однако вполне достаточно четырех величин, например Ix, Iy, Ip/4 и In. При этом параметры Стокса (правда, в более сложной для обработки форме) могут быть автоматически вычислены по соответствующим формулам. Такой эллипсометр состоит из трех пар пластин, установленных под углом Брюстера и развернутых на угол 90° в каждой паре. В результате от первой пластины П1 отражается только составляющая Ix, от второй П2 — только Iy, от третьей П3 — только Ip/4 (так как вторая пара пластин развернута относительно первой на угол 45° ), а от пятой П5 — только In (так как перед третьей парой пластин стоит четвертьволновая пластина +l//4). Отражаемые четвертой П4 и шестой П6 пластинами пучки, пропорциональные I-p/4 и Is, не требуется для вычисления параметров Стокса, но сами пластины необходимы для обеспечения точности работы системы за счет четной симметрии каждого каскада пластин. Очевидно, что такой четырехканальный поляриметр может использоваться для анализа излучения как импульсных (его быстродействие определяется а основном используемыми фотоприемниками и может достигать 10-8 с), так и непрерывных лазеров.

В последнем случав можно применять поляриметры, работающие в режиме последовательного анализа отдельных поляризационных компонент лазерного пучка. Существенно, что в данном случав заметно повышает точность измерения (достижение точности основных величин — степени поляризации р, эллиптичности (а/b) угла преимущественной поляризации a в 1% не составляет труда) за счет снижения шумов при накоплении сигнала и синхронном детектировании. В качестве примера поляриметра данного типа сошлемся на схему модуляционного поляриметра. В нем используется двухканальный поляризационный анализатор последовательного действия, содержащий непрерывно вращающуюся (с угловой скоростью w) четвертьволновую пластинку (d=p/4) и призму Волластона, расщепляющую выходной лучок на две взаимно ортогональные поляризации с переменными во времени интенсивностями:

где q — угол, определяющий ориентацию анализатора — призмы Волластона, а — интенсивность линейно поляризованной составляющей. При попарной обработке обоих получаемых сигналов получим: на нулевой частоте (по постоянному току) s0=I1(0)+I2(0), при детектировании на частоте второй гармонию (f2=2w/2p),

при детектировании на частоте четвертой гармоники) ( угловое положение плоскости преимущественных колебаний a=0.5j4, где j4 — фаза сигнала четвертой гармоники. При высокой стабильности поляризации лазерного излучения измерения могут проводиться путем последовательной установки поляроида и четвертьволновой пластинки на оси пучка, замера интенсивности проходящего пучка и соответствующей обработки результатов аналогично обычным дополяризационным измерениям.


© 2012 Рефераты, курсовые и дипломные работы.