рефераты
Главная

Рефераты по рекламе

Рефераты по физике

Рефераты по философии

Рефераты по финансам

Рефераты по химии

Рефераты по хозяйственному праву

Рефераты по цифровым устройствам

Рефераты по экологическому праву

Рефераты по экономико-математическому моделированию

Рефераты по экономической географии

Рефераты по экономической теории

Рефераты по этике

Рефераты по юриспруденции

Рефераты по языковедению

Рефераты по юридическим наукам

Рефераты по истории

Рефераты по компьютерным наукам

Рефераты по медицинским наукам

Рефераты по финансовым наукам

Рефераты по управленческим наукам

Психология и педагогика

Промышленность производство

Биология и химия

Языкознание филология

Издательское дело и полиграфия

Рефераты по краеведению и этнографии

Рефераты по религии и мифологии

Рефераты по медицине

Рефераты по сексологии

Рефераты по информатике программированию

Краткое содержание произведений

Реферат: Кабинетная система в условиях разноуровневого обучения

Реферат: Кабинетная система в условиях разноуровневого обучения

ВВЕДЕНИЕ

Проблема оформления, оснащения и оборудования школьного кабинета физики всегда остается в поле зрения методистов и учителей. Несмотря на то, что в недалеком прошлом изданы методические рекомендации министерства просвещения, в которых представлены и строительные норы типового кабинета физики, и вопросы оснащения кабинетов мебелью, и вопросы оснащения кабинетов физики необходимым оборудованием и даже предлагается примерная планировка кабинета физики, время вносит свои коррективы. Вот и в настоящее время проблема внедрения новых педагогических технологий сталкивается с необходимостью некоторой корректировки взглядов на вопрос об оборудовании и оснащении кабинета физики.

С такой необходимостью сталкивается и проблема организации углубленного изучения физики на основе внутренней дифференциации. Суть этой проблемы состоит в том, что в условиях интенсификации процесса обучения кабинет физики в сегодняшнем его состоянии не удовлетворяет необходимым требованиям. В условиях сельской школы с малой наполняемостью классов необходимо создание нового типа кабинета физики, помогающего решить те задачи, которые ставятся в процессе реализации идеи разноуровневого обучения

Таким образом, объект исследования – кабинетная система обучения в России.

Предмет исследования – кабинет физики сельской школы в условиях разноуровневого обучения..

В дипломной работе рассматривается история становления кабинетной системы обучения в России с момента создания первого физического кабинета (60-70 годы восемнадцатого века) до настоящего времени, освещена эволюция взглядов методистов и учителей-новаторов на особенности оснащения, оборудования и оформления кабинета физики. При этом рассмотрены особенности оборудования кабинета физики сельской школы, вопросы оснащения рабочего места учителя физики и рабочего места ученика.

Особое внимание в работе уделено следующим вопросам:

оборудование рабочего места учителя и ученика в кабинете физики сельской школы в условиях углубленного изучения физики на основе внутренней дифференциации;

разработка «микролабораторий» по отдельным темам курса физики 9 класса;

разработка спецкурса «Оборудование школьного физического кабинета» для студентов педагогического вуза.

Вопрос об оборудовании рабочего места учителя и ученика рассматривался на основании того, что кабинет физики должен помочь учителю физики в организации разноуровневого обучения. При этом учитывался тот факт, что до того момента, когда на столе учителя и ученика на уроках физики долго еще не будет стоять компьютера, но имеющиеся в настоящее время в большинстве сельских школ технические средства обучения должны вносить свою лепту в решение вышеназванной проблемы.


ГЛАВА 1. СОВРЕМЕННЫЕ ПРЕДСТАВЛЕНИЯ ОБ ОБОРУДОВАНИИ И ОСНАЩЕНИИ КАБИНЕТА ФИЗИКИ СРЕДНЕЙ ШКОЛЫ.


  1. История становления кабинетной системы в России.

Нет необходимости подробно расписывать достоинства кабинетной системы обучения. Достаточно просто перечислить основные из них: сама атмосфера кабинета, его внешний вид, оформление уже подготавливают учащихся к восприятию материала; наличие в кабинете необходимого демонстрационного и лабораторного оборудования, наглядных пособий позволяют учителю более качественно и эффектино подготавливать и проводить урок. Однако система образования в нашей стране прошла сложный период развития, прежде чем была разработана и создана данная система.

Кабинетная система обучения в нашей стране прошла длительный путь становления от создания кабинетов для преподавания отдельных предметов до создания в каждой школе кабинетов по основным школьным предметам. Создание кабинетной системы во многом определило успехи отечественного образования. Какой же путь прошло становление этой системы и кто стоял у истоков ее создания? Рассмотрим это на примере кабинета физики.

Первый кабинет физики в России был создан XVIII веке. Именно 60—70-х гг. этого века в России все острее стало чувствоваться отсутствие подготовлен­ных специалистов. Было ясно, что для решения проблемы подготовки квалифицированных кадров недостаточно имевшихся учебных заведений закрытого типа, нужна широкая сеть государственных школ.

В 1881 году была создана Комиссия народных училищ, перед которой были поставлены конкретные задачи: выработать план по организации народных училищ в России; подготовить учи­телей; составить и напечатать учебные посо­бия; открыть народные училища в стране, и, прежде всего, в Петербурге.

21 сентября 1782 г. Комиссия представила «План к установлению народных училищ в Российской империи», согласно которому предполагалось создать в стране сеть малых, средних и главных народных училищ. Нужны были подготовленные учительские кадры, и было решено «открыть в Петербурге Учитель­скую семинарию, чтобы иметь всегда нарочи­тое число учителей в готовности, в коих со­вершенный недостаток» Она была торже­ственно открыта 13 декабря 1783 г. К препо­даванию в Учительской семинарии были привлечены многие талантливые русские уче­ные, в том числе В. Ф. Зуев (впоследствии академик), А. М. Теряев (в будущем профес­сор минералогии и ботаники Педагогического института в Петербурге), И. Ф. Яковкин (в дальнейшем профессор истории, ректор Ка­занского университета), Т. Ф. Осиповский и Г. П. Успенский (профессора Харьковского университета). Одним из первых среди них был Михаил Евсеевич Головин. В протоколах заседаний Комиссии говорилось: «...для пре­подавания арифметики, геометрии, механики и физики назначила Комиссия... оказавшего к тому желание свое Академии наук адъюнкта Михаиле Головина с жалованием 600 руб. в год, квартирою, дровами и свечами» .

М

'Компас латунный, вмонтированный в коробку с крючками для подвеса

ихаил Евсеевич Головин — родной племян­ник М. В. Ломоносова (сын его младшей сест­ры Марии Васильевны), родился в 1756 г. в Матигорах Архангельской губернии. В 1765 г. Ломоносов взял племянника в Петербург, и тот стал учиться сначала в Академической гимназии, а затем в университете, где изучая математику под руководством знаменитого Леонарда Эйлера, став позже одним из его ближайших помощников (перевел

Рис.1

Рис. 2

на русский язык работу «Полное умозрение строения и вождения кораблей, сочиненное в пользу уча­щихся навигации Леонардом Эйлером». В 1776 г. М. Е. Головин получил звание адъю

нк­та Академии наук по кафедре экспериментальной физики, однако вскоре оставил Ака­демию и посвятил себя педагогической дея­тельности. Он стал преподавать физику в Учительской семинарии, а также в Воспитатель­ном обществе благородных девиц (Смольный институт) и Пажеском корпусе. В 80-е гг. он активно переводил и составлял учебники для народных училищ, которые позже неод­нократно переиздавались, и в течение 30—40 лет были основными пособиями по физи­ко-математическим дисциплинам в русской школе.

Вслед за М.В.Ломоносовым М.Е.Головин уделял значительное внимание творческому развитию новейших дидактических идей XVIII в.: связи науки с жизнью, сознательно­му усвоению материала, самостоятельной ра­боте учащихся, доступности преподавания и т.д. В предисловии к своему «Краткому ру­ководству к физике» он писал: «Учитель дол­жен наипаче стараться, чтобы сию науку сделать для учащихся приятнее, он должен де­лать все то, что служит к лучшему и легчай­шему преподаваемых предметов уразуме­нию».

М. Е. Головин был сторонником наглядного обучения. Его учебники содержали большое число таблиц, схем, рисунков.

Хорошо понимая, что «потребно читанное объяснить и утверждать опытами...», М. Е. Го­ловин развил бурную деятельность по созда­нию первого в России физического школьно­го кабинета и предложил организовать такие кабинеты при всех училищах. Впервые с этой мыслью он выступил на заседании Комиссии 19 января 1784 г., представив список «орудий необходимо нужных при преподавании нас­тавления в геометрии, механике, физике». В результате было решено создать при Учительской семинарии классы математический и физический, а для них «заготовление инстру­ментов и машин... возложить на попечение Головина».

Необходимое оборудование для создавае­мого физического кабинета закупалось у ча­стных лиц, заказывалось за границей, изготав­ливалось на месте. Так, 28 октября 1785 г. лейб-медик К. ф. Крузе сообщил, что «прода­ется весьма изрядная електрическая машина... которая могла бы служить с пользой». После осмотра ее М. Е. Головиным она была куп­лена за 250 руб. В июне 1788 г. были выпи­саны из Вены для преподавания правил граж­данской архитектуры и механики необходи­мые чертежи, модели и машины, а 26 февраля 1789 г. по этому заказу было получено 20 ящиков, в которых находились «геометри­ческие и архитектурные тела и разные подел­ки механических машин». В том же году ка­бинет пополнился подзорной трубой, компа­сом, «математическим инструментом» и маг­нитом. Фотографии некоторых приборов из всего перечня оборудования первого кабинета представлены в этом параграфе.

Несмотря на то что, к концу XXIII в. Комис­сия народных училищ заметно уменьшила свою деятельность, поскольку считалось, что 8 основном стоявшие перед ней задачи вы­полнены, она продолжала постоянно забо­титься о наглядных пособиях по физике. 8 июля 1901 г. она разрешила П. И. Гиляровскому заказать «двум машинистам» новую электрическую машину и водяную ванну для добывания газов и для производства опытов с ними. (Заметим, что заказ был сделан в Рос­сии. В этом нет ничего удивительного, ведь уже в 1773 г. электрическая машина была сконструирована и построена И. П. Кулибиным в мастерских Петербургской Академии наук.)

20 мая 1903 г. Учительскую семинарию пре­образовали в Учительскую гимназию. В связи с этим была составлена «опись математиче­ским и физическим инструментам». По ней можно судить о том, что в физическом каби­нете этого учебного заведения наряду с ши­роко распространенными в то время» физиче­скими приборами (астролябиями, барометрами, термометрами, микроскопами, магнитами, камерой обскурой, зрительной трубой, лей­денскими банками и т.д.) было и уникальное оборудование (пирометр, электрометры и др.).

В физическом кабинете имелись также со­суд для сжатия воздуха, прибор для доказа­тельства «незагораемости тел в безвоздушном месте», жестяной «сосудец для добывания го­рючего газа», шесть баночек «для собирания газов», две баночки с хрустальными воронка­ми «для добывания газов через кислоты». Такое оборудование свидетельствует о том, что М. Е. Головин был сторонником теории кислородного горения. Это говорит также о том, что на приборах, имеющихся в этом кабинете физики могли быть поставлены многие фундаментальные эксперименты. Не каждый из современных кабинетов физики имеет такую возможность.

Таким образом, можно сказать, что физический ка­бинет Учительской семинарии, созданный М. Е. Головиным и его учениками, был обору­дован всеми самыми необходимыми и новей­шими по тому времени приборами. Подобный кабинет с чисто педагогическими целями в учебном заведении среднего звена был соз­дан в России впервые, физический кабинет Учительской семинарии — это интереснейшая страница в истории развития физики и физи­ческого образования в России XVIII в.

В дальнейшем глубокие социальные потрясения, происходившие в Росси с начала XX века практически до его середины не могли не сказаться на реализацию идеи создания сети физических кабинетов в школах, как об этом говорилось в решениях Комиссии народных училищ. Только в 50-х годах нашего столетия стали возрождаться идеи прошлого. Это сначала были одиночные изыскания учителей-новаторов, стоявших на позициях кабинетной системы обучения, затем идея становления кабинетной системы обучения в стране стала государственной политикой.

Можно сказать, что 80-е годы XX века были золотыми в развитии кабинетной системы обучения. Именно в эти годы Министерством просвещения, Министерством здравоохранения нашей страны были выработаны и приняты ряд постановлений и методических рекомендаций разного плана, основной целью которых было создание предпосылок для внедрения в практику образования типовых учебных кабинетов физики. Среди них: «Строительные нормы и правила. Общеобразовательные школы и школы-интернаты», «Типовые перечни учебно-наглядных пособий и учебного оборудования для общеобразовательных школ», «Об использовании школь­ной мебели» и др.

Например, согласно строительным нормам типовой кабинет физики в школах с 8—20 классами состоит из двух помещений: класса-лаборатории площадью 66 м2 и лаборантской 16 м2 . В школах на 30—40 классов в состав кабинета физики входят два клас­са-лаборатории площадью по 66 м2 разделенные лаборантской 32 м2. В школах на 50 классов общая площадь кабинета утра­ивается. Можно сказать, что при таких норма были все предпосылки для успешного решения задач обучения и развития учащихся. Более подробно о планировке типового кабинета физики будет сказано далее.

Следует отметить тот факт, что именно в эти годы началось планомерное оснащение кабинетов физики необходимым оборудованием для проведения фронтальных лабораторных работ, демонстрационных опытов, физического практикума; необходимыми наглядными пособиями. Приведенный ниже перечень такого оборудования в разделе Приборы и принадлежности общего назначения показывает, насколько глобальным был проект.

I. Приборы и принадлежности общего назначения

1. Скамья оптическая (или аппарат ФОС-115).

2. Выпрямитель переменного тока (30 В, 10 А).

3. Выпрямитель ВУП-2.

4. Вакуум-насос Комовского.

5. Вакуум-насос с электроприводом.

6. Громкоговоритель электродинамический,

7. Комплект электроснабжения КЭФ.

8. Комплект проводов соединительных,

9. Лазер газовый учебный с принадлежностя­ми.

10. Машина электрофорная.

11. Осветитель для теневого проецирования.

12. Преобразователь тока "Разряд-1" (или катушка Румкорфа).

13. Прибор для получения газов (полуавтома­тический).

14.Источник питания с регулируемым посто­янным напряжением (НОВ, 2 А).

15. Машина центробежная с принадлежностя­ми.

16. Тарелка к вакуум-насосу.

17. Осциллограф электронный с коммутато­ром.

18. Счетчик-секундомер цифровой с датчика­ми.

19. Усилители низкой частоты (УНЧ-5).

20. Столики подъемные.

21. Экран настольный.

22. Штатив универсальный.

23. Набор из четырех гирь-грузов.

24. Трансформатор универсальный.

25. Ящики-подставки.

26. Микрофон электродинамический.

27. Электродвигатель универсальный с при­надлежностями.

II. Приборы демонстрационные

1.Измерительные приборы и Принадлежности

1. Амперметр с гальванометром демонстраци­онный.

2. Вольтметр с гальванометром демонстраци­онный.

3. Весы настольные с открытым механизмом.

4. Весы технические демонстрационные.

5. Весы неравноплечие с принадлежностями.

6. Динамометры.

7. Манометр жидкостной.

8. Мановакуумметр.

9. Микроманометр с трубкой Пито.

10. Наборы тел равного объема и равной массы.

II. Ваттметр демонстрационный.

12.Счетчик электрической энергии.

13.Генератор звуковой частоты.

14.Гигрометр Ламбрехта.

15.Гигрометр волосяной.

16.Психрометр Августа.

17.Грузы наборные на 1 и 2 кг.

18.Термометр демонстрационный жидкостный

19. Термометр электрический

20. Линейка масштабная демонстрационная

21. Измеритель малых перемещений

22. Целиндр измерительных

23. Стробоскоп электронный

24. Часы песочные

25. Гальванометр зеркальный М 1032


В приложении указан весь перечень оборудования, при этом в него включены и последние разработки и приборы, неуказанные в прежнем перечне.

Большое внимание обращалось и обращается наличию средств наглядности в кабинете. В том же перечне подробно указывается название всех таблиц, диафильмов, кинофильмов и диапозитивов. Например, в современном кабинете физики должны быть в наличие такие средства наглядности:

IV. Печатные пособия

1. Портреты выдающихся физиков.

2. Таблица "Международная система единиц".

3. Таблица "Шкала электромагнитных волн".

4. Таблица "Периодическая система химиче­ских элементов Д.И.Менделеева".

Серия таблиц: "Механика", "Молекулярная физика", "Электродинамика", "Колебания и волны", "Оптика", "Атомная физика".


V. Экранные пособия Диапозитивы

1. Взаимодействие тел.

2. Давление твердых тел, жидкостей и газов.

3. Законы сохранения.

4. Механические колебания и волны.

5. Основы динамики.

6. Основы кинематики.

7. Первоначальные сведения о строении веще­ства.

8. Работа и мощность. Энергия.

9. Световые явления.

10. Тепловые явления.

11. Электрические явления.

12. Электромагнитные явления.


Следует сказать, что практически все из перечисленных выше приборов (и даже более того, все приборы из полного перечня оборудования по всем темам и разделам школьного курса физики) и наглядных пособий в свое время поступили в каждую школу городов и районов. Именно на эти приборы, полученные школами Росси в 70-80 годы нашего века, и приходится опираться в своей работе каждому учителю, так как отсутствие в настоящее время должного финансирования приводит к тому, что в школу уже ничего нового (да и старого) не поступает.

Поэтому сейчас опять наступило время, когда совершенствование кабинета физики ложится на самого учителя и ждать большой помощи от государства ему ждать не приходится. Все это осложняется тем, что современные технологии обучения требуют нового подхода к планированию и оснащению кабинета физики. В рамках данной дипломной работы мы рассмотрим проблему оборудования кабинета физики в условиях разноуровневого обучения.

Для этого вначале рассмотрим, какая ситуация сложилась в представлениях о кабинете физики к настоящему времени и какие предпосылки проведения некоторых изменений в сложившейся системе.


2. Особенности оснащения рабочего места учителя в современном кабинете физики


Прежде чем говорить об особенностях рабочего места учителя в кабинете физики, рассмотрим основные вопросы, касающиеся оснащение кабинетов мебелью, планировки кабинетов физики.

Оснащение кабинетов мебелью производится в соответствии с методическими рекомендациями «Об использовании школь­ной мебели», утвер­жденными Минпросом СССР и Минздравом СССР № 2177—80. Планировка каби­нета физики согласно этим рекомендациям с одним классом-лаборато­рией показана на рисунке 3. В классе-лабора­тории устанавливают 20 двухместных ученических столов со стульями. Столы размещают в три ряда: в крайних—по 7, а в сред­нем—6 столов. В конце среднего ряда предполагалось расположить передвижной шкаф-подставку 1 для проекци­онной аппаратуры. У задней стенки класса-лаборатории ставят пять одинаковых шкафов.


Рис. 3. Примерная планировка кабинета физики с одним классом-лаборато­рией


В одном из них хранится учебное оборудование по астрономии, в двух—оборудование для фрон­тальных лабораторных занятий, а в осталь


ных—оборудование для лабораторных работ физического практикума. Над шкафа­ми на стене можно по­весить таблицу «Шкала

В одном из них хранится учебное оборудование по астрономии, в двух—оборудование для фрон­тальных лабораторных занятий, а в остальных—оборудование для лабораторных работ физического практикума. Над шкафа­ми на стене можно по­весить таблицу «Шкала электромагнит­ных волн».

Переднюю часть класса занимает подиум размером прибли­зительно 1,7х3,8 м и высотой 15—20 см, на котором сосредо­точено рабочее место учителя. На подиуме симметрично про­дольной оси класса устанавливают демонстрационный стол 1, С одной стороны стола на специальной тумбе 3 закрепляют ра­ковину со сливом и во­допроводным краном, а с другой—ста­вят стол учителя 4. Стол несколько выдвигают вперед и уста­навливают под некоторым углом к демонстрационному столу. При та­ком расположении стола обзор класса и классной доски для учителя—наилучший. На рабочем столе учителя может быть оборудован пульт управления освещением, затемнением и проекционной аппаратурой.

На переднюю стенку класса подвешивают классную доску, а над ней—проекционный экран, угол наклона которого мож­но менять примерно от 45 до 90° относи­тельно потолка. По обе стороны от экрана над доской закрепляют звуковые колон­ки или динамики для киноаппарата.

Под доской можно хранить таблицы и панель с чертежны­ми инструментами.

На стене за рабочим столом учителя закрепляют специаль­ный пульт 5. На нем смонтированы выключатели с автомати­ческими предохранителями, для подачи электропитания к де­монстрационному столу и лабораторным столам учащихся.

На стене с оконными проемами монтируют механизм затем­нения и подвеши­вают шторы. На противоположной стене раз­мещают стенды с различными смен­ными материалами, панель с метеорологическими приборами и таблицу «Междуна­родная система единиц—СИ».

Каковы же особенности размещения мебели в кабинете?

1. Демонстрационный стол устанавливают на подиуме высо­той 0.1—0,2 м на расстоянии не менее 1 м от классной доски.

2. Расстояние между передним краем подиума и первыми ученическими столами должно быть не менее 0,8 м.

3. Между рядами столов и стенами класса-лаборатории соблюдают подаются следующие расстояния:

в учебных помещениях обычной прямоугольной конфигурации от наружной стены до первого ряда столов —не менее 0,5м; от внутренней стены до третьего ряда столов — не менее 0,5 м; от задней стены (шкафов) до столов—не менее 0,65 м; от клас­сной доски до первых столов—не менее 2,5 м; между рядами двухместных столов—не менее 0,6 м;

— в учебных помещениях квадратной и поперечной конфигу­рации при расстановке мебели в четыре ряда расстояния между рядами столов, стенами помещения сохраняются; расстояние от классной доски до первых столов должно быть не менее 2,5 м, что при длине доски 3 м обеспечивает для школьников, сидящих за первыми столами в первом и четвертом рядах, «угол рассмотре­ния» не меньший 30°.

4. Рабочие места за первыми и вторыми столами в любом ря­ду кабинета отводятся школьникам со значительным снижением остроты слуха (разговорная речь воспринимается от 2 до 4 м). Школьникам с пониженной остротой зрения отводятся рабочие места в ряду у окна за первыми столами, где освещенность соз­дается естественным светом. При хорошей коррекции зрения оч­ками школьники могут сидеть в любом ряду.

Вопросам оборудования школьного физического кабинета по­священа обширная литература. И это не случайно. Наука о простей­ших и вместе с тем наиболее общих закономерностях явлений при­роды становится доступной пониманию учащихся лишь в том случае, когда преподавание физики ведется с максимальным использованием средств наглядности, и в первую очередь демонстрационного экспе­римента. Рис. 4

Но использование демонстрационного эксперимента, в свою оче­редь. требует создания специальных условий: а) для вычленения изучаемых явлений из окружающей природы: б) для наблюдения учащимися явлений и закономерностей; в) труда учителя по подго­товке и постановке физических опытов. Достаточно вспомнить, что масса ротационного вакуум-насоса составляет 25 кг, вакуум-насоса Комовского— 14,5 кг, школьного регулятора напряжения — 12 кг и т. д. Только перемещение этих приборов из подсобного помещения на демонстрационный стол требует значительных усилий. И хотя масса большинства других приборов не столь велика, тем не менее есть повод задуматься над возможными путями облегчения труда учителя физики. Но в методической литературе вопросам оборудова­ния рабочего места учителя в кабинете

Рис. 5

физики уделено мало вни­мания. Не повторяя описаний хорошо зарекомендовавших себя эле­ментов оборудования школьного физического кабинета, мы остано­вимся лишь на том новом, что мало нашло отражения в литера­туре

Важная часть оборудования рабочего места учителя – пульт управления техническими средствами обучения. Рассмотренные мнения по этому вопросу позволили определить такие основные моменты:

1. Пульт управления техническими средствами обучения должен быть выполнен в виде отдельного блока, который так же, как и блок электроснаб­жения, размещен в нише демонстрационного стола. Поворачива­ясь на шарнире, пульт выдвигается из демонстрационного стола в рабочее положение так, что оказывается в наиболее удобной для учителя части его рабочего места. Так же как и блок электроснаб­жения, пульт управления техническими средствами в нерабочее время может быть заперт на ключ.

2. Напряжение питания подается на все технические средства, управляемые с пульта, через отдельный выключатель, расположен­ный на щите в подсобном помещении физического кабинета.

3. На пульт управления выведено включение диапроектора для демонстрации слайдов и диапозитивов, проектора для демонстрации диафильмов (ЛЭТИ), магнитофона, кинопроекционного аппарата, телевизоров, видеомагнитофона, управление освещением кабинета и включение подсвета демонстрационного стола.

4. Некоторые из разработчиков предлагают установить

Рис. 6

на пульте управления ТСО электронные часы минутного отсчета времени. Наличие подобных часов позволяет ра­ционально спланировать время урока и выдержать намеченный график. Часы могут включаться для отсчета минут или по общему сигналу начала урока (звонку), или отдельной кнопкой начала отсчета. Та же кнопка сбрасывает показания часов. Индикатор часов цифровой. Непосредственно в помещении аудиторной части кабинета физики размещены лишь телевизоры и кодоскоп (в нише демонстрационного стола). Все остальные аппараты размещены в подсобном помещении, и управление ими осуществляется дистан­ционно. С этой целью для оснащения кабинета выбраны аппараты, имеющие дистанционное управление. Кнопки устройств дистанционного управления вынесены на общий пульт и расположены ря­дом с включателем соответствующего устройства. Связь пульта

5. Управление аппаратами в подсобном помещении осуществляется по многожильному кабелю, проложенному под полом. Таким обра­зом, вся дорогостоящая аппаратура (видеомагнитофон, магнито­фон, проекционная аппаратура, компьютер и т.д.) надежно за­щищена от неосторожного обращения.

6. Телевизор должен быть размещен так, что с любого ученического места обеспечивается наилучшее восприятие изображения с экрана. Каби­нет в идеале должен быть оснащен телевизорами цветного изображения с размером экрана 61 см по диагонали.

Важно отметить, что телевизоры используются не только как телевизионные прием­ники для приема телевизионных программ с, общей антенны, но и как мониторы для работы с видеомагнитофоном и передающей теле­визионной камерой (гнездо для включения камеры размещено на панели «Воздух» в ее нижней части) и как дисплеи персонального компьютера (гнездо для включения пульта компьютера размещено в нижней части панели «Воздух»).

6. Согласно условиям эксплуатации кодоскоп должен находиться в непосредственной близости от рабочего места учителя, но в то же время этот проекционный аппарат должен быть надежно защищен от неосторожного обращения во время хранения. Удовлетворяет этим требованиям следующее решение. Кодоскоп хранится в нише демонстрационного стола, закрываемой дверцей на ключ. Ниша расположена в торце стола с левой стороны от учителя. Кодоскоп прикреплен на шарнирах к дверце так, что открытая дверца ниши одновременно служит опорой кодоскопа в рабочем состоянии. При таком размещении кодоскоп оказывается слишком близко от экрана. Для того чтобы получить достаточно крупное изо­бражение, на объектив кодоскопа крепится насадка, предложенная Н. Л. Бронниковым и А. Н. Миллером (см.: Физика в школе.— 1980.—№ 1.—С. 56). Корпус насадки вытачивается на токарном станке из любого материала (металл, пластмасса, сухое дерево) по размерам, указанным на рисунке. В насадке используется двояковыпуклая линза с фокусным расстоянием 403 мм из школьного набора линз и зеркал. Стойка объективодержателя укорачивается на 120 мм.

Насадка позволяет получать достаточно крупное изображение « на экране с позитивов размером 13Х 18 см. Например, на полиэтиле­новой пленке можно печатать текст на пишущей машинке. При расстоянии 2—2,5 м от кодоскопа, закрепленного на дверце, до экрана изображение получается настолько крупным, что читается с расстоя­ния 9—10 м. При подготовке к хранению кодоскоп опрокидывается на шарнирах и повисает на внутренней поверхности дверцы. При повороте дверцы кодоскоп оказывается в нише стола. Дверца запирается на ключ.

Некоторые учителя и методисты предлагают изготовить вспомогательное оснащение демонстрационного стола. Чаще всего говорится о таких дополнениях:

1. В полости демонстрационного стола оставлена открытая (со стороны учителя) резервная ниша шириной 400 мм для временного размещения подготовленных к уроку отдельных приспособлений (например, настольных черно-белых экранов фона). В этой же нише имеется гнездо для постоянного хранения стержней универсальных 21 физических штативов. На рисунке хорошо видно это гнездо со стержнями.

2. Выдвижной ящик предназначен для хранения деталей универсального физического штатива, выключателей и другого лабораторно-вспомогательного оборудования.


Рис. 7

3. Из торца демонстрационного стола может быть выдвинут стол учителя. Выдвижной стол учителя размещается в полости демонстрационного стола между пультом управления элект­ропитанием ученических столов и нишей кодоскопа.

4. На вертикальной облицовке демонстрационного стола около его левого угла (по пути к двери во вспомогательное помещение) помещены две сигнальные лампы. Лампы сигнализируют о том, что пульт электроснабжения демонстрационного стола и пульт управ­ления техническими средствами обучения находятся под напряже­нием, Рядом установлена кнопка аварийного выключения всего си­лового электропитания физического кабинета. Тем самым снижается вероятность оставить кабинет с включенным электроснабжением.

5. Металлический каркас демонстрационного стола заземлен. Рядом с блоком электроснабжения установлен зажим заземления, позволяющий быстро и удобно заземлять те демонстрационные при­боры, которые по условиям эксплуатации нуждаются в заземлении.

Немаловажную функцию в работе кабинета имеет и электроснабжение кабинета и рабочего стола учителя, рабочего места ученика.

Исходя из сложившейся в последнее время ситуации, оптимален следующий вариант электроснаб­жения кабинета физики, соответствующий требованиям указанного выше ГОСТа:

1. Все переносные демонстрационные и лабораторные электрические приборы выполняются заводами-изготовителями по классу II с напряжением питания 220 В и снабжаются несъемными шнурами с быто­выми двухконтактными вилками;

2. На демонстрационном столе и столах учащихся устанавливают двухконтактные одинаковые бытовые штепсельные розет­ки;

3. Взамен электрораспределительных щитов ЩЭ-59, КЭФ-10 и КЭК на стене кабинета физики устанавливают простей­ший пульт управления электроснабжением (электрораспределительный щит), со­держащий общий выключатель сети с предохранителями, встроенный УЗОШ, выключатели одной линии демонстраци­онного стола и трех линий рядов учени­ческих столов (каждая линия снабжается своим предохранителем и сигнальной лам­пой).

В предложенном варианте основным средством защиты от поражения электри­ческим током служит двойная или усилен­ная изоляция прибора, выполненного по классу II. УЗОШ играет роль дополни­тельного средства защиты.

В настоящее время в Институте средств обучения РАО составлены исход­ные требования к разработке школьного электрораспределительного щита с целью его серийного производства промышлен­ными предприятиями.

Простота конструкции щита позволяет изготавливать его в школах (если такая возможность имеется). Для этого необхо­димо приобрести УЗОШ и набор автома­тических выключателей. По конструкции щит может быть выполнен в виде коробки, внутри которой размещены общий выклю­чатель сети, устройство защитного отклю­чения, автоматические выключатели и клеммы одной линии демонстрационного стола и трех линий рядов ученических столов, предохранители и индикаторные фонари. Ручки выключателей и колпачки фонарей выводятся наружу. Щит питается от сети переменного тока напряжением 220 В и рассчитан на общую мощность подключенных к нему потребителей не более 2,2 кВт.

Промышленное производство щита ЩЭШ не исключает параллельного про­изводства комплекта КЭФ-10 и его при­менения в школах.

Школы могут приобретать по выбору КЭФ или ЩЭШ в зависимости от выбран­ного профиля и уровня обучения, выбора помещения и способа организации прак­тических занятий учащихся, а также Дру­гих причин. При любом напряжении элект­рического тока (42 или 220 В) в розетках ученических столов учащиеся будут вы­полнять практические работы при напря­жении не более 12 В, используя индиви­дуальные выпрямители (источники пита­ния, отвечающие требованиям ГОСТа 28139-89).

Важное достоинство именно такого щита состоит в том, что учащиеся при разноуровневом обучении могут выполнять не только опыты, предусмотренные программой, но и опыты, ранее проводившиеся как демонстрационные.


3. Дополнительные усовершенствования оборудования кабинета физики.

В данном параграфе рассмотрим вопросы дополнительного усовершенствования основных элементов оборудования кабинета физики. Эти вопросы раскрываются на основе анализа многих предложений, описанных в методической литературе.

Не секрет, что многих учителей не удовлетворяет конструкционные особенности меловых досок, выпускаемых промышленностью для средних школ. Нам представляется, что описанные ниже предложения по конструкции меловой доски являются интересными и реализуемыми [ ]. При этом она удачно вписывается в конструкции описанной ранее разделительной стенки

Меловая доска изготавливается из витринного стекла толщиной 8 мм, вставленного в рамку из стального уголка, и закрепляется на горизонтальных перемычках второй и третьей рамок каркаса разде­лительной стенки.

Поверхность стекла матирована. Есть несколько способов сде­лать поверхность стекла матовой. Привлекает кажущейся простотой химический способ травления поверхности стекла плавиковой кис­лотой. На этом способе мы не будем останавливаться не только по­тому, что его применение требует соблюдения правил, безопасного труда, но и потому, что при химическом травлении образуется настолько мелкое зерно неровностей, что очень скоро эти мелкие не­ровности забиваются мелом (сначала), а потом сошлифовываются.

В этом случае мел перестает оставлять след на такой почти гладкой поверхности. Лучший результат дает обработка стекла пескоструйным аппаратом. Но возможно и ручное матирование поверхности стекла. Так как этот способ вполне доступен в школьных условиях, то остановимся на нем несколько подробнее.


Рис. 8

Удобно матировать поверхность стекла, когда стекло расположе­но горизонтально. Для работы используется просеянный наждачный порошок. На это обстоятельство необходимо обратить внимание. Если использовать непросеянный наждачный порошок, то на по­верхности стекла, появятся глубокие царапины.

Просеянный наждачный порошок насыпается ровным слоем на участок увлажненного стекла, а затем сверху накладывается еще один небольшой кусок стекла, которым с небольшим нажимом со­вершают круговые движения по поверхности матируемого стекла. Стекло-инструмент необходимо постоянно перемещать.

По мере обработки изменяется усилие, необходимое для перемещения стекла-инструмента. Сначала ощущается, как стекло-инструмент легко перемещается на перекатывающихся зернах наждака, но по мере обработки трение стекла о стекло возрастает. Изменяется и звук: хрустящий в начале, он постепенно переходит в шипящий.

Ручная обработка стекла размером ЗОООх1000 мм потребует 1—1,5 ч работы одного человека. После такой обработки на поверхности стекла хорошо оставляет след мел любого качества. Написанное легко удаляется влажной губкой. Но главное достоинство стеклянной меловой доски заключается в том, что с обратной (не матированной) стороны доска может быть окрашена в рекомендуемый эргономикой цвет, а затем, когда краска высохнет, поверхность доски можно расчертить в клетку со стороной 100 мм.

В вершинах образовавшихся квадратов краска со стекла стирается в виде небольших крестиков. С противоположной (матовой) поверхности эти крестообразные метки хорошо видны только вблизи от доски и незаметны учащимся. Но учителю эти метки помогают быстро построить график, вычертить схему и т. д. Метки не мешают, но и стереть их невозможно.

В нижней части меловой доски к металлической рамке прикреп­лен лоток для сбора меловой крошки и пыли. Минимальный зазор между лотком и подвижной магнитной доской предотвращает паде­ние губки, кусков мела и других предметов в этот зазор.

Так как меловая доска углублена в нишу разделительной стенки как в своеобразную световую шахту, то это обстоятельство полностью исключает появление световых бликов на поверхности меловой доски.

Еще об одном приспособлении часто пишется в литературе. Это магнитная доска-экран. Нет необходимости говорить о преимуществах такой доски на уроках физики. При этом эта доска используется не столько для простого крепления наглядных пособий, сколько при проведении демонстрационного эксперимента.

Магнитная доска-экран изготавливается из целого стального листа, прикрепленного для прочности к рамке из уголковой стали размером 3000Х1000 мм. По бокам узкой части рамки закреплены обрезиненные ролики, выступающие из рамки и входящие в пазы вертикаль­ных стоек каркаса разделительной стенки. Тем самым доска-экран может перемещаться вверх и вниз [ ].

Для того чтобы скомпенсировать вес доски, она подвешивается в петле стального троса так, что образуется своеобразный подвижный блок (рис 9 ). Один конец стального троса диаметром 3—4 мм (на рисунке он изображен утолщенной линией) закреплен на каркасе разделительной стенки, а другой конец, переброшенный через верх­ний блок, соединен с грузом противовеса. Груз противовеса переме­щается в шахте, образованной пространством между третьей и чет­вертой вертикальными рамками разделительной стенки . Груз противовеса подобран так, что


Рис. 9

перемещение тяжелой

магнитной доски-экрана может быть произведено небольшим усили­ем одной руки. Такой способ подвески .доски обеспечивает ее пере­мещение без перекосов и заеданий.

Поверхность доски может быть окрашена матовой белой краской. Таким обра­зом, в поднятом состоянии доска может играть роль не только магнит­ной доски, но и экрана фона и большого проекционного экрана, на который удобно проецировать изображения, даваемые проекцион­ным аппаратом ФОС с демонстрационного стола или для теневого проецирования.

Но магнитная доска такой окраски не может постоянно служить как проекционный экран. Проекционный экран должен быть универсальным, для просмотра любых видов проецирования.

Для демонстрации диапозитивов, диафильмов и кинофильмов используется просвечивающийся экран, расположенный в одном из верхних проемов разделительной стенки. К экранам так называе­мого дневного кино предъявляются особые требования. С одной стороны, они не должны существенно ослаблять световой поток [ ].

С другой стороны, зритель не должен наблюдать световое пятно повышенной яркости изображение проекционной лампы. Хорошее, яркое, четкое изображение при равномерной освещен­ности по всему полю дает экран, изготовленный следующим спосо­бом.

На деревянную раму нужных размеров туго натягивается и за­крепляется белое капроновое полотно. Такое полотно применяется в химических фильтрах в промышленных установках. На полотно шпателем наносится смесь талька с глицерином. Смесь должна иметь консистенцию очень густой сметаны. Шпателем смесь наносится тонким ровным слоем без пробелов.

После такой обработки экран сохнет очень долго (более месяца). Но можно не ожидать оконча­тельного высыхания мастики, а сразу установить экран на свое место в проем разделительной стенки, но защитив экран стеклом от воз­можных повреждений со стороны кабинета физики. Если вспомога­тельное помещение будет затемнено, то проецирование изображения на экран дает яркую и хорошо видимую картину даже при полностью освещенном кабинете физики.

Так как при проецировании на полупрозрачный экран с противо­положной стороны получается зеркально повернутое изображение. то, для того чтобы не менять способ зарядки пленки и диапозитивов, используется поворотное зеркало. Проекционный аппарат устанав­ливается под углом к экрану. Поворотное зеркало можно установить обособленно или укрепить непосредственно на проекционном аппа­рате.

28


ГЛАВА 2. КАБИНЕТ ФИЗИКИ СЕЛЬСКОЙ ШКОЛЫ В УСЛОВИЯХ РАЗНОУРОВНЕВОГО ОБУЧЕНИЯ


  1. Некоторые особенности оборудования кабинета физики в сельских школах.


В городских и сельских средних и восьмилетних школах физика преподается по единым государственным программам. Поэтому и материальная основа (учебные пособия, приборы и технические средства), применяемая в преподавании, должна оставаться одинаковой для всех школ независимо от места их расположения.

Средние школы в больших населенных пунктах, централь­ных усадьбах колхозов и совхозов обычно имеют параллельные классы с достаточной наполняемостью учащимися. Кабинеты физики таких школ по своему оборудованию не должны отли­чаться от кабинетов физики городских школ. Однако некоторые сельские школы в связи с небольшой наполняемостью классов учащимися (до 20 человек) и малой недельной нагрузкой по физике (16 ч в неделю) имеют в планировке и оборудовании кабинета физики специфические особенности.

Рассмотрим возможные особенности оборудования кабинета фи­зики. В литературе наиболее часто представлены две точки зрения на проблему создания кабинета физики.

Согласно первой позиции для малокомплектных восьмилетних школ, имеющих до 400 учащихся, согласно рекомендации Ми­нистерства просвещения СССР, наиболее целесообразным яв­ляется оборудование объединенного кабинета физики, химии и математики. При этом кабинет будет иметь полную нагруз­ку; значительная часть учебных средств по этим предметам окажется общей; в данном сочетании создаются наиболее благоприятные условия для осуществления связи в преподава­нии этих родственных дисциплин.

Однако при оборудовании объединенных кабинетов необ­ходимо учитывать, что при неправильном размещении учеб­ных средств по этим предметам, а также неправильном хране­нии химических реактивов отдельные виды учебного оборудо­вания могут быстро выходить из строя. Чтобы не допустить этого, для оборудования объединенного кабинета необходимо иметь три помещения. В одном из них, имеющем большую пло­щадь (45—50 м2), оборудуется класс-лаборатория. В этой ком­нате проводятся все виды учебных занятий по физике, химии и математике. Во второй комнате оборудуется лаборантская комната по физике и математике, а в третьей—отдельная по химии. Площади комнат, отводимых под лаборантские, должны быть не менее 15—16 м2.

Рис. 10. Примерная планировка объединенного кабинета физики сельской восьмилетней школы (первый вариант): 1—демонстрационный стол; 2— стол учителя; 3—классная доска; 4—экран; 5—стол ученический; 62 шкаф для размещения учебного оборудования; 7—шкаф с вытяжным устройством; 8—рабочий стол; 9—счеты; 10—бак для воды; II—стол с набором инструментов; 12—устройство для управления затемнением; 13— стенд: 14—тележка-подставка для кинопроектора; 15—ящик для таблиц; 16—огнетушитель; /7—аптечка;

Возможные варианты расположения помещений такого объе­диненного кабинета восьмилетних школ показаны на рисунке 10. Комната 1—общий класс-лаборатория; комната II, распо­ложенная за передней стеной лаборатории, служит лаборант­ской по физике и математике, а комната III, расположенная на задней стеной (или сбоку лаборатории),—лаборантской по химии.

Если объединенный кабинет организуется по физике, химии и биологии, то лаборантские в нем оборудуются для каждого предмета отдельно. К прежней планировке прибавляется еще одна комната IV—лаборантская по биологии и несколько уве­личивается комната 1 (рис. 11 ), нумерация деталей планиров­ки на этом рисунке соответствует перечислению, сделанному под рисунком 3, добавлены лишь подставка для аквариума (19) и подставка для цветов (20).


Рис. 11



Демонстрационное и лаборантское оборудование должно храниться в шкафах, выпускаемых промышленностью для кабинетов физики. Однако в тех школах, где нет таких шка­фов, можно использовать двух- или трехстворчатые книжные шкафы с полу застекленными дверцами.

Мебель в объединенных кабинетах физики восьмилетних и средних школ не отличается от типовой мебели, выпускаемой промышленностью для школ.

Согласно второй точки зрения, нет необходимости в создании объединенных кабинетов. Необходимы кабинеты отдельные, а если уж и соединять, то уж никак не физику и химию (если нет двух лаборантских). Можно создавать кабинет физики и математики, так как обычно в школе нет чисто учителя физики, а есть учитель физики и математики. Это позволить закреплять кабинет за одним человеком, который и будет отвечать за его сохранность и внешний вид. Сторонники этой позиции указывают, что в этом случае вполне уместна одноместная посадка учеников на уроке. Это особенно важно при проведении лабораторного практикума, фронтальных опытов, при проведении различного вида самостоятельных работ.

Это вполне удачно вписывается в концепцию разноуровневого обучения школьников в условиях малочисленного класса. Учитывая, что на уроках разноуровневого обучения учащиеся разных типологических групп будут заниматься часть учебного времени по различным пособиям, выполнять совершенно разные виды работ, заниматься различной учебной деятельностью, то такой вариант посадки оправдан.

Это позволит определенным образом оформить рабочее место ученика, по-новому подойти к подготовке и проведению уроков.

Все до этого сказанное относится к типовому проекту кабинета. Однако чаще всего учителя физики сталкиваются с такой проблемой, как создание лаборантской комнаты. Это возникает в следующих случаях:

  • когда для кабинета физики выделяется одно помещение, не имеющее лаборантской;

  • когда создается объединенный кабинет, а в наличии всего одна лаборантская комната (это создает определенные неудобства для учителей-предметников)

Как же в этом случае поступить? В методической литературе говорится о необходимости создания разделительной стенки в кабинете, которая разделила бы класс на два относительно самостоятельных полмещения. Каковы же особенности этой разделительной стенки?

Анализ взглядо на эту проблему показал, что наиболее часто встречаются такие точки зрения на конструкцию стенки, отделяющей аудиторную часть физического кабинета от вспомогательного помещения:

  • стенка может быть кирпичной;

  • стенка может быть деревянной;

  • стенка может быть металлической конструкцией.

Рис. 12

Одно ясно, что в силу сложившихся традиций по подсказке много­летнего опыта эта разделительная стенка размещается за спиной учителя. Такое местоположение вспомогательного помещения (за спиной учителя) отражено и в некоторых условиях на проектирова­ние школьных помещений.

Но конструкция разделительной стенки бывает различной. Иног­да это кирпичная стенка. В другом случае разделительная стенка имеет деревянную сборную конструкцию, которая со стороны вспо­могательного помещения используется для хранения оборудования физического кабинета.

Более привлекательно, если разделительную стенку выполнить как сборную метал­лическую конструкцию, ведь при этом открываются совершенно новые функцио­нальные возможности этой архитектурной детали школьного физиче­ского кабинета. Каковы же конструкционные особенности разделительной стенки?

Основой конструкции разделительной стенки являются пять оди­наковых рамок, сваренных из уголковой стали размером 35х35 мм (рис.13). Длина рамки определяется высотой помещения Н. Поэтому h=H2400 мм. Длинные стороны рамки сварены из сложен­ных уголков так, что образуют П-образный профиль. На эту осо­бенность следует обратить внимание потому, что сделано это не только ради увеличения прочности рамки.


Рис. 14

Крайние рамки прикрепляются к противоположным стенам физи­ческого кабинета, а затем размещаются три остальные и соединя­ются уголком.

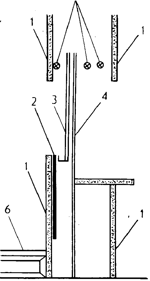
Так как ширина помещения может быть разной даже при одном и том же типовом проекте, то это различие компенсируется рас­стоянием между третьей и четвертой рамками (если вести счет слева направо). Вторая и третья рамки размещаются так, что пазы верти­кальных стоек обращены друг к другу. Горизонтальная связка на высоте 1200 мм между второй и третьей рамками со стороны каби­нета не должна перекрывать плоскость, образованную пазами. Дело в том, что в пазах вертикальных стоек размешается и перемещается по вертикали магнитная доска-экран.

В пазах между второй и третьей стойками помещена магнитная доска-экран 2. Далее укреплены стеклянная меловая доска 3 и тон­кая перегородка 4, отделяющая вспомогательное помещение от ауди­торной части кабинета и выполненная из древесноволокнистой плиты.

Рис. 2-3

В верхней части центрального проема скрытые за облицовоч­ными плитами размещены трубки люминесцентных ламп 5, которые со стороны кабинета освещают ме­ловую доску, а со стороны вспо­могательного помещения служат для его освещения. Помост 6, на котором установлен демонстраци­онный стол, вплотную примыкает к разделительной стенке. Целесооб­разно каркас помоста соединить сваркой с каркасом разделитель­ной стенки.

Однако для большей приспособленности кабинета к условиям разноуровневого обучения, необходимо ввести некоторые дополнительные элементы разделительной стенки. Они могут быть такими:

  1. Так как при поднятом металлическом экране невозможно вести записи на меловой доске, то под облицовочной плитой между меловой доской-экраном размещен сворачивающийся отражатель­ный проекционный экран. Такой экран может быть смонтирован и наклонно наверху разделительной стенки. Наиболее часто необходимость в нем воз­никает при работе с кодоскопом.

  2. В одном из проемов разделительной стенки можно разместить магнитофон с подводкой к рабочим местам учеников для работы с головными телефонами (во время проведения диктанта с одной из групп, для прослушивания учебной информации и т.д.);

  3. В одном из проемов разделительной стенки может быть размещен телеви­зор;

  4. Со стороны вспомогательного помещения каркас разделитель­ной стенки обшит декоративной плитой. В свободных нишах разме­щены полки и шкафы для хранения оборудования. Именно в этих нишах могут храниться и микролаборатории для проведения фронтальных лабораторных работ, опытов. В нижней части под полкой также может быть оборудован большой откидывающийся ящик для хране­ния таблиц на бумажной основе;

  5. Большой проем в разделительной стенке в ее левой стороне предназначен для выдвижного стола.

Ведь не секрет, что особая проблема для учителя — доставка приборов демонстрационного экс­перимента к демонстрационному столу. Законы психологии вос­приятия не рекомендуют преждевременного показа приборов уча­щимся. На демонстрационный стол должно выставляться только то, что сейчас показывается, и немедленно убираться со стола после завершения показа.

Где между демонстрациями хранить подготовленные приборы? Обычно рекомендуется с этой целью использовать пространство под демонстрационным столом или на отдельном столике, отгороженном от учащихся ширмой. Но и в этом случае остается проблема достав­ки приборов из вспомогательного помещения.

Оригинальное решение — выдвижной стол снимает эти проб­лемы.

Рассмотрим кконструкцию выдвижного стола. Сварной металлический каркас, схема которого изображена на рисунке 15, изготовлен из стального уголка таких же размеров, что и разделительная стенка.

Основу конструкции составляет платформа размером 1200Х X 1200х200 мм, оборудованная четырьмя колесами с проточками в виде желоба. Одна пара колес с одной стороны платформы огра­ничена в своем перемещении вдоль оси. Противоположная пара колес может в небольших пределах перемещаться по оси.

Рис. 15


Колесами платформа устанавливается на рельсы, представляю­щие собой стальной уголок, приваренный к вертикальным рамкам (первой и второй) разделительной стенки. Концы рельсов соединены между собой.

На платформе устанавливаются каркас стола размером 900Х 600X 1200 мм и каркас выдвижной разделительной стенки, соеди­ненной с платформой и столом.

Выдвижная стенка с наружной стороны облицовывается такой же облагороженной древесностружечной плитой, что и разделительная стенка. Верхняя поверхность платформы закрывается половой рей­кой, на которую настилается древесноволокнистая плита.

Облицовка выдвижной стенки подгоняется по размерам так, чтобы зазор между выдвижной стенкой и облицовкой разделительной стенки был бы минимальным. Остающаяся щель закрывается алю­миниевым Т-образным профилем.

По рельсам выдвижной стол может быть перемещен из вспомога­тельного помещения к демонстрационному столу. Так как колеса платформы снабжены шариковыми подшипниками, то, несмотря на большой вес всей конструкции, ее перемещение легко производится усилием одной руки.

В исходном положении выдвижной стол вместе с платформой находится во вспомогательном помещении физического кабинета. Здесь на стол могут быть установлены приборы, подготовленные для демонстрации. Дополнительным местом для разме­щения приборов является полка в нише выдвижного стола. В рабо­чем (выдвинутом) положении выдвижной стол оказывается рядом с демонстрационным, но установленные на нем приборы скрывает от глаз учащихся выдвижная стенка .

Рассмотренные особенности оборудования школьного кабинета физики сельской школы во многом могут определить успешность решения некоторых проблем, стоящих перед учителем в условиях разноуровневого обучения.


2. Рабочее место ученика при реализации разноуровневого обучения. Из опыта оборудования кабинета физики


Повышению эффективности учебного про­цесса в значительной мере способствует хо­рошо оборудованный кабинет физики, что, в свою очередь, предполагает решение таких проблем, как усовершенствование оборудования демон­страционного стола, рациональное размещение технических средств обучения в кабинете, максимально удобная система хранения приборов и выдачи их на рабочие места учащихся для фронтальных работ и практикума, правильное хранение демонстрационных приборов и др. Еще одной проблемой является проблема ооборудования рабочего места учителя и ученика в кабинете физики. Правильное решение этой проблемы должно помочь учителю физики в организации разноуровневого обучения. Учитывая тот факт, что до того момента, когда на столе учителя и ученика на уроках физики долго еще не будет стоять компьютера, но имеющиеся в настоящее время в большинстве сельских школ технические средства обучения должны вносить свою лепту в решение проблемы разноуровневого обучения.

Перечислим основные элементы рабочего стола ученика:

- розетки питания на 36-42 В;

- разъемы для головных телефонов (наушников);

- таблицы физических констант (учитывается, что часть учеников будет изучать материал углубленно);

  • откидной экран для самостоятельного просмотра слайдов и диафильмов;

  • диапроектор;

  • микролаборатории.

Для оформления рабочего места ученика можно подготовить такие таблицы и справочные данные:


Единица длины Метр (м).
Единица времени Секунда (с),
Единица массы Килограмм (кг),
Единица силы электрического тока Ампер (А).
Единица температуры Кельвин (К),
Единица количества вещества Моль (моль),
Единица силы света Кандела (кд).

Соотношение между единицами площади

Единица СИ площади: [S] = квадратный метр (м2 ), кроме того; ар (а) , гектар (га) для площади полей и земельных участков.

Соотношение между единицами площади

10-6 км2 = 1 м2 = 102 дм2 = 104 см2 = 106 мм2

1 ар (а) = 100 м2

1 гектар (га) = 100 a = 104 м2

Единицы, не входящие в СИ:

1квадратная миля (миля2) =3,0976-102ярд2 =2,589988•10м2

1 квадратный ярд (ярд2) =9 фут2=1296 дюйм2=0,8361 м2

1 квадратный фут (фут2)=144 дюйм2= 0,0929 м2=9,29 дм2

1 квадратный дюйм (дюйм2)=0,6452 • 102 м2 =6,452 см2


Cоотношение между единицами объема

1 м3 = 103 лм3 = 106 см3 = 103 мм3
1 литр (л) = 1 дм3

Единицы, не входящие в СИ:

1 кубический ярд (ярд3)=27фут3=46б5бдюйм3= 0,7646 м3

1 кубический фут (фут3)=1728 дюйм3 = 28,32 дм3
1 кубический дюйм (дюйм3) = 16,39см3
1 регистровая тонна =100 фут3 = 2,832м3
1 бушель =8 гал (брит.) = 36,37 дм3
1 галлон (гал) брит. = 4,546 дм3
1 галлон (гал) США = 3,785 дм3


Соотношение между единицами массы

1 кг= 103 г= 106 мг= 109 мкг

1 декаграмм (даг) = 10 r

1 тонна (т) = 1 мегаграмм (Mг) = 10 децитонн (дт) = 103 кг

Единицы, не входящие в СИ:

1 длинная тонна =2240 фунт (торговый) = 1016,05 кг= 1,01605 т

1 короткая тонна= 2000 фунт США = 907,2 кг = 0,9072 т

1 слаг=32,174 фунт = 14,594 кг

1 фунт = 16 унций = 0,4536 кг = 453,6 г

1 унция = 0,02835 кг = 28,35 г


Справочные данные по планетам Солнечной системы



Среднее

Отношение
Планета Расстояние от Солнца, Период обращения, Эксцентри­ситет Массы к массе Земли
Меркурнй 58 0,24 0,21 0,053
Венера 108 0,62 0,01 0,8149
Земля 150 1,00 0,02 1,000
Марс 228 1,88 0,09 0,107
Юпитер 778 11,86 0,05 318,00
Сатурн 1428 29,46 0,06 95,22
Уран 2872 84,02 0,05 14.55
Нептун 4498 164,78 0,01 17,23
Плутон 5910 248,4 0,25 0,9

Соотношение между единицами давления

Единицы, не входящие в СИ:

1 ат = 0,980665 бар = 98,0665 кПа
1 м вод. ст. = 0,1 ат = 98,0665 мбар = 9,80665 кПа
1 мм вод. ст.=10 ат= 98,0665 мкбар= 9,80665 Па
1 бар = 102 Па = 100 кПа
1 мм рт. ст. = 21,333224 мбар = 133,3224 Па
1атм = 1,01325 бар = 101,325 кПа
1 фунт-сила/кв, ярд =53,2 мкбар = 5,320 Па
1 фунт-сила/кв, фут. = 478,8 мкбар = 47,88 Па
1 фунт-сила/кв, дюйм = 68,95 мбар = 6,895 кПа
1 паундаль/кв. фут = 14,88 мкбар = 1,488 Па
1 тонна-сила/кв, фут = 1,07252 бар = 107,252 кПа
1 дюйм водяного столба = 2,4908 мбар = 249,08 Па
1 дюйм ртутного столба = 33,864 мбар = 3,3864 кПа

Если

р давление,

А площадь поверхности,
F сила, действующая на эту поверхность.


Таблица моментов инерции


Если говорить более подробно о содержании микролаборатории, то можно отметить следующие моменты:

  1. Перед определением состава микролаборатории оп отдельным темам школьного курса физики, включая и углубленный уровень, необходимо было провести сравнительный анализ содержания всех лабораторных работ как базового, так и углубленного уровней, а так же определить перечень необходимых приборов и инструментов для их проведения. Для этого сведем в единую таблицу все основные данные, касающиеся использования приборов и материалов при проведении лабораторных работ (Таблицы 1-2 ).


Таблица 1 . Лабораторные работы по механике (БУ)



Название Л/р Приборы и материалы

Основы кинематики
1 Измерения ускорения тела при равноускоренном движении

Средства измерения :

  1. Измерительная лента

  2. Метроном

Материалы :

  1. Желоб

  2. Шарик

  3. штатив с муфтой и лапкой

  4. металлический цилиндр


Основы динамики
2 Измерение жесткости пружины

Средства измерения :

  1. Набор грузов (m0=100 г, m0=2г)

  2. линейка с миллиметровыми делениями

Материалы :

  1. штатив с муфтой и лапкой

  2. спиральная пружина

3 Измерения коэффициента трения скольжения

Средства измерения :

  1. динамометр


Материалы :

1.деревянный брусок

2.деревянная линейка

3.набор грузов


4 Изучение движения тела, брошенного горизонтально

Средства измерения

1.линейка с миллиметровыми делениями

Материалы :

  1. лоток для пуска шарика

  2. штатив с муфтой и лапкой

  3. фанерная доска

  4. шарик

  5. бумага

  6. кнопки

  7. копировальная бумага


5 Изучение движения тела по окружности под действием сил упругости и тяжести

Средства измерения :

  1. линейка с миллиметровыми делениями

  2. часы с секундной стрелкой

  3. динамометр

Материалы :

  1. штатив с муфтой и кольцом

  2. прочная нить

  3. лист бумаги с начерченной окружностью r=15 см

  4. груз из набора по механике

6 Изучение равновесия тел под действием нескольких сил

Средства измерения :

1. линейка

  1. динамометр

Материалы:

  1. 1. штатив с муфтой

2. рычаг

3. набор грузов


3.Законы сохранения
7 Изучение закона сохранения механической энергии

Средства измерения:

  1. динамометр, жесткость пружины 40H/M

  2. линейка измерительная

  3. Набор грузов (m0=100 г, m0=2г)

Материалы :

  1. Фиксатор

  2. штатив с муфтой и лапкой


4.Механические колебания и волны
8 Измерение ускорения свободного падения с помощью маятника

Средства измерения:

  1. часы с секундной стрелкой

  2. измерительная лента

Материалы :

  1. шарик с отверстием

  2. нить

  3. штатив с муфтой и кольцом



Таблица 2 . Лабораторные работы по механике (УУ)



Название Л/р Приборы и материалы

1.Основы кинематики
1 Изучения движения тела, брошенного под углом к горизонту

1.Баллистический пистолет

2.штатив

3. рулетка


Основы динамики
2 Определение жесткости пружины

Средства измерения :

1.Набор грузов (m0=100 г, m0=2г)

2.линейка с миллиметровыми делениями

Материалы :

1.штатив с муфтой и лапкой

2.спиральная пружина

3 Определение коэффициента трения скольжения

Средства измерения :

1.динамомертр

Материалы :

1.деревянный брусок

2.деревянная линейка

3.набор грузов

4 Изучение движения тела, брошенного горизонтально

Средства измерения

1.линейка с миллиметровыми делениями

Материалы :

1.лоток для пуска шарика

2.штатив с муфтой и лапкой

3.фанерная доска

4.шарик

5.бумага

6.кнопки

7.копировальная бумага

5 Изучение движения тела по окружности под действием сил упругости и тяжести

Средства измерения :

1.линейка с миллиметровыми делениями

2.часы с секундной стрелкой

3.динамометр

Материалы :

1.штатив с муфтой и кольцом

2.прочная нить

3.лист бумаги с начерченной окружностью r=15 см

4.груз из набора по механике

6 Измерение ускорения свободного падения

1.Вибратор из школьного разборного э/м реле

2. источник переменного напряжения 6в-10в

3.диод

4.штатив

5.металлический брусок

  1. 6.полоски белой и копировальной бумаги

7 Расчет и измерение ускорения тела при его равноускоренном прямолинейном движении

1.Деревянная доска с блоком

  1. 2. деревянный брусок

  2. 3.нить набор грузов

  3. 4. линейка

  4. 5. секундомер

  5. 6. динамометр


Элементы статистики
8 Изучение условий равновесия тел под действием нескольких сил
9 Определение центра тяжести плоских фигур

Законы сохранения в механике
10 Изучение закона сохранения механической Энергии

Средства измерения:

1.Динамометр, жесткость пружины 40H/M

2.линейка измерительная

3.Набор грузов (m0=100 г, m0=2г)

Материалы :

1.Фиксатор

2. штатив с муфтой и лапкой

11 Расчет и измерение скорости шара и цилиндра, скатывающихся с наклонной плоскости

1.Штатив

2.длинная доска

3. линейка измерительная

  1. 4. секундомер

12 Изучение закона сохранения импульса

1.Штатив

  1. 2. Лоток дугообразный

  2. 3. шары диаметром 25мм – 3шт

  3. 4. линейка измерительная

  4. 5. белая и копировальная бумага

  5. 6. весы учебные со штативом

  6. 7. гири Г4-210

13 Сравнение работы силы и изменения кинетической энергии тела

1.Деревянная доска

2.деревянный брусок

3.нить

4.динамометр

  1. 5.линейка


Механические колебания и волны
14 Определение ускорения свободного падения при помощи маятника

Средства измерения:

1.часы с секундной стрелкой

2.измерительная лента

Материалы :

1.шарик с отверстием

2.нить

штатив с муфтой и кольцом


  1. Выясним частоту выпадения используемых приборов, определим число одинаковых приборов и инструментов, используемых при выполнении лабораторных работ.

Учитывая, что штатив с муфтой и лапкой, а так же измерительная лента или линейка с миллиметровым делением, динамометр и набор грузов по механике используются почти в каждой лабораторной работе, то они должны хранится в шкафу кабинета физики на полках, проименованных соответствующим образом или же в рабочем столе каждого ученика.

Определим число блоков инвариантов (по теме или разделу).

Если говорить конкретно по классам, то можно отметить, что только в 10 – 11 классах есть придется сделать несколько разных микролабораторий по разным разделам изучаемого материала, так как только там разделы не имеют четкой преемственности изучаемого материала.

В 9 классе изучаются механические явления и процессы, что приводит к тому, что для 9 класса можно сделать единый комплект приборов. Это может быть микролаборатория, составленная как из приборов и материалов заводского изготовления, так и приборов самодельных.

В состав такого комплекта могут войти:

  • штатив с муфтой и лапкой;

  • динамометр;

  • измерительная лента, линейка;

  • набор грузов;

  • секундомер;

  • металлический шарик;

  • набор пружин разной жесткости;

  • набор полосок резины;

  1. Разместить микролабораторию в кабинете физики можно несколькими способами:.

  • Если в кабинете физики возможна одноместная посадка, то микролаборатория располагается в соответствующих ящиках рабочего места ученика при определенной нумерации.

  • Если в кабинете физики предусмотрена двухместная посадка, то микролаборатория располагается в определенном месте. Например, в шкафу, в разделительной стенке или демонстрационном столе в определенной нумерации.

Таким образом, правильная организация рабочего места ученика и размещение основных приборов для проведения лабораторного эксперимента могут внести свой вклад в реализацию идеи разноуровневого обучения.


3. Подготовка студентов к работе в кабинете физики в условиях разноуровневого обучения


Как было сказано ранее, в современных условиях учителю физики все труднее и труднее работать Возникла необходимость более качественной подготовки учителя физики к работе в условиях кабинетной системы. В целях решения данной проблемы предлагается спецкурс «Оборудование школьного физического кабинета». Более подробно о его содержании и структуре описано ниже.


СПЕЦКУРС “ОБОРУДОВАНИЕ ШКОЛЬНОГО ФИЗИЧЕСКОГО КАБИНЕТА”


I. Требования к уровню подготовки студента, завершившего изучение дисциплины

В ходе изучения курса у студентов должны сформироваться такие умения: определить соответствие оснащения кабинета физики требованиям нормативных документов, составить заявку на при­обретение необходимого оборудования и акт на списание матери­альных ценностей, организовать и провести профилактическое об­служивание оборудования школьного кабинета физики, подготовить эскизную документацию на изготовление учебных приборов и при­способлений к ним, руководить работой лаборанта, подобрать при­боры для организации внеурочной работы. Студенты должны нау­читься ориентироваться в специфике школьных физических прибо­ров с целью их рационального подбора, овладеть приемами поиска причин бездействия электрических цепей, научиться определять не­исправности физических приборов и устранять простейшие полом­ки, приобрести элементарные навыки работы со стеклом, провода­ми, пластмассой, древесиной, овладеть приемами изготовления про­стейших самодельных учебных приборов.

II. Объем дисциплины и виды учебной работы (аудиторные часы).


Объем Семинары Лабораторные работы экскурсии самостоятель­ная работа
50 часов 20 часов 23 часа 7 часов 10 часов

5 семестр





Свыше 50 часов

III. Содержание дисциплины.

3.1. Разделы дисциплины и виды занятий.


Наименование раздела Семинары Лабораторные работы Экскурсии
Кабинетная система обучения в средней общеобразовательной школе (3ч.) 3

Кабинет физики средней школы(14ч.) 8 5 1
Кабинет физики сельской школы(6ч.) 3 2 1

Работа заведующего кабинетом физики (5ч.)


2 2 1
Конструирование, изготовление и ремонт учебного оборудования (16 ч.) 2 11 3
Использование оборудования кабинета физики для осуществления учебного процесса и внеурочной работы (6ч.) 2 3 1

. Содержание дисциплины.

3.1. Разделы дисциплины и виды зан

3.2. Пояснительная записка.

Изучение курса "Оборудование школьного физического каби­нета" должно подготовить будущих учителей физики к работе по эксплуатации и совершенствованию школьного кабинета физики.

В процессе изучения курса студенты педагогического вуза должны получить представление о школьном кабинете физики как системе средств, позволяющих обеспечить оптимальную организа­цию учебно-воспитательного процесса на уроках и во внеурочное время по предмету; вооружиться общетехническими и методиче­скими знаниями и умениями, направленными на повышение эффек­тивности использования оборудования, технических и дидактиче­ских средств, которыми располагают в настоящее время кабинеты физики средней школы, изучить перспективы их развития; узнать современные направления совершенствования учебно-методической и материально-технической базы кабинетов физики.

Программа курса предусматривает изучение кабинетной сис­темы и общих требований, предъявляемых к современному кабине­ту физики, изучение правил техники безопасности для физических кабинетов средних школ, прав и обязанностей заведующего кабине­том физики, порядка приобретения, учета и списания оборудования, ознакомление студентов с рациональными методами его располо­жения и хранения, с основами ремонта и конструирования физиче­ских приборов, а также использованием оборудования кабинета фи­зики для осуществления учебного процесса и внеурочной работы.

Изучение темы "Кабинетная система обучения в средней об­щеобразовательной школе" осуществляется с использованием учеб­ного материала по педагогике об оптимизации учебно-воспитательного процесса, по физиологии и психологии о воспри­ятии и усвоении учебного материала.

Изучение темы "Кабинет физики средней школы" осуществ­ляется с использованием материала по общей физике об электриче­ском токе, электромагнитной индукции, по электротехнике о трех­фазных электрических сетях, о передаче электрической энергии, по охране труда о защите от поражающего напряжения, по школьной гигиене о санитарно-гигиенических нормах, по медицине об оказа­нии первой медицинской помощи, по педагогике об эстетическом воспитании.

Изучение темы "Работа заведующего кабинетом физики" осу­ществляется с использованием учебного материала по педагогике об организации учебного процесса.

Изучение темы "Конструирование, изготовление и ремонт учебного оборудования" осуществляется с использованием учебного материала по психологии о формировании умений и навыков, по черчению (материал средней школы) о правилах выполнения сбо­рочных чертежей, об эскизном деталировании, по общей физике об электрическом токе в полупроводниках, по электрорадиотехнике о полупроводниковых приборах, по электротехнике об электрических измерениях.

Изучение темы "Использование оборудования кабинета для осуществления учебного процесса и внеурочной работы" проводит­ся с использованием учебного материала по курсу ТСО о видах ста­тической проекции, о комплексном применении технических средств обучения в учебно-воспитательном процессе, о технике безопасности при работе с техническими средствами обучения, по педагогике об организации внеурочной работы, по психологии о психологии усвоения знаний.

Знания, полученные при изучении темы "Кабинетная система обучения в средней общеобразовательной школе", используются во время педагогической практики при знакомстве со школой и школьным коллективом.

Знания, полученные при изучении темы ^Кабинет физики средней школы", используются в курсе методики преподавания фи­зики при создании учебных экспериментальных установок и изучении учебного оборудования, во время прохождения педагогической практики при подготовке к проведению уроков.

Знания, полученные при изучении темы "Работа заведующего кабинетом физики", используются во время педагогической практи­ки при подготовке учебного физического эксперимента.

Навыки, полученные при изучении темы "Конструирование, изготовление и ремонт учебного оборудования", используются в спецпрактикуме по методике физики при модернизации школьных учебных приборов, во время педагогической практики при оказании помощи учителю в ремонте школьных приборов.

Знания, полученные при изучении темы "Использование обо­рудования кабинета физики для осуществления учебного процесса и внеурочной работы", используются во время педагогической прак­тики при подготовке к проведению уроков и организации внеуроч­ной работы.

Программой предусмотрено отражение роли в развитии каби­нета физики и кабинетной системы в средней школе следующих ученых методистов: И. Глинки, Е.М. Горячкина, Г.Г. Де-Метца, И.И. Дриги, И.А. Знаменского, С.Е. Каменецкого, Н.В. Кашина, А.А. Покровского, Д.И. Сахарова, Н.М. Шахмаева.

Программа предусматривает, что знания, полученные студен­тами при изучении курса "Оборудование школьного физического кабинета", используются в дальнейшем при изучении методики преподавания физики, во время педагогической практики, при вы­полнении курсовых и дипломных работ по методике физики.

Программа рассчитана на проведение занятий по подгруппам (в подгруппе не более 12 человек) в специально оборудованном по­мещении-лаборатории курса "Оборудование школьного физическо­го кабинета".

Распределение учебного времени по темам является пример­ным. Преподавателю предоставляется право изменять порядок изу­чения отдельных вопросов внутри темы.


3.3. Содержание разделов дисциплины.

1.Кабинетная система обучения в средней общеобразовательной школе (3ч.)


Введение. Зарождение кабинетной системы обучения в сред­ней школе. Методические задачи, решаемые с помощью каби­нетной системы.

Физический кабинет в системе учебных кабинетов средней школы. История развития школьного физического кабинета.

2. Кабинет физики средней школы (20 ч.)


Организация кабинета физики* Принципы организации учебного кабинета. Требования к оборудованию учебного каби­нета. Планировка типового кабинета физики средней школы. Структура функциональных зон кабинета и размещение обору­дования. Мебель кабинета физики. Организация астрономическо­го уголка в кабинете физики.

Специальные системы кабинета физики. Система элек­троснабжения кабинета. Системы водо- и газоснабжения. Сис­темы освещения и затемнения кабинета. Системы пожарной и охранной сигнализации.

Специфика учебного оборудования кабинета физики. Классификация учебного оборудования по физике. Демонстра­ционное оборудование. Лабораторное оборудование для практи­кумов. Оборудование для кратковременных практических работ.

Охрана труда в кабинете физики средней школы. Право­вые акты и инструкции по охране труда в средних учебных заведениях. Санитарно-технические требования к помещениям школьного кабинета физики. Меры безопасности при проведе­нии практических работ в кабинете физики. Правила проведе­ния инструктажа учащихся по технике безопасности. Противо­пожарный инвентарь, средства защиты от поражающего на­пряжения, средства первой медицинской помощи в кабинете физики.

Передовой опыт оборудования кабинетов физики средних учебных заведений в стране и за рубежом.

Экскурсия в кабинет физики средней школы.


3. Кабинет физики сельской школы (6ч.)

Особенности оборудования кабинета физики в школах сельской местности. Помещение кабинета физики сельской школы. Мебель кабинета физики. Особенности оснащения и оборудования кабинета физики сельской школы. Рабочее место ученика и учителя в кабинете физики сельской школы. Кабинет физики в условиях разноуровневого обучения. Системы освещения и затемнения кабинета.

Экскурсия в кабинет физики городской школы.


4. Работа заведующего кабинетом физики (5ч.)


Права и обязанности заведующего кабинетом физики. Документация заведующего кабинетом физики. Ведение лабораторных работ.

Экскурсия в кабинет физики.


5. Конструирование, изготовление и ремонт учебного оборудования (16ч.)

Уход и бережное отношение к учебному оборудованию.

Организация работ по оборудованию и модернизации кабинета физики. Текущий и профилактический ремонт приборов, принадлежностей и пособий.

Изготовление наглядных пособий, несложных приборов. Привлечение учащихся для оказания помощи учителю при конструировании, изготовлении и ремонта учебного оборудования. Техническая литература и требования по изготовлению и конструированию приборов. Подготовка деталей, инструментов, материалов, необходимых для изготовления учебного оборудования. Проверка безотказности, надежности, видимости и удобства работы прибора или установки.

Охрана труда при конструировании, изготовлении и ремонта учебного оборудования. Санитарно-технические требования и меры безопасности при изготовлении и конструировании учебного оборудования.

Обмен опытом учителями физики по изготовлению вспомогательного оборудования.

Экскурсия в лаборантскую кабинета физики. Экскурсия на технический завод. Экскурсии на школьные выставки приборов, изготовленных учениками.


6. Использование оборудования кабинета физики для осуществления учебного процесса и внеурочной работы (6ч.)

Специфика учебного оборудования кабинета физики. Взаимосвязь элементов оборудования для повышения эффективности учебного эксперимента. Специфика учебного оборудования кабинета физики. Взаимосвязь элементов оборудования для повышения эффективности учебного эксперимента.

Организация физико-технического кружка. Сбор и изготовление технических игрушек.

Экскурсия в физический кабинет школы.


ТЕМЫ РЕФЕРАТОВ ДЛЯ СТУДЕНТОВ.

  1. Кабинет физики средней школы.

  2. Из истории становления кабинетной системы.

  3. Рабочее место учителя физики.

  4. Рабочее место ученика в кабинете физики.

  5. Оборудование кабинета физики.

  6. Демонстрационный стол в кабинете физики.

  7. Проекционный экран в кабинете физики.

  8. Материально-техническое обеспечение учебного физического эксперимента в основной общеобразовательной школе.

  9. Об электроснабжении кабинета физики.

  10. Освещение и затемнение кабинета физики.

  11. Лаборантская кабинета физики.

  12. Охрана труда в кабинете физики средней школы.

  13. Стенды в кабинете физики.

  14. Меры безопасности при проведении практических и лабораторных работ в кабинете физики.

  15. Организация хранения лабораторного оборудования и подготовка его к занятиям.

  16. Библиотека физического кабинета.

  17. Подготовка кабинета к новому учебному году.

  18. Применение оборудования кабинета физики для совершенствования учебного процесса.

  19. Астрономический уголок в физическом кабинете.

  20. Физический кабинет в системе учебных кабинетов средней школы.

  21. Особенности оборудования и оснащения кабинета физики сельскоцй школы.

  22. Кабинет физики в условиях разноуровневого обучения.

  23. Рабочее место ученика в кабинете физики в условиях разноуровневого обучения..


ЗАКЛЮЧЕНИЕ


Поставленная в дипломной работе проблема разработки такой планировки, оборудования и оснащения школьного кабинета физики, при которой достигались бы цели разноуровневого обучения разнопланова и многогранна. В связи с этим в работе рассматривались только некоторые аспекты этой проблемы.

Во-первых, были определены некоторые особенности планировки и оснащения кабинета физики сельской школы в условиях разноуровневого обучения. При этом определилось, что многие предложения по усовершенствованию кабинета физики вообще во многом востребованы для организации разноуровневого обучения. Более подробно остановлено внимание на структуре и конструкции разделительной стенки, позволяющей сделать классное помещение настоящим кабинетом физики.

Во-вторых, были рассмотрены вопросы оснащения рабочего места ученика в условиях разноуровневого обучения, более подробно раскрыто содержание микролаборатории по механике, наличие которой оптимизирует процесс обучения, сокращает время учителя при подготовке и проведении фронтальных лабораторных работ. При этом анализировалось содержание не только лабораторных работ базового уровня, но и содержание таких работ углубленного уровня.

В-третьих, более детально рассмотрен вопрос о внешнем оформлении рабочего места ученика, предложены необходимые наборы табличных данных, физических констант, соотношений между физическими величинами (как системными, так и несистемными), дополняющих данные в школьных задачниках до необходимого уровня.

В-четвертых, учитывая необходимость более серьезной подготовки студентов к работе в кабинете физики, разработан спецкурс «Оборудование школьного физического кабинета».

Изучение этого спецкурса должно подготовить будущих учителей физики к работе по эксплуатации и совершенствованию школьного кабинета физики. При этом студенты педагогического вуза получают представление о школьном кабинете физики как системе средств, позволяющих обеспечить оптимальную организа­цию учебно-воспитательного процесса на уроках и во внеурочное время по предмету; приобретают общетехнические и методиче­ские знания и умения, которые направлены на повышение эффек­тивности использования оборудования, технических и дидактиче­ских средств.

Можно сказать, что решение вышеназванных вопросов из всего комплекса проблем, встающих при реализации идеи разноуровневого обучения позволит более оптимально готовиться и успешнее проводить учителю уроки с двумя группами учеников.


61


ЛИТЕРАТУРА.


  1. Айнбиндер А.Б. Учителям физики о кабинете физики.//Физика в школе-1981.-№4.-с.86-89.

  2. Волынский А.П., Волынская Т.А. Из опыта оборудования кабинета физики //Физика в школе- 1981г.-№2.-с.58-59.

  3. Восканян А.Г. Об элетроснабжении кабинета физики.// Физика в школе- 1996 №4 -с51.

  4. Изучение физики в школах и классах с углубленным изучением предмета: Методические рекомендации. Часть 2.-М.:1991г.

  5. Кабинет физики средней школы /А.Г.Восканян, В.С.Грейдина, Б.С.Зворыкин и др., под ред. А.А.Покровского.-М:Просвещение, 1982г.

  6. Каменецкий С.Е., Назаров Н.Н., Смирнов А.В. Современный школьный физический кабинет.//Физика в школе.-1994г.-№2.-с.66

  7. Кикоин И.К.,Кикоин А.К. Физика : Учеб. для 9 кл. средней школы.-3 издание.-М.:Просвещение,1994.

  8. Кухлинг Х. Справочник по физики: пер. с нем.-М:Мир,1982.

  9. Материально-техническое обеспечение учебного физического эксперемента в основной общеобразовательной школе // Физика в школе.-1997.-№4

  10. Полетило С.А. Расположение ученических столов в физическом кабинете при групповой работе учащихся// Физика в школе.-1995.-№2.

  11. Программа для старшей профильной школы. Физика ,М.,П.,1994г.

  12. Программа средней общеобразовательной школы. Физика ,М.,П.,1992г.

  13. Пугач Н.Н., Филатов С.Н. Кабинет физики в общей системе школьных кабинетов //Физика в школе .-1996.-№2.- с54.

14.Рымкевич А.А. Сборник задач по физики для 9-11 кл. ср. школы. М.: Просвещение

15.Ситник П.М. Лаборанская кабинета физики.//Физика в школе.-1984г.-№5.-с.53-54.

16.Смагина Г.И. Первый в Россиишкольный физический кабинет //Физика в школе.-1986.-№2.-с.18-22.

17.Умяров М.Я. Кабинет физики и развитие учащихся // Физика в школе .-1980г.-№4.-с.36.

18. Физика в школе: Сб.нормат.документов/Сост.Н.А.Ермолаева, В.А.Орлов.-М.:Просвещение,1987г.

19.Шахмаев Н.М. Из опыта оборудования физического кабинета.-М.:Просвещение ,1957г.


ПРИЛОЖЕНИЕ

Материально-техническое обеспечение учебного физического эксперимента в основной общеобразовательной школе

I. Приборы и принадлежности общего назначения

1. Скамья оптическая (или аппарат ФОС-115).

2. Выпрямитель переменного тока (30 В, 10 А).

3. Выпрямитель ВУП-2.

4. Вакуум-насос Комовского.

5. Вакуум-насос с электроприводом.

6. Громкоговоритель электродинамический,

7. Комплект электроснабжения КЭФ.

8. Комплект проводов соединительных,

9. Лазер газовый учебный с принадлежностя­ми.

10. Машина электрофорная.

11. Осветитель для теневого проецирования.

12. Преобразователь тока "Разряд-1" (или катушка Румкорфа).

13. Прибор для получения газов (полуавтома­тический).

14.Источник питания с регулируемым посто­янным напряжением (НОВ, 2 А).

15. Машина центробежная с принадлежностя­ми.

16. Тарелка к вакуум-насосу.

17. Осциллограф электронный с коммутато­ром.

18. Счетчик-секундомер цифровой с датчика­ми.

19. Усилители низкой частоты (УНЧ-5).

20. Столики подъемные.

21. Экран настольный.

22. Штатив универсальный.

23. Набор из четырех гирь-грузов.

24. Трансформатор универсальный.

25. Ящики-подставки.

26. Микрофон электродинамический.

27. Электродвигатель универсальный с при­надлежностями.

II. Приборы демонстрационные

1.Измерительные приборы и Принадлежности


1. Амперметр с гальванометром демонстраци­онный.

2. Вольтметр с гальванометром демонстраци­онный.

3. Весы настольные с открытым механизмом.

4. Весы технические демонстрационные.

5. Весы неравноплечие с принадлежностями.

6. Динамометры.

7. Манометр жидкостной.

8. Мановакуумметр.

9. Микроманометр с трубкой Пито.

10. Наборы тел равного объема и равной массы.

II. Ваттметр демонстрационный.

12.Счетчик электрической энергии.

13.Генератор звуковой частоты.

14.Гигрометр Ламбрехта.

15.Гигрометр волосяной.

16.Психрометр Августа.

17.Грузы наборные на 1 и 2 кг.

18.Термометр демонстрационный жидкостный

19. Термометр электрический

20. Линейка масштабная демонстрационная

21. Измеритель малых перемещений

22. Целиндр измерительных

23. Стробоскоп электронный

24. Часы песочные

25. Гальванометр зеркальный М 1032

2. ДВИЖЕНИЕ И СИЛЫ.

1. Ведерко Архимеда.

2. Держатели со спиральными пружинами.

3. Диск вращающийся с принадлежностями.

4. Камертон с пером.

5. Камертоны на резонансных ящиках с мо­лоточками.

6. Машина волновая.

7. Маятник в часах.

8. Маятник Максвелла.

9. Насос воздушный ручной.

10. Набор капилляров.

11. Набор из трех шариков.

12. Огниво воздушное.

13. Пресс гидравлический.

14. Пистолет двухсторонний баллистический.

15. Прибор для демонстрации невесомости.

16. Прибор для демонстрации независимости действия сил.

17. Прибор для демонстрации законов меха­ники.

18. Прибор для демонстрации теплоемкости тел.

19. Прибор для демонстрации теплопроводно­сти.

20. Прибор для изучения газовых законов.

21. Прибор для записи колебательного движения

22. Прибор для демонстрации волновых явлений,

23. Прибор для демонстрации закона сохране­ния импульса.

24. Пружина спиральная для демонстрации продольных волн.

25. Рычаг демонстрационный.

26. Сообщающиеся сосуды.

27. Стакан отливной.

28. Тележка самодвижущаяся.

29. Трубка Ньютона.

30. Трибометр демонстрационный.

31. Тележки легкоподвижные (пара).

32. Теплоприемник.

33. Трубка для демонстрации конвекции в жид­кости.

34. Шар с кольцом.

35. Шар Паскаля.

36. Шар для взвешивания воздуха.

37. Прибор для демонстрации давления в жид­кости.

38. Комплект блоков.

39. Шарики металлические разных диаметров.


3. ВЕЩЕСТВО

1. Батарея аккумуляторов.

2. Ванна с электродами.

3. Газоанализатор.

4. Камера для наблюдения следов а-частиц.

5. Катодные трубки (набор).

6. Модель броуновского движения.

7. Модель давления газа.

8. Модель для демонстрации рассеяния а-час­тиц.

9. Прибор для демонстрации расширения воды при ее замерзании.

10. Прибор для изучения зависимости сопро­тивления проводника от его геометрических размеров и материала.

11. Склянки Вульфа.

12. Стеклянные пластинки на нитяных подве­сах.

13. Счетчик Гейгера.

14. Термостолбик.

15. Термопара.

16. Чашки Петри.

17. Цилиндры свинцовые со стругом.

4. ПОЛЕ

1. Палочки из стекла и эбонита.

2. Трубка латунная на изолирующей ручке.

3. Штативы изолирующие (пара)

4. Султаны электрические.

5. Электроскоп.

6. Прибор для демонстрации спектров элек­трических полей.

7. Магнитная стрелка на подставке (пара).

8. Комплект полосовых и дугообразных маг­нитов.

9. Магнит дугообразный с хвостиком.

10. Маятники электростатические.

11. Катушка для демонстрации магнитного поля тока (на подставке со столиком) (пара).

12. Модель молекулярного строения магнита.

13. Магниты кольцевые керамические.

14. Электромагнит разборный.

15. Магазин сопротивлений демонстрационый

16. Звонок электрический демонстрационный.

17. Комплект приборов для демонстрации маг­нитных полей тока.

18. Прибор для демонстрации взаимодействия параллельных токов.

19. Комплект приборов для изучения электро­магнитных волн.

20. Конденсатор переменной емкости.

21. Машина магнитоэлектрическая.

22. Набор радиотехнический.

23. Набор полупроводниковых приборов.

24. Прибор для демонстрации взаимодействия электронного пучка с магнитным полем.

25. Прибор для демонстрации зависимости со­противления металлов от температуры.

26. Прибор для передачи электрической энергии

27. Электронно-лучевая трубка демонстраци­онная.

28. Панель с лампами и плавким предохрани­телем.

39. Комплект для демонстрации фотоэлемента.

40. Экран люминесцирующий.

41. Батарея солнечная.

42. Набор ползунковых реостатов.

43. Прибор для изучения законов геометриче­ской оптики.

44. Реостат рычажный.

45. Электрометры с принадлежностями.

5. ЭНЕРГИЯ

1. Машина Атвуда.

2. Желоб наклонный.

3. Модель водяной турбины.

4. Модель паровой турбины.

5. Модель ветродвигателя.

6. Модель нагнетательного и разрежающего насосов.

7. Модель двигателя внутреннего сгорания.

8. Модель гальванического элемента,

9. Модель свинцового аккумулятора

10. Модель коллекторного эл.двигателя

11. Модель генератора постоянного и переменного тока

12. Модель счетчика эл. Энергии

13. Модель цилиндра с поршнем для демонстрации взрыва горючей смеси

14. Модель ворота

15. Модель отбойного молотка

16. Модель водоструйного насоса

17. Модель ракеты

18. Модель крыла самолета

19. Лампа накаливания разной мощности и напряжения

6. ПОСУДА И ПРИСПОСОБЛЕНИЯ

  1. Воронки простые конусообразные

  2. Колбы конические

  3. Колбы плоскодонные

  4. Пробирки химические

  5. Комплект посуды и принадлежности для опытов и работ по физике

  6. Чашки кристаллизационные

  7. Набор стеклянных трубочек

  8. Трубки соединительные

  9. Кюветы фотографические

  10. Зажимы винтовые

  11. зажимы пробирочные

  12. набор пробочных сверл

  13. склянки с тубусом

  14. комплекты наконечников

  15. колбы Вюрца

  1. ПРИБОРЫ ЛАБОРАТОРНЫЕ

1Для фронтальных лабораторных работ

  1. Амперметры лабораторные

  2. Весы учебные с гирями

  3. Вольтметры лабораторные

  4. Динамометры учебные

  5. Зеркала плоские на колодке

  6. Калориметры

  7. Ключи замыкания тока

  8. Компасы

  9. Комплект проводов соединительных

  10. Катушки – мотки

  11. Коробка-сито

  12. Лента измерительная

  13. Линза выпуклая Р-65,Р130

  14. Двояко вогнутые линзы

  15. Лотки дугообразные

  16. Магниты прямые лабораторные

  17. Миллиамперметр

  18. Модели элю двигателя разборные

  19. Набор грузов по механике

  20. Наборы резисторов проволочные на 1,2,3,4 Ома

  21. Наборы тел по калориметрии

  22. Нагреватель электрический

  23. Набор брусков для измерения

  24. Приборы для измерения длины световой волны

  25. Приборы для изучения газовых законов

  26. Приборы для определения заряда электрона

  27. Реостат ползунковый

  28. Рычаги-линейки

  29. Резина полосовая

  30. Сетки миллиметровые на подставках

  31. Станы толстостенные

  32. Пробирки с пробками

  33. Термометры лабораторные

  34. Цилиндры измерительные с носиком 100 мл

  35. Эл. Магниты разборные с деталями

  36. Эл. осветители с колпачками

  37. Экраны матовые

  38. Экраны металлические со щелью

  39. Шарики диаметром 25 мм

  40. Штангенциркули

  41. Штативы лабораторные

  42. Пластинки стеклянные с косыми гранями

2 Для практикума

  1. Комплект по механике ( КМП-1 )

  2. Пистолет баллистический( лабораторный )

  3. Прибор для проверки закона сохранения импульса

  4. Счетчик импульсов ( лабораторный )

  5. Прибор для определения мощности эл. Двигателя

  6. Амперметр переменного тока Э-86

  7. Вольтметр переменного тока Э-87

  8. Генератор низкой частоты ( лабораторный )

  9. Гигрометр волосяной МВ-1 или МВК

  10. Источник эл. Питания для практикума

  11. Камера для наблюдения альфа частиц

  12. Камера для наблюдения Броуновского движения

  13. Катушка-моток

  14. Магнит прямой лабораторный

  15. Микрокалькулятор школьный

  16. Набор для определения модуля упругости

  17. Набор по электролизу

  18. Комплект приборов для изучения полупроводников

  19. Комплект «радиоприемник»

  20. Комплект эл. Измерительных приборов для практикума

  21. Микрометр МК-2.5 С 25

  22. Осциллограф лабораторный ОМШ-3М

  23. Прибор для измерения относительной влажности воздуха

  24. Прибор для измерения термического коэффициента сопротивления проволоки

  25. Прибор для изучения фотоэффекта

  26. Прибор эл. Измерительный комбинированый ( Авометр )

  27. Реостат ползунковый РПШ-2 , РПШ-5

29. Спектроскоп двухтрубный.

30. Термометр лабораторный от 0 до +50 °С с делениями 0,1 TJI-461V

31. Трансформатор лабораторный.

32. Прибор "Спектр".

33. Трубки спектральные ВТ-1.

IV. Печатные пособия

1. Портреты выдающихся физиков.

2. Таблица "Международная система единиц".

3. Таблица "Шкала электромагнитных волн".

4. Таблица "Периодическая система химиче­ских элементов Д.И.Менделеева".

Серия таблиц: "Механика", "Молекулярная физика", "Электродинамика", "Колебания и волны", "Оптика", "Атомная физика".

V. Экранные пособия Диапозитивы

1. Взаимодействие тел.

2. Давление твердых тел, жидкостей и газов.

3. Законы сохранения.

4. Механические колебания и волны.

5. Основы динамики. '

6. Основы кинематики.

7. Первоначальные сведения о строении веще­ства.

8. Работа и мощность. Энергия.

9. Световые явления.

10. Тепловые явления.

11. Электрические явления.

12. Электромагнитные явления.

Диафильмы

1. Атмосферное давление.

2. Атом и его строение.

3. Гидравлические машины и инструменты.

4. Давление в природе и технике.

5. Движение тела, брошенного под углом к горизонту.

6. Движение тела по наклонной плоскости.

7. Из истории электрического освещения.

8. Полупроводники и их применение.

9. Физика и защита окружающей среды.

10. Магнитное поле Земли,

11. Плазма, ее свойства и применение в тех­нике.

12. Оптические приборы.

13. Способы теплопередачи,

14. Тепловые двигатели.

15. Что изучает физика,

16. Электрические станции.

17. Электроизмерительные приборы.

18. Переменный ток.

19. Волновые свойства света.

20. Электронагревательные приборы.

21. Электромагнитные колебания.

Кинофрагменты или видеофрагменты

1. Давление газа.

2. Движение тела по окружности.

3. Законы Ньютона.

4. Импульс тела. Закон сохранения импульса.

5. Использование атмосферного давления в технике.

6. Механические колебания и волны.

7. Невесомость.

8. Опыт Кавендиша.

9. Относительность механического движения.

10. Принцип Гюйгенса.

11. Движение молекул.

12. Трение.

13. Энергия рек и ветра.

Кинофильмы или видеофильмы

1. Бытовые электроприборы.

2. Воздухоплавание.

3. Движение под действием силы тяжести.

4. Диффузия.

5. Изменение агрегатного состояния вещества.

6. Искусственные спутники Земли.

7. Атомная электроэнергетика.

8. Применение законов Ньютона.

9. Резонанс.

10. Силы природы.

11. Правила электробезопасности в кабинете физики.

12. Переменный ток.

13. Физические основы космических полетов.

14. Электричество в технике.

15. Электрические явления.

16. Электромагниты и их применение.

17. Электронно-лучевая трубка.

18. Основы молекулярно-кинетической тео­рии.

19. Электронная теория проводимости.

20. Образование и распространение электро­магнитных колебаний.

21. Волновые и корпускулярные свойства света.


содержание


ВВЕДЕНИЕ 2

ГЛАВА 1. СОВРЕМЕННЫЕ ПРЕДСТАВЛЕНИЯ ОБ ОБОРУДОВАНИИ И ОСНАЩЕНИИ КАБИНЕТА ФИЗИКИ СРЕДНЕЙ ШКОЛЫ.





1.История становления кабинетной системы в России.


4

2.Особенности оснащения рабочего места учителя в современном кабинете физики

14

3.Дополнительные усовершенствования оборудования кабинета физики.

23



ГЛАВА 2. КАБИНЕТ ФИЗИКИ СЕЛЬСКОЙ ШКОЛЫ В УСЛОВИЯХ РАЗНОУРОВНЕВОГО ОБУЧЕНИЯ



1.Некоторые особенности оборудования кабинета физики в сельских школах.

28
2.Рабочее место ученика при реализации разноуровневого обучения. Из опыта оборудования кабинета физики 37

3. Подготовка студентов к работе в кабинете физики в условиях разноуровневого обучения


50
ЗАКЛЮЧЕНИЕ 60
ЛИТЕРАТУРА 62

ПРИЛОЖЕНИЕ 64


МИНИСТЕРСТВО ОБЩЕГО И ПРОФЕССИОНАЛЬНОГО ОБРАЗОВАНИЯ РОССИЙСКОЙ ФЕДЕРАЦИИ


АРЗАМАССКИЙ ПЕДАГОГИЧЕСКИЙ ИНСТИТУТ ИМ. А.П.ГАЙДАРА


Кафедра теории и методики обучения математике и физике


ДИПЛОМНАЯ РАБОТА


КАБИНЕТНАЯ СИСТЕМА В УСЛОВИЯХ РАЗНОУРОВНЕВОГО ОБУЧЕНИЯ


Выполнила: студентка 5 курса физмата

Власова Ю.В.


Научный руководитель: к.п.н., доцент

Фролов И.В.


Рецензент: к.п.н. Володин А.М.


г. Арзамас, 1999 г.


© 2012 Рефераты, курсовые и дипломные работы.