рефераты
Главная

Рефераты по рекламе

Рефераты по физике

Рефераты по философии

Рефераты по финансам

Рефераты по химии

Рефераты по хозяйственному праву

Рефераты по цифровым устройствам

Рефераты по экологическому праву

Рефераты по экономико-математическому моделированию

Рефераты по экономической географии

Рефераты по экономической теории

Рефераты по этике

Рефераты по юриспруденции

Рефераты по языковедению

Рефераты по юридическим наукам

Рефераты по истории

Рефераты по компьютерным наукам

Рефераты по медицинским наукам

Рефераты по финансовым наукам

Рефераты по управленческим наукам

Психология и педагогика

Промышленность производство

Биология и химия

Языкознание филология

Издательское дело и полиграфия

Рефераты по краеведению и этнографии

Рефераты по религии и мифологии

Рефераты по медицине

Рефераты по сексологии

Рефераты по информатике программированию

Краткое содержание произведений

Реферат: Магнитные измерения

Реферат: Магнитные измерения

Министерство образования Украины

Запорожский государственный технический университет

Кафедра ЕПА

Магнитные
измерения

Выполнил студент группы Э-219                                        Шило С.И.

Принял                                                                                  Андрияс И.А.

2000


Содержание


Ø Общие сведения о магнитных измерениях

°     Определение задач магнитных измерений

°     Магнитные величины и их основные характеристики

°     Электродинамический логометр

Ø Принципы построения приборов и способы измерения магнитного потока, магнитной индукции и напряженности магнитного поля

°     Применение баллистического гальванометра

°     Флюксметр

°     Пермеаметры

°     Исследование стали в переменном магнитном поле

°     Осциллографирование кривой гистерезиса.

Ø Список использованной литературы


Введение

Задачи магнитных измерений. Область электроизмерительной техники, которая занимается измерениями магнитных величин, обычно называют магнитными измерениями. С помощью методов и аппаратуры магнитных измерений решаются в настоящее время самые разнообразные задачи. В качестве основных из них можно назвать следующие:

·     измерение магнитных величин (магнитной индукции, магнитного потока, магнитного момента и т. д.);

·     определение характеристик магнитных материалов;

·     исследование электромагнитных механизмов;

·     измерение магнитного поля Земли и других планет;

·     изучение физико-химических свойств материалов (магнитный анализ);

·      исследование магнитных свойств атома и атомного ядра; определение дефектов в материалах и изделиях (магнитная дефектоскопия) и т. д.

Несмотря на разнообразие задач, решаемых с помощью магнитных измерений, определяются обычно всего несколько основных магнитных величин: магнитный поток Ф, магнитная индукция В, напряженность магнитного поля H, намагниченность М, магнитный момент т и др. Причем во многих способах измерения магнитных величин фактически измеряется не магнитная, а электрическая величина, в которую магнитная величина преобразуется в процессе измерения. Интересующая нас магнитная величина определяется расчетным путем на основании известных зависимостей между магнитными и электрическими величинами. Теоретической основой подобных методов является второе уравнение Максвелла, связывающее магнитное поле с полем электрическим; эти поля являются двумя проявлениями особого вида материи, именуемого электромагнитным полем.

Используются в магнитных измерениях и другие (не только электрические) проявления магнитного поля, например механические, оптические.

Настоящая глава знакомит читателя лишь с некоторыми способами определения основных магнитных величин и характеристик магнитных материалов.

Меры магнитных величин. Единицы магнитных величин воспроизводятся с помощью соответствующих эталонов. У нас в стране имеется первичный эталон магнитной индукции и первичный эталон магнитного потока. Для передачи размера единиц магнитных величин от первичных эталонов рабочим средствам измерений используют рабочие эталоны, образцовые и рабочие меры магнитных величин и образцовые средства измерений. Примером передачи размера единиц может служить градуировка или поверка приборов для измерения магнитных величин, которая проводится с помощью мер магнитных величин и образцовых средств измерений.

В качестве меры магнитной индукции (напряженности магнитного поля) могут быть использованы катушки специальной конструкции (например, кольца Гельмгольца, соленоид), по обмоткам которых протекает постоянный ток, постоянные магниты.

В качестве меры магнитного потока обычно используют взаимоиндуктивную меру магнитного потока, состоящую из двух гальванически не связанных между собой обмоток и воспроизводящую магнитный поток, сцепляющийся с одной из обмоток, когда по другой обмотке протекает электрический ток.

Принципы построения приборов и способы измерения магнитного потока, магнитной индукции и напряженности магнитного поля

Принципы построения приборов для измерения магнитных величин. В настоящее время известно много разнообразных приборов и способов для измерения магнитной индукции, магнитного потока и напряженности магнитного поля. Как правило, прибор для измерения магнитных величин состоит из двух частей — измерительного преобразователя, назначением которого является преобразование магнитной величины в величину иного вида (электрическую, механическую), более удобную для дальнейших операций, и измерительного устройства для измерения выходной величины измерительного преобразователя.

Измерительные преобразователи, входной величиной которых является магнитная величина, называют магнитоизмерительными и в соответствии с видом выходной величины делят на три основные группы: магнитоэлектрические преобразователи (выходная величина электрическая), магнитомеханические (выходная величина механическая) и магнитооптические (выходная величина оптическая).

В каждой из этих групп много разновидностей преобразователей, основой для создания которых служат те или иные физические явления. В качестве основных, наиболее широко используемых явлений могут быть названы следующие:

Ø  явление электромагнитной индукции;

Ø  силовое взаимодействие измеряемого магнитного поля с полем постоянного магнита или контура с током;

Ø  гальваномагнитные явления;

Ø  явление изменения магнитных свойств материалов в магнитном поле;

Ø  явления, возникающие при взаимодействии микрочастиц с магнитным полем.

Вторая часть прибора для измерения магнитных величин может быть либо обычным прибором для измерения электрической величины, либо прибором со специальными характеристиками.


1. Применение баллистического гальванометра

В лабораторной практике при исследованиях электрических машин, аппаратов, трансформаторов, при испытаниях магнитных материалов, применяемых в производстве на электротехнических заводах, часто возникает необходимость измерения магнитных величин, как то: магнитного потока, магнитной индукции, магнитодвижущей силы, напряженности магнитного поля, магнитной проницаемости, а также потерь на гистерезис и вихревые токи в ферромагнитных материалах.

В большинстве случаев магнитные величины измеряют косвенным методом — путем измерения тех или иных электрических величин (тока, э.д.с., количества электричества), функционально связанных с измеряемой магнитной величиной. Измерения магнитных величин в настоящее время составляют большой самостоятельный раздел измерительной техники с глубоко развитой теорией.

Некоторые методы и аппаратуру для магнитных измерений используют не только в лабораториях, специализированных в области магнитных измерений, но также и в более универсальных лабораториях, занимающихся испытаниями и исследованиями электрических машин и аппаратов. К числу широко распространенных магнитных измерений относятся:

а) измерения при помощи баллистического гальванометра;

б) измерения с помощью флюксметра;

в) определение потерь в стали ваттметровым методом;

Подпись: Рис. 1. Схема, поясняющая принцип измерения  магнитного  потока   при    помощи баллистического   гальванометраг) измерения переменных магнитных потоков при помощи потенциометра.

На рис.1 приведена схема, поясняющая общий принцип измерения постоянного магнитного потока с помощью баллистического гальванометра. Для измерения магнитного потока к гальванометру необходимо присоединить измерительную рамку с некоторым числом витков w, находящуюся в исследуемом постоянном магнитном поле. Витки рамки будут охватывать некоторый поток Фх.

В основу действия данного прибора положен принцип, согласно с которым первый наибольший отброс указателя баллистического гальванометра пропорционален числу   потокосцеплений магнитного потока с витками измерительной рамки.

Подпись: Рис. 2. Схема испытания кольцевой пробы стали при помощи баллистического гальванометраНа рис. 2 приведена практическая схема применения баллистического гальванометра для снятия кривой намагничивания, т. е. для определения зависимости B=f(H). На кольцевой сердечник 1 из исследуемой стали накладывают две обмотки: намагничивающую 2 и измерительную 3. К измерительной обмотке подключается баллистический гальванометр. Намагничивающая обмотка питается от источника постоянного тока 4 через амперметр и реостат. Переключатель 5 позволяет изменять направление тока в обмотке.

Напряженность магнитного поля внутри кольцевого соленоида (тороида) может быть подсчитана на основании закона полного тока по формулам:

где       wi — число витков намагничивающей обмотки;

      l — значение тока, A;

            lср — средняя длина силовой магнитной линии в тороиде, отмеченная на рис. 2 пунктиром и легко вычисляемая по геометрическим размерам испытуемого образца.

Для определения зависимости B=f(H) в намагничивающей обмотке устанавливают ток, соответствующий заданному значению H и заранее подсчитанный по приведенной формуле, затем быстро изменяют направление тока в обмотке при помощи переключателя 5. При перемене направления тока магнитный поток в сердечнике изменится по некоторому сложному закону от значения +Ф до значения —Ф, т. е. изменение потока в измерительной рамке будет равно 2Ф, и с учетом этого  подсчитывают поток в сердечнике:

Зная поток и поперечное сечение испытуемого образца, находят значение магнитной индукции

где s — сечение образца, см2.

Найденное значение В и ранее вычисленное значение Н позволяют подсчитать магнитную проницаемость

2. Флюксметр

Весьма удобным прибором для измерения постоянного магнитного потока является флюксметр, называемый иногда веберметром или милливеберметром.

Флюксметр представляет собой прибор магнитоэлектрической системы, в котором подвод тока к подвижной рамке осуществляется не через пружинки, а через безмоментные спирали, т. е. в его измерительном механизме отсутствует противодействующий момент. Вследствие этого указатель флюксметра при отсутствии тока в обмотке рамки может занимать любое положение относительно шкалы.

Подпись: Рис. 3. Схема устройства и применения флюксметраФлюксметр, как и большинство гальванометров магнитоэлектрической системы, имеет бескаркасную рамку, однако он рассчитывается так, чтобы при внешнем сопротивлении, меньшем 20 ом, подвижная часть оказывалась в режиме переуспокоения. Как и у баллистического гальванометра, подвижная часть флюксметра выполняется со сравнительно большим моментом инерции.

На рис. 3 приведена схема, поясняющая процесс измерения магнитного потока при помощи флюксметра. Для измерения магнитного потока, например постоянного магнита 1, к зажимам флюксметра присоединяется измерительная рамка 2, состоящая из достаточного количества витков медной проволоки. Если эту рамку надеть на испытуемый магнит так, как это показано на рис. 12.3, то во время перемещения рамки 2 в ней будет наводиться э.д.с., создающая ток в цепи прибора. Под действием этого тока подвижная рамка 3 прибора начнет поворачиваться. После того как измерительная рамка 2 будет приведена в положение, показанное на рис 3, и остановлена, э.д.с., действовавшая в ней, исчезнет, но рамка 3 по инерции будет еще немного продолжать двигаться. Переместившись на некоторый угол a от начального положения, рамка 3 остановится.

Теория флюксметра показывает, что движение рамки прекращается после того, как число потокосцеплений витков рамки 3 с потоком магнита 4 изменится на столько же, сколько создалось потокосцеплений измерительной рамки 2 с измеряемым потоком Ф.

Если успокоение прибора достаточно велико, для чего сопротивление цепи рамки не должно превышать некоторый определенный для данной конструкции предел (обычно 8—20 Oм), то между углом поворота стрелки флюксметра и измеряемым магнитным потоком будет иметь место простая зависимость

где             Ф – измеряемый поток;

                  w — число витков измерительной рамки 2;

                  Сф— постоянная флюксметра в максвелл-витках или вебер-витках на одно деление шкалы.

Определение постоянной флюксметра Сф производится таким же способом, как и определение постоянной баллистического гальванометра, с применением образцовых взаимных индуктивностей.

При описанном устройстве флюксметра работа с ним затрудняется из-за невозможности установки его подвижной части в нулевое положение, так как при снятии катушки 2 с испытуемого магнита рамка 3 хотя и получит толчок в обратном направлении, но не придет точно в исходное нулевое положение. Это обусловлено неизбежным необратимым рассеиванием энергии в виде тепла, выделяемого током в цепи рамки, а также потерями энергии на трение в опорах подвижной части прибора и трение ее о воздух. В изготовляемых микровеберметрах имеется дополнительное приспособление — электромагнитный корректор, позволяющий устанавливать стрелку прибора в любое положение, в частности и на нулевую отметку. Это приспособление, встроенное в корпус прибора, схематически показано на рис. 12.3 и обведено пунктиром. Устройство его подобно механизму магнитоэлектрического прибора: между полюсами постоянного магнита помещена рамка 5, которую можно поворачивать от руки головкой 6.

Для изменения положения указателя флюксметра относительно его шкалы, в частности для установки указателя на нулевую отметку, переключатель 7 переводят в положение, отмеченное буквой К, при котором рамка прибора соединяется с рамкой корректирующего устройства. При этой схеме поворот рамки 5 головкой 6 будет вызывать соответствующее изменение положения указателя флюксметра. Установив указатель флюксметра в желаемое положение, переводят переключатель 7 в рабочее положение, отмеченное на рис. 3 буквой И.

Флюксметр является прибором менее чувствительным, чем баллистический гальванометр, и поэтому не может применяться для измерения слабых магнитных полей.

При измерении достаточно сильных полей флюксметр имеет ряд преимуществ по сравнению с баллистическим гальванометром. Постоянная флюксметра практически не изменяется при изменении внешнего сопротивления цепи рамки в достаточно широких пределах от нуля до 8—20 Ом Наибольшее допустимое значение этого сопротивления указано на шкале прибора. Показания флюксметра остаются правильными при изменении в широких пределах скорости удаления (или внесения) измерительной рамки из магнитного поля. При работе с баллистическим гальванометром эта операция должна производиться очень быстро (за 0,1—0,2 секунды) Указатель флюксметра, отклонившись на определенный угол, остается в этом положении неподвижным достаточно долго для спокойного отсчета показаний. В противоположность этому, при работе с баллистическим гальванометром для обеспечения правильности отсчета максимального отклонения указателя требуется большое напряжение внимания.

3. Пермеаметры

Подпись: Рис  4.   ПермеаметрИсследование свойств стали путем снятия кривой намагничивания кольцевой пробы (см рис. 12 2) дает наиболее точные результаты, но практически неудобно из за трудности изготовления образца и из-за сложности наложения на него обмоток. Эти затруднения отпадают при применении пермеаметров — устройств, позволяющих быстро и удобно осуществлять относительно равномерное намагничивание образцов стали, имеющих форму стержней круглого или прямоугольною сечения

На рис. 4а, а дан внешний вид одной из конструкций пермеаметра, а на рис 4б приведена схема включения его.

Основными частями этого пермеаметра являются массивная рама 1 из мягкой стали с высокой магнитной проницаемостью и две обмотки w1 и w2. Через боковые отверстия в раму вводится испытуемый образец Р, плотно зажимаемый при помощи специальных конических втулок. Обмотка w1 является намагничивающей, обмотка w2 служит для включения баллистического гальванометра. Переключатель 2 позволяет включать и изменять направление тока в намагничивающей обмотке. Порядок определения магнитного потока в испытуемом образце остается таким же, как и при испытании кольцевой пробы. Некоторое затруднение возникает с вычислением напряженности магнитного поля Н. Вычисление ее по формуле

где l — длина образца, было бы справедливо только при бесконечно малом магнитном сопротивлении ярма и стыков пробы с ярмом Сопротивлением этим можно пренебречь при испытании материалов с низкой магнитной проницаемостью   (чугун,  поделочные стали),

а— внешний вид   б — схема включения

при испытании же проб с высокой магнитной проницаемостью необходимо при вычислении напряженности поля вводить поправки. Эти поправки даются в виде кривых срезывания, прилагаемых к прибору.

Амперметры, предназначенные для пермеаметров, иногда градуируют не в амперах, а в значениях напряженности магнитного поля исходя из приведенной выше зависимости между Н и I.

4. Исследование стали в переменном магнитном поле

Магнитные свойства стали, определенные описанными выше способами на постоянном токе, позволяют определить характеристики стали и при переменном магнитном потоке В частности, по площади петли гистерезиса можно подсчитать потери на гистерезис при переменном потоке. По эмпирическим формулам могут быть вычислены и потери на вихревые токи Подобные вычисления дают только приближенные результаты, поэтому желательно определять характеристики электротехнических сталей на переменном токе путем непосредственных измерений.

Подпись: Рис.5 Аппарат для определения потерь в сталиВаттметровый метод. На рис 5 дан общий вид, а на рис. 6 приведена схема аппарата для определения ваттметровым методом потерь в пробах листовой стали, применяемой для   изготовления магнитопроводов электрических машин и трансформаторов. Четыре гетинаксовые втулки 1 прямоугольного сечения укреплены на общем основании, образуя квадрат. На втулках помещены две обмотки с равным числом витков: w1 намагничивающая и w2 — измерительная. Во втулки закладывают пакеты 2 из листов испытуемой стали. Стыки пакетов тщательно стягиваются при помощи особых зажимов, не показанных на схеме. Для устранения потерь в стыках в них закладывают тонкие прокладки из электротехнического картона, толщина которых предварительно тщательно измеряется микрометром и в дальнейшем учитывается при подсчете намагничивающих ампер-витков.

Намагничивающая обмотка питается от источника переменного " тока с регулируемой частотой,  измеряемой частотомером Hz. К вольтметру V и к параллельной обмотке ваттметра подается напряжение от измерительной обмотки. Переменный ток, проходя по намагничивающей обмотке, создает в сердечнике переменный магнитный поток с амплитудным значением Фм.

Этот поток создает в измерительной обмотке э.д.с

Подпись: Рис. 6. Схема для определения потерь в стали ваттметровым методомВаттметр, включенный по схеме (см. рис.6), измеряет сумму мощности, затрачиваемой на покрытие потерь в стали, и мощности, потребляемой вольтметром и параллельной обмоткой ваттметра. Учитывая это, потери в образце определяют по формуле

где Рвт— показание ваттметра,

RB—сопротивление вольтметра;

Rm —сопротивление параллельной обмотки ваттметра.

Индукционный метод. Для исследования свойств образцов стали при намагничивании переменным током, а также для определения характеристик готовых магнитопроводов переменного тока широко применяют индукционный метод измерения магнитного потока.

Индукционный метод по существу заключается в измерении э.д.с., индуктированной исследуемым переменным магнитным потоком в измерительной обмотке с известным числом витков.

Подпись: Рис. 7 Измерение магнитного потокаИзмерение индуктированной э.д.с. может производиться различными средствами, одним из которых является потенциометр переменного тока. На рис. 7 дан пример использования потенциометра для измерения переменного магнитного потока в какой-либо части сложной магнитной цепи.

Измерительную рамку 1 с известным числом витков помещают в данный аппарат или машину так, чтобы она охватывала весь магнитный поток, подлежащий измерению.

Электродвижущую силу Е, возникающую в рамке 1, измеряют потенциометром переменного тока, после чего магнитный поток подсчитывается по формуле

По найденному значению Фm, зная размеры магнитопровода, можно подсчитать индукцию в данном участке магнитной цепи по формуле

где s — сечение магнитопровода.

Этой же формулой пользуются и для определения магнитной индукции в каком-либо воздушном зазоре магнитной цепи, если можно пренебречь явлением распора силовых линий.

При необходимости измерить индукцию в воздушном зазоре магнитной цепи, когда нельзя пренебречь явлением распора силовых магнитных линий, помещают непосредственно в зазор миниатюрную измерительную рамку с известной площадью sp. В этом случае определяется среднее значение индукции в том месте зазора, где находится рамка, по формуле

где sp — площадь рамки, м2.

Особым преимуществом описанного способа измерения магнитного потока является отсутствие тока в измерительной рамке. Это позволяет произвести измерение без нарушения нормального режима и распределения магнитных потоков в исследуемом аппарате.

Измерение по схеме (рис. 12.7) дает возможность определять не только модуль, но и фазу магнитного потока, и выяснять таким путем полную картину электрических и магнитных процессов в данной конструкции.

При помощи потенциометра, в частности, можно снимать основную кривую намагничивания кольцевой пробы на переменном токе и определять потери в образцах стали.

Нужно отметить, что при работе с потенциометром переменного тока применяется вибрационный гальванометр, настраиваемый на основную частоту, поэтому измерение магнитного потока с помощью потенциометра дает хорошие результаты только в тех случаях, когда форма кривой измеряемого потока не очень существенно отличается от синусоиды.

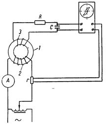
Подпись: Рис. 8 Схема для осциллографирования кривой гистерезиса5. Осциллографирование кривой гистерезиса.

Кривую гистерезисного цикла можно снять по точкам на постоянном токе при помощи баллистического гальванометра, однако она будет несколько отличаться от реальной кривой при работе магнитопровода с переменным магнитным потоком. Существует способ, позволяющий визуально наблюдать кривую гистерезисного цикла при намагничивании образца переменным током на экране электронного осциллографа. Применяемая для этого схема приведена на рис.8. Подлежащий исследованию сердечник в форме, например, кольца 1, набранного из листов стали, снабжается намагничивающей 2 и измерительной 3 обмотками. Необходимое значение намагничивающего тока устанавливается по амперметру А. Напряжение с шунта r подается на пластины горизонтального отклонения электронного осциллографа; отклонение луча по горизонтали в каждый данный момент будет пропорционально намагничивающему току и соответственно напряженности поля Н, мгновенное значение падения напряжения на конденсаторе пропорционально мгновенному значению индукции в образце. Это напряжение подается на пластины вертикального отклонения осциллографа, и на экране получается изображение кривой гистерезисного цикла.

Кривая гистерезисного цикла, получаемая описанным способом на экране осциллографа, и по форме и по площади отличается от кривой, снятой с данного образца на постоянном токе с помощью баллистического гальванометра. Причина этого заключается в том, что площадь гистерезисной кривой, снимаемой на постоянном токе, определяется только потерями на гистерезис, а на экране осциллографа получается кривая, площадь которой соответствует сумме потерь на гистерезис и на вихревые токи.


Литература

1.  Таранов С.Г., Феврлёва Н.Е. Магнитные измерения

2.  Ю.Н. Маслов Магнитные измерения и приборы

3.  Ю.В. Селезнев Методы и устройства магнитных и электрических измерений


© 2012 Рефераты, курсовые и дипломные работы.