рефераты
Главная

Рефераты по рекламе

Рефераты по физике

Рефераты по философии

Рефераты по финансам

Рефераты по химии

Рефераты по хозяйственному праву

Рефераты по цифровым устройствам

Рефераты по экологическому праву

Рефераты по экономико-математическому моделированию

Рефераты по экономической географии

Рефераты по экономической теории

Рефераты по этике

Рефераты по юриспруденции

Рефераты по языковедению

Рефераты по юридическим наукам

Рефераты по истории

Рефераты по компьютерным наукам

Рефераты по медицинским наукам

Рефераты по финансовым наукам

Рефераты по управленческим наукам

Психология и педагогика

Промышленность производство

Биология и химия

Языкознание филология

Издательское дело и полиграфия

Рефераты по краеведению и этнографии

Рефераты по религии и мифологии

Рефераты по медицине

Рефераты по сексологии

Рефераты по информатике программированию

Краткое содержание произведений

Реферат: Матричные фотоприемники

Реферат: Матричные фотоприемники

МИНИСТЕРСТВО ОБРАЗОВАНИЯ РЕСПУБЛИКИ МОЛДОВА


Технический Университет Молдовы


Факультет Радиоэлектроники


Кафедра Телекоммуникаций


Курсовая работа

На тему:


Матричные фотоприемники


Выполнил Борденюк В.М

студент Гр.TLC-023


Проверил

Преподаватель Морозова В.А


Кишинев 2004


Содержание


Введение .


1 Основные теоретические положения, физические эффекты, фотопроводимость.


2 Принцип работы прибора.


3 Анализ параметров , характеристика конструкций.


4 Технология изготовления.


5 Принципиальная схема


6 Область применения.


7 Выводы : перспективы развития.


Библиография.


Введение


В наши дни прогресс в различных областях науки и техники немыслим без приборов оптической электроники. Оптическая электроника уже давно играет ведущую роль в жизни человека. А с каждым годом ее внедрение во все сферы человеческой деятельности становится все интенсивнее. И этому есть свои причины. Устройства оптоэлектроники имеют ряд отличий от других устройств. Можно выделить следующие их достоинства.

а) Высокая информационная емкость оптического канала, связанная с тем, что частота световых колебаний (около 1015 Гц) в 103-104 раз выше, чем в освоенном радиотехническом диапазоне. Малое значение длины волны световых колебаний обеспечивает высокую достижимую плотность записи информации в оптических запоминающих устройствах (до 108 бит/см2).

б) Острая направленность светового излучения, обусловленная тем, что угловая расходимость луча пропорциональна длине волны и может быть меньше одной минуты. Это позволяет концентрированно и с малыми потерями передавать электромагнитную энергию в заданную область пространства. В малогабаритных электронных устройствах лазерный луч может быть направлен на фоточувствительные площадки микронных размеров.

в) Возможность двойной – временной и пространственной модуляции светового луча. Минимальная элементарная площадка в плоскости, перпендикулярной направлению распространения, которая может быть выделена для независимой модуляции части луча близка к 2(108 см2). Это позволяет производить параллельную обработку информацию, что очень важно при создании высокопроизводительных комплексов.


г) Так как источник и приемник в оптоэлектронике не связаны друг с другом электрически, а связь между ними осуществляется только посредством светового луча (электрически нейтральных фотонов), они не влияют друг на друга. И поэтому в оптоэлектронном приборе поток информации передается лишь в одном направлении – от источника к приемнику. Каналы, по которым распространяется оптическое излучение, не воздействуют друг на друга и практически не чувствительны к электромагнитным помехам (отсюда и высокая помехозащищенность).

д) возможность непосредственного оперирования со зрительно воспринимаемыми образами: фотосчитывание, визуализация (например, на жидких кристаллах).

Любое оптоэлектронное устройство содержит фотоприемный блок.


Существующая в настоящее время потребность ускоренной переработки возрастающих объемов информации ставит значительные трудности в использовании современной вычислительной техники. Трудности связаны прежде всего с недостаточными быстродействиями и объемом памяти ЭВМ. Применяемые в современных ЭВМ типы запоминающих устройств с последовательной выборкой при Основное емкости 107-109 бит имеют быстродействие порядка десятков и сотен секунд.


Запоминающее устройство (ЗУ) на магнитных сердечниках , а также полупроводниковая память ,хотя удовлетворяют требованиям по быстродействию (10-6  ,  10 -7  ) б, недостаточны по объему (106 -105 )   бит.


В ряде вышедших за последние годы работ показано , что ЗУ ,созданные на основе оптоэлектронных методов обработки информации , могут удовлетворить высоким требованиям как по быстродействию . так и по объему обрабатываемой информации.


Параметры таких устройств весьма сильно зависят от характеристик составных элементов. В том числе и от фотоприемных матриц , С помощью которых производится считывание информации.


1 Основные теоретические положения, физические эффекты, фотопроводимость.


1.1  Фотоприемники
        Фотоприемники предназначены для преобразования входного оптического сигнала в электрический. Различают следующие виды фотоприемников:
                                                                1. фотоэлемент;
                                                                2. фотоэлектронный умножитель;
                                                                3. фотодиод p-n-типа;
                                                                4. фотодиод p-i-n-типа;
                                                                5. лавинный фотодиод;
                                                                6. фототранзистор;
                                                                7. фототиристор.
В технике оптической связи нашли применение, в основном, различные типы фотодиодов. В фотодиодах оптическое излучение преобразуется в электрические сигналы за счет явления внутреннего фотоэффекта, при котором в области p-n- перехода полупроводника поглощаемый фотон образует пару новых носителей заряда – электрон и дырку. При отсутствии внешнего поля, в области p-n-перехода существует внутреннее электрическое поле, препятствующее движению носителей. При облучении перехода фотонами света возникают электронно-дырочные пары. Поле p-n-перехода пространственно разделяет электроны и дырки, и создает тем самым фото-ЭДС между смежными областями кристалла. За счет этого образуется ток (фототок), вызванный движением электронов по внешней цепи.


Диод p-n-типа при наличии обратного смещения, созданного внешней электрической цепью создает обедненную область, в которой отсутствуют носители и действует сильное электрическое поле.  Эта область образована неподвижными положительно заряженными атомами донора в n-области и неподвижными отрицательно заряженными атомами акцептора в p-области. Если теперь осветить фотодиод, то возникшие носители (электроны и дырки) ускоряются в этом поле и движутся в n-слой (электроны) и в p-слой (дырки). Так фотодиод отрабатывает световые сигналы. Ширина обедненной области зависит от концентрации примесей и величины напряжения смещения. Чем меньше примесей, тем шире обедненная область. Положение и ширина поглощающей области зависят от длины волны падающего света и от материала фотодиода. Чем сильнее поглощается свет, тем тоньше поглощающая область. Ширину обедненного слоя можно увеличить, повысив напряжение смещения, но в таком обедненном слое очень слабое по напряженности поле. Для устранения этого недостатка была создана p-i-n-структура фотодиода. В такой структуре между p- и n- слоями помещен слой полупроводника с высоким сопротивлением и толщиной в несколько десятков микрометров. В таком фотодиоде свет падает на i-слой и носители ускоряются сильным полем в этом слое. Это понижает инертность и повышает частоту преобразования до нескольких гигагерц. Для повышения чувствительности увеличивают светопоглощающую поверхность, а для понижения емкости перехода повышают напряжение обратного смещения.


Чаще всего p-i-n-фотодиоды на длину волны 0,85 мкм изготавливают из кремния (Si), а на большие длины волн (1,2 – 1,6 мкм) – из германия (Ge), InGaA sили InGaAsP.

Лавинные фотодиоды (ЛФД или APD-фотодиоды). Рассмотренные типы фотодиодов только отдают во внешнюю цепь электрический ток, вызванный светом, но не усиливают его. Ток на их выходе обычно равен нескольким наноамперам или меньше. В отличие от них ЛФД усиливает фототок.
 
 Основное отличие ЛФД от PIN фотодиодов заключается в наличии дополнительного p-слоя. Обратное смещение при этом сильно увеличивается и расширяет обедненный слой до размеров i-слоя, а напряженность электрического поля в нем возрастает. Электронно-дырочные пары, рожденные светом, разделяются и ускоряются этим полем в обедненном слое, получая энергию, превышающую энергию ионизации атомов кристалла. Сталкиваясь затем с нейтральными атомами, носители вызывают увеличивающееся в геометрической прогрессии рождение электронов и дырок. При явлении, называемом лавинным эффектом коэффициент усиления возрастает с увеличением обратного смещения и достигает значений порядка 1000 .
ЛФД имеют высокое быстродействие и их пороговая частота достигает нескольких гигагерц. К недостаткам этих приборов можно отнести сильную температурную зависимость коэффициента усиления, нелинейность преобразования и малую площадь рабочей поверхности (0,05 мм2).

Из большого числа фотоприемных устройств (фотодиодные и фототранзисторные приборы , электровакуумные и твердотельные видиконы фотоэлектронные умножители и др. ) наиболее полно удовлетворяют требованиям оптоэлектронных устройств обработки информации твердотельные матричные фотоприемники.


В настоящее время в основном применяются дискретные и гибридные матрицы фотоприемников .

Дискретные матрицы фотоприемников с малым геометрическими размерами и небольшим количеством элементов создаются из отдельных кремниевых фотодиодов.

Гибридная матрица фотоприемника имеет большой счет интеграции и разрабатываются на базе специально созданных кремниевых линеек ,каждая из которых содержит одно количество элементов.


.


1.2 .ПРИНЦИП ДЕЙСТВИЯ ФОТОДИОДА


Полупроводниковый фотодиод – это полупроводниковый диод, обратный ток которого зависит от освещенности.

Обычно в качестве фотодиода используют полупроводниковые диоды с p-n переходом, который смещен в обратном направлении внешним источником питания.

При поглощении квантов света в p-n переходе или в прилегающих к нему областях образуются новые носители заряда. Неосновные носители заряда, возникшие в областях, прилегающих к p-n переходу на расстоянии, не превышающей диффузионной длины, диффундируют в p-n переход и проходят через него под действием электрического поля.


То есть обратный ток при освещении возрастает. Поглощение квантов непосредственно в p-n переходе приводит к аналогичным результатам. Величина, на которую возрастает обратный ток, называется фототоком.

Свойства фотодиода можно охарактеризовать следующими характеристиками.

а) вольт-амперная характеристика фотодиода представляет собой зависимость светового тока при неизменном световом потоке и темнового тока Iтемн от напряжения.

б) световая характеристика фотодиода, то есть зависимость фототока от освещенности, соответствует прямой пропорциональности фототока от освещенности. Это обусловлено тем, что толщина базы фотодиода значительно меньше диффузионной длины неосновных носителей заряда. То есть практически все неосновные носители заряда, возникшие в базе, принимают участие в образовании фототока.

г) спектральная характеристика фотодиода – это зависимость фототока от длины волны падающего света на фотодиод. Она определяется со стороны больших длин волн шириной запрещенной зоны, при малых длинах волн большим показателем поглощения и увеличения влияния поверхностной рекомбинации носителей заряда с уменьшением длины волны квантов света. То есть коротковолновая граница чувствительности зависит от толщины базы и от скорости поверхностной рекомбинации. Положение максимума в спектральной характеристике фотодиода сильно зависит от степени роста коэффициента поглощения.

д) постоянная времени – это время, в течение которого фототок фотодиода изменяется после освещения или после затемнения фотодиода в е раз (63%) по отношению к установившемуся значению.


е) темновое сопротивление – сопротивление фотодиода в отсутствие освещения.

ж) интегральная чувствительность


K = Iф/,

где Iф – фототок, – освещенность.

з) инерционность.

Существует 3 физических фактора, влияющих на инерционность: 1) время диффузии или дрейфа неравновесных носителей через базу  ; 2) время пролета через p-n переход i ; 3) время перезарядки барьерной емкости p-n перехода, характеризующееся постоянной времени RСбар .

Время диффузии носителей заряда через базу можно определить (аналогично времени пролета носителей заряда через базу транзистора) для бездрейфового:

tпрол = ,


и дрейфового:


tпрол =


g 50 нс.

Время пролета через p-n переход:


i = ,


где  - толщина p-n перехода, vmax – максимальная скорость дрейфа носителей заряда (vmax для кремния и германия равна 5*106 см/c).

Толщина p-n перехода, зависящая от обратного напряжения и концентрации примесей в базе, обычно меньше 5 мкм, а значит i=0.1 нс. RCбар определяется барьерной емкостью p-n перехода, зависящей от напряжения и сопротивления базы фотодиода при малом сопротивлении нагрузки во внешней цепи. Величина RСбар порядка нескольких наносекунд.


1.3.ПРАКТИЧЕСКАЯ ЧАСТЬ


Расчет КПД фотодиода.


КПД вычисляется по формуле:


,


где Pосв – мощность освещенности, I – сила тока , U – напряжение на фотодиоде.



Максимальная мощность фотодиода соответствует максимальной площади данного прямоугольника.


Мощность

Освещенности,

МВт

Сила тока,

мА


Напряжение,

В

КПД,

%

1

0.0464 0.24 1.1

3

0.1449 0.41 2

5

0.248 0.26 1.3

7

0.242 0.45 1.6

Среднее значение: 1.5%.


Вывод: коэффициент полезного действия фотодиода согласно полученным данным составил в среднем 1.5%.


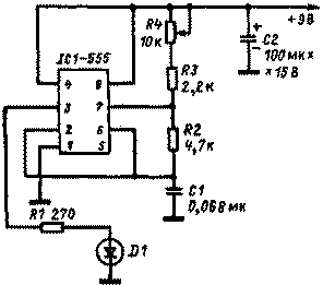
1.5 Принципиальная схема




1.6 ПРИМЕНЕНИЕ ФОТОДИОДА В ОПТОЭЛЕКТРОНИКЕ


Фотодиод является составным элементом во многих сложных оптоэлектронных устройствах. И поэтому он находит широкое применение.

а) оптоэлектронные интегральные микросхемы.

Фотодиод может обладать большим быстродействием, но его коэффициент усиления фототока не превышает единицы. Благодаря наличию оптической связи оптоэлектронные интегральные микросхемы обладают рядом существенных достоинств. Почти идеальная гальваническая развязка управляющих цепей при сохранении между ними сильной функциональной связи.

б) многоэлементные фотоприемники.

Эти приборы (сканистор, мишень кремникона, фотодиодная матрица с управлением на МОП-транзисторе, фоточувствительные приборы с зарядовой связью и другие) относятся к числу наиболее быстро развивающихся и прогрессирующих изделий электронной техники. Сочетая в себе успехи физики дискретных фотоприемников и новейшие технологические достижения больших интегральных схем, многоэлементные фотоприемники вооружают оптоэлектронику твердотельным «глазом», способным реагировать не только на яркостно-временные, но и на пространственные характеристики объекта, то есть воспринимать его полный зрительный образ.


Для успешного выполнения этих функций необходимо, чтобы число элементарных фоточувствительных ячеек в приборе было достаточно большим, поэтому кроме всех проблем дискретного фотоприемника (чувствительность, быстродействие, спектральная область) приходится решать и проблему считывания информации. Все многоэлементные фотоприемники представляют собой сканирующие системы, то есть устройства, позволяющие производить анализ исследуемого пространства путем последовательного его просмотра (поэлементного разложения).

Принцип восприятия образов этими системами сводится к следующему. Распределение яркости объекта наблюдения превращается в оптическое изображение и фокусируется на фоточувствительную поверхность. Здесь световая энергия переходит в электрическую, причем отклик каждого элемента (ток, заряд, напряжение) пропорционален его освещенности. Яркостная картина преобразуется в электрический рельеф. Схема сканирования производит периодический последовательный опрос каждого элемента и считывание содержащейся в нем информации. В конечном счете, на выходе устройства мы получаем последовательность видеоимпульсов, в которой закодирован воспринимаемый образ.

При создании многоэлементных фотоприемников стремятся обеспечить наилучшее выполнение ими функций преобразования и сканирования.

в) оптроны.

Оптроном называется такой оптоэлектронный прибор, в котором имеются источник и приемник излучения с тем или иным видом оптической и электрической связи между ними, конструктивно объединенные и помещенные в один корпус.


В электронной схеме оптрон выполняет функцию элемента связи, в одном из звеньев которого информация передается оптически. Это основное назначение оптрона. Если между компонентами оптрона создать электрически обратную связь, то оптрон может стать активным прибором, пригодным для усиления и генерации электрических и оптических сигналов.

Принципиальное отличие оптронов как элементов связи заключается в использовании для переноса информации электрически нейтральных фотонов, что обуславливает ряд достоинств оптронов, которые присущи и всем остальным оптоэлектронным приборам в целом. Хотя у оптронов есть, разумеется, и свои недостатки.

Оптронная техника базируется на достижениях в области физики и технологии излучателей и фотоприемников.


    1. Фотодиод p-i-n типа

В кремниевом p-i-n –диоде , который является одним из наиболее распространенных фотодетекторов , толщина i-области составляет примерно 50 мкм , а слоя p+ -- всего 3 мкм . При освещении такого диода светом с длинной волны l= 0,9мкм ( от GaAs-излучателя ) x*=30 мкм и около 80% света поглощается в i- слое. Следовательно ,практически все фотоэлектроны и дырки возникают в i- слое ,и быстродействие диода определяется временем I их пролета через i- слой . Дрейфовая скорость электронов в кремнии сначала растет с увеличением напряженности поля , а затем испытывает насыщение при U d ≈≈5∙106 см/с. В этихусловиях время пролета

I =50∙10­­­-4 см/5∙106 см/с=10­­­-9 с,


а время д ,определяемое диффузией электронов из p-области или дырок из n-области (д > I ) , не играет существенной роли.

В общем случае следует учитывать еще одну составляющую RC постоянной времени , связанную с сопротивлением R и емкостью C цепи . При малом сопротивлении нейтральных областей диода ,а также внешней цепи , при широком переходе (зарядовая емкость p-n- перехода C~d-1 , а d~√U) имеет RC < I . Обнаружительная способность кремниевых фотодиодов достигает значения 1∙1013 см ∙Гц1/2 ∙Вт -1 (λ=1 мкм , Т=300 К)

.

Ф

М

М-металлические контакты, И- изолятор(SiO2), П-просветляющее покрытие.


2.5 Принципиальная схема



2.6 Вывод: перспективы развития.


Важная особенность фотодиодов – высокое быстродействие. Они могут работать на частотах до нескольких миллио

нов герц. Фотодиоды обычно изготовляют из германия или кремния.

Фотодиод является потенциально широкополосным приемником. Этим и обуславливается его повсеместное применение.

В будущем крайне важно повышение рабочей температуры фотодиодов. Оценивая сегодняшнюю оптоэлектронику в целом, можно сказать, что она скорее «криогенная», чем «комнатная».

Будущее оптоэлектроники находится в прямой зависимости от прогресса фотодиодных структур. Оптическая электроника бурно развивается, разрабатываются новые типы фотоприемников, и наверняка уже скоро появятся фотодиоды на основе новых материалов с большей чувствительностью, повышенным быстродействием и с улучшенными характеристиками в целом.


3.1.ЛАВИННЫЕФОТОДИОДЫ НА ОСНОВЕ СВЕРХРЕШЕТКИ

InSb-InSbBi


Волгодонский институт ЮРГТУ (НПИ), г. Волгодонск, ул. Ленина 73/94, тел.: 25668

Анализ физических свойств гетеропереходов, проведенный нами для

гетероструктур InSbBi/InSb, показал, что причиной возможной деградации

частотных характеристик и добротности фотодетекторов с использованием этих

твердых растворов могут быть скачки в зонной структуре гетероперехода.

Эффективность гетероперехода со скачком потенциала в валентной зоне на

гетерогранице ∆Е пропорциональна exp ( Е/kT), где

Е = Еg1 - Еg2 - Е0

Захват носителей приводит к замедлению релаксации фототока с постоянной

времени τ ~ exp( Е / kT) ≥ 10 нс, что существенно снижает быстродействие

фотоприемников. Значение ∆Е для гетероперехода InSb0.98Bi0.02/InSb составляет

около 0,05 эВ.

Сглаживание гетеропереходов достигается применением буферных слоев

постоянного или переменного по толщине состава[1]. Оптимальным вариантом

здесь могут оказаться сверхрешеточные структуры, варизонность которых

сохраняется на больших длинах ~ 1,5 мкм.

Для реализации этой задачи нами были получены с помощью методики[2]

двойные гетероструктуры InSb – InSbBi.

Согласно[3], рост Bi-содержащих твердых растворов может происходить как

автоволновый концентрационный процесс в условиях потери устойчивости фронтом

кристаллизации. Нами был получен ряд образцов, состоящих из чередующихся

слоев InSb и InSb0.985Bi0.015. Перекристаллизация осуществлялась при Т = 693 К, grad

T = 30 К/cм движением плоской жидкой зоны усредненного состава In0.45Bi0.55 со

скоростью (6539 10) мкм/час. Общая толщина эпитаксиальной пленки InSb-InSbBi

составляла около 5,5 мкм. На рис. 1 приводится электронная микрофотография

поверхности выращенных образцов. Как отдельные слои, так и структура в целом

обладают высокой планарностью, толщины разных слоев близки. Слои InSb,

чередующиеся со слоями InSbBi, образуют правильную периодическую структуру с

периодом TSL = 120 нм.

Центр эпитаксиальной структуры либо свободен от дислокаций

несоответствия, либо содержит их незначительное количество. Измерение

удельного сопротивлениячетырехзон-довым методом показало, что концентрация

висмута по диаметру эпитаксиальных структур не изменялась. Поэтому можно

считать, что увеличение плотности дислокаций несоответствия связано с

радиальными градиентами в процессе роста структур, что обуславливает градации

интенсивности на электронной микрофотографии.



Рис. 1. Электронная микрофотография поверхности гетероструктуры

InSb – InSb 0.985 Bi 0.015 – .20000.


Измерения, проведенные на основе рентгенографических исследований,

показали, что суммарная толщина пары слоев InSb и InSbBi

d1 + d2 ≈ 120 нм.

Ширина запрещенной зоны в такой сверхрешетке при переходе от слоя к слою

модулируется по закону:

Eg(x) = (Eg1d1 + Eg2d2 )/(d1 + d2)



Рис. 2. Схема лавинного фотодиода на основе сверхрешетки InSb-InSbBi

При этом снимается проблема программированного изменения состава

твердого раствора на малых длинах (~ 0,1 мкм). Градиентный слой уменьшает

величину скачка в валентной зоне так, что ∆Е → 0 и длинновременная

составляющая релаксации фототока τp → 0. Быстродействие при этом может

сокращаться до значений ~ 1 нс. Структура такого лавинного фотодиода

представлена на рис. 2. Топологически такой прибор приводится к структуре

фотоприемника с растровыми электродами, изоляция между которыми выполнена

обратносмещенными p-n-переходами.

Таким образом, в технологии фотоприемных устройств инфракрасного

диапазона (спектры фотолюминесценции имеют максимум вблизи 8,7 мкм) могут

быть перспективны структуры типа «квантовой ямы».


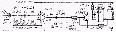
3.5 Принципиальная схема


4.1Фоторезисторы


Фоторезисторами называют полупроводниковые приборы, проводимость которых меняется под действием света.

Конструкция монокристаллического и пленочного фоторезисторов показана на рис. 1, 2 приложения. Основным элементом фоторезистора является в первом случае монокристалл, а во втором – тонкая пленка полупроводникового материала.

Если фоторезистор включен последовательно с источником напряжения (рис. 3 приложения) и не освещен, то в его цепи будет протекать темновой ток


Iт = E / (Rт + Rн), (4)


где Е – э. д. с. источника питания; Rт – величина электрического сопротивления фоторезистора в темноте, называемая темновым сопротивлением; Rн – сопротивление нагрузки.

При освещении фоторезистора энергия фотонов расходуется на перевод электронов в зону проводимости. Количество свободных электронно-дырочных пар возрастает, сопротивление фоторезистора падает и через него течет световой ток


Iс = E / (Rс + Rн). (5)


Разность между световым и темновым током дает значение тока Iф, получившего название первичного фототока проводимости


Iф = Iс – Iт. (6)


Когда лучистый поток мал, первичный фототок проводимости практически безынерционен и изменяется прямо пропорционально величине лучистого потока, падающего на фоторезистор. По мере возрастания величины лучистого потока увеличивается число электронов проводимости. Двигаясь внутри вещества, электроны сталкиваются с атомами, ионизируют их и создают дополнительный поток электрических зарядов, получивший название вторичного фототока проводимости. Увеличение числа ионизированных атомов тормозит движение электронов проводимости.


В результате этого изменения фототока запаздывают во времени относительно изменений светового потока, что определяет некоторую инерционность фоторезистора.


4.2 Характеристики фоторезисторов


Основными характеристиками фоторезисторов являются:

Вольтамперная, характеризующая зависимость фототока (при постоянном световом потоке Ф) или темнового тока от приложенного напряжения. Для фоторезисторов эта зависимость практически линейна (рис. 4 приложения). Закон Ома нарушается в большинстве случаев только при высоких напряжениях на фоторезисторе.


Световая (люксамперная), характеризующая зависимость фототока от падающего светового потока постоянного спектрального состава. Полупроводниковые фотрезисторы имеют нелинейную люксамперную характеристику (рис. 5 приложения). Наибольшая чувствительность получается при малых освещенностях. Это позволяет использовать фоторезисторы для измерения очень малых интенсивностей излучения. При увеличении освещенности световой ток растет примерно пропорционально корню квадратному из освещенности. Наклон люксамперной характеристики зависит от приложенного к фоторезистору напряжения.

Спектральная, характеризующая чувствительность фоторезистора при действии на него потока излучения постоянной мощности определенной длины волны. Спектральная характеристика определяется материалом, используемым для изготовления светочувствительного элемента. Сернисто-кадмиевые фоторезисторы имеют высокую чувствительность в видимой


области спектра, селенисто-кадмиевые – в красной, а сернисто-свинцовые – в инфракрасной (рис. 6 приложения).

Частотная, характеризующая чувствительность фоторезистора при действии на него светового потока, изменяющегося с определенной частотой. Наличие инерционности у фоторезисторов приводит к тому, что величина их фототока зависит от частоты модуляции падающего на них светового потока – с увеличением частоты светового потока фототок уменьшается (рис. 7 приложения). Инерционность оганичивает возможности применения фоторезисторов при работе с переменными световыми потоками высокой частоты.





4.3Параметры фоторезисторов


Основные параметры фоторезисторов:

Рабочее напряжение Uр – постоянное напряжение, приложенное к фоторезистору, при котором обеспечиваются номинальные параметры при длительной его работе в заданных эксплуатационных условиях.

Максимально допустимое напряжение фоторезистора Umax – максимальное значение постоянного напряжения, приложенного к фоторезистору, при котором отклонение его параметров от номинальных значений не превышает указанных пределов при длительной работе в заданных эксплуатационных условиях.

Темновое сопротивление Rт – сопротивление фоторезистора в отсутствие падающего на него излучения в диапазоне его спектральной чувствительности.


Световое сопротивление Rс – сопротивление фоторезистора, измеренное через определенный интервал времени после начала воздействия излучения, создающего на нем освещенность заданного значения.

Кратность изменения сопротивления KR – отношение темнового сопротивления фоторезистора к сопротивлению при определенном уровне освещенности (световому сопротивлению).

Допустимая мощность рассеяния ­– мощность, при которой не наступает необратимых изменений параметров фоторезистора в процессе его эксплуатации.

Общий ток фоторезистора – ток, состоящий из темнового тока и фототока.

Фототок – ток, протекающий через фоторезистор при указанном напряжении на нем, обусловленный только воздействием потока излучения с заданным спектральным распределением.

Удельная чувствительность – отношение фототока к произведению величины падающего на фоторезистор светового потока на приложенное к нему напряжение, мкА / (лм · В)


К0 = Iф / (ФU), (7)


где Iф – фототок, равный разности токов, протекающих по фоторезистору в темноте и при определенной (200 лк) освещенности, мкА; Ф – падающий световой поток, лм; U – напряжение, приложенное к фоторезистору, В.

Интегральная чувствительность – произведение удельной чувствительности на предельное рабочее напряжение Sинт = К0Umax.

Постоянная времени ф – время, в течение которого фототок изменяется на 63%, т. е. в e раз.


Постоянная времени характеризует инерционность прибора и влияет на вид его частотной характеристики.


При включении и выключении света фототок возрастает до максимума (рис. 8 приложения) и спадает до минимума не мгновенно. Характер и длительность кривых нарастания и спада фототока во времени существенно зависят от механизма рекомбинации неравновесных носителей в данном материале, а также от величины интенсивности света. При малом уровне инжекции нарастание и спад фототока во времени можно представить экспонентами с постоянной времени , равной времени жизни носителей в полупроводнике. В этом случае при включении света фототок iф будет нарастать и спадать во времени по закону


iф = Iф (1 – e – t / ); iф = Iф e – t / , (8)


где Iф – стационарное значение фототока при освещении.

По кривым спада фототока во времени можно определить время жизни  неравновесных носителей.


4.4 Изготовление фоторезисторов


В качестве материалов для фоторезисторов широко используются сульфиды, селениды и теллуриды различных элементов, а также соединения типа AIIIBV. В инфракрасной области могут быть использованы фоторезисторы на основе PbS, PbSe, PbTe, InSb, в области видимого света и ближнего ультрафиолета – CdS.


4.5 Применение фоторезисторов


В последние годы фоторезисторы широко применяются во многих отраслях науки и техники. Это объясняется их высокой чувствительностью, простотой конструкции, малыми габаритами и значительной допустимой мощностью рассеяния. Значительный интерес представляет использование фоторезисторов в оптоэлектронике


5.1 Устройство и основные узлы фотоэлектронного умножителя


Фотоэлектронный умножитель (ФЭУ) . очень распространенный и во

многих случаях незаменимый детектор излучения. Он позволяет регистрировать и

предельно слабые и довольно интенсивные потоки. От единиц до 10101012

фотонов в секунду. Постоянная времени . порядка 10–810–10 с, т.е. допускает

весьма высокие частоты модуляции. Может быть размещен на воздухе и в

вакууме. На выходе дает легко измеримый сигнал. Все это с лихвой компенсирует

неудобства, связанные с необходимостью использования высоковольтных блоков питания (0.52.5 кВ) и довольно большими габаритами ФЭУ.


Устройство и основные узлы фотоэлектронного умножителя


Схематичное изображение

устройства ФЭУ.

Пояснения в тексте.

Схема ФЭУ приведена на рис. (этот и некоторые другие рисунки

воспроизведены из [1]). Фотоэлектронный умножитель состоит из фотокатода 1,

катодной камеры 1–3, динодной системы 3–14 и анодного узла 14–16,

размещенных внутри вакуумного объема. Световой поток поглощается

фотокатодом, эмиттирующим в вакуум электроны. В электростатическом поле,

создаваемом электродами катодной камеры, электроны ускоряются и

фокусируются на первый динод (3). Ускоренный первичный электрон способен

выбить с поверхности несколько вторичных, медленных1. Умноженные на первом

диноде, вторичные электроны ускоряются и фокусируются на второй динод.

Далее этот процесс повторяется на всех каскадах и с последнего динода

усиленный электронный поток собирается анодом. Каждый динод работает и

анодом, собирая электроны с предыдущего, и катодом, эмиттируя усиленный

поток. Отсюда и название . динод.

Фотокатод

Конструкция каждого ФЭУ должна обеспечить оптимальные условия

попадания светового излучения на фотокатод (оптический вход ФЭУ), поэтому

применяются различные геометрические расположения фотокатода относительно

оси вакуумной колбы и различные материалы входных окон.

Для регистрации несфокусированного излучения используется торцевой

оптический вход. . В этом случае ПОЛУПРОЗРАЧНЫЙ

ФОТОКАТОД, работающий .на просвет. (излучение попадает на фотокатод со

стороны подложки), формируется при изготовлении в виде тонкой пленки

непосредственно на плоском входном окне. Диаметр фотокатода может

превышать 250 мм, но наиболее широко применяются ФЭУ с диаметрами рабочей

площади от 5 до 50 мм.

Сфокусированные световые пучки можно регистрировать и с фотокатодом

малой площади, в том числе . работающим .на отражение. (излучение попадает

на фотокатод со стороны вакуума). Входное окно при этом располагается или на

торце, или на боковой стенке колбы.

В этом случае мы имеем МАССИВНЫЙ ФОТОКАТОД, формируемый на

металлической, т.е. хорошо проводящей поверхности. Он имеет существенные

преимущества перед полупрозрачным и по эмиссионным свойствам и, главное, по

электрическим. Дело в том, что материал фотокатода . полупроводник с

невысокой и сильно зависящей от температуры проводимостью. Электрод к

полупрозрачному фотокатоду может быть подведен только по периферии, так

что при больших интенсивностях света и соответственно больших токах эмиссии

проводимость вдоль тонкой пленки от периферии к центру может оказаться

недостаточной, особенно если фотокатод придется охлаждать для уменьшения

темнового тока. В массивном фотокатоде ток от металлического электрода к

поверхности течет не вдоль, а поперек слоя и ограничений по величине фототока

практически не возникает.

Катодная камера

Катодная камера ФЭУ образуется поверхностями фотокатода и первого

динода, а также расположенными между ними электродами, форма и

распределение потенциалов на которых определяют ее электронно-оптические

свойства. У неё две функции: вытягивание электронов с фотокатода и

фокусировка их на первый динод. Отсюда и характеристические параметры.


5.2 Принцип работы и режимы использования ФЭУ


Фотоэлектронный умножитель . электровакуумный прибор,

преобразующий поток падающего на него излучения (в ультрафиолетовой,

видимой, ближней инфракрасной областях спектра) в электронный поток в

вакууме, с последующим его усилением. При этом существенно, что усиление

электронного потока происходит в процессе вторичноэлектронной эмиссии.

Шумовые характеристики такого усилителя много лучше, чем у любого

твердотельного (в котором преобразуются электронные потоки внутри твердого

тела), ибо каждый акт появления в потоке нового электрона требует преодоления

энергетического барьера, много превышающего kT. Энергия связи электронов в

твердом теле (термоэлектронная работа выхода) обычно превышает 4 эВ. Для

фотокатодов ФЭУ, работающих в длинноволновой области, разработаны

специальные сложные системы с предельно малой работой выхода, порядка 1 эВ.

Но и это много больше , равного при комнатной температуре ∼ 0.025 эВ.


5.3 Характеристики ФЭУ

Спектральная характеристика

Спектральная область чувствительности ФЭУ ограничивается с

длинноволновой стороны порогом чувствительности фотокатода, а с

коротковолновой . границей пропускания оптического окна. Наиболее часто в

ФЭУ используются следующие окна:

Материал Область пропускания

Стекло λ>320 нм

Увиолевое стекло

(без примесей Fe)

λ>180.200 нм

Кварцевое стекло λ>150 нм

Фтористый магний,

MgF2

λ>110 нм

Во всей видимой области спектра (400.700 нм) можно работать и со

стеклянным окном. Увиолевое позволяет охватить всю область ближнего

ультрафиолета, до так называемой вакуумной ультрафиолетовой (ВУФ) области1.

ФЭУ с кварцевыми окнами имеют смысл и при работе не в вакуумном УФ, так

как кварц более прозрачен, чем увиоль. Окна из MgF2 незаменимы в ВУФ. Этот

материал имеет практически рекордную область прозрачности (уступает только

LiF . 105 нм), но имеет хорошие механические свойства, спаивается со стеклом,

негигроскопичен. У чистого MgF2 довольно резкая граница пропускания.

Практически рабочая область простирается с ним до h ν = 11 эВ (112 нм). Дальше

просто нет прозрачных веществ, но при таких энергиях фотонов фотоэмиссия

идет довольно эффективно почти из всех материалов, так что в более

коротковолновой области можно использовать .открытые. умножители . то же,

что динодные системы ФЭУ, но изготовлены без баллона и помещаются

непосредственно в вакуумную камеру экспериментальной установки. Если

освещать первый динод, то получится ФЭУ с вполне приличными

характеристиками и темновыми токами порядка 1 электрона в секунду (с первого

динода).

Чувствительность фотокатода удобнее всего характеризовать

величиной квантового выхода фотоэмиссии Yк(hω) или квантовой

эффективностью Кλ. Это . безразмерные величины, равные отношению числа

эмиттированых электронов к числу поглощенных (или упавших) квантов света.

Yк(hω) или Кλ далеко не постоянны в рабочей области. Они отличны от нуля

только при hω ≥ hω0 = Iph, называемой порогом, или красной границей

фотоэффекта, или фотоэлектрической работой выхода. При продвижении в

коротковолновую сторону Yк(hω) быстро растет, пропорционально exp[Const ⋅(hω

– hω0)]. Величина Const зависит от типа материала и конструкции фотокатода.

Обычно фотокатоды . сложные двух- или многослойные системы, в которых

1 Кислород воздуха эффективно поглощает излучение, начиная примерно со 180.190 нм. Более

коротковолновая область требует вакуумирования приборов, отсюда и название.

приняты специальные меры к уменьшению поверхностного потенциального

барьера.

Рис.. Спектральные

характеристики

различных

фотокатодов фирмы

RCA (США):

1. сурьмяно-цезиевого;

2. оксидного;

3. мультищелочного;

4.6. сложных

фотокатодов с

отрицательным

сродством к

электрону.

Kλ. квантовая

эффективность

фотокатода


Наилучшими свойствами обладают так называемые фотокатоды с

отрицательным сродством к электрону . полупроводниковые системы, в

которых возбужденный в объеме фотоэлектрон выходит в вакуум без

дополнительного потенциального барьера. В них Yк(hω) быстро достигает

максимального значения, иногда более 0,5, и остается примерно постоянным в

относительно широкой области. Спектральная характеристика ФЭУ с такими

катодами может быть близка к П-образной. . В общем же случае

можно ожидать самых разных форм спектральной зависимости чувствительности,

в том числе и с выраженной структурой, как у оксидного фотокатода .

Для технических целей часто используется такая характеристика ФЭУ, как

спектральная чувствительность фотокатода. почти то же, что квантовый

выход, но отнесена к энергии падающего излучения, а не к числу квантов, и

приводится в единицах А/Вт. Например, для ФЭУ-130 (SbCsK-фотокатод,

спектральная область 200.650 нм, максимум чувствительности . 400…420 нм)

паспортная спектральная чувствительность на длине волны 410 нм (hω = 3.024

эВ) равна 0,03 А/Вт, т.е. квантовый выход фотоэмиссии Yк(3 эВ) = 0.091.

Традиционно приводится и светотехническая характеристика .

чувствительность фотокатода (интегральная, не спектральная), измеряемая в

единицах А/лм.

На рис. 2.7.8 приведены спектральные характеристики ряда ФЭУ

американской фирмы RCA, имеющих стеклянные или увиолевые окна.

Большинство отечественных ФЭУ имеют характеристики типа 1.3.

Все фотокатоды по спектральной характеристике грубо можно разделить на

три группы:

. инфракрасные (оксидный катод, порог . 1,2 мкм);

. УФ-видимые (сурьмяно-цезиевый и мультищелочные катоды с порогом

650.850 нм);

. .солнечно-слепые. или просто .слепые., нечувствительные к видимому

или даже ближнему УФ-излучению. Обычно их фотокатоды . металлы или

простые двойные соединения. Например, полупрозрачный CsJ-фотокатод на окне

из MgF2 чувствителен в области 112.210 нм (11.0.5.9 эВ), причем на 210 нм

его чувствительность составляет всего 1% от максимальной (ФЭУ-154).

В заключение отметим, что для каждого эксперимента нужно специально

подбирать ФЭУ. Спектральная характеристика не должна простираться далеко в

длинноволновую область, иначе будут чрезмерны термоэмиссионные темновые

токи с фотокатода, пропорциональные exp(–ФT/kT). По этой причине ФЭУ с

оксидным катодом применяют только в специальных случаях, когда необходима

длинноволновая граница чувствительности. Если нужно работать только в

ультрафиолете, предпочтение отдают сурьмяно-цезиевым или солнечно-слепым

фотокатодам.


5.6Область приминения


Применений ФЭУ (оптические дальномеры, лазерные локаторы, астронавигационная аппаратура и т. п.)


6.2Метод вывода информации с помощью фотоприёмных матриц

Матрица фотоприёмников (фотоматрица) служит для преобразования оптического изображения в электрические сигналы, причём каждый элемент функционирует как пороговый детектор, указывающий наличие или отсутствие светового сигнала в соответствующей позиции.

Различают два режима работы фотоприёмников: режим непосредственного отсчета и режим накопления заряда. В первом случае выходной электрический сигнал фотоприёмника в каждый момент времени пропорционален интенсивности падающего на него оптического сигнала, а во втором - полному световому потоку, падающему за время накопления. Так как мощность оптического сигнала, поступающего на вход отдельного элемента фотоматрицы, очень мала, то работа фотоприемников в режиме накопления заряда предпочтительнее.


В последнее время при разработке фотоматриц наблюдается тенденция объединения фотоприемников с элементами транзисторной памяти. При этом к выходным сигналам фотоприемников предъявляется единственное требование - устанавливать триггер, являющийся элементом памяти, в нужное состояние.

Слева.Фрагмент фотоприёмной матрицы 128X128 с In столбами на каждом элементе.
Справа.Тепловизионное изображение с матрицы 128X128. Температурное разрешение — 0,07 К. Спектральный диапазон 7,5-8,5 мкм.



6.2 Фотоматрицы с накоплением заряда

Детектирование оптической страницы осуществляется следующим образом. В начале цикла на затворы МОП-транзисторов подаются коммутирующие импульсы и через открытые транзисторы производится заряд емкостей p-n переходов фотодиодов до максимального напряжения источника питания. Затем ФМ освещается оптическим изображением. При этом под действием падающего светового потока происходит разряд емкостей p-n переходов фотоприемников и напряжение на них падает на значение, пропорциональное мощности светового потока и длительности освещения.

Для считывания слова на соответствующую адресную шину подается коммутирующий импульс, который открывает ключевые транзисторы, соединенные с выбранной шиной. Тогда через фотодиоды, открытые транзисторы и входные цепи усилителей считывания потекут токи дозарядки. Ток, протекающий через отдельный фотодиод, зависит от потери заряда за период накопления и пропорцоинален числу фотонов света, попавших на фотодиод


6.3 Область приминения


В цифровых камерах используются два типа матричных фотоприемников: приборы с зарядовой связью (ПЗС) и фоточувствительные сенсоры на основе КМОП-структур. (Трехслойные сенсоры Foveon пока не получили широкого распространения.) Они состоят из набора отдельных чувствительных к свету элементов. Под действием света на каждой ячейке сенсора накапливается (формируется) электрический заряд, который потом преобразуют в напряжение и считывают с фотоприемника.
Так же используются в цифровых видеокамерах. Важным направлением совершенствования систем наведения ВТО является внедрение многоэлементных матричных приемников излучения, что позволяет не просто обнаруживать объект (цель), но и, получив его образ, распознать цель.



© 2012 Рефераты, курсовые и дипломные работы.