рефераты
Главная

Рефераты по рекламе

Рефераты по физике

Рефераты по философии

Рефераты по финансам

Рефераты по химии

Рефераты по хозяйственному праву

Рефераты по цифровым устройствам

Рефераты по экологическому праву

Рефераты по экономико-математическому моделированию

Рефераты по экономической географии

Рефераты по экономической теории

Рефераты по этике

Рефераты по юриспруденции

Рефераты по языковедению

Рефераты по юридическим наукам

Рефераты по истории

Рефераты по компьютерным наукам

Рефераты по медицинским наукам

Рефераты по финансовым наукам

Рефераты по управленческим наукам

Психология и педагогика

Промышленность производство

Биология и химия

Языкознание филология

Издательское дело и полиграфия

Рефераты по краеведению и этнографии

Рефераты по религии и мифологии

Рефераты по медицине

Рефераты по сексологии

Рефераты по информатике программированию

Краткое содержание произведений

Реферат: МЕТОДИЧЕСКИЕ УКАЗАНИЯ К ЛАБОРАТОРНЫМ РАБОТАМ ПО ФИЗИКЕ (МЕХАНИКА И ТЕРМОДИНАМИКА)

Реферат: МЕТОДИЧЕСКИЕ УКАЗАНИЯ К ЛАБОРАТОРНЫМ РАБОТАМ ПО ФИЗИКЕ (МЕХАНИКА И ТЕРМОДИНАМИКА)

МИНИСТЕРСТВО ОБРАЗОВАНИЯ УКРАИНЫ

ХАРЬКОВСКИЙ ОРДЕНА ТРУДОВОГО КРАСНОГО ЗНАМЕНИ

ИНСТИТУТ РАДИОЭЛЕКТРОНИКИ ИМ. АКАДЕМИКА М.К.ЯНГЕЛЯ

МЕТОДИЧЕСКИЕ УКАЗАНИЯ

К ЛАБОРАТОРНЫМ РАБОТАМ ПО ФИЗИКЕ

 (МЕХАНИКА И ТЕРМОДИНАМИКА)

ДЛЯ СТУДЕНТОВ ВСЕХ ФОРМ ОБУЧЕНИЯ

И ВСЕХ СПЕЦИАЛЬНОСТЕЙ

УТВЕРЖДЕНО

КАФЕДРОЙ ФИЗИКИ

ПРОТОКОЛ №23

ОТ 21.02.92

ХАРЬКОВ ХИРЭ 1992

ОБЩИЕ СВЕДЕНИЯ

Настоящие указания состоят из двух частей. В первую часть включены работы по механике я термодинамике, разработанные на ка­федре физики Харьковского института радиоэлектроники. Вторая часть содержит работы по механике, разработанные и изготовленные в Польше.

Все работы отличаются от традиционных оригинальными техни­ческими решениями, облегчающими Проведение экспериментов и повыша­ющими точность измерений. В частности, для измерения малых про­межутков времени используются электронные секундомеры с автомати­ческим включением и отключением.

Выполнение лабораторной работы включает предварительную под­готовку» проведение экспериментов и составление отчета о резуль­татах исследований.

При Подготовке к выполнению работы необходимо изучить тео­ретическое введение, описание лабораторной установки и методы измерений, соблюдать указанный порядок выполнения экспериментальной и расчетной части работы. При проведении экспериментов необходимо строго выполнять все установленные в лаборатории правила техники безопасности.

Отчет о работе должен содержать название, цель работы, краткое описание лабораторной установки и методов измерений в расчетную часть, включающую таблицы измерений, графики, расчет искомых вели­чин и их погрешностей.

Контрольные вопросы, приведенные в конце каждой работы, облег­чают подготовь к защите работы. В конце указаний приведен список литературы, рекомендуемой для самостоятельной подготовки к выполнению лабораторных работ.

ЧАСТЬ 1.

1. ИССЛЕДОВАНИЕ СВОБОДНОГО ПАДЕНИЯ

Цель работы

Экспериментально определить ускорение при свободном падении тела я поле тяготения Земли.

Приборы и принадлежности

Установка для исследования свободного падения (рис. I) с ав­томатической регистрацией времени полета, стальной шарик, линейка.

Теоретическое введение

В поле тяготения Земли на тело массой m действует сила тяжести Р=mg. Под действием этой силы тело, поднятое над по­верхностью Земли и предоставленное самому себе, свободно падает с ускорением .свободного падения, g . Вблизи поверхности Земли ускорение свободного падения зависит ОТ широты местности. Это объяс­няется  нешарообразностью формы Земли и влиянием суточного враще­ния Земли вокруг своей оси. Как показали расчеты и измерения, зави­симость ускорения свободного падения от широты местности выражается формулой:

                      (1)

где и  g0 - ускорение свободного падения на географической широте φ и на широте полюса (φ = 90°) соответственно. Макси­мальное значение  9,83 м/с2 gφ   имеет на полюсах Земли, а минимальное значение 9,78 м/с2 - на экваторе, где φ=0.

В данной работе gφ определяется по времени падения ша­рика с известной высоты. При свободном падении без начальной скорости и без учета сил трения о воздух тело движется равноускоренно по закону

где h - расстояние, пройденное телом за время t. Из соотношения (1) следует, что

Если измерить время падения шарика с различной высоты и построить график зависимости √h от t , то получим прямую, тангенс угла наклона которой к оси t будет равна √g/2. Определив тангенс угла наклона α по формуле

                (2)

В которой t1 - время падения шарика с высоты h1, а t2 - c высоты h2, и приравняв его  √g/2, найдем

                        (3)

Описание лабораторной установки

Установка для исследования свободного падения (рис.1) состоит из штатива на котором установлена, перемещающаяся платформа 1.



На платформе 1 укреплен электромагнит 3, удерживающий стальной шарик 4. На столе 5 установлены ловушки 6 для шарика, электронный секундомер 7 и тумблер включений 8. Ловушка предназначена для точной фиксации времени пролета шариком расстояния h. В ловушке установ­лены источник света и фототранзистор. Падающий в ловушку шарик прерывает световой поток, распро­страняющийся от лампы к фототранзистору, а последний отключает электронный секундомер. Секундомер включается тумблером, который одновременно отключает питание электромагнита и дает возможность шарику свободно падать. Высота падения h  изменяется путем пере­мещения электромагнита 3 и измеряется линейкой. Для удобства извлечения шарика из ловушки нижняя часть ловушки сделана подвиж­ной. Устройство автоматической регистрации времени полета шарика обеспечивает погрешность измерения времени 0,01 с, т.е.  ∆t = 0,01 с.

Порядок выполнения работы

1. Установить платформу 1 на определенной высоте над ловушкой 6 и добиться, чтобы центр шарика и центр ловушки были расположены вдоль одной прямой. Секундомер установить в нулевое положение.

2. Включить секундомер, измерить время полета и данные (hiti) занести в таблицу измерений.

3. Повторить операции пп. 1 и 2 для пяти разных значений высоты падения hi. Данные измерений занести в таблицу.

4. Построить график зависимости √h от t.

5. Используя соотношение (2), определить тангенс угла наклона кривой к оси t по графику.

6. По формуле (3) вычислить g. Определить погрешности ускорения свободного падения.

7. Вычислить  по теоретической формуле (1) для широты Харькова (φ = 50°) и сравнить с найденным экспериментальным зна­чением.

Контрольные вопросы

1. Что называется ускорением свободного падения?

2. Почему ускорение свободного падения зависит от широты местности?

3. По какому закону происходит свободное падение тел?

4. Как определяется ускорение свободного падений в данной работе?

2. ЭКСПЕРИМЕНТАЛЬНОЕ ИЗУЧЕНИЕ УПРУГОГО И НЕУПРУГОГО УДАРОВ

Цель работы

Определить скорость пули и энергию диссипации при абсолютно неупругом ударе, а также коэффициент восстановления относитель­ной скорости для частично упругого удара.

Приборы и принадлежности

Цилиндрический маятник со шкалой отсчета, наклонная трубка, стальная пуля, линейка.

Теоретическое введение

Ударом называется взаимное изменение состояния движения тел вследствие столкновения. Различают два предельных вида удара - абсолютно упругий и абсолютно неупругий. Удар, при котором механическая энергия тел не переходит в другие вида анергии, называется абсолютно упругим. Законы сохранения механической энергии и импульса для абсолютно упругого удара имеют вид

         (4)

,            (5)

где m1 и  т2 - масса первого и второго тел; V1 и V2 - скорости первого и второго тел до столкновения; U1 и U2 - их скорости после столкновения.

При неупругом ударе кинетическая энергия взаимодействующих тел полностью или частично переходит во внутреннюю анергия. Часть механической энергии, которая переходит в другие вида энергии, на­зывается анергией диссипации (рассеяния).

При неупругом ударе закон сохранения механической энергии не выполняется, а имеет место закон сохранения полной анергии раз­ных видов - механической и внутренней. Закон сохранения импульса выполняется.

Если удар был абсолютно неупругий, то тела после столкнове­ния двинется с одинаковой скоростью U = U1 = U2, как одно тело с массой m=m1+m2, и закон сохранения импульса имеет вид

m1V1+m2V2=(m1=m2)U.                 (6)

Степень упругости удара удобно характеризовать коэффициентом восстановления К относительной скорости движения тел. Этот коэффициент равен отношению абсолютного значения относительной скорости взаимодействующих тел после удара /U2-U1/ к абсолютному значению относительной скорости до удара /V2-V1/, и зависит только от упругих свойств соударяющихся тел:

,                          (7)

При абсолютно упругом ударе К = 1, при абсолютно неупругом ударе U1 = U2 и К = 0, во всех остальных случаях (0 < К < 1) удар называется частично упругим.

Описание лабораторной установки и методов исследований

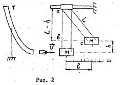
Экспериментальная установка представляет собой цилиндрический маятник, подвешенный на четырех длинных нитях, обеспечивающих его отклонение в одной плоскости при центральном ударе пули (рис. 2). Стальная пуля приобретает скорость V , двигаясь под действием си­лы тяжести внутри трубки T.

При столкновении пули и маятника последний отклоняется, совершая поступательное движение. Перемеще­ние маятника  l определяется по шкале Ш. Цилиндрический маят­ник с одной стороны полый и заполнен пластилином. При столкновении пули с пластилином совершается абсолютно неупругий удар. Если же цилиндрический маятник подвесить стальным основанием к пуле, то удар при столкновении маятника у пули будет частично упругим.

Рассмотрим абсолютно неупругое столкновение пули и маятника. После такого столкновения маятник вместе с пулей двинутся со ско­ростью U . Отклоняясь, маятник и пуля поднимутся на высоту h, (рис. 2). Кинетическая энергия маятника и пули после удара перейдет в их потенциальную энергию:

,                      (8)

где m - масса пули, г, m = 10,4; M - масса маятника, г, М = 36,4. Высоту подъема h можно определить из прямоугольного тре­угольника abc:

L2=(L-h)2+l2 => h=L-,                (9)

где L - длинa нити.

Из соотношения (9), зная h, можно найти скорость пули и маятника после абсолютно неупругого удара

,                 (10)

Скорость пули V в момент удара определяется из закона сохранения импульса

тV = (m+M)U,                            (11)

Подставляя значение U  в (10), найдем

,           (12)

При неупругом ударе кинетическая энергия пули переходит, час­тично, а кинетическую энергию пули и маятника и частично рассеива­ется:

                  (13)

где Еg - энергия диссипации. Из соотношения (13) следует:

                  (14)

Рассмотрим частично упругий удар. После такого столкновения маятник движется со скоростью  U2, а пуля - в противоположном направлении со скоростью U1. Из закона сохранения импульса mV = MU2- mU1 можно определить скорость пули после удара

                      (15)

Скорость маятника найдем из закона сохранения энергия после уда­ра, учитывая соотношение (9),

               (16)

Скорость пули до удара V не изменится и может быть найдена из соотношения (12).

Коэффициент восстановления относительной скорости (7) опре­деляется из соотношения .

                             (17)

Следует отметить, что для определения скорости пули в момент удара нельзя воспользоваться равенством кинетической и потенциаль­ной энергии пули, так как часть кинетической энергии рассеивается в результате трения пули о стенки трубки.

Порядок выполнения работы

1. Установить Маятник горизонтально, повернув его пластили­ном к трубке. Заметить на шкале начальное положение маятника.

2. Измерить длину нити L .

3. Опустить пулю острым концом в верхнее отверстие трубки и определить по шкале перемещение маятника l после абсолютно не­упругого удара. Данные занести в таблицу. Опыт проделать пять раз и найти среднее значение отклонения.

4. По формулам (10), (12), (14) вычислить скорость пули в мо­мент удара и энергию диссипации. Определить погрешности.

5. Развернуть маятник на 180° и установить его в горизонтальном положении. Заметить на шкале начальное положение маятника.

6. Опустить пулю тупым концом в верхнее отверстие трубки и определить по шкале перемещение маятника l после частично упру­гого удара. Данные занести в таблицу. Опыт проделать пять раз и найти среднее значение отклонения.

7. По формулам (15)-(17) определить скорости пули и маятника после частично упругого удара, а также коэффициент восстановления относительной скорости K. Найти погрешности К.

Контрольные вопросы и задания

1. Какое взаимодействие называется ударом?

2. Какой удар называется абсолютно упругим, абсолютно неупругим, частично упругим? Какие законы выполняются при этих ударах?

3. Что называется коэффициентом восстановления?

4. Получите из законов сохранения энергии и импульса скорость пули в момент удара и энергию диссипации при абсолютно неупругом ударе.

     5. Получите соотношения для определения скорости пули и маятника после частично упругого удара.

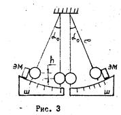
3. ИСCЛЕДОВАНИЕ ЗАКОНОМЕРНОСТЕЙ ЧАСТИЧНО УПРУГОГО УДАРА НА ПРИМЕРЕ ВЗАИМОДЕЙСТВИЯ ДВУХ ШАРОВ

Цель работы

Определить коэффициент восстановления относительной скорости и энергию диссипации при частично упругом соударении двух шаров.

Приборы и принадлежности

Лабораторная установка (рис. 3), линейка.

Теоретическое введение

В теоретическом введении к работе «Экспериментальное изуче­ние неупругого и упругого ударов» даны основные сведения о всех разновидностях ударов и о коэффициенте Восстановления относитель­ной скорости. При частично упругом соударении двух шаров, когда их скорости в момент удара равны и после удара равны друг другу по величине и противоположны по направлению, коэффициент восстановле­ния можно определить по формуле

,

где U - скорость шара после удара, U1 = -U2 - U - ско­рость шара в момент удара: V1 = -V2 = V.

Учитывая это можно записать

                         (18)

Коэффициент восстановления зависит только от материала соударяющихся шаров. Величину K проще всего определить при центральном ударе шаров равной массы. Пусть два одинаковых шара висят на нитях равной длины l (рис. 3). Если оба шара отклонить на одинаковые углы α0 и отпустить, то скорости их в момент соударения будут одинаковы. Нетрудно рассчитать величину этой скорости V, учитывая, что потенциальная энергия под­нятого на высоту  h  шара перейдет в его кинетическую энергию

                  (19)

В данном опыте проще измерить не вы­соту подъема h, а угол  α0, на ко­торый был отклонен шар. Из рис. 3 следует, что

              (20)

Если угол отклонения шаров достаточно мал, то можно принять

Поэтому

.

Учитывая это, найдем V из соотношения (19):

              (21)

По аналогии можно определить и скорость шаров после удара, измерив величину угла α, на который отклонится любой из шаров после удара, т.е.

                               (22)

Подставляя значение U (22) и  V (21), в соотношение (16), найдем коэффициент восстановления скорости

                       (23)

где α1 - угол отклонения после первого соударения. Если α1 - незначительно отличается от начального угла α0, целесообразно измерить величину угла после нескольких соударений (2-5). В этом случае формула для коэффициента восстановления изменится.

После первого соударения К = α1 / α0;

После второго соударения К = α2 / α1;

После третьего соударения К = α3 / α2;

После любого n соударения К = αn / αn-1;

Перемножив все эти равенства, получим

Откуда

                  (24)

Частично упругий удар сопровождается, как известно, диссипаци­ей (рассеянием) энергии: часть механической энергии переходит в другие вида энергии - энергию остаточной деформации и внутреннюю (тепловую) энергию. Энергию диссипации Еg одного шара, относя­щуюся к одному соударению, можно выразить через коэффициент вос­становления К. Для этого запишем закон сохранения энергии для, частично упругого удара двух одинаковых    шаров:

Учитывая, что  

получим

Откуда

Учитывая (18), (21), имеем

   (25)

Описание лабораторной установки

На лабораторной установке (рис. 3) два стальных шара располо­жены на бифилярных подвесах, что обеспечивает их взаимодействие в одной плоскости. Шары удерживаются в отклоненном положении двумя электромагнитами (ЭМ), обмотки которых подключаются к источнику питания одним выключателем. Электромагниту могут перемещаться, их положение фиксируется винтами. Углы отклонения шаров от поло­жения равновесия отсчитываются по шкалам Ш в градусах. При отк­лючении питания электромагнитов шары начинают двигаться друг к другу под действием силы тяжести.

Порядок выполнения работы

1. Установить электромагниты так, чтобы шары были отклонены на одинаковый угол α0. Включить питание электромагнитов и отк­лонить шары так, чтобы они удерживались электромагнитами при натя­нутой нити. Измерить длину нити l.

2. Выключателем отключить питание электромагнитов и опреде­лить угол отклонения αn после нескольких соударений (n = 2 – 5). Записать в таблицу измерений угол αn отклонения шаров после пос­леднего соударения и число соударений. Повторить опыт четыре раза и найти среднее значение αn.

3. Проделать операции, указанные в пп. 1, 2 пять раз для раз­ных значений начальных углов отклонения α0. Данные занести в таблицу.

4. Рассчитать по формуле (24) коэффициенты восстановления ско­рости К  для всех заданных начальных углов отклонения. Найти среднее значение К и погрешности метода его измерения.

5. Для всех значений начального угла отклонения, при которых определялся К , посчитать энергию диссипации по формуле (25). Найти погрешности.

6. Рассчитать скорость V шара в момент удара при всех значениях начального угла α0  по формуле (21).

7. По полученным данным, построить зависимость Еg (V).

Контрольные вопросы и задания

1. Что называется коэффициентом восстановления относительной скорости при ударе? Как он определяется в данной работе и от чего зависит?

2. Какие законы динамики выполняются при абсолютно упругом и неупругом ударах?

3. Что называется энергией диссипации?

4. Получите соотношение для определения энергии диссипации.

4. ОПРЕДЕЛЕНИЕ ОТНОШЕНИЯ ТЕПЛОЕМКОСТЕЙ ГАЗА МЕТОДОМ КЛЕМАНА И ДЕЗОРМА

Цель работы

Определить экспериментально отношение молярных теплоемкостей газа при постоянном давлении и постоянном объеме и сравнить с теоретическим значением данного отношения, найденным из молекулярно-кинетической теории.

Приборы и принадлежности

Баллон с краном, водяной манометр, компрессор.

Теоретическое введение и описание лабораторной установки

На лабораторной установке (рис. 4) баллон 1 соединен с открытым V-образным водяным манометром 2. Рычажной край 3 через впускной-выпускной штуцер 4 позволяет сообщаться баллону через резиновую труб­ку 6 с нагнетающим насосом 5 или с атмосферой. В сосуд накачивают воздух до максимально допустимого давления. Через 2-3 мин темпера­тура воздуха в сосуде становится равной температуре окружающей сре­ды. Обозначим для первого данного состояния газа его удельный объем V1, давление P1, температуру Т1.

Далее, отсоединив трубку 6 от штуцера 4, быстро нажмем и от­пустим рычаг клапана, на мгновение, соединив баллон с окружающим воздухом. Практически сразу давление воздуха в баллоне станет рав­ным атмосферному. Процесс происходит быстро и его можно считать адиабатическим. Новый удельный объем воздуха - V2, давление - P2=P0 (атмосферное) и температура - Т2. Через 2-3 мин воз­дух в баллоне нагреется до комнатной температуры T3 = Т1, его давление будет P3, а удельный объем V3=V2 (ни масса, ни объем газа не меняются).

Переход из первого, состояния во второе (адиабатический про­цесс) описывается уравнением Пуассона

где  

Сравнивая конечное, третье состояние газа с первым, ви­дим, что температура газа в этих состояниях одинакова, следователь­но, к этому переходу применим закон Бойля-Мариотта

P1V1=P2V2,            (27)

Решая систему двух уравнений ((26), (27)), можно определить γ. Для этого возведем второе уравнение в степень γ разделим его на первое уравнение:

Так как V2=V3, то  или 

Логарифмируя последнее выражение, получим

Обозначим разность уровней жидкости в манометре в первом состоя­нии h1, а в третьем состоянии - h3. Тогда

P1=P0+h1, P3=P0+h3, (P2=P0)

Подставим значения  Р1, Р2, Р3 в соотношение (28):

В данном случае h1 и h3 намного меньше  Р0, поэтому отноше­ние разности логарифмов можно заменить отношением разности чисел, т.е.

Это дает расчетную формулу для нашего опыта

В молекулярно-кинетической теории молярные теплоемкости газа Сp и Сv определяются через число степеней свобода молекулы i и универсальную газовую постоянную R :

Найдем их отношение

В данном случае воздух не очищается от влаги и содержит боль­шое количество паров воды, поэтому число степеней свободы будет соответствовать трехатомным молекулам, т.е. i = 6.

Порядок выполнения работы

1. Вставить резиновую трубку 6 насоса в штуцер 4. Включить насос. Нажать и удерживать в нажатом положений рычаг клапана 3. Наблюдая по шкале манометра 2 за увеличением давления в баллоне 1, довести давление до показания уровня воды в левой трубке мано­метра примерно 20 см. Отпустить рычаг клапана.

2. Подождать 2-3 мин, пока температура в баллоне не уравняет­ся с температурой окружающего воздуха. Определить давление газа в баллоне по формуле h1=hл-hn, где и hn - высота уровня воды в левой и правой трубках манометра, соответственно. и hn, мм, определяются по шкале манометра.

3. Отсоединить трубку насоса 6 от штуцера 4. Быстро нажать и отпустить рычаг клапана 3 - уравнять давление воздуха в баллоне с давлением окружающего воздуха. Когда температура в баллоне уравняется с внешней температурой (примерно через 2-3 мин), определить давление паров воздуха в баллоне по формуле h3=hл - hn.

4. Повторить измерения h1 и  h3  пять раз, руководствуясь пп. 1-3. Вычислить средние значения давлений h1 и h3.

5. По формуле (29) определить отношение молярных теплоемкостей для средних значений давлений h1 и h3.

6. Определить теоретическое значение γ - по формуле (30).

7. Найти абсолютную и относительную погрешность метода измерений.

Контрольные вопросы и задания

1. Запишите и объясните первое начало термодинамики для изохорного, изобарного, изотермического и адиабатического процессов.

2. Что называют удельной и молярной теплоемкостью?

3. Какая из теплоемкостей СP или СV больше и почему?

4. Объясните уравнение Р.Майера.

5. Что называют числом степеней свободы? Как это число связано с СP, СV и γ?

6. Как и почему в опыте меняется температура газа в баллоне?

7. Запишите и объясните уравнения изотермы и адиабаты.

8. Нарисуйте на РV-диаграмме последовательно все процессы, происходящие с газом.

9. Получите рабочую формулу для определения отношения моляр­ных теплоемкостей γ.

5. ОПРЕДЕЛЕНИЕ ИЗМЕРЕНИЯ ЭНТРОПИИ

Цель работы

Опытным путем установить зависимость изменения энтропии от теплоемкости тел при выравнивании температур тел в изолированной адиабатической термодинамической системе.

Приборы и принадлежности Калориметр, термометр, водомерный стакан, нагреватель, набор из шести: испытуемых тел: четыре железных с массами 50, 100, 150, 200 г, латунное и алюминиевое с массами 50 г каждое.

Теоретическое введение

Так же как и внутренняя энергия, энтропия является функцией состояния термодинамической системы. Если термодинамическая систе­ма получает в обратимом процессе количество теплоты δQ при тем­пературе Т, то отношение δQ /T определяет изменение энтропии dS системы, т.е.

и. для обратимого процесса является полным дифференциалом. На прак­тике обычно интересуются только изменением энтропии, а не ее абсо­лютным значением.

Изменение энтропии системы можно найти, используя второе на­чало термодинамики

где интеграл берется по пути термодинамического процесса между состояниями 1 и 2, где S1 и S2 - значения энтропии в этих состояниях. Знак равенства соответствует обратимому процессу, а знак неравенства - необратимому.

Второе начало термодинамики (31) утверждает, что при обрати­мом процессе изменение энтропии системы равно интегралу от  между состояниями 1 и 2 по обратимому пути и больше этого интегра­ла по пути необратимому, т.е. в этом случае интеграл от  не выражает изменение энтропии, а меньше его.

Представляет интерес изучение изменения энтропии в изолиро­ванной адиабатической системе.

Изменение энтропии в изолированной адиабатической системе при квазистатическом (обратимом) процессе равно нулю, так как , т.е.

В случае необратимых процессов в изолированной адиабатической системе   также равно нулю, но изменение энтропии в та­кой системе уже нулю не равно и по формуле (31) для обратимых про­цессов не может быть вычислено. Это вычисление можно сделать, если учесть, что энтропия есть функция состояния системы и ее применение не зависит от характера пути процесса в системе, т.е. обратимого или необратимого. В этом случае для вычисления изменения энтропии можно воспользоваться любым квазистатическим (обратимым) процессом, переводящим систему из состояния 1 в 2, т.е.

В случае выравнивания температуры от T1   до Т2   твердых и жидких тел в изолированной адиабатической системе этот реальный процесс можно заменить изобарическим квазистатическим (обратимым) переходом теплоты между телами. При изобарическом процессе

где т - масса тела;   СР – удельная теплоемкости тела при постоянном давлении. Для характеристики теплоемкости тел исполь­зуется также и удельная теплоемкость при постоянном объеме – СV. У жидких и твердых тел разница между Ср и СV сравнительно мала, так что можно положить Ср ≈ СV и говорить просто об удель­ной теплоемкости жидких и твердых тел С . Нужно помнить, что удельная теплоемкость вещества   С   зависит от температуры, т.е. С = C(Т). Тогда изменение энтропии в этом процессе можно опре­делить

В нашем случае вместо  C(Т) будем использовать среднее значе­ние удельной теплоемкости   С  в интервале температур от T1 до  Т2   и считать для этого температурного интервала среднее зна­чение удельной теплоемкости  С   величиной постоянной, тогда изменение энтропии будем  вычислять по формуле:

В силу того, что энтропия аддитивна, полное изменение энтропии термодинамической системы можно найти, если просуммировать  изме­нения энтропии всех отдельных тел, входящих в состав этой системы, т.е.

где S - изменение энтропии всей системы; n - число тел системы; Si - изменение энтропии одного из тел термодинамиче­ской системы.

Согласно первому началу термодинамики

сообщаемое термодинамической системе тепло  идет на измене­ние внутренней энергии системы dU и совершение системой работы  над внешними телами. В случае твердого и жидкого тел все сообщаемое тепло идет на изменение внутренней энергии, а так как объемы этих тел при нагревании почти не изменяются, то работой расширения  можно пренебречь, т.е.,   чем больше измене­ние энтропии в адиабатно-изолированной системе, тем большее коли­чество тепла необратимо переходит во внутреннюю энергию системы. Поэтому необратимые потери тепла, связанные с реальными необратимы­ми термодинамическими процессами в адиабатно-изолированных систе­мах, принято оценивать по изменению энтропии.

Если в калориметр, содержащий определенное количество воды при заданной  температуре, опустить нагретое тело, то произойдет теплообмен и установится общая температура. Сам калориметр поме­щен во внешний стакан, в результате чего система становится почти адиабатно-изолированной.

Термодинамическому равновесию адиабатической системы соответ­ствует состояние с максимумом энтропии, при этом температура вест частей системы в состоянии равновесия одинакова.

Изменение энтропии такой системы при выравнивании температу­ры погруженного тела и воды можно рассчитать по формулам (34) и (35). В состав исследуемой системы входят: испытуемое тело массой mT с удельной теплоемкостью СT  и начальной температурой Т0, вода калориметра массой с удельной теплоемкостью СВ и начальной температурой Т0 . После окончания процесса теплообмена установится температура Т.

При выравнивании температуры энтропия каждого из тел изменя­ется:

Учитывая аддитивность энтропии (35), можно записать

S = ∆S1 + ∆S2 + ∆S3.

Подставляя значения ∆S1, S2, S3, получим расчетную формулу изменения энтропии всей системы

В данной работе

mB = 0,2 кГ; СВ = 4,18*103 Дж/кГ*град (при t=20ºC);

СT (железо)= 460,5 Дж/кГ*град;

СT (латунь)= 376,7 Дж/кГ*град;

СT (алюминий)= 879,1 Дж/кГ*град.

В работе предлагается рассчитать изменение энтропии шести нагретых тел при опускании в калориметр с водой, температура и масса которой одинаковы в каждом эксперименте.

Порядок выполнения работы

1. Опустить в нагреватель испытуемое тело. Включить нагре­ватель.

2. Пока тело нагревается до температуры T1 кипения воды, наполнить водой водомерный стакан (200 см) и вылить ее в стакан калориметра. По термометру определить начальную температуру Т0 воды и калориметра.

3. После того как вода в нагревателе будет кипеть не менее 5 мин, отключить нагреватель, перенести за нить исследуемое тело в калориметр и быстро закрыть его.

4. По термометру калориметра следить за ростом температуры воды и записать в таблицу ее максимальное значение T.

5. Вылить воде из стакана калориметра и отладить его под струёй воды.

6. Действия, перечисленные в пп. 1-5, повторить с каждым из тел.

7. Определить теплоемкость C каждого из тел и результаты занести в табл.1.

8. По формуле (36) найти изменение энтропии ∆S для каждого из тел и записать в табл.1. Вычислить погрешность метода измерения для самого легкого тела (максимальную погрешность).

9. По данным табл. 1 построить график зависимости ∆S=f(С).

Таблица 1

Исследуе-мое тело

Fe

0,05 кг

F0

0,1 кг

Fe

0,15 кг

Fe

0,2 кг

Al

0,05 кг

Латунь 0,05 кг

Т(К)

С(Дж/К)


S(Дж/К)

Контрольные вопросы и задания

1. Что такое обратимые и необратимые процессы?

2. Охарактеризуйте энтропию и ее изменение.

3. Что такое термодинамическая вероятность состояния (статис­тический вес).

4. Статистический смысл изменения энтропии.

5. Первый закон термодинамики.

6. Вывод рабочей формулы (36) данной работы.

7. Второй закон термодинамики и его статистический смысл.

6. ОПРЕДЕЛЕНИЕ ТЕМПЕРАТУРЫ И УДЕЛЬНОЙ ТЕПЛОТЫ ПЛАВЛЕНИЯ МЕТАЛЛА

Цель работы

Исследовать фазовый переход первого рода на примере плавления и кристаллизации металла. Определить температуру, удельную теплоту плавления металла и изменение энтропии при плавление и кристалли­зации.

Приборы и принадлежности

Тигель с исследуемым металлом, термопара, нагреватель, термо­метр, цифровой вольтметр, секундомер.

Теоретическое введение

Сильное нагревание твердого тела может привести к разруше­нию его кристаллической решетки и к переходу вещества из твердой фазы в жидкую. Фазовое превращение, сопровождающееся поглощением или выделением количества теплоты и изменением удельного объема (объема, занимаемого единицей массы), называется фазовым перехо­дом первого роди. Плавление (переход вещества из твердого состоя­ния в жидкое) и обратный процесс (кристаллизация) для многих крис­таллических веществ является фазовым переходом первого рода. Такой переход всегда изотермичен. Во время фазового переходе сохраняет­ся .двухфазное состояние (например, жидкое и твердое), но плавно ме­няется соотношение масс каждой фазы. Температура перехода зависит от давления. Если при определенном давлении сообщать твердому телу за равные малые промежутки времени одинаковое количество тепла Q, то абсолютная температура тела будет изменяться в соответствии с графиком рис.5. Участок AB представляет собой нагревание твердого тела до температуры плавления Тn .

Для кристаллических тел в точке 6  прекращается дальнейшее повышение температуры. Изотермический участок ВС характеризует переход тела из твердого состояния в жидкое и соответствует одно­временному существованию двух фаз: твердой и жидкой. На участке при плавлении телом поглощается определенное количество теплоты при постоянной температуре. Это количество теплоты, рассчитанное на единицу массы тела, называется удельной теплотой плавления rп . Обозначим через UЖ  и внутренние анергии единицы массы ве­щества в точках С и B , соответствующих жидкой и твердой фазам и через Vж и  VT - удельные объемы жидкости и твердого тела. Тогда по первому закону термодинамики удельная теплота плав­ления может быть выражена так:

где р - постоянное давление, при котором совершается фазовый переход.

Для фазовых переходов первого рода можно рассчитать изменение энтропии по формуле Клаузиуса

В данном случае


где т - масса тела. Знак "+" соответствует поглощению телом количества теплоты (плавлению), знак "-" - кристаллизации, кото­рая сопровождается выделением количества теплоты.

Процесс плавления представляет совой переход вещества из бо­лее упорядоченного кристаллического состояния в менее упорядочен­ное - жидкое. По второму закону термодинамики такой переход должен сопровождаться возрастанием энтропии вещества.

При охлаждении большинства жидкостей до некоторой температуры, зависящей от давления и состава жидкости, начинается процесс крис­таллизации - перехода вещества из жидкой фазы в твердую. Он связан с выделением теплоты, равной теплоте плавления, и для химически чистых жидкостей   протекает при постоянной температуре, равной тем­пературе плавления.

Качественно процесс кристаллизации, как и процесс плавления, можно объяснить изменением характера теплового движения частиц вещества. Под влиянием сил взаимного притяжения между частицами их движение при охлаждении вещества в конце концов превращается в хаотические тепловые колебания около некоторых неизменных средних положений - узлов кристаллической решетки.

Зависимость температуры плавления твердых тел от давления показана на графике рис.6 (кривая плавления). Это кривая равновесия двухфазной системы твердое тело - жидкость, разделяю­щая друг от друга области существования твердой и жидкой фаз. Другой разновидностью фазового переходи первого рода является переход вещества из жидкой фазы в газообразную и обратно.

Фазовые переходы второго рода не связаны с поглощением или выделением теплоты фазового перехода. При этих переходах скачком изменяются какие-либо из параметров системы - теплоемкость, коэффи­циент теплового расширения и некоторые другие характеристики ве­щества. Пример такого перехода - превращение ферромагнетика в парамагнетик в точке Кюри.

Описание лабораторной установки

На лабораторной установке (рис.7) тигель 3 с рабочим веществом 4 установлен над нагревателем 2. На штативе 5 укрепле­на термопара 1. Термопара представляет собой два спаянных провод­ника из разных металлов. Если спаи 12 и II имеют разную темпера­туру, то на концах термопары (клеммы 8) возникает термоЭДС Е . Один конец термопары (12) погружен в нагреваемое рабочее вещество (металл), а другой (11) - имеет температуру окружающего воздуха T1, измеряемую термометром 9. ТермоЭДС прямо пропорциональна разности температур   горячего T2 и холодного  T1 спаев

Коэффициент пропорциональности  определяется по градуировочной кривой термопары (рис. 8). Величина термоЭДС измеряется цифровым вольтметром 10 через равные промежутки времени после нагревания тигля с рабочим веществом, а также при охлаждении ра­бочего вещества. Температура Т2, вычисляется по формуле T2 = ∆T + T1.

Порядок выполнения работы

1. Соединить проводниками клеммы 8 термопары со входом цифрового вольтметра. Положить в нагреватель не более четверти таблетки сухого горючего. Включить цифровой вольтметр.


2. Зажечь сухое горючее, включить секундомер и производить измерение ЭДС через каждые 10 с.

3. После того как будет отмечено несколько одинаковых значе­ний ЭДС (соответствующих плавлению металла), продолжать измерения, пока температура не начнет устойчиво повышаться. Через 3-4 изме­рения потушить (задуть) сухое горючее.

4. Снять кривую охлаждения. Для этого измерять Е, через каждые 10 с по мере охлаждения металла.

5. По графику градуировки термопары определить разность тем­ператур ∆Т   для каждого значения ЭДС при плавлении и кристалли­зации металла.                                          

6. Определить комнатную температуру T1 и, прибавив ее к зна­чениям ∆T , полученным из графика, найти и записать температуру металла, соответствующую каждому измерению.

7. Построить графики зависимости температуры T металла от времени при плавлении и кристаллизации.

8. По графикам определить среднюю температуру плавления и кристаллизации.

9. По температуре плавления и данным табл.2 идентифицировать рабочее вещество и найти его удельную теплоту плавления.

10. По формуле (39) определить теплоту плавления для дан­ной массы рабочего вещества (m = 85 г) и, используя соотношение (38), вычислить изменение энтропии фазового перехода для слу­чая плавления и кристаллизации.

II. Определить погрешности изменения энтропии.

Таблица  2

Металл

Тпл, К

rn, кДж/кг

I. Алюминий 931,1 396,79
2. Висмут 542 54,4
3. Олово 504,86 61,12
4. Свинец 600,4 20,93
5. Серебро 1233 92,09
6. Сурьма 903,5 101,72
7. Цинк 692,5 111.35

8. Сплав: олово 61 %,

свинец 39 %

427 45.44

9. Сплав: олово 40 %,

свинец 60 %

611 37

10. Сплав: олово 30 %,

свинец 70 %

525 33

Контрольные вопросы и задания

1. Что называется фазовым переходом первого рода, второго рода?

2. Что называется плавлением и кристаллизацией твердых тел.

3. Раскройте сущность физического смысла изменения энтропии при плавлении и кристаллизации твердых тел.

4. Какие системы называют гомогенными и гетерогенными? Что называется фазой в термодинамике?

5. Объясните ход температурной кривой при плавлении и крис­таллизации?

6. Что называется удельной теплотой плавления твердого тела? Как она определяется?

7. ИЗМЕРЕНИЕ КОЭФФИЦИЕНТА ЛИНЕЙНОГО РАСШИРЕНИЯ МЕТАЛЛА

Цель работы

 Определить сопротивление не нагретой и нагретой металлической проволоки, ее удлинение при нагревании и коэффициент линейного расширения.

Приборы и принадлежности

Нихромовая проволока (Ni 90 %,  Сr 10 %), источник питания постоянного тока, вольтметр, амперметр, пружина, шкала для измере­ния длины проволоки.

Теоретическое введение

Опыт показывает, что с повышением температуры происходит расширение твердя тел, называемое тепловым расширением. Для ха­рактеристики этого явления введены коэффициенты линейного и объем­ного расширения. Пусть l0 - длина тела при температуре 0 ˚С. Удлинение этого тела ∆l  при нагревании его до температуры t°С пропорционально первоначальной длине l0 и температуре:

где α - коэффициент линейного расширения, характеризующий относительное удлинение ∆l/l, происходящее при нагревании тела на 1 К.

Длина тела при температуре t

отсюда

Тепловое расширение большинства твердых тел весьма незначи­тельно. Поэтому длина l0  при 0 °С очень мало отличается от дли­ны l при другой температуре t, например комнатной. Поэто­му в выражении коэффициента линейного расширения (41) l0 можно заменить на l1, а l - на длину l2 при температуре t2, значительно большей, чем  t1:

Причина расширения твердых тел при нагревании - возрастание амплитуды тепловых колебаний атомов. График зависимости потенци­альной энергии взаимодействия соседних атомов от расстояния между их центрами r приведен на рис. 9. Пунктиром показан уровень полной энергии E взаимного колебания атомов при данной темпе­ратуре. При данной энергии Е расстояние между атомами при теп­ловых колебаниях изменяется от r1 до r2. Если r0<r<r1 (атомы сближаются), между атомами действуют силы отталкивания. Когда r=r0, полная энергия равна кинетической энергии теплового колебательного движения. При уменьшении r до r1 происходит переход кинетической энергии в потенциальную энергию взаимодействия атомов. Далее под действием сил отталкивания атом движется в сто­рону увеличения r . Его кинетическая энергия возрастает, а по­тенциальная - уменьшается. Когда r становится больше r0, воз­никают силы притяжения между атомами, кинетическая энергия атома уменьшается, а потенциальная увеличивается. В точке r=r2,   пол­ная Е энергия переходит в потенциальную. Далее под действием сил притяжения атомы начинают сближаться И весь процесс колебаний атома между точками r1 и r2 повторяется.

Как видно из рис.9, вследствие несимметричности кривой и(r) среднее расстояние между соседними атомами при данной температуре

больше, чем r0, и возрастает с ростом температуры, так как увеличивается полная энергия атома.

Описание лабораторной установки и метода измерений.

Схема лабораторной установки приведена на рис. 10.

Нихромовая проволока 1 закреплена между клеммами 2, 3, при­чем клемма 3 соединена с растягивающей пружиной 4. По проволоке течет постоянный ток. Сила тока I измеряется амперметром A, а напряжение U вольтметром V . По закону Джоуля - Ленца в проводнике, по которому течет ток, выделяется тепло

зависящее от времени его прохождения t, сопротивления проводни­ка R и силы тока I. Проводник нагревается, сопротивление металла увеличивается с ростом температуры по закону

где   R1 - сопротивление проводника при комнатной температуре t1°С;

R2 - его сопротивление при нагревании до температуры t2°С;

β - температурный коэффициент сопротивления нихромовой проволоки,  

Из соотношения (43) можно определить разность температур

зная сопротивления   R1 и R2.

Сопротивление   R1, определяется по формуле

где   ρ - удельное сопротивление нихрома при   t1 = 20 °С; ;

l1 - длина проволоки при комнатной температуре, м, l1 = 0,34;  d - ее диаметр, мм,  d = 0,4.

Сопротивление проволоки R2 при температуре t2 опреде­ляется по закону Ома для участка цепи

Удлинение проволоки   при нагревании измеряется по шкале 5.

Порядок выполнения работы

1I. Собрать схему рис. 9. Включить источник питания. Подождать 2-3 мин, пока проволока не нагреется до максимальной темпе­ратуры и не наступит тепловое равновесие. Измерить силу тока, на­пряжение и удлинение проволоки  ∆l. Опыт повторить три раза, определить средние значения I и U.

2. Измерить температуру воздуха t1 °С в лаборатории.

3. По формуле (45) вычислить сопротивление проволоки R1 при температуре t1 0C.

4. Для средних значений I и U определить сопротивление проволоки R2 при температуре  t2 0С, используя закон Ома (46).

5. Используя соотношение (44), вычислить разность температур t2 - t1. Найти температуру нагретой проволоки t2.

6. По формуле (42) определить коэффициент линейного расшире­ния α для нихромовой проволоки.

7. Определить погрешности измерения R2, t2, α.

8. Сравните результаты измерения α с табличным значениям.

Контрольные вопросы и задания

1. Что называется коэффициентом линейного расширения твердых тел?

2. Объясните причину теплового расширения твердых тел.

3. Как определяется в работе удлинение проволоки?

4. Как определяется сопротивление проволоки R1 при комнатной температуре t1, и сопротивление нагретой проволоки?

5. Почему при прохождении тока по металлическому проводнику он нагревается?

6. Как изменяется сопротивление проводника при изменении температуры?

7. Как определяется в работе температура нагретой проволоки?

8. Как изменяется длина твердого тела при нагревании?

9. Как можно определить количество теплоты, выделившееся в проводнике при прохождении тока?

ЧАСТЬ    П

I. ИЗУЧЕНИЕ РАВНОУСКОРЕННОГО ДВИЖЕНИЯ И ОПРЕДЕЛЕНИЕ УСКОРЕНИЯ СВОБОДНОГО ПАДЕНИЯ НА ПРИБОРЕ АТВУДА

Цель работы

Изучить равноускоренное движение и определить ускорение свободного падения на приборе Атвуда.

Приборы и принадлежности

Прибор Атвуда, дополнительные сменные грузики.

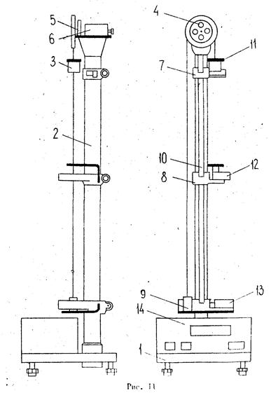
Описание экспериментальной установки

Экспериментальная установка (рис. 11) собрана на платформе 1 с вертикальной колонной 2 и представляет собой систему грузов 3, соединенных между собой нитью, переброшенной через блок 4. Масса каждого груза равна М = 60 г. Блок 4 для уменьшения сил трения в опоре смонтирован в подшипнике 5, а электромагнит­ная фрикционная муфта 6 обеспечивает начальную фиксацию грузов и их торможение в конце перемещения. Блок с фрикционной муфтой закреплен на верхнем конце колонны 2, а между блоком и основа­нием 1 имеются три подвижных кронштейна 7, 8 и 9, расстояние между которыми определяется с помощью миллиметровой шкалы 10, расположенной на колонне 2.

Верхний кронштейн 7, оснащенный риской, служит для фиксации начального положения системы грузов. Средний кронштейн 8 обеспечивает съем дополнительного грузика 11, а фотоэлектрический датчик 12 на этом кронштейне включает электронный секундомер в момент съема дополнительного грузика. На нижнем кронштейне 9 есть еще един фотоэлектрический датчик 13, выключающий секундомер и включающий электромагнитную муфту 6 для торможения подвижной системы.


В отсутствие дополнительного грузика 11 вся подвижная система находится в состоянии равновесия и либо покоится, либо двигается равномерно. Неравномерность движения в этом случае может быть обус­ловлена только сопротивлением воздуха, наличием трения в опоре, моментом инерции блока и весом нити. Дополнительный грузик 11, по­мещенный на один из основных грузов, выводит систему из состояния равновесия, и при обесточенной фрикционной муфте 5 система начина­ет двигаться. Это движение в первом приближении является равноус­коренным.

Таким образом, в рабочем состоянии прибора перемещение сис­темы грузов на участке между верхним 7 и средним 8 кронштейнами будет равноускоренным, а на участке между средним 8 и нижним 9 кронштейна­ми - равномерным. Секундомер прибора 14 фиксирует время перемещения рабочего (первого) груза между средним и нижним кронштейнами, т.е. на участке равномер­ного движения длиной S (рис. 12).

Работа с прибором

I. При отключенном питании прибо­ра проверить свободу перемещения системы грузов и переместить рабочий правый груз в верхнее положение.


2. Включить клавишу "Сеть", проверить работу индикаторов и лампочек фотоэлектрических датчиков: индикатор электронного се­кундомера должен высвечивать “О” по всех разрядах, а лампочка светиться. При включенном питании должна сработать электромаг­нитная муфта и зафиксировать положение грузов.

3. Если на индикаторе отсутствует “О” во всех разрядах, то необходимо нажать клавишу "Сброс".

4. Изменить начальное положение системы грузов можно следующим образом. Придерживая балансировочный груз, нажать клавишу «Пуск» и, переместив систему в нужное положение, отжать клавишу «Пуск». Нажатие клавиши «Пуск» обесточивает электромагнитную муфту, предоставляя свободу перемещения системе грузов.

5. Перед началом измерений аккуратно положить на рабочий правый груз дополнительный грузик и проверить установку начального по­ложения по совпадений нижнего среза рабочего груза с риской на верхнем кронштейне.

6. Нажать клавишу «Пуск» и после остановки системы грузов записать показания индикатора, указывающего время равномерного движения системы между фотоэлектрическими датчиками.

7. Для возврата системы грузов в исходное состояние необхо­димо нажать клавишу «Сброс» и, аккуратно опустив вниз балансиро­вочный (левый) груз, установить систему в исходное положение. При совпадении нижнего среза рабочего груза с риской на верхнем кронштейне отжать клавишу «Пуск», в результате чего положение гру­зов будет зафиксировано электромагнитной муфтой.

8. Для изменения расположения среднего кронштейна следует освободите фиксирующий винт, находящийся с его тыльной стороны, переместить кронштейн в нужное положение и нажать фиксирующий винт.

Теоретическое введение

Найдем закон движения груза 3 с перегрузком 11 (см.рис. 11). Будем пользоваться неподвижной системой координат, центр которой совмещен с осью блока. Ось ОХ  направим вниз. Пусть массы грузов 3 равны М, а масса перегрузка - т.

На правый груз с перегрузком (см. рис. 13) действуют силы тяжести (М+т)g и натяжения нити Т1. По второму закону Ньютона

               (47)

где  а - ускорение правого груза.

Применим второй закон Ньютона к движению левого груза. В силу нерастяжимости нити ускорение левого груза разно ускорению правого груза по абсолютной величине и направлено в противоположную сторону. Оно равно, следовательно, а. Натяжение левого конца нити обозначим Т2. Тогда

                              (48)


Если пренебречь моментом инерции блока, натяжения T1 и T2  равны:

T1=T2                                      (49)

Решая совместно уравнения (47) и (48) с учетом (1.3), получаем:

Движение правого груза на участке длиной S1, между кронш­тейнами 7 и 8 будет равноускоренным. В момент достижения грузом кронштейна 8 его скорость

(начальная скорость правого груза была равна нулю).

После снятия кронштейном 8 грузика 11 дальнейшее движение правого груза на участке длиной S между средним и нижним кронштейнами является равномерным и осуществляется со скоростью, определяемой по формуле (51). Время прохождения этого участка

Измерив время t, можно из выражения (52) рассчитать ве­личину ускорения свободного падения:

Порядок выполнения работы

1. Установить средний кронштейн на расстоянии S1 = 0,1 М от верхнего кронштейна.

2. Положить на рабочий правый груз поочередно дополнительные грузики массой m1, m2, m3 и измерить для каждого случая время t равномерного движения системы на участке пути длиной S. Время t для каждого дополнительного грузика измерять три раза.

3. Установить средний кронштейн поочередно на расстоянии S1= 0,2 и 0,3M от верхнего кронштейна и снова измерить время t - прохождения системой участка равномерного движения между средним и нижним фотодатчиками для трех дополнительных грузиков.

4. Данные занести в таблицу.

5. По полученным  данным рассчитать величины скоростей равномерного движения системы для различных значений m и S1; найти значения квадратов этих скоростей.

6. Построить график зависимости квадрата скорости равномер­ного движения системы от величины пути  S1 для различных зна­чений массы дополнительных грузиков.

7. По графикам определить значения ускорений a1, a2, и a3, с которыми двигалась система на участке S1 для различных масс m1, m2, m3 дополнительных грузиков (учесть, что для равно­ускоренного движения выполняется соотношение (1.5). Результаты за­нести в таблицу.

8. Пользуясь данными таблицы, рассчитать ускорение свободно­го падения по формуле (53) для значений m1, m2, т3 и величин S1= 0,1м, S2=0,2м, S3= 0,3м.

9. Рассчитать теоретически значения ускорения системы гру­зов по формуле (50) и сравнить с экспериментально полученными данными. При расчете использовать значение g = 9,8 м/с2. Объяснить расхождение теоретических и экспериментально наблюдаемых резуль­татов.

10. Рассчитать погрешности определения ускорения свободного падения. Для расчета воспользуемся формулой (53), считая m, M точно известными величинами. Абсолютные погрешности измере­ния S и S1° считать равными 1 мм, а среднюю погрешность изме­рения времени рассчитать по данным таблицы.

Контрольные вопросы и задания

1. Рассчитайте скорости системы грузов на равномерном участке их движения, используя закон сохранения энергии, и срав­ните результат расчета со значением скорости, полученным в экс­перименте.

2. Что такое перемещение, скорость и ускорение материаль­ной точки?

3. Что такое тангенциальное и нормальное ускорения? Какое ускорение вы измеряли в данной работе?


2. ИССЛЕДОВАНИЕ ЗАКОНА СОХРАНЕНИЙ ЭНЕРГИИ И ОПРЕДЕЛЕНИЕ МОМЕНТА ИНЕРЦИИ ТЕЛА С ПОМОЩЬЮ МАЯТНИКА МАКСВЕЛЛА

Цель работы

Определить экспериментально момент инерции тая вращения.

Приборы и принадлежности Маятник Максвелла.

Описание экспериментальной установки

Экспериментальная установка (рис. 13) собрана на основании I. На колонке 2 прикреплены неподвижный верхний кронштейн 3 и под­вижный нижний кронштейн 4. На верхнем кронштейне находятся электромагнит 5, фотоэлектрический датчик 6 и вороток 7 для за­крепления и регулирования длины бифилярной подвески маятника.

Нижний кронштейн вместе с фотоэлектрическим датчиком 8 мож­но перемещать вдоль колонки и фиксировать в произвольно выбран­ном положении.

Маятник прибора 9 - это ролик, закрепленный на оси и под­вешенный по бифилярному способу. На ролик маятника накладываются сменные кольца 10, изменяющие таким образом момент инерции сис­темы.

Маятник с насаженным кольцом удерживается в верхнем положе­нии электромагнитом. Длина маятника определяется по миллиметровой шкале на колонке прибора. Для облегчения измерения длины маятни­ка нижний кронштейн оснащен указателем, помещенным на высоте оптической оси нижнего фотоэлектрического датчика.

Пульт управления прибором 11, снабженный миллисекундомером, установлен на основании прибора 1.

Параметры маятника:

максимальная длина - 0,41 м;

количество сменных колец - 3 шт.;

массы сменных колец - m1, m2, m3 (указаны непосредст­венно на кольцах) или

где I - момент инерции маятника относительно оси 0 .

Решение этого уравнения дает период свободных колебаний маят­ника

                             (75)

Из выражения (75) следует, что для нахождения ускорения g с помощью физического маятника необходимо измерить период коле­баний T, массу маятника m, расстояние L0 и момент инерции I. Период T и масса m измеряются с большой точностью; точность определения величин I и L0 обычно невелика.



Точное значение ускорения силы тяжести можно найти посредством оборот­ного маятника - разновидности физиче­ского маятника. Достоинство рассмат­риваемого метода - возможность исклю­чить величины I и  L0 расчетной формулы для g .

Оборотный маятник (рис. 17) состо­ит из стального стержня Е, на кото­ром укреплены опорные призмы А и С. Период колебаний маятника можно менять перемещением грузов В и D.

Во всяком физическом и, следова­тельно, оборотном маятнике можно найти такие две точки, что при последователь­ном закреплении маятника в той или другой точке период колебаний маят­ника остается неизменным. При равенстве периодов колебаний оборотного ма­ятника при закреплении его призмами А и С (рис.17)

                 (76)

где I1 и  I2  - моменты инерции маятника относительно осей, проходящих через точки  A и С : a1  a2 - расстояния от  центра тяжести до соответствующих осей качания. На основании теоремы Штейнера:

I1=I0+ma12,   I2=I0+ma22,   (77)

где I0 - момент инерции маятника относительно оси, проходящей через его  центр тяжести и параллельной оси качания.

Подставив (77) в  (76)  и исключив I0 и m, получим формулу для ускорения силы тяжести

Величина L=a1+a2 равна расстоянию между призмами и называется приведенной длиной физического маятника. Таким образом, для опре­деления ускорения силы тяжести с помощью оборотного маятника не­обходимо измерить две величины; период колебаний  Т  и приведен­ную длину  L  физического маятника, измерить которую можно пере­распределением масс маятника.

Порядок выполнения работы

1. Закрепить грузы В и D так, чтобы они находились на расстоянии 8-10 см от концов стержня.

2. Призму  A  закрепить в начале  стержня, а призму   С  - на расстоянии 35-40 см от призмы A. По шкале, нанесенной на стержне, найти  расстояние между призмами  a1+a2.

3. Закрепить маятник на вкладыше верхнего кронштейна установ­ки на призме A.

4. Нижний кронштейн установки переместить таким образом, чтобы стержень  маятника  пересекал оптическую ось фотоэлектри­ческого  датчика.

5. Отклонив маятник от положения равновесия на угол 4-5°, предоставить ему возможность совершать свободные колебания.

6. Нажать клавишу "Сброс".

7. После подсчета 10 полных колебаний нажать клавишу "Стоп".

8. По данным измерений количества периодов n и полного времени колебаний маятника t найти период

T=t/n

9. Для различных положений h  груза D на стержне оборотного маятника Е рассчитать периоды колебаний маятника Тi в соответствии с пп. 5-8. При этом положение груза B остается постоянным.

10. Подвесить маятник на призму С.

11. Выполнить указание п. 4.

12. Определить периоды колебаний оборотного маятника для различных положений груза  D на стержне Е в тех же пределах и с тем же числом измерений,

13. По данным таблицы построить на миллиметровой бумаге графики зависимостей периодов  T1, и T2 от положения груза D на стержне. Точка пересечения кривых определит местонахождение под­вижного груза D , при котором значения периодов будут равны (Т1=Т2 =T).

14. Для этого положения груза  D  в соответствии с пп. 5-8 найти период колебаний маятника относительно призм  A и С. Полученные данные занести в таблицу.

15. Рассчитать по формуле (78) ускорение свободного падения.

Контрольные вопросы и задания

1. Что называется ускорением силы тяжести? Как оно направ­лено?

2. От чего зависит ускорение силы тяжести?

3. Что такое свободное падение тел?

4. Дайте определение физического маятника.

5. Выведите формулу для периода колебаний физического маят­ника.

6. Что такое приведенная длина физического маятника?

7. Дайте определение момента.инерции тела.

8. Чему равен момент инерции обруча, диска, шара и стержня . относительно центра масс?

9. Сформулируйте теорему Штейнера.

10. Выведите и сформулируйте основное уравнение динамики вращательного движения.

11. Выведите математическое выражение закона сохранения момента импульса.

12. Как определить направление момента силы и момента импульса?

4. ОПРЕДЕЛЕНИЕ МОМЕНТОВ ИНЕРЦИИ ТВЕРДОГО ТЕЛА С ПОМОЩЬЮ КРУТИЛЬНОГО МАЯТНИКА

Цель работы

Определить моменты инерции твердого тела.

Приборы и принадлежности

Крутильный маятник, набор тел различной формы и массы.

Описание экспериментальной установки

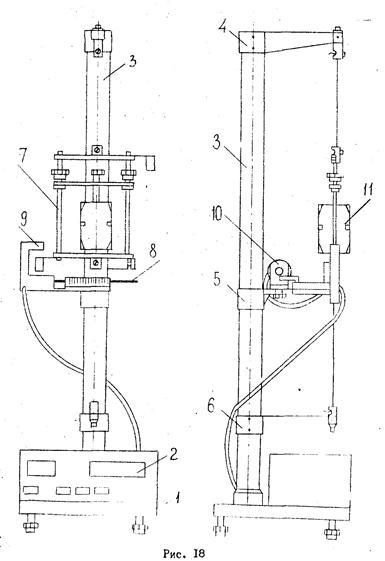
К основанию крутильного маятника (рис.18) прикреплены миллисекундомер 2 и колонна 3. На последней с помощью прижимных вин­тов закреплены кронштейны 4-6. Кронштейны 4 и б имеют зажимы, служащие для .закрепления стальной проволоки, на которой подвешена рамка 7, а на кронштейне 5 находится стальная плита 8. На ней раз­мещены фотоэлектрический датчик 9 и электромагнит 10. Конструкция рамки позволяет закреплять к ней тела различной формы 11. Эти тела крепятся в рамке подвижной планкой, а планка затягивается гайками на зажимных втулках.

Работа с прибором

1. Включить питающее напряжение нажатием клавиши "Сеть". При этом должны светиться лампочки фотоэлектрического датчика и индикатора секундомера.

2. Нажать клавишу "Сброс". Это вызывает зануление индикато­ра секундомера, генерирование сигнала разрешения на измерение и включение обмотки электромагнита.

3. Повернуть рамку прибора так, чтобы стрелка рамки была фиксирована электромагнитом.

4. Нажать клавишу "Пуск". Нажатие этой клавиши отключает электромагнит, рамка опускается и совершает крутильные колеба­ния. Миллисекундомер при этом отсчитывает число и время колебаний.

5. После совершения рамкой определенного числа колебаний систему остановить нажатием кнопки "Стоп". Показания индикатора времени занести в таблицу. Время измеряется три раза при одном и том же числе колебаний.

6. Изменив момент инерции системы путем установки в рамку цилиндра или исследуемого тела, снова нажимаем клавишу "Сброс" и проводим измерения числа колебаний и времени по пп. 3-5.

С учетом данных (масса цилиндра т и диаметр d) рас­считывают   момент инерции цилиндра 10.

Теоретическое введение

Момент силы, который действует на тело, закрепленное в крутильном маятнике,

где К - коэффициент жесткости нити подвеса, зависящий от мате­риала нити и ее геометрических размеров - длины и диаметра. Знак "-" отражает противоположную направленность момента упругой силы нити и угла ее деформации. Записав основное уравнение динамики вращательного движения с учетом (79), получим

где I  - момент инерции тела, совершающего крутильные колеба­ния. Решая уравнение (80),найдем период колебаний

Если вращающееся тело - составное (рамка с закрепленным в ней исследуемым телом), то I=Ip+Im, где Ip, Im - момен­ты инерции рамки и исследуемого тела соответственно. Поэтому период колебаний рамки с закрепленным в ней исследуемым телом

Из формулы (82) следует, что для нахождения момента инерции тела Im измеренной величине Т2  необходимо знать момент инерции рамки  Ip и коэффициент жесткости нити подвеса к, т.е. нужны два дополнительных измерения:

I)            определение периода колебаний  10 рамки прибора (без дополнительных грузов). В соответствии с (81)

II)         

2) определение периода колебаний Т1 рамки прибора с за­крепленным в ней талом, момент инерции которого известен. Например, цилиндр с моментом инерции I0=mr2/2, где m и r - масса и радиус цилиндра:

Решая совместно (83) и (84), находим величины - Iр и К  по измеренным периодам колебаний T0 и T1.   После подстановки значений Ip и К в (84) получаем:

Порядок выполнения работы

1. Определить периоды колебаний рамки T0  и рамки T1 с исследуемым телом. При выполнении работы необходимо измерить моменты инерции тела относительно его трех главных осей.

2. Данные занести в таблицу.

3. По полученным       значениям определить по формуле (85) моменты инерции исследуемого тела относительно трех главных осей.

Контрольные вопросы и задания

1. Что такое момент инерции твердого тела? Какова размерность момента инерции в СИ?

2. Запишите основное уравнение динамики вращательного движения:

а) в дифференциальной форме; б) в проекции на неподвижную ось.

3. Чему равна угловая частота колебаний крутильного маятника?

4. Сформулируйте теорему Штейнера.

5. ИЗУЧЕНИЕ ОСНОВНОГО ЗАКОНА ДИНАМИКИ ЕРАЩАТЕПЬНОГО ДВИДЕНИЯ НА КРЕСТООБРАЗНОМ МАЯТНИКЕ ОБЕРБЕКА

Цель работы

Изучить основной закон динамики вращательного движения

Приборы и принадлежности

Маятник Обербека, набор грузов.

Описание экспериментальной установки

На вертикальной колонне 1 (рис. 19), установленной на основа­нии 2, укреплены: кронштейны - нижний неподвижный 3 и верхний подвижный 4 и две неподвижные втулки – нижняя 5 и верхняя 6. На верхней втулке 6 закреплен подшипниковый узел диска  7. Через не­го перекидывается нить 8. На одном конце нити крепятся грузы 9, а второй конец фиксируется к двухступенчатому диску 10.

На нижней втулке 5 находится подставка II, к которой при­креплен тормозной электромагнит, удерживающий с пометой фрикци­онной муфты крестовину с грузом в состоянии покоя. Подвижной крон­штейн 4 перемещается вдоль колонны и его можно фиксировать в любом положении, изменяя таким образом длину пути, проходимую грузами 9.

На колонну нанесена миллиметровая шкала 12. На подвижном 4 и неподвижном 3 кронштейнах закреплены фотоэлектрические датчики. дающие сигналы для измерения времени и включающие тормозной элект­ромагнит, когда грузы достигнут резинового амортизатора 13, ограни­чивающего их движение. На основании прибора расположен миллисекундомер, фиксирующий время прохождения грузами определенного расстоя­ния.

Работа с прибором

1. Закрепить (или снять) грузы на крестовине при отключен­ной питании прибора. Проверить правильность намотки нити на вращающийся двухступенчатый диск.

2. Поднять грузы 9 массой m (рис.19), вращая крестовину, на определенную высоту так, чтобы основание грузов совпадало с риской на верхнем фотоэлектрическом датчике.

3. Включить клавишу "Сеть". Отжать клавишу "Пуск". При этом включается блокирующее устройство и грузы фиксируются в первона­чальном состоянии.

4. Включить клавишу "Пуск". При этом отключается электромаг­нит, фиксирующий систему грузов, и запускается миллисекундомер. Когда грузы пересекут луч второго фотокатода, отключается милли­секундомер и включается электромагнит, тормозящий движение грузов. Показания миллисекундомера занести в таблицу.

5. Нажать клавишу "Сброс". При этом очищается от показаний миллисекундомер и освобождается блокирующее устройство, позволяю­щее передвигать грузы в исходное положении.

6. Поднять грузы на определенную высоту в соответствии с п. 2, отжать клавишу "Пуск". Состояние грузов снова будет зафик­сировано.

7. Нажать клавишу "Пуск". Повторить измерения времени движе­ния грузов между верхним и нижним датчиками.

Порядок выполнения работы

Определение момента инерции крестовины.

1) Снять грузы с крестовины маятника. Измерить время движе­ния груза массой m01. Повторить опыт три раза. Найти среднее значение времени падения груза. Повторить эксперимент, изменяя массу подвижных грузов (использовать грузы m01 = 54,5 г; m02 = 54,5 + 40 г, m03 =  54,5 + 40 + 239 г).

2) Определить ускорение, с которым двигался подвижный груз:

Высоту падения грузов измерить по шкале, укрепленной на колонне.

3) Найти угловое ускорение двуступенчатого диска

где r = 4,3 см - радиус большой ступени диска; r = 2,4 см - радиус малой ступени.

4) Вычислить момент сил, действующих на диск для трех значений: m01, т02, т03 по формуле:

M=m0(g-a)r2,   (88)

5) Все данные измерений и вычислений занести в таблицу.

6) Построить зависимость  М от E по полученным данным. По графику определить момент инерции I0  крестовины без грузов на ней.

Определение моментов инерции грузов

1. Установить четыре груза на расстоянии R от оси враще­ния крестовины (расстояние между насечками на крестовине 1 см). Измерения провести для трех значений R.

2. Определить момент инерции системы Ic;  путем измерения времени падения грузов  m0 при одном значении   m0. Повторить опыт три раза, расчет  ic выполнить по формуле:

3. Учитывая, что Ic = I0 + 4I2,0 найти Iгр для данного значения m0.

4. Установить грузы на другом расстоянии R от оси враще­ния. Повторить измерения Iс. Вычислить Iгр для нового значения R.

5. Повторить эксперименты, описанные в пп. 2-4, меняя расстояние R, Вычислить для каждого значения R моменты инерции Iгр.

6. Данные занести в таблицу.

7. Начертить график Iгр= f(R2).

8. Объяснить полученные результаты

Контрольные вопросы и задания

1. Что является мерой инертности тела при поступательном и вращательном движении?

2. Что называется моментом инерции тела относительно оси вращения? Назовите единицу измерения момента инерции.

3. Какие способы определения момента инерции тел вы знаете?

4. Сформулируйте теорему Штейнера.

5. Запишите основной закон вращательного движения.


6. ОПРЕДЕЛЕНИЕ КОЭФФИЦИЕНТОВ ТРЕНИЯ С ПОМОЩЬЮ НАКЛОННОГО МАЯТНИКА

Цель работы

Ознакомиться со сложным механическим движением; определить коэффициенты трения различных пар материалов.

Приборы и принадлежности

Наклонный маятник, набор пар трения - шариков и плоских поверхностей качения.

Описание экспериментальной установки

Наклонный маятник (рис.20) собран на платформе I, оснащен­ной регулировочными винтами, позволяющими устанавливать платфор­му в горизонтальном положении. На платформе закреплена поворот­ная штанга 2, положение, которой изменяется ручкой 3, а угол на­клона β контролируется по шкале 4. Со штангой 2 посредством специального держателя жестко связана плоская полированная плас­тинка 5,   являющаяся одним телом трущейся пары. В качестве вто­рого тела в установка используются сменные шарики 6, подвешиваемые с помощью тонкой нити к пилону штанги 2. Отклонение шарика 6 от положения равновесия (угол α) измеряется по шкале.

Данный прибор допускает измерение коэффициентов трения скольжения для различных твердых трущихся пар. По известным зна­чениям коэффициентов может быть определена сила трения

Fmp = f*N,

где   f - коэффициент трения; N - сила нормального давления. Работа с прибором

1. Установить штангу маятника 2 в положение, соответствую­щее нулевое показанию индикатора угла наклона 4.

2. Проверить правильность установки прибора с помощью шарика, используемого в качестве отвеса. При правильном положении прибора угол отклонения шарика (α) должен быть равен нулю и шарик лишь слегка касается поверхности качения.

3. Откорректировать при необходимости положение прибора ре­гулировочными винтами в платформе прибора.

4. Установить угол наклона штанги прибора β в пределах 50...60°.

Теоретическое введение

На шарик выведенный из положения равновесия, действуют следующие силы: тяжести (тg), натяжения нити (Т), реакции опоры (N) и трения (Fтр) (рис. 21). Под действием скатывающей силы, являющейся геометрической суммой указанных сил (Fck = mg + T + N + Fmp), шарик совершает колебательное движение. Наличие силы трения между шариком и поверхностью качения приводит к уменьшения амплитуды колебаний шарика во времени. Работа сил трения может быть представлена в виде

где Imp - сила трения, Imp =f*N; S - путь, пройденный шариком , f - коэффициент трения; N - сила реакции опоры; N = mg*sinβ; R - длина нити под­веса; α0 - начальный угол отклонения шарика; αn - конечный угол отклонения шарика; n - число полных колебаний, совершенных шариком при его движении.

Вследствие работы сил трения уменьшается механическая энергия шарика. Убыль механической энергии численно равна работе сил трения:

W0-Wn=Amp,   (91)

где W0,Wn - механическая энергия шарика в исходном и конечном состояниях.

В качестве начального и конечного состояний шарика наиболее удобно принимать положения его максимального отклонения, когда скорость движения шарика равна нулю, а механическая энергия численно равна потенциальной энергии шарика. В этом случае

Amp=П0-Пn=mg(h0-hn),   (92)

где h0, hn - начальная и конечная высота подъема шарика. Вы­сота подъема шарика может быть выражена через угол наклона штанги β, угол отклонения шарика от положения равновесия в плоскости колебаний α и длину нити подвеса (рис. 21)

h=Rcosβ(1-cosα),   (93)

В этом случае выражение (92) принимает вид

Amp=mgRcosβ(cosαn-cosα0)=

=

поскольку для малых углов (α≤5º0,09 рад) sinαα,

то

Тогда

Сопоставляя соотношения (90) и (95), получаем выражение для коэффициента трения

где α0 и αn выражены в радианах. Поскольку шкала для изме­рения углов @@ про градуирована в градусах, то рабочий вид формулы (96) имеет вид:

где углы α0  и αn  выражены в угловых градусах.

Порядок выполнения работы

1. Установить угол β наклона штанги прибора на 50...60°.

2. Отклонить шарик от положения равновесия на угол α0<= 5° с помощью вспомогательного предмета (карандаш, ручка).

3. Убрать вспомогательный предмет, представив возможность шарику свободно перемещаться.

4. Зафиксировать угол отклонения шарика от положения равнове­сия @n после 8-10 его полных колебаний.

5. Повторить измерения 3-4 раза и результаты занести в таб­лицу.

6. Найти среднее значение αn. Результаты внести в таблицу.

7. Найти среднюю ошибку измерения конечного угла отклонения. Результаты   занести в таблицу.

в. Используя полученные данные, по формуле (97) определить величину коэффициента трения, результат записать в таблицу,

9. Увеличить угол наклона β  штанги прибора на 5-10° и повторить измерения.

10. Сделать выводы.

Контрольные вопросы и задания

1. Что такое сила нормального давления? и. Запишите уравнение, связывающее силу трения с силой нормального давления.

3. Какие виде трения вы знаете?

4. Чем обусловлены силы трения?

5. В каких случаях силы трения играют положительную роль?

6. В каких случаях силы трения играют отрицательную роль?

7. Как можно изменить силу трения?

7. ОПРЕДЕЛЕНИЕ СКОРОСТИ ПОЛЕТА ТЕПА С ПОМОЩЬЮ БАЛЛИСТИЧЕСКОГО КРУТИЛЬНОГО МАЯТНИКА

Цель работы

Определить экспериментально скорости движения тела.

Приборы и принадлежности

Баллистический крутильный маятник.

Описание экспериментальной установки

Общий вид баллистического маятника показан на рис.22.

В основании 1 установлена колонка 2, на которой закреплены верхний 3, нижний 4 и средний 5 кронштейны. К среднему кронштей­ну прикреплены стреляющее устройство 6, прозрачный   экран с нанесенной на него угловой шкалой 7 и фотоэлектрический датчик 8.

Кронштейны 3 и 4 имеют зажимы, служащие для крепления сталь­ной проволоки 9, на которой подвешен маятник. Маятник состоит из двух мисочек, наполненных пластилином 10, двух перемещаемых грузов 11, двух стержней 12 и водилки 13.

Блок управления прибором 14 размещен на основании 1.


Параметры маятника:

диапазон отклонения маятника от положения равновесия - 0-90°;

значение деления угловой шкалы - 1°;

масса каждого из грузов, перемещаемых по стержню маятника (указана непосредственно на грузах);

масса "снаряд" (указана на установке).

Работа с прибором

1. Включить шнур питания прибора в сеть и нажать клавишу "Сеть".

2. Проверить работу индикаторов и лампочек фотоэлектрическо­го датчика: индикаторы электронного секундомера и счетчика числе колебаний (периодов) должны высвечивать "О" вс всех разрядах, а лампочке фотоэлектрического датчика светиться.

3. Если на индикаторах отсутствуют "О" во всех разрядах, то необходимо нажать клавишу "Сброс".

4. После нажатия клавиши "Сброс" счетчик периодов и электронный секундомер готовы к измерениям.

5. для окончания измерений следует нажать клавишу "Стоп".

П р и м е ч а н и е. После нажатая клавиши "Стоп" секундомер останавливается не мгновенно, а продолжает счет до окончания очередного периода колебаний.

Теоретическое введение

В основе экспериментального определения скорости полета тела с помощью баллистического маятника лежит закон сохранения момента импульса.

Если тело массой m движется со скоростью V в плоскости колебаний маятника (рис. 24), то момент импульса тела относитель­но оси маятника

L0=mVr,

где r - кратчайшее расстояние от оси маятника до траектории движения тела. Во время выстрела маятник покоится, т.е. момент импульса его равен нулю. После влипания тела в мисочку маятника последний вместе с телом приобретает начальную угловую скорость вращения w0.

Из закона сохранения момента импульса для системы тело - маятник следует, что

mV2=I1w0,    (98)

где I1 - суммарный момент инерции маятника и тела относительно оси вращения. Маятник с угловой скоростью w0 и соответственно кинетической энергией  начинает поворачиваться. При этом происходит закручивание подвеса (упругой нити) и возникает тормозящий момент. Поворот маятника прекращается, когда его ки­нетическая энергия вращения полностью перейдет в потенциальную энергию закрученной нити:

где К - коефициент упругости нити; α0 максимальный угол закручивания маятника.

Решая совместно уравнения (98) и (99), находим

Дня определения скорости V  из (100) необходимо знать величины К и I1. Для этого следует выполнить два  дополнительных измерения, основанных на законах крутильных колебаний маятника.

Из второго закона динамики для вращательного движения следует

IE=M= - kα,    (101)

где Е - угловое ускорение маятника; ;  - угловая скорость маятника); М - тормозящий момент; α - угол поворота маятника.

Таким образом, уравнение крутильных колебаний маятника (101) преобразуется к виду;

где  - циклическая частота колебаний маятника). Решением уравнения (105) являются гармонические колебания с периодом

Период колебания маятника можно найти экспериментально, причем период будет зависеть от момента инерции маятника и коэффициента упругости подвеса k.

Изменяя момент инерции маятника перемещением грузов массой М из положения R1, для которого момент инерции I1, в положение R2, для которого момент инерции I2, и определяя для этих моментов периоды T1 и T2, составляем систему урав­нений (рис. 24):

где I0 – момент инерции системы без подвижных грузов;

I1= I0+2MR12; I2= I0+2MR22.

Решая систему (104), находим коэффициент упругости нити

и момент инерции

I1= I0+2MR1;

Подставляя значения К и I1 в выражение (100), определяем ско­рость полета тела

Порядок выполнения работы

1. Приблизить грузы, перемещаемые по стержням, к оси  маятника на расстояние 4-5 см (R1).

2. Установить маятник в таком положении, чтобы черта на мисочке с  пластилином совпадала с положением "О" на прозрач­ном экране.

3. Выстрелить тело из стреляющего устройства (первая зарядка тела в стреляющее устройство осуществляется при помощи пре­подавателя или лаборанта).

4. Измерить максимальный угол отклонения маятника α0.

5. Включить и обнулить счетчик времени и периодов.

6. Отклонить вручную маятник на угол α0, деблокировать измеритель времени (нажатием клавиши "Сброс") и отпустить маятник.

7. Измерить время десяти колебаний и вычислить период крутильных колебаний Т1.

8. Отдалить от оси подвижные грузы на расстояние 9-10 см (R2) и повторить действия согласно  пп. 2, 5, 6 данного подраздела.

9. Измерить время десяти колебаний и вычислить величину Т1

10. Вычислить скорость полета тела по формуле (107).

11. Повторить опыт по определению скорости полета тела не менее трех раз.

12. Вычислить среднее значение скорости полета тела.

Контрольные вопросы и задания

1. Сформулируйте закон сохранения импульса.

2. Что такое момент силы?

3. Дайте определение момента инерции тела относительно неподвижной оси вращения.

4. Дайте определение момента импульса тела и сформулируйте закон сохранения момента импульса для замкнутой системы.

5. Запишите основное уравнение динамики вращательного дви­жения.

6. Запишите формулу кинетической энергии тела, вращающегося вокруг неподвижной оси.

7. Запишите формулу работы при вращательном движении тела.

8. ОПРЕДЕЛЕНИЕ РАБОТЫ ДЕФОРМАЦИИ, КОЭФФИЦИЕНТА ВОССТАНОВЛЕНИЯ ВРЕМЕНИ И СИЛЫ ВЗАИМОДЕЙСТВИЯ ТЕЛ ПРИ УДАРЕ

Цель работы

Изучить законы сохранения энергии и импульса; определить экспериментально работу деформации, коэффициент восстановления, время и силу взаимодействия тел при ударе.

Приборы и принадлежности

Прибор для исследования столкновений шаров, комплект шаров. Понятие "удар" включает в себя совокупность явлений, воз­никающих при столкновении движущихся твердых тел, а также при некоторых взаимодействиях твердых тел с жидкостями и газами (гидравлический удар, взрыв и т.д.). Отличительная особенность данных физических явлений заключается в том, что время взаимодействия мало (10-4 - 10-6 с), а давление, возникающее в точках контакта соударяющихся тел или сред, достигает значений порядка 107 - 1088 Н/м2.

Описание экспериментальной установки

Общий вид прибора для исследования столкновения шаров пока­зан на рис. 24. В основании I закреплена колонка 2, к которой при­креплены нижний 3 и верхний кронштейны 4. К верхнему кронштейну подведены провода 5 от шаров 6. Винт 7 позволяет изменять расстоя­ние между шарами. На нижнем кронштейне укреплены угольники 8 с измерительными шкалами и электромагнит 9. После отвинчивания бол­тов 10 электромагнит можно передвигать вдоль первой шкалы и фик­сировать высоту его установки. Сила притяжения электромагнита регулируется винтом 11, перемещающим сердечник 12.

При включении прибора в сеть и нажатии клавиши "Сеть" заго­рается цифровой индикатор. Для установки нулевых показаний необ­ходимо сбросить измерительную схему нажатием клавиши "Сброс". Управление электромагнитом осуществляется клавишей "Пуск". При от­жатой клавише "Пуск" включается электромагнит и шар, отведенный к магниту, удерживается в отклоненном положении. В этом положении по шкале измеряется начальный угол @@ отклонения нити от вертикального положения. При нажатии клавиши "Пуск", электромагнит отключается, шар под действием силы тяжести начинает перемещаться и, сталкиваясь с покоящимся шаром, вызывает его смещение. При этом нить второго шара отклоняется на угол  @@, а первого на угол @@, величины которых зависят от упругих свойств материа­лов шаров. При столкновении шара с неподвижной стенкой, установ­ленной вместо покоящегося шара, нить правого шара отклоняется на угол @@1.

Порядок выполнения работы

Измерение времени взаимодействия шаров и углов α, β, γ, γ1.

1) Измерить расстояния  R от точки подвеса до центра даров и при необходимости отрегулировать их; эти расстояния должны быть равны. Массы шаров указаны на установке.

2) Включить источник питания нажатием клавиши "Сеть".

3) Отжать клавишу "Пуск" и отвести правый шар к электромаг­ниту, измерить угол первоначального отклонения нити α от вер­тикального положения.

4) Нажать клавишу "Сброс".

5) Нажать клавишу "Пуск". Измерить углы максимальных отклонений от вертикального положения нитей левого шара β и правого γ после их взаимодействия. Зафиксировать по микросекундо­меру время взаимодействия шаров. Измерения повторить 3-5 раз и по­дученные данные занести в таблицу.

6) Используя пары с различными упругими свойствами, выполнить исследования в соответствии с пп.1-5.

7) Заменить левый  шар неподвижной стенкой и в соответствии с пп.3)-6) определить максимальный угол отклонения нити γ1 правого шара от вертикального положения после его взаимодействия со  стенкой. Данные занести в таблицу.

Определение скоростей шаров

При абсолютно упругом столкновении шара массой m1, который двигаетcя со скоростью  V1, с шаром массой  m2, который дви­гается со скоростью V2 (V2<V1,рис.25), поверхности их де­формируются, но этот процесс обратим, так как форма шаров мгно­венно восстанавливается, а энергия деформации без потерь превра­щается в кинетическую энергию движения шаров.

После удара шары будут двигаться с измененными скоростями U1 и U2, определить которые можно с помощью законов сохранения кинетической энергии

и сохранения импульса (количества движения)

m1V1+m2V2=m1U1+m2U2,    (109)

После несложных преобразований находят скорости шаров после удара

Если происходит встречный центральный абсолютно упругий удар (скорости шаров до удара имеют противоположные знаки), то необхо­димо учитывать знак скорости при вычислении соответствующих вели­чин в выражениях (110), (111). При равенстве масс шаров (т1 = т2 = т) из (110) и (111) следует

U1=V2U2=V1,   (112)

т.е. первый шар приобрел после удара скорость, равную скорости второго шара, и наоборот. Если до столкновения один из шаров (на­пример, второй) покоился (V2 = 0), то U1 = 0; U2 = V1).

После абсолютно неупругого удара тела совершают совместное движение (рис. 26), а кинетическая энергия соударяющихся тел час­тично переходит в другие виды энергии и тела приобретают остаточ­ную деформацию. При этом закон сохранения механической энергии системы не выполняется. Скорость U' после удара, как известно, можно определить, используя закон сохранения импульса и считая, что внешние силы отсутствуют, а масса системы после удара - т1+ т2:

Если первоначально тело было поднято на высоту h1, то в момент удара его кинетическая энергия равна исходной потенциальной энергии (рис. 27):  .

Скорости шаров после взаимодействия можно определить из условий

где h2 и h3 - высота подъемов второго и первого шара после взаимодействия.

Из этих соотношений следует

1) По измеренному значению угла α начального отклонения правого шара вычислить по формулам (114) и (116) его скорость U1 при прохождении им положения равновесия.

2) Определить теоретические значения скоростей шаров после взаимодействия для случаев абсолютно упругого удара (формулы (110), (111) и абсолютно неупругого удара (формула (113)).

3) По измеренным углам отклонения шаров после их взаимодействия (β и γ) вычислить по формулам (115), (116) действительные зна­чения скоростей шаров.

4) Сравнить теоретические и экспериментальные значения скорос­тей, дать объяснение полученным результатам.

Определение работы деформации при ударе шаров

При неупругом ударе часть механической анергии тел переходит в другие формы энергии (например, тепловую) и затрачивается на ра­боту о статочной, деформации поверхности шаров. В этом случае полная энергия системы не изменяется, кинетическая энергия шаров после удара будет меньше, чем до удара.

Уменьшение механической энергии системы ∆W с достаточной степенью точности можно считать равным работе сил, создающих ос­таточную деформацию.

По закону сохранения энергии при столкновении реальных тел следует учесть работу деформации тел A, т.е. ту часть общей энергии, которая необратимо расходуется на совершение невосстанавливающейся деформации и преобразуется в энергию теплового движения молекул вещества:

Это уравнение позволяет определить работу деформации шаров равных масс (m1 = m2 = m), закрепленных на нерастяжимых нитях длины R. Если второй шар покоится (V2 = 0), а первый - отклонен на угол α от вертикального положения (рис. 27), то (117) преобразуется к виду:

A=∆W=mg(h1-h2-h3),   (118)

где h2 и h3 - высота подъема второго и первого шара после удара. С учетом (116)

A=mgR(cosβ+cosγ-cosα-1),   (119)

1) Вычислить кинетическую энергию шара в момент удара по из­меренному значению угла α первоначального отклонения первого шара.

2) По измеренным значениям углов α, β и γ и длины подвеса шаров R вычислить по формуле (119) изменение механи­ческой энергии системы - работу деформации.

Определение коэффициента восстановления тел при ударе

Степень "неупругости" удара определяется отношением нормальных составляющих скоростей тела после его удара о неподвижную стенку Un (после удара) и V1 (до удара). Это отношение называ­ется коэффициентом восстановления:

В качестве неподвижной стенки можно использовать шар доста­точно  большой массы или любое плоское массивное тело. С учетом, что

где  h3 - высота подъема шара после его удара о массивную не­подвижную стенку, коэффициент восстановления

Используя связь высоты подъема шара с углом отклонения нити от положения равновесия, окончательно получаем

По измеренным значениям α и γ1   вычислить коэффициент восстановления E и результаты занести в таблицу.

Определение силы взаимодействия тел

Силу взаимодействия двух тел можно определить исходя из основного уравнения динамики Поступательного движения:

где F - средняя сила удара; ∆t - время взаимодействия соударяющихся тел; ∆V - изменение скорости тела, возникающее в результате удара.

Так как скорость первого шара после его столкновения с поко­ящимся шаром отлична от нуля и направлена в ту же сторону, что и скорость до удара, то ∆(mV) = mV1 - mU1 и, следовательно, сила взаимодействия шаров

С учетом (114)-(116) результат (123) преобразуется к виду

1) По измеренным значениям длины подвеса R, углов α и γ начального и конечного отклонений первого шара и времени взаимо­действия шаров ∆t вычислить по формуле (124) силу взаимодей­ствия шаров. Результаты занести в таблицу.

2) Предполагая, что площадь контакта взаимодействующих шаров составляет S = 0,1 мм, найти величину давления, действующего на стенку шара.

Контрольные вопросы и задания

1. Что называется ударом?

2. Какой удар называется абсолютно упругим? Приведите пример.

3..Какой удар называется абсолютно неупругим? Приведите пример.

4. Запилите закон сохранения анергии при ударе.

5. Выведите формулы для определения скорости шаров после абсолютно упругого и абсолютно неупругого ударов.

6. Запишите закон сохранения импульса при центральном ударе шаров.

7. Выполняется ли закон сохранения механической анергии при абсолютно неупругом ударе?

8. Выведите формулу для определения работы деформации тел при ударе.

9. ИЗУЧЕНИЕ ВЫНУЖДЕННЫХ МЕХАНИЧЕСКИХ КОЛЕБАНИЙ

Цель работы

Исследовать явления резонанса и биений в колебательных механических системах.

Приборы и принадлежности

Прибор для изучения колебаний связанных систем.

Описание экспериментальной установки

На основании 1 установки (рис. 28) смонтирован блок управления и измерений 2, в котором находится электродвигатель. На валу элект­родвигателя закреплен ведущий стержень 3, движения которого возбуж­дают колебания механической системы. На колонке 4 закреплен кронш­тейн с фотоэлектрическим датчиком 5 и измерительной шкалой 6. Свя­занная система представляет собой маятник 8 с грузом 7 и стер­жень 9, жестко скрепленный скобой 10 со стержнем 3. Связь между маятником и стержнем осуществляется П-образной скобой 11, снаб­женной пружинами 12.

Колебания возбуждаются вращением электродвигателя. Последний, перемещая стержень 3, связанный скобой 10 и пружинами 12 с маятни­ком 8, приводит маятник в состояние колебаний. Все стержни за­креплены на подвесках 13,.установленных на неподвижной общей оси 14.

Порядок выполнения работы

Определение собственной частоты колебаний маятника.

Собственная частота колебаний маятника в основном зависит от параметров (длины, массы и формы закрепленного груза, жесткости и места закрепления пружин) и незначительно - от амплитуды колеба­ний, если она невелика.

* На выполнение работы запланировано четыре академических часа.


Последовательность выполнения:

1) Включить прибор нажатием клавиши "Сеть" и убедиться в свечении индикатора.

2) Отклонить маятник на 5-10° от положения равновесия и от­пустить его.

3) Нажать клавишу "Сброс".

4) После совершения 10-12 колебаний нажать клавишу ''Стоп". Измерительным блоком при этом фиксируется количество полных колеба­ний и их время.

В) Определить частоту собственных колебаний маятника

где n - число колебаний,  t - время.

Изучение явления резонанса

Все реальные колебательные системы диссипативные. Энергия их механических колебаний постепенно расходуется на работу против сил трения, поэтому свободные колебания всегда затухают. В случае небольших скоростей движения силы, вызывающие затухание механиче­ских колебаний, пропорциональны величине скорости. Таким образом, при отсутствии внешней силы на маятник будут действовать две силы: упругая, пропорциональная величине смещения маятника из положения равновесия, и сила трения, пропорциональная скорости движения ма­ятника. Уравнение движения маятника

где m - масса маятника;    x - координата, характеризующая положение маятника (угол);   r - коэффициент сопротивления; К - коэффициент упругости.

Решение (126) показывает, что собственно колебания маятника являются затухающими:

где β - коэффициент затухания, ; w* - собственная циклическая частота колебаний диссипативной системы, ;

w0 - частота собственных колебаний маятника при отсутствии сил трения в системе,

Если коэффициент затухания мал (β<<w0), то

Таким образом, затухающие колебания можно рассматривать как колебания с постоянными частотой w* и периодом

амплитуда которых уменьшается со временем по экспоненте (рис. 29)

Как следует из формулы (130) и рис. 30, затухание колебаний увеличивается с ростом величины β.

Для характеристики затухающих колебаний вводится кроме коэф­фициента затухания β логарифмический декремент затухания δ, равный натуральному логарифму отношения двух амплитуд колебаний, отстоящих друг от друга на период колебаний:

Если на маятник, кроме упругой силы и силы трения, действует еще внешняя периодическая сила, то уравнения движения

где F0 - амплитудное значений вынуждающей силы; w - угловая частота внешней силы.

Решение этого уравнения приводит к следующим выражениям для величины смещения x , сдвига фаз φ и амплитуды колебаний А0:

x=A0sin(wt+φ);  (133)

Если затухание мало, то при приближении частоты внешнего воз­действия к собственной частоте амплитуда колебаний резко возрастает. Это явление называется резонансом. При частоте

амплитуда вынужденных колебаний имеет наибольшее значение. Чем меньше коэффициент затухания, тем более резко выражено явление резонанса (рис. 30).

По мере возрастания коэффициента затухания β явление резо­нанса проявляется все слабее и, наконец, исчезает при

Если затухание невелико (β и w0), то резонансная частота

Сравнивая уравнения (128) и (137), отметим, что wрез < w*,

где w* - собственная частота колебаний диссипативной системы.

При этом

По сдвигу резонансной частоты wрез относительно w*   можно определить коэффициент затухания

учитывая, что

где f* и  fрезлинейные частоты колебаний, получаем

Последовательность выполнения:

1) Включить прибор нажатием клавиши "Сеть".

2) Вывести в крайнее левое положение потенциометр "Частота колебаний".

3) Включить двигатель тумблером "Включение двигателя".

4) Установить минимальную частоту колебаний стержня 3 потен­циометром "Частота колебаний" (см. рис. 29).

5) Нажать клавишу "Сброс'', после подсчета прибором времени 10 колебаний стержня 4 нажать клавишу "Стоп".

6) Вычислить частоту колебаний вынуждающего стержня.

где n - число колебаний;   t - время.

7) Записать амплитуду колебаний маятника.

8) Произвести измерения в соответствии с пп. 5)-7), увеличи­вая частоту оборотов двигателя потенциометром "Частота колебаний", Построить зависимость амплитуды колебаний маятника 8 от частоты вынуждающей силы (частоты колебаний стержней 3 и 4). Отметить на оси частот полученное значение собственной частоты колебаний маятника.

9) Определить значение резонансной частоты fрез по данным графика. По найденным значениям резонансной частоты fрез и


© 2012 Рефераты, курсовые и дипломные работы.