рефераты
Главная

Рефераты по рекламе

Рефераты по физике

Рефераты по философии

Рефераты по финансам

Рефераты по химии

Рефераты по хозяйственному праву

Рефераты по цифровым устройствам

Рефераты по экологическому праву

Рефераты по экономико-математическому моделированию

Рефераты по экономической географии

Рефераты по экономической теории

Рефераты по этике

Рефераты по юриспруденции

Рефераты по языковедению

Рефераты по юридическим наукам

Рефераты по истории

Рефераты по компьютерным наукам

Рефераты по медицинским наукам

Рефераты по финансовым наукам

Рефераты по управленческим наукам

Психология и педагогика

Промышленность производство

Биология и химия

Языкознание филология

Издательское дело и полиграфия

Рефераты по краеведению и этнографии

Рефераты по религии и мифологии

Рефераты по медицине

Рефераты по сексологии

Рефераты по информатике программированию

Краткое содержание произведений

Реферат: Схема автоматического регулирования котельной установки

Реферат: Схема автоматического регулирования котельной установки

Министерство образования Российской Федерации
Белгородский государственный университет

Реферат

по теплотехнике

на тему: «Схема автоматического регулирования котельной установки»

Выполнил:
Руководитель:
Белгород 2000

План работы

Введение_ 3

Понятие о котельной установке_ 4

Автоматическое регулирование котельных установок_ 7

Заключение_ 9

Список литературы_ 10

Введение

В современном мире трудно представить себе жизнь без использования топлива, причем не в первобытном смысле – путем сжигания и только, а с максимальным использованием его теплового потенциала. Имеется ввиду использование теплоты сгорания топлива для ведения технологических процессов а также в энергетических установках непосредственно или путем передачи ее с помощью промежуточного теплоносителя. Самые распространенные теплоносители – водяной пар и вода.

Водяной пар используют для отопления промысловых и жилых зданий и сооружений, для производства электроэнергии, вместе с горячей водой нагнетают в пласты при добыче нефти для увеличения нефтеотдачи месторождений, разогрева эксплутационных скважин, в паровых турбинах и машинах и т.д.

Можно долго перечислять сферы применения водяного пара, но в нашей работе стоит цель разобраться как получить промышленные количества водяного пара, как работает котельная установка, как происходит автоматическое регулирование котельных установок.

Понятие о котельной установке

Водяной пар соответствующего давления и температуры (или горячую воду заданной температуры) получают в котельной установке, представляющей собой совокупность устройств и механизмов для сжигания топлива и получения пара. Котельная установка состоит из одного или нескольких рабочих и резервных котельных агрегатов и вспомогательного оборудования, размещаемого в пределах котельного цеха или вне его. Общее представление о рабочем процессе котельного агрегата на жидком или газообразном топливе дает схема котельного агрегата с основными и вспомогательными устройствами.

Рисунок 1. Схема котельного агрегата

Жидкое или газообразное топливо по топливопроводам котельной 1 и котельного агрегата 2 подается в мазутные форсунки или газовые горелки 4 и по мере выхода из них сгорает в виде факела в топочной камере.

Стены топочной камеры покрыты трубами 5, называемыми топочными экранами. В результате непрерывного горения топлива в топочной камере образуются нагретые до высокой  температуры газообразные продукты сгорания. Продукты сгорания снаружи омывают экранные трубы и излучением (радиацией) и частично конвективным путем передают теплоту воде и пароводяной смеси, циркулирующим внутри этих труб.

Продукты сгорания, охлажденные в топке до температуры 1000-1200°С, непрерывно двигаясь по газоходам котельного агрегата, омывают вначале разреженный пучок  кипятильных труб 7, затем трубы пароперегревателя 9, экономайзера 12 и воздухоподогревателя 14, охлаждаются до температуры 150-200°С и дымососом 16 через дымовую трубу 17 удаляются в атмосферу.

Движение воздуха и продуктов сгорания по газоходам котельного агрегата обеспечивается тяго-дутьевой установкой (вентилятор 15, дымосос 16 и дымовая труба 17).

Питательная вода (конденсат и добавочная предварительно подготовленная вода) после подогрева питательным насосом подается в коллектор 13 водяного экономайзера 12. В экономайзере вода нагревается до температуры, близкой к температуре кипения при давлении в барабане котла, а иногда частично испаряется в экономайзерах кипящего типа и направляется в барабан 8 котла, к которому присоединены трубы топочных экранов 5 и фестона 7. Из этих труб в барабан котла поступает образовавшаяся пароводяная смесь. В барабане происходит отделение (сепарация) пара от воды. Насыщенный пар затем направляется в сборный коллектор 11 и пароперегреватель 9, где он перегревается до заданной температуры. Перегретый пар из змеевиков пароперегревателя поступает в сборный коллектор 10. Отсюда он через главный запорный вентиль по паропроводу котельного агрегата 18 направляется в главный паропровод 19 котельной к потребителям. Отделившаяся от пара в барабане котла вода смешивается с питательной водой, по необогреваемым опускным трубам подводится к коллекторам 6 экранов и из них поступает в подъемные экранные трубы 5 и фестон 7, где частично испаряется образуя пароводяную смесь. Полученная пароводяная смесь снова поступает в барабан котла.

Последний элемент котельного агрегата по ходу газообразных продуктов сгорания – воздухоподогреватель 14. Воздух в него подается дутьевым вентилятором 15, и после подогрева до заданной температуры по воздухопроводу 3 направляется в топку.

Управление рабочим процессом котельных агрегатов, нормальная и бесперебойная их эксплуатация обеспечиваются необходимыми контрольно-измерительными приборами, аппаратурой и средствами автоматики.

Необходимость в тех или иных вспомогательных устройствах и их элементах зависит от назначения котельной установки, вида топлива и способа его сжигания. Основными параметрами котлов являются: паропроизводительность, давление и температура питательной воды, КПД.

Автоматическое регулирование котельных установок

Система автоматического регулирования котельных установок обеспечивает изменение производительности установки при сохранении заданных параметров (давления и температуры пара) и максимального КПД установки. Кроме того, повышает безопасность, надежность и экономичность работы котла, сокращает количество обслуживающего персонала и облегчает условия его труда. Автоматическое регулирование котла включает регулирование подачи воды, температуры перегретого пара и процесса горения. При регулировании питания котла обеспечивается соответствие между расходами воды, подаваемой в котел, и вырабатываемого пара, что характеризуется постоянством уровня воды в барабане.

Регулирование питания котлов малой производительности обычно осуществляется одноимпульсными регуляторами, управляемыми датчиками изменения уровня воды в барабане. В котлах средней и большой паропроизводительности с малым водяным объемом применяются двухимпульсные регуляторы питания котла по уровню воды и расходу пара, а также трехимпульсные. Управляющие питанием котла по уровню воды, расходу пара и перепаду давлений на регулирующем клапане.

Регулирование температуры пара осуществляется регулятором, управляемым датчиками изменения температуры перегретого пара на выходе из пароперегревателя, изменения температуры пара в промежуточном коллекторе пароперегревателя и изменения температуры газов в газоходе пароперегревателя, а иногда еще датчиком изменения давления пара.

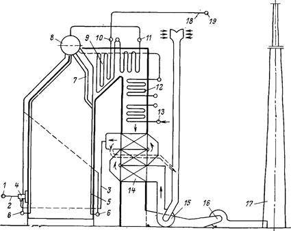
Регулирование процесса горения в топке котла (в соответствии с расходом пара) осуществляется регуляторами подачи топлива II, воздуха III и регулятором тяги IV (см. рис 3.22). Регуляторы подачи топлива  II и воздуха III управляются датчиком изменения давления перегретого пара I, а регулятор тяги IV – датчиком изменения разрежения в топке 7 котла.


Рисунок 2. Схема автоматического регулирования  котельной установки

1 — бункер угля;

2 — шаровая мельница;

3 — сепаратор;

4 — циклон;

5 — бункер пыли:

6 — мельничный вентилятор;

7 — топка котла;

8 — барабан котла;

9 — пароперегреватель;

10 — пароохладитель;

11 — экономайзер;

12 — воздухоподогреватель;

13 — вентилятор;

14 — дымосос;

I —  датчик измерения давления перегретого пара:

II  — регулятор топлива;

III — регулятор воздуха;

IV — регулятор тяги;

V  — регулятор загрузки мельницы;

VI — регулятор температуры мельницы.

В котельных установках, работающих на пылевидном топливе, осуществляется также регулирование работы пылеприготовительной системы регулятором V загрузки мельниц, обеспечивающим постоянство загрузки шаровых барабанных мельниц и регулятором VI температуры пылевоздушной смеси за мельницей.

Для предупреждения персонала о недопустимости отклонения важнейших параметров котельной установки от заданных служат звуковые и световые сигнализаторы предельных уровней воды в барабане, предельных температур перегретого пара и низшего давления питательной воды. Для обеспечения правильной последовательности операций при пуске и остановке механизмов применяется блокировка. Так, при аварийном отключении дымососов отключаются дутьевые вентиляторы и прекращается подача топлива в топку.

Заключение

Работа котельных установок должна быть надежной, экономичной и безопасной для обслуживающего персонала. Для выполнения этих требований котельные установки эксплуатируются в соответствии с правилами устройства и безопасной эксплуатации паровых  котлов и рабочими инструкциями, составленными на основе правил Госгортехнадзора с учетом местных условий и особенностей оборудования.

Котел должен быть оборудован необходимым количеством контрольно-измерительных приборов, автоматической системой регулирования важнейших параметров котла, защитными устройствами, блокировкой и сигнализацией. Режимы работы котла должны соответствовать режимной карте, в которой указываются рекомендуемые технологические и экономические показатели его работы: параметры пара и питательной воды, содержание RO2 в газах, температура и разрежение по газовому тракту, коэффициент избытка воздуха и т.п. Большинство современных котельных установок полностью автоматизированы.

При нарушении нормальной работы котла в следствие неисправностей, которые могут привести к аварии, он должен быть немедленно остановлен. Капитальный ремонт котлов производится через каждые два-три года. Котел периодически подвергается техническому освидетельствованию по трем видам:

-     наружный осмотр (не реже одного раза в год);

-     внутренний осмотр (не реже одного раза в четыре года);

-     гидравлическое испытание (не реже одного раза в восемь лет).

Список литературы

1.   Кириллин В.А. и др. Техническая термодинамика: Учебник для вузов.- 4-е изд., перераб.- М.: Энергоатомиздат, 1983.

2.   Поршаков Б.П., Романов Б.А. Основы термодинамики и теплотехники.- М.: Недра, 1988.

3.   Тепловые схемы котлов /А.А,Паршин, В.В.Митор, А.Н. Безгрешников и др.- М.: Недра, 1987.

4.   Теплотехника /под ред. В.И. Крутова.- М.: Машиностроение, 1986

5.   Теплоэнергетика и теплотехника. Общие вопросы (справочник).- М.: Энергия, 1980.


© 2012 Рефераты, курсовые и дипломные работы.