рефераты
Главная

Рефераты по рекламе

Рефераты по физике

Рефераты по философии

Рефераты по финансам

Рефераты по химии

Рефераты по хозяйственному праву

Рефераты по цифровым устройствам

Рефераты по экологическому праву

Рефераты по экономико-математическому моделированию

Рефераты по экономической географии

Рефераты по экономической теории

Рефераты по этике

Рефераты по юриспруденции

Рефераты по языковедению

Рефераты по юридическим наукам

Рефераты по истории

Рефераты по компьютерным наукам

Рефераты по медицинским наукам

Рефераты по финансовым наукам

Рефераты по управленческим наукам

Психология и педагогика

Промышленность производство

Биология и химия

Языкознание филология

Издательское дело и полиграфия

Рефераты по краеведению и этнографии

Рефераты по религии и мифологии

Рефераты по медицине

Рефераты по сексологии

Рефераты по информатике программированию

Краткое содержание произведений

Реферат: Высоковольтный элегазовый баковый выключатель ВГБ-35

Реферат: Высоковольтный элегазовый баковый выключатель ВГБ-35

ЗАДАНИЕ НА ПРОЕКТИРОВАНИЕ


На основании технических данных высоковольтного элегазового выключателя (Uном = 35 кВ, Iном = 630 А, Iном.о = 12,5 кА), выполнить следующие работы :


  1. Ознакомиться с технико-экономической характеристикой аппарата.

  2. Произвести расчёт электрической изоляции.

  3. Произвести расчёт токоведущего контура.

  4. Рассчитать параметры контактного узла.

  5. Построить кинематическую схему и планы скоростей привода.

  6. Спроектировать дугогасительную систему.

  7. Ознакомиться с правилами монтажа и обслуживания.

СОДЕРЖАНИЕ

ВВЕДЕНИЕ..……………………............................................................................................................................................ 3

ГЛАВА ПЕРВАЯ ТЕХНИКО-ЭКОНОМИЧЕСКАЯ ХАРАКТЕРИСТИКА ВГБ-35..........…….... 4

1.1. ИСПОЛЬЗОВАНИЕ ЭЛЕГАЗА В ВЫСОКОВОЛЬТНЫХ ВЫКЛЮЧАТЕЛЯХ.............................………. -

1.2. ОБЩИЕ СВЕДЕНИЯ ЭЛЕГАЗОВЫХ ВЫКЛЮЧАТЕЛЕЙ................................................…………............... 6

1.2.1. ТЕХНИЧЕСКИЕ ДАННЫЕ.......................................................................................................………………….... -

1.2.2. ПРЕИМУЩЕСТВА....................................................................................................................…………………….. -

1.2.3. НЕДОСТАТКИ............................................................................................................................…………………….. -

1.3. ОБЩИЕ СВЕДЕНИЯ ЭЛЕГАЗОВОГО БАКОВОГО ВЫКЛЮЧАТЕЛЯ СЕРИИ ВГБ-35..............…….. 8

1.4. СТРУКТУРА УСЛОВНОГО ОБОЗНАЧЕНИЯ.............................................................................……………….. -

1.5. НАЗНАЧЕНИЕ И УСЛОВИЯ ЭКСПЛУАТАЦИИ........................................................................………………. -

1.6. ОСНОВНЫЕ ТЕХНИЧЕСКИЕ ДАННЫЕ....................................................................................………………... 9

1.7. ВОЗМОЖНОСТИ ВЫКЛЮЧАТЕЛЯ...........................................................................................……………….... 10

1.8. УСТРОЙСТВО..............................................................................................................................……………………... 11

1.9. РАБОТА........................................................................................................................................………………………. 17

1.9.1. ОПЕРАЦИЯ "ВКЛЮЧЕНИЕ"...................................................................................................………………….. -

1.9.2. ОПЕРАЦИЯ "ОТКЛЮЧЕНИЕ".................................................................................................…………………. -

ГЛАВА ВТОРАЯ РАСЧЁТ ЭЛЕКТРИЧЕСКОЙ ИЗОЛЯЦИИ......................................…………. 18

2.1. АЛГОРИТМ РАСЧЁТА..................................................................................................................…………………... 18

2.2. ОПРЕДЕЛЕНИЕ ФОРМЫ ИЗОЛЯЦИОННЫХ ПРОМЕЖУТКОВ..............................................………….. 19

2.3. РАСЧЁТ ПРОМЕЖУТКОВ, ПОДВЕРГАЮЩИХСЯ ГРОЗОВЫМ ИМПУЛЬСАМ......................………. 20

2.4. РАСЧЁТ ПРОМЕЖУТКОВ, ПОДВЕРГАЕМЫХ ВОЗДЕЙСТВИЮ РАЗРЯДНОГО НАПРЯЖЕНИЯ ПРОМЫШЛЕННОЙ ЧАСТОТЫ......................................................................…………….... -

2.5. РАСЧЁТ ПРОМЕЖУТКОВ, ПОДВЕРГАЮЩИХСЯ КОММУТАЦИОННЫМ ИМПУЛЬСАМ.………. 21

2.6. РАСЧЁТ ПРОМЕЖУТКОВ ВНУТРЕННЕЙ ИЗОЛЯЦИИ...........................................................……………... -

2.7. ПРОВЕРКА ИЗОЛЯЦИИ ПО ДЛИНЕ ПУТИ УТЕЧКИ...............................................................……………... 22

2.8. ИТОГОВЫЕ РЕЗУЛЬТАТЫ РАСЧЁТОВ......................................................................................……………….. -

ГЛАВА ТРЕТЬЯ РАСЧЁТ ТОКОВЕДУЩЕГО КОНТУРА............................................………….. 23

3.1. РАСЧЁТ ТОКОВЫХ ХАРАКТЕРИСТИК.....................................................................................……………….... -

3.2. ПРОВЕРКА ТОКОВЕДУЩЕЙ СИСТЕМЫ ПО ТОКУ ТЕРМИЧЕСКОЙ СТОЙКОСТИ............……….. 24

3.3. ЭЛЕКТРОДИНАМИЧЕСКИЕ УСИЛИЯ В ТОКОВЕДУЩЕЙ СИСТЕМЕ...................................…………. -

3.4. ОПРЕДЕЛЕНИЕ ПОТЕРЬ МОЩНОСТИ В СИСТЕМЕ ПОДВИЖНЫХ КОНТАКТОВ..............………. 25

3.5. РАСЧЁТ НАГРЕВА ТОКОВЕДУЩИХ ЭЛЕМЕНТОВ В ЭЛЕГАЗЕ...............................................………….. 26

3.6. ПОРЯДОК РАСЧЁТА ТОКОВЕДУЩИХ СИСТЕМ МЕТОДОМ ТЕПЛОВЫХ СХЕМ.................……….. 27

3.7. ПОСТРОЕНИЕ ТЕПЛОВОЙ МОДЕЛИ ТОКОВЕДУЩЕЙ СИСТЕМЫ......................................………….. -

3.8. ИСХОДНЫЕ ДАННЫЕ ДЛЯ МАШИННОГО РАСЧЁТА.............................................................…………….. 28

3.9. РЕЗУЛЬТАТЫ ТЕПЛОВОГО РАСЧЁТА......................................................................................………………... -

ГЛАВА ЧЕТВЁРТАЯ РАСЧЁТ КОНТАКТНОГО УЗЛА..............................................…………... 29

4.1. ТИП КОНТАКТНОЙ СИСТЕМЫ ВГБ-35....................................................................................……………….... -

4.2. РАСЧЁТ ПАРАМЕТРОВ КОНТАКТНОЙ СИСТЕМЫ ПРИ НОМИНАЛЬНОМ ТОКЕ...............……….. -

4.2.1. ИСХОДНЫЕ ДАННЫЕ ДЛЯ РАСЧЁТА КОНТАКТНОГО НАЖАТИЯ....................................…………... -

4.2.2. РАСЧЁТ КОНТАКТНОГО НАЖАТИЯ ПО ЭЛЛИПТИЧЕСКОЙ ФОРМУЛЕ..........................…………. 29

4.2.3. РАСЧЁТ КОНТАКТНОГО НАЖАТИЯ ПО СФЕРИЧЕСКОЙ ФОРМУЛЕ...............................…………... 30

4.2.4. РАСЧЁТ ПЕРЕХОДНОГО СОПРОТИВЛЕНИЯ КОНТАКТНОГО УЗЛА.................................…………. -

4.2.5. РАСЧЁТ ТЕПЛОВОГО ПОТОКА КОНТАКТНОЙ СИСТЕМЫ.................................................…………… -

4.3. РАСЧЁТ ПАРАМЕТРОВ КОНТАКТНОЙ СИСТЕМЫ ПРОГРАММОЙ "CONT"........................………... 32

4.3.1. ИСХОДНЫЕ ДАННЫЕ...............................................................................................................………………….. -

4.3.2. РЕЗУЛЬТАТЫ РАСЧЁТА ...........................................................................................................………………….. -

ГЛАВА ПЯТАЯ КИНЕМАТИЧЕСКАЯ СХЕМА И ПЛАНЫ СКОРОСТЕЙ.....................……… 33

ГЛАВА ШЕСТАЯ СИСТЕМА ДУГОГАШЕНИЯ ВГБ-35...............................................…………. 34

ГЛАВА СЕДЬМАЯ ПРАВИЛА МОНТАЖА И ОБСЛУЖИВАНИЯ..............................……….. 36

ЗАКЛЮЧЕНИЕ....................................................................................................................................……………………... 37

ПРИЛОЖЕНИЕ...................................................................................................................................……………………... 38

СПЕЦИФИКАЦИЯ.............................................................................................................................……………………... 45

БИБЛИОГРАФИЧЕСКИЙ СПИСОК.................................................................................................………………….. 47

ПРОГРАММНОЕ ОБЕСПЕЧЕНИЕ.....................................................................................................…………………. -

ВВЕДЕНИЕ


Выключатели высокого напряжения (ВК) предназначены для оперативных и аварийной коммутаций в энергосистемах, для выполнения операций включения и отключения отдельных цепей при ручном или автоматическом управлении. Во включенном положении ВК должен длительно пропускать токи нагрузки и кратковременно - аварийные.

Характер режима работы высоковольтных выключателей несколько необычен: нормальным для них считается как включенное положение, когда по ним проходит ток нагрузки, так и отключенное, при котором они обеспечивают необходимую электрическую изоляцию между разомкнутыми участками цепи.

Коммутация цепи, осуществляемая при переключении ВК из одного положения в другое, производится не регулярно, время от времени, а выполнение специфических требований по включению цепи при имеющемся в ней короткого замыкания (КЗ) либо по отключению КЗ вообще крайне редко.

Выключатели должны надёжно выполнять свои функции, находясь в любом из указанных положений, и одновременно быть всегда готовыми к мгновенному выполнению любых коммутационных операций, часто после длительного пребывания в неподвижном состоянии. Наиболее тяжёлым режимом для ВК является режим отключения тока КЗ.

Общие требования к конструкциям и характеристикам выключателей устанавливается стандартами: ГОСТ 687-78 «Выключатели переменного тока нагрузки на напряжение свыше 1000 В. Общие технические условия»; ГОСТ 18397--73 «Выключатели переменного тока на номинальное напряжение 6-220 кВ. Общие технические условия»; ГОСТ 12450-82 «Выключатели переменного тока высокого напряжения. Отключение ненагруженных линий». ГОСТ 8024-84 «Допустимые температуры нагрева токоведущих элементов, контактных соединений и контактов аппаратов и электротехнических устройств переменного тока на напряжение свыше 1000 В; ГОСТ 1516.1-75 «Нормы испытательных напряжений внешней и внутренней изоляции электрических аппаратов».

В связи с тем, что российская промышленность поставляет высоковольтные электрические аппараты для районов с различными климатическими условиями, объединение сетей и создание единой энергетической системы связано с повышением технических параметров и ужесточением требований, предъявляемых к электрическим аппаратам высокого напряжения. Эти задачи становятся трудноразрешимыми при использовании традиционных методов гашения дуги, изоляционных и дугогасительных сред. Широко применяемые в настоящее время масляные и воздушные ВК имеют и свои преимущества, и свои недостатки. Они объясняются свойствами сред, используемых в этих аппаратах для изоляции и гашения дуги. Масло таит опасность пожара и взрыва. Применение воздушных выключателей связано с необходимостью производства, кондиционирования и хранения сжатого воздуха. Затруднительна эксплуатация воздушных и масляных ВК при низких температурах. Естественно поэтому, что исследователи непрерывно ведут поиски новых принципов коммутации цепей и новых сред, которые сохраняли бы преимущества традиционных сред, но не имели бы их недостатков. С основных характеристик подобной среды и начинается первая глава.

ГЛАВА ПЕРВАЯ

ТЕХНИКО-ЭКОНОМИЧЕСКАЯ ХАРАКТЕРИСТИКА ВГБ-35


1.1. ИСПОЛЬЗОВАНИЕ ЭЛЕГАЗА

В ВЫСОКОВОЛЬТНЫХ ВЫКЛЮЧАТЕЛЯХ


Наиболее распространёнными изоляционными, дугогасительными и охлаждающими средами, которые применяются в электротехническом оборудовании, является минеральное масло и воздух. Газы по сравнению с маслом и твёрдыми изоляционными материалами имеют определённые преимущества, главные из которых - ничтожнейшая проводимость и практическое отсутствие диэлектрических потерь, независимость в однородном поле электрической прочности от частоты, неповреждённость газовой изоляции заметным остаточным изменениям и малая загрязнённость под действием дуги и короны.

Электрическая прочность газовой изоляции в однородных или слабо неоднородных полях увеличивается с ростом давления и при определённых условиях может превысить электрическую прочность трансформаторного масла, фарфора и высокого вакуума.

Для упрощения конструкций оборудования с газовой изоляцией желательно, чтобы необходимая электрическая прочность была обеспечена при сравнительно небольшом избыточном давлении.

Однако при применении газа в электротехническом оборудовании, помимо изоляционных, необходимо учитывать и другие свойства газов, а именно: сам газ и продукты его разложения не должны быть токсичными; газ должен быть химически нейтрален по отношению к применённым в устройстве материалам; газ должен иметь низкую температуру сжижения, чтобы его можно было использовать при повышенных давлениях и требуемых по условиям эксплуатации температурах; газ должен обладать хорошей теплоотводящей способностью; диссоциация газа должна быть незначительной; газ должен быть пожаро- и взрывобезопасным; газ должен быть легкодоступным и недорогим.

При использовании газа в коммутационных аппаратах необходимо, кроме того, чтобы газ обладал хорошей дугогасительной способностью. С точки зрения доступности воздух имеет неоспоримое преимущество по сравнению со всеми другими газами, однако по совокупности требований он не всегда приемлем. некоторые газы и пары обладают значительно более высокой электрической прочностью, чем воздух. Однако лишь некоторые из них удовлетворяют требованиям, предъявляемым к электрической изоляции. Так, многие вещества в обычных условиях находятся в жидком состоянии, как, например, CCl4, имеющее в газообразном состоянии электрическую прочность, в 6,3 раза большую, чем воздух. Многим веществам, кроме того, свойственно более или менее интенсивное разложение в условиях электрического разряда. Наконец, некоторые вещества при разложении выделяют свободный углерод, который, оседая на поверхности твёрдых изоляционных элементов конструкции, делает их проводящими.

Единственным газом, наиболее полно удовлетворяющим поставленным требованиям, является элегаз. Чистый газообразный элегаз совершенно безвреден, химически не активен, поэтому в обычных эксплуатационных условиях он не действует ни на какие материалы, применяемые в аппаратостроении, обладает повышенной теплоотводящей способностью и является очень хорошей дугогасительной средой, позволяющей производить отключение очень больших токов при больших скоростях восстановления напряжения. В однородном поле электрическая прочность элегаза в 2,3-2,5 раза выше прочности воздуха.

Низкие температуры сжижения и сублимации дают возможность при обычных условиях эксплуатировать элегазовые аппараты без специального подогрева. Элегаз не горит и не поддерживает горения, следовательно, элегазовые аппараты являются взрыво- и пожаробезопасными.

Стоимость элегаза существенно зависит от объёма его производства. При большом его потреблении стоимость единицы объёма элегаза, имеющего такую плотность, при которой достигается равная с маслом электрическая прочность, незначительно будет отличаться от стоимости единицы объёма масла. Но при правильной эксплуатации элегаз не стареет и не требует поэтому такого тщательного ухода за собой, как масло.

Элегаз представляет собой соединение, имеющее химическую формулу SF6. При нормальных условиях это бесцветный, не имеющий запаха газ, плотность которого 6,52 кг/м3 при нормальном атмосферном давлении и температуре 0C. Он приблизительно в пять раз тяжелее воздуха. Молекулярная масса элегаза 146,06. В нём содержится 21,95% серы и 78,05% фтора.

Одним из необходимых условий возможности использования того или иного соединения в электрических аппаратах является его химическая инертность. Оно не должно вступать в реакцию ни с каким материалом, применяемым в электроаппаратостроении. Чистый элегаз при обычных условиях удовлетворяет этому требованию, несмотря на то, что в состав его молекулы входит фтор, являющийся одним из наиболее активных химических элементов. По химической инертности чистый элегаз при нормальных условиях сравним с азотом или даже инертными газами. Строение молекулы и её энергетическое состояние определяют высокую стабильность элегаза.

Молекула элегаза содержит шесть атомов фтора, расположенных в вершинах правильного октаэдра, и атом серы, который находится в центре молекулы на равных расстояниях от атомов фтора. При таком геометрическом расположении атомов в молекуле обеспечивается максимальное перекрытие электронного облака серы и фтора и понижается общая энергия молекулы. В случае недеформированных электронных оболочек атомов фтора радиус молекулы элегаза равен 3,07.10-10 м. Радиус атома серы лишь на 20% больше радиуса атома фтора. При этом соотношении радиусов атомы фтора плотно облегают центральный атом серы, обеспечивая идеальную его защиту от внешних воздействий. В возбуждённом состоянии атом серы может образовывать шесть ковалентных связей. При атмосферном давлении элегаз, как и углекислый газ, может находиться только в газообразном состоянии. При pаб = 105 Па температура перехода из твёрдого состояния в газообразное (температура возгонки) равна - 63,8C. При давлении свыше раб = 2,28.105 Па элегаз в зависимости от температуры может находиться во всех трёх агрегатных состояниях. При этом давлении температура тройной точки равна -50,8C.


1.2. ОБЩИЕ СВЕДЕНИЯ ЭЛЕГАЗОВЫХ ВЫКЛЮЧАТЕЛЕЙ


1.2.1. ТЕХНИЧЕСКИЕ ДАННЫЕ


Современные разработки конструкций выключателей с элегазовыми дугогаси­телями в настоящее время ведутся в различных направлениях, и прежде всего в тех, которые дают наиболее эффективное технико-экономическое использование специфических свойств этой дугогасящей и изоляционной среды. Такими направлениями являются следующие.

1. Модульные серии выключателей на высокие классы напряжения (100 кВ и выше), предназначенные для отключения предельно больших токов КЗ при наиболее неблагоприятных условиях КЗ.

2. Выключатели на номинальное напряжение 10-35 кВ в компактном исполнении для электрифицированного подвижного состава и других электрических установок специального назначения.

3. Выключатели нагрузки на номинальные напряжения 15-100 кВ и выше, предназначенные для отключения индуктивных токов ненагруженных трансформаторов и ёмкостных токов.

В настоящее время опытные и промышленные образцы и серии элегазовых вы­ключателей переменного тока высокого напряжения производятся различными фирмами во всём мире, характеристики этих аппаратов приведены в таблице 1.2.1.


1.2.2. ПРЕИМУЩЕСТВА


Взрыво- и пожаробезопасность;

Быстродействие и пригодность для работы в любом цикле АПВ;

Возможность осуществления синхронного размыкания контактов непосредственно перед переходом тока через нуль;

Высокая отключающая способность при особо тяжёлых условиях отключения (отключение неудалённых коротких замыканий и др.);

Надёжное отключение ёмкостных токов холостых линий;

Малый износ дугогасительных контактов;

Лёгкий доступ к дугогасителям и простота их ревизии;

Относительно малый вес (с баковыми масляными выключателями);

Возможность создания серии с унификацией крупных узлов;

Пригодность для наружной и внутренней установки.


1.2.3. НЕДОСТАТКИ


Необходимость в наличии устройств для наполнения, перекачивания и очистки шестифтористой серы (SF6);

Относительная сложность конструкции ряда деталей и узлов, а также необходимость применения высоконадёжных уплотнений;

Относительно высокая стоимость дугогасящей среды и выключателя в целом.


Таблица 1.2.1

Технические данные элегазовых выключателей


Изготовитель

(разработчик)

Тип

Uном,

кВ

Iном,

А

Iном.о,

кА

tоткл, с

tд,

с

Способ

Дугогашения

Примечание

«Вестингауз»

(США)



69




0,06


Предва­рительное

Сжатие

Отключение

конденсаторных

батарей

«Вестингауз»

(США)


1150- SF-1000


115


400


5,5


0,08


Тепловое

Расширение

Отключение

конденсаторных

батарей

«Вестингауз»

(США)

VLB

138

600

до 0,6

Автопнев­матиче­ский

Выключатель

нагрузки

«Мицубиси»

(Япония)


70-SF-500


72


1200


40,2



0,015

Предва­рительное

Сжатие

Серия

выключателей

«Мицубиси»

(Япония)


70-SF-500


84


4000


34,4



0,015

Предва­рительное

Сжатие

Серия

выключателей

«Мицубиси»

(Япония)


250-SF-2500


300


4000


48,1



0,015

Предва­рительное

Сжатие

Серия

выключателей

«Денрёку»

(Япония)



84


1200


34,4


0,05


Предва­рительное

Сжатие

«Делль»

(Франция)

FRUL 6S6

23

400

0,015

Автопнев­матиче­ский

Для КРУ

«Делль»

(Франция)



24


1000


14,5



Автопнев­матиче­ский

Генераторный

выключатель

нагрузки

«Делль»

(Франция)

FRUL

25

400

0,04

Автопнев­матиче­ский

Однофазный

«Сименс»

(Германия)


H-904


220


2000




0,015


Предва­рительное

сжатие

Серия

выключателей

«Магрини»

(Италия)



80,5


1000




0,015

Предва­рительное

сжатие

Серия

выключателей

ВЭИ

Россия

27,5

1000

14,8

0,08

0,02

Автопнев­матиче­ский

Однофазный

ВАЗ

Россия



110


600


0,6


0,15


Электро­магнитное

Гашение

Выключатель

нагрузки


1.3. ОБЩИЕ СВЕДЕНИЯ ЭЛЕГАЗОВОГО

БАКОВОГО ВЫКЛЮЧАТЕЛЯ СЕРИИ ВГБ-35

Выключатель предназначен для коммутации электрических цепей при нормальных и аварийных режимах, в сетях трехфазного переменного тока частоты 50 Гц с номинальным напряжением 35 кВ. Выключатель представляет собой комплексный аппарат, состоящий из собственно выключателя, встроенных трансформаторов тока и привода.

1.4. СТРУКТУРА УСЛОВНОГО ОБОЗНАЧЕНИЯ

ВГБ Х - 35 II* - 12,5/630 Х I, где

В - выключатель; Г - элегазовый; Б - условное обозначение конструктивного исполнения (баковый); Х - условное обозначение электромагнитного привода (Э - электромагнитный постоянного тока; ЭП - электромагнитный переменного тока); 35 - номинальное напряжение, кВ; II* - категория по длине пути утечки внешней изоляции в соответствии с ГОСТ 9920-75; 12,5 - номинальный ток отключения, кА; 630 - номинальный ток, А; Х - климатическое исполнение по ГОСТ 15150-69 и ГОСТ 15543-70 (УХЛ или Т); I - категория размещения по ГОСТ 15150-69.


1.5. НАЗНАЧЕНИЕ И УСЛОВИЯ ЭКСПЛУАТАЦИИ


Выключатель изготовлен в климатическом исполнении УХЛ либо Т категории размещения 1 по ГОСТ 15150 и предназначен для наружной установки в районах с умеренным и холодным (тропическим) климатом при след. условиях:


Окружающая среда невзрывоопасная, не содержащая пыли в концентрациях, снижающих параметры изделия в недопустимых пределах. По условиям загрязнения окружающая среда должна соответствовать атмосфере по ГОСТ 15150.

Верхнее рабочее значение температуры окружающего воздуха для исполнения УХЛ1 - -плюс 40°С, для исполнения Т1 - плюс 55°С.

Нижнее рабочее значение температуры окружающего воздуха для исполнения УХЛ1 - -минус 60°С, для исполнения Т1 - минус 10°С.

Натяжение проводов в горизонтальном направлении в плоскости, перпендику­лярной продольной оси выключателя, не более 500 Н.

Выключатель нормально работает в условиях гололеда при толщине корки льда до 20 мм и ветре скоростью до 15 м/с, а при отсутствии гололеда - при ветре скоростью до 40 м/с.

Высота установки над уровнем моя не более 1000 м.


Выключатели соответствуют требованиям ГОСТ 687 "Выключатели переменного тока на напряжение свыше 1000 В. Общие технические условия".


1.6. ОСНОВНЫЕ ТЕХНИЧЕСКИЕ ДАННЫЕ


Основные технические данные выключателя представлены в таблице 1.6.

Технические данные ВГБ-35 Таблица 1.6

Наименование параметра

Установленная норма

1. Номинальное напряжение Uном, кВ

35

2. Наибольшее рабочее напряжение Uн.р, кВ

40,5

3. Номинальный ток Iном, А

630

4. Номинальный ток отключения Iном.о, кА

12,5

5. Номинальное относительное содержание апериодической составляющей, %

не более 32

6. Cos тока нагрузки

0,91

  1. Параметры сквозного тока короткого замыкания:

- наибольший пик (ток электродинамической стойкости), кА

- нач. действующее значение периодической составляющей, кА

- ток термической стойкости, кА

- время протекания тока термической стойкости, с


35

12,5

12,5

3

  1. Параметры тока включения, кА:

- наибольший пик

- начальное действующее значение периодической составляющей


35

12,5

9. Отключаемый ёмкостной ток одиночной конденсаторной батареи, А

не более 600

10. Отключаемый ток намагничивания ненагруженных трансформаторов, А

0,24..6,5

11. Собственное время отключения tоткл, с

0,04+0,005

12. Полное время отключения tоткл + tд, с

0,065+0,01

13. Минимальная бестоковая пауза при АПВ, с

0,03

14. Собственное время включения, с

не более 0,12

15. Разновремённость замыкания и размыкания контактов полюсов при включении и отключении, с

не более 0,01

16. Избыточное давление заполнения элегазом при 20С, МПа

0,45+0,02

17. Избыточное давление предварительной сигнализации об утечке элегаза при 20С, МПа

0,33


18. Избыточное давление автоматической подачи команды на блокировку или отключение выключателя (минимально допустимое значение) при 20С, МПа


0,3

19. Длина пути утечки вводов, см (по ГОСТ 9920 - II категории загрязнения)

105

  1. Номинальное напряжение электромагнитов управления:

- при питании постоянным током, В

- при питании переменным током, В


110 или 220

220

21. Диапазон рабочих напряжений электромагнитов управления, в % от номинального значения:

- включающего электромагнита при питании постоянным током

- включающего электромагнита при питании переменным током

- отключающего электромагнита при питании постоянным током

- отключающего электромагнита при питании переменным током


85..110

90..110

70..110

65..120

22. Потребляемый ток (установившееся значение) электромагни­тов, А, не более:

- включающего при V=220 В (при V=110 В)

- отключающего при V=220 В (при V=110 В)


50 (100)

2,5 (5)

23. Ном. напряжение подогревательных устройств, В

220

24. Масса выключателя с приводом, кг

80015

25. Масса элегаза, кг

4


1.7. ВОЗМОЖНОСТИ ВЫКЛЮЧАТЕЛЯ


Выключатель выполняет следующие операции и циклы операций:

Отключение (О)

Включение (В)

Включение-отключение (ВО)

Отключение-включение (ОВ)

(при любой бестоковой паузе (1бт) между операциями, начиная с мин. значения)


Коммутационный цикл 1 (О - 1бт - ВО - 180с - ВО)

Коммутационный цикл 1а (О – 1бт - ВО - 20с - ВО)

Коммутационный цикл 2 (О-180с- ВО – 180с- ВО)


Допускаемое для каждого полюса выключателя без осмотра и ремонта дугогасительных устройств, контактов и замены элегаза число операций отключения (ресурс по коммутационной стойкости) составляет не менее одной из величин:


при токах в диапазоне свыше 60 до 100% ном. тока отключения - 33 операции;

при токах в диапазоне от 30 до 60% номинального тока отключения - 70 операций;

при номинальном токе нагрузки - 2000 операций (в том числе операций отключения емкостных токов до 600 А одиночных конденсаторных ба­тарей).


Допустимое дополнительное число операций включения составляет 50% от указанных числа операций отключения (при номинальном токе нагрузки - 100%).


Выключатель имеет следующие показатели надежности и долговечности:


ресурс по механической стойкости до капитального ремонта - 5000 циклов "включение - произвольная пауза - отключение";

срок службы до капитального ремонта - 15 лет с момента выпуска выключа­теля заводом-изготовителем (если до этого срока не исчерпаны ресурс по механической стойкости или ресурс по коммутационной стойкости);

срок службы до списания - 25 лет. Ток нагрузки выключателя при температурах окружающего воздуха в тече­ние суток, не превышающих 20°С, 0°С, и минус 20°С, может быть увеличен соответст­венно на 10, 20 и 30%.




1.8. УСТРОЙСТВО


Выключатели серии ВГБ-35 относятся к электрическим коммутационным аппаратам высокого напряжения, в которых гасящей средой является элегаз.

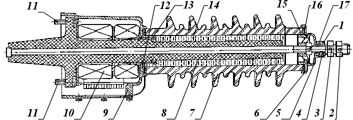
Общий вид выключателя ВГБ-35 приведен на рис. 1.8.1. Выключатель состо­ит из трех полюсов, размещенных в одном баке 3, и управляется электромагнитным приводом 7 постоянного или переменного тока. Имеется вариант установки выключателя на удлиненной свае с установкой привода на удлиненной дистанционной трубе (на 500 мм по сравнению с базовым вари­антом) и дополнительным креплением привода к свае. Включение выключателя происходит за счет энергии включающего элек­тромагнита привода 7, отключение - за счет отключающих пружин выключателя, взве­дение которых происходит в процессе включения. Бак 3, вмещающий в себя трехполюсное контактно-механическое устройство (КМУ), укомплектован шестью вводами 1 со встроенными трансформа­торами тока 2 типа ТВЭ-35, клапаном 9, подогревательным устройством 6, сигнализа­тором давления 8 и клеммной коробкой 5.


Общий вид выключателя ВГБ-35


Рис. 1.8.1

1-ввод; 2-трасформатор тока; 3-бак; 4-фланец; 5-клемная коробка; 6-уст­ройст­во подогревательное; 7-шкаф с приводом; 8-сигнализатор давления; 9-клапан; 10-крышка; 11-механизм; 12,13,14-кольца уплотнительные.


Бак 3 заполняется на заводе-изготовителе элегазом, соответствующим ТУ 6-02-1249. Давление заполнения, приведенное к 20°С, указано в технических данных. Внутри, на дне бака, закреплен тканевый мешок с адсорбентом, который по­глощает как возможную влагу, так и газообразные продукты разложения, образую­щиеся при горении дуги.

Контактно-механическое устройство изображено в отключенном положе­нии на рис. 1.8.2, а; рис. 1.8.2, б. Оно содержит изоляционные диски 3, жестко закрепленные с помощью болтов 12 и стойки 18 на корпусе 17. Корпус 17 закреплен болтами 10 на фланце 5 бака выключателя. На дисках 3 размещены шесть дугогасительных катушек 2 и неподвижные кон­такты 1 (по две дугогасительных катушки и два неподвижных контакта на каждый по­люс). Неподвижные контакты 1 состоят из основания, на котором закреплены подпру­жиненные ламели 13 и 14, причем ламели 14 снабжены дугостойкими металлокерамическими напайками. Неподвижные контакты 1 шинами 7 соединены с нижними конца­ми вводов 16. На главном валу 6 закреплена изоляционная траверса 8, несущая на своих концах, расположенных под 120°, подвижные контакты 4 трех полюсов.


Контактно-механическое устройство


Рис. 1.8.2, а

1-неподвижный контакт; 2-дугогасительная катушка; 3-диск; 4-подвижный контакт; 5-фланец; 6-главный вал; 7-шины; 8-траверса; 9-главный рычаг; 10-болт; 11-коробка механизма; 12-болты; 13,14-ламели; 15-пружина; 16-ввод; 17-корпус; 18-стойка.


Контактно-механическое устройство




Рис. 1.8.2, б

1-неподвижный контакт; 2-дугогасительная катушка; 3-диск; 4-подвижный контакт; 5-фланец; 6-главный вал; 7-шины; 8-траверса; 9-главный рычаг; 10-болт; 11-коробка механизма; 12-болты; 13,14-ламели; 15-пружина; 16-ввод; 17-корпус; 18-стойка.


Узел крепления и уплотнения главного вала установлен на фланце 5. Наружная часть вала, с закрепленным на ней главным рычагом 9, соединена с механизмом, расположенным в коробке 11.


Включенное положение подвижного контакта 1 (4 на рис. 1.8.2) и неподвижного контакта 2 (1 на рис. 1.8.2) показано на рис. 1.8.3, а. Подвижные контакты 1 снабжены наконечниками из дугостойкой металлокерамики. Взаимное расположение подвижных контактов 1 и дугогасительных катушек 6 (2 на рис. 1.8.2) в от­ключенном положении выключателя показано на рис. 1.8.3, б.


Включенное положение Отключенное положение




Рис. 1.8.3, а Рис. 1.8.3, б


1-подвижный контакт; 2-неподвижный контакт; 3-пружина; 4,5-ламели;

6-дугогасительная катушка; 7-диск.


Подогревательное устройство выключателя содержит два трубчатых нагре­вателя типа ТЭН-71А и закреплено под днищем бака в специальном корпусе. Кон­цы проводов нагревателей закрыты бусами, забандажированы стеклотканью и выве­дены через трубу бака в клеммную коробку. Нагреватели на напряжение 220 В соединяются параллельно, а на напряжение 127 В - последовательно. Электроконтактный сигнализатор давления соединен с полостью бака через клапан автономной герметизации. Сигнализатор снабжен устройством температурной компенсации, автоматически приводящей показания давления к температуре плюс 20° С, что фактически обеспечивает контроль уровня плотности элегаза.


Сигнализатор имеет шкалу со стрелкой и две пары размыкающих контактов, что позволяет вести как визуальный контроль давления (плотности) элегаза в выключателе, так и давать предупредительные сигналы о снижении давления до 0,33 МПа и о достижении минимально допустимого давления - 0,3 МПа. Предупредительная сигнализация срабатывает только тогда, когда падение давления вызвано утечкой элегаза (понижением его плотности). Для заполнения бака элегазом и его опорожнения служит клапан 9 (см. рис. 1.8.1).


Главный вал


Узел крепления и уплотнения главного вала показан на рис. 1.8.4.

Вал 1 уста­новлен в корпусе 2 на подшипниках качения 3 и уплотнен четырьмя манжетами 4.

Кроме того, для усиления уплотнения в корпусе имеется полость А, заполненная жид­костью полиметилсилоксановой ПМС-200.

Полость закрывается пробкой 5.


Рис. 1.8.4


1-вал; 2-корпус; 3-подшипники качения; 4-манжета; 5-пробка; 6-крышка.


Механизм


Механизм (см. рис. 1.8.5) состоит из главного рычага 5, закрепленного на главном валу 4, тяги 8, вспомогательного рычага 3, буферной пружины 6, отключаю­щих пружин 9 и упоров 1 и 11. Вспомогательный рычаг 3 тягой 2 связан с электромаг­нитным приводом. Механизм изображен в отключенном положении выключателя. Включенное положение изображено штриховыми линиями.

На оси 12 вспомогательного рычага закреплен указатель положения выключа­теля (на рисунке не изображен), который виден через стекло крышки, закрывающей коробку механизма.


Рис. 1.8.5


1,11-упоры; 2,8-тяги; 3-рычаг; 4-главный вал; 5-главный рычаг; 6-буферная пружина; 7-ролик; 9-отключающие пружины; 10-колодка; 12-ось.

"МЗК"-момент замыкания контактов; "В"-включенное, "О"-отключенное положение.


Вводы (см. рис. 1.8.6) служат для подсоединения выключателя к шинам распре­делительного устройства. Ввод состоит из литой эпоксидной втулки 8 с контактным стержнем, фарфоровой покрышки 7 и помещенных в колпак 9 трансформаторов тока 10. В зоне расположения трансформаторов тока 10 цилиндрическая поверхность эпок­сидной втулки 8 имеет металлическое покрытие, на верхней части которого установлен экран 13. Покрытие и экран имеют потенциал земли. Пространство между втулкой 8 и фарфоровой покрышкой 7 заполнено виниполом 14 и с помощью прокладок 16, 17, на­конечника 4 загерметизировано от окружающей среды. Трансформаторы тока 10 расклинены клиньями с резиновыми прокладками. Фланцевой частью втулки ввод крепится к баку с помощью болтов 11.


Конструкция ввода


Рис. 1.8.6


1-гайка; 2,3-стопорный винт; 4-наконечник; 5-крышка; 6-фланец; 7-фарфоровая покрышка; 8-литая эпоксидная втулка; 9-колпак; 10-трансформатор тока встроенный; 11-болты М1070; 12,15-уплотнительные кольца; 13-экран; 14-винипол; 16,17- прокладки.


Встроенный трансформатор тока типа ТВЭ-З состоит из магнито-провода и двух обмоток: защитной (ОР) и измерительной (И). По два провода от каждого трансформатора тока выведены в клеммную коробку. При отгрузке выключателя провода трансформатора тока присоединены к отводам 600/5. При необходимости переключения на другие отводы следует пользоваться электрической схемой.

К нижней части коробки механизма через дистанционную трубу присоединен шкаф с приводом 7 (см. рис. 1.8.1). Привод для управления выключателем имеет три исполнения.

Выключатели ВГБЭ-35-12,5/630 УХЛ1(Т1) комплектуются приводами ПЭМ-1 или ПЭМ-11, а выключатели ВГБЭП-35-12,5/630 УХЛ1(Г1) - приводом ПЭМ-ТТТ.

Бак и шкаф привода снабжены болтами заземления.


1.9. РАБОТА


Оперирование выключателем ВГБ-35 производится следующим образом:


1.9.1. ОПЕРАЦИЯ "ВКЛЮЧЕНИЕ"


После подачи команды на включение выходной рычаг электромагнитного привода через тягу 2 (см. рис. 1.8.5) выводит рычаг 3 с тягой 8 из "мертвого положения" и, вращая главный рычаг 5 по часовой стрелке, переводит его и главный вал 4 во включенное положение. Ро­лик сжимает отключающие пружины 9, установленные на колодке 10, а вспомогательный рычаг 3, остановленный упором 1, фиксируется в положении, определенном зазором, равным 2-3 мм. При этом в контактно-механическом устройстве (см. рис. 1.8.2) главный вал вращается соот­ветственно против часовой стрелки, поворачивая траверсу 8. Подвижные контакты 4 замы­кают ламели неподвижных контактов 1, расположенных на левом и правом изоляционных дисках 3. Происходит замыкание силовой цепи выключателя. В приводе механизм садится на защелку и удерживает выключатель во включенном положении.


1.9.2. ОПЕРАЦИЯ "ОТКЛЮЧЕНИЕ"


После подачи команды на отключение в приводе освобождается защелка, удер­живающая выключатель во включенном положении, и отключающие пружины 9 (см. рис. 1.8.5) поворачивают главный вал 4 вместе с закрепленными на нем траверсами 8 (см. рис. 1.8.2, а; см. рис. 1.8.2, б;), выводя подвижные контакты 4 из неподвижных 1. Возникающая при этом дуга перекидывается с ламелей 13 неподвижных контактов 1 на корпус катушки 2 и гасится при вращении между наконечником подвижного контакта и торцом катушки под действием маг­нитного поля, создаваемого отключаемым током при протекании его через эту катушку.

Ролик 7 при отключении сжимает буферную пружину 6. Вспомогательный рычаг 3 с тягой 8 заходит за "мертвое положение" на расстояние 5 мм и фиксируется на упоре.


ГЛАВА ВТОРАЯ

РАСЧЁТ ЭЛЕКТРИЧЕСКОЙ ИЗОЛЯЦИИ


2.1. АЛГОРИТМ РАСЧЁТА


1. Выбор основных, подлежащих расчёту изоляционных промежутков, а также выбор форм электродов, образующих эти проводники. Расчёту подлежат:

Промежутки между токоведущими и заземлёнными частями;

Промежутки между частями одного и того же полюса, имеющие различные потенциалы при размыкании контактов;

Между токоведущими частями соседних полюсов, находящиеся под напряжением.

2. Определение исходных расчётных значений разрядных напряжений для каждого промежутка в соответствии с ГОСТ 1516.1-75 (см. таблицы 2.1.1; 2.1.2).

3. Определение минимальных размеров основных изоляционных промежутков в различных изоляционных средах в зависимости от разрядного напряжения.

4. Проверка промежутков по импульсному влагоразрядному напряжению и по длине пути утечки.

5. Конструктивное уточнение размеров промежутков в результате применения стандартных изоляторов.

Импульсные испытательные напряжения

для выключателей с изоляцией класса 35 кВ


Таблица 2.1.1

Испытательное

Испытательное напряжение внешней изоляции, кВ

напряжение внутрен-



меж

ду


ней изоляции, кВ

относительно

контактами

Изоляторов,

(относительно ;

земли

одного и

Испытываемых

между контактами)



того же

полюса

Отдельно

полная

Срезанная

полная

срезанная

полная

срезанная

Полная

волна

Волна

волна

волна

волна

волна

Волна

185

230

185

230

185

230

195



Испытательные напряжения промышленной частоты (50 Гц)

для выключателей с нормальной изоляцией класса 35 кВ


Таблица 2.1.2

Испытательное

Выдерживаемое напряжение (при плавном подъёме)

Одоминутное

для внешней изоляции, кВ

напряжение, кВ

в сухом

под дождём


относи­тельно

земли


Между

Контак­тами одного

Полюса


по отношению к корпусу

(заземлённой части)


между контактами

одного полюса

в разомкнутом

состоянии


(относительно земли;

между контактами

одного полюса)

95

95

105


105


85


2.2. ОПРЕДЕЛЕНИЕ ФОРМЫ ИЗОЛЯЦИОННЫХ ПРОМЕЖУТКОВ


Основные изоляционные промежутки ВГБ-35, подлежащие расчёту приведены на рис. 2.2.1, рис. 2.2.2.



Изоляционные промежутки ВГБ-35

l1 - промежуток вида «игла-плоскость», находящийся в атмосферном воздухе

(кратчайшее расстояние от фазы до заземленного бака);

l2 - промежуток вида «игла-игла», находящийся в атмосферном воздухе

(кратчайшее расстояние между контактами одной фазы);

l3 - промежуток вида «игла-игла», находящийся в атмосферном воздухе

(кратчайшее расстояние между контактами двух фаз);

l4 - промежуток вида «игла-плоскость», находящийся в элегазе

(кратчайшее расстояние от экрана фазы до заземленного бака);

l5 - промежуток вида «игла-плоскость», находящийся в элегазе

(кратчайшее расстояние между подвижным контактом фазы и катушкой ДУ).




2.3. РАСЧЁТ ПРОМЕЖУТКОВ, ПОДВЕРГАЮЩИХСЯ

ГРОЗОВЫМ ИМПУЛЬСАМ


При полных грозовых импульсах положительной (+) и отрицательной (-) полярности полного импульса 1,5/40 мкс частоты 50 Гц длина изоляционного промежутка l, см определяется по соответствующим значениям Uрасч.гр, кВ:

Импульсы положительной (+) полярности

1. Для промежутка l1 минимальная длина составляет:

Uрасч.гр = (1,051,1).Uимп = (1,051,1).185 = 194,25203,5 кВ l1* = 3134 см. См. таблицу 2.1.1, {7, стр. 88; стр. 124, рис. 3-15}.

2. Поскольку импульсное испытательное напряжение Uимп между контактами одного полюса по ГОСТ 1516.1-75 для выключателей класса 35 кВ имеет тоже значение, что и Uимп относительно земли, то минимальная длина для промежутков l2, l3 составляет l2* = l3* = l1* = 3134 см.

Импульсы отрицательной (-) полярности

3. Для промежутка l1 минимальная длина составляет:

Uрасч.гр = (1,051,1).Uимп = (1,051,1).185 = 194,25203,5 кВ l1* = 1213 см. См. таблицу 2.1.1, {7, стр. 88; стр. 124, рис. 3-15}.

4. Поскольку импульсное испытательное напряжение Uимп между контактами одного полюса по ГОСТ 1516.1-75 для выключателей класса 35 кВ имеет тоже значение, что и Uимп относительно земли, то минимальная длина для промежутков l2, l3 составляет l2* = l3* = l1* = 1213 см.


2.4. РАСЧЁТ ПРОМЕЖУТКОВ, ПОДВЕРГАЕМЫХ ВОЗДЕЙСТВИЮ

РАЗРЯДНОГО НАПРЯЖЕНИЯ ПРОМЫШЛЕННОЙ ЧАСТОТЫ


При напряжении частоты 50 Гц длина изоляционного промежутка l, см определяется по соответствующим значениям Uрасч, кВ; Uрасч.д, кВ:

Сухое состояние

1. Для промежутка l1 длина минимального изоляционного промежутка:

l1* = 0,285.Uрасч - 2,85 = 0,285.(1,051,1).Uсух - 2,85 = 0,285.(1,051,1).105 - 2,85 = 28,630,1 см.

См. таблицу 2.1.2, {7, стр. 88; стр. 122, формула (3-13)}.

2. Для промежутка l2 длина минимального изоляционного промежутка:

l2*=0,27.Uрасч - 2,7=0,27.(1,051,1).Uсух - 2,7=0,27.(1,051,1).105 - 2,7=27,128,5 см.

См. таблицу 2.1.2, {7, стр. 88; стр. 122, формула (3-14)}.

3. Для промежутка l3 длина минимального изоляционного промежутка l3* = l2*.

Под дождём

4. Для промежутка l1 минимальная длина составляет:

l1* = 0,285.Uрасч.д - 2,85 = 0,285.(1,051,1).Uдож - 2,85 = 0,285.(1,051,1).85 - 2,85 = 22,623,8 см.

См. таблицу 2.1.2, {7, стр. 88; стр. 122, формула (3-13)}.

5. Для промежутка l2 минимальная длина составляет:

l2*=0,27.Uрасч.д -2,7=0,27.(1,051,1).Uдож - 2,7=0,27.(1,051,1).85 - 2,7=21,422,5 см.

См. таблицу 2.1.2, {7, стр. 88; стр. 122, формула (3-14)}.

6. Для промежутка l3 минимальная длина составляет: l3* = l2*.


2.5. РАСЧЁТ ПРОМЕЖУТКОВ, ПОДВЕРГАЮЩИХСЯ

КОММУТАЦИОННЫМ ИМПУЛЬСАМ


Определение длины воздушного промежутка по импульсам коммутационных перенапряжений производится для аппаратов на номинальные напряжения 330 кВ и выше, т. к. значения испытательных напряжений при коммутационных импульсах (КИ) выше испытательных напряжений промышленной частоты, электрическая прочность воздушных промежутков при воздействии КИ приближается к электрической прочности промежутков, подвергаемых воздействию разрядного напряжения промышленной частоты. {2, стр. 16}.


2.6. РАСЧЁТ ПРОМЕЖУТКОВ ВНУТРЕННЕЙ ИЗОЛЯЦИИ


В равномерном электрическом поле разрядное напряжение элегаза определя­ется уравнением Uрасч = n.89.p.l, В; где n - число разрывов; p - аб­солютное давление элегаза, Па; l - расстояние между электродами, м. {7, стр. 139}.


2.6.1. ПРОВЕРКА ПО ОДНОМИНУТНОМУ НАПРЯЖЕНИЮ


1. Для промежутка l4 минимальная длина в равномерном поле составляет:

l4* = Uрасч/(89.p) = (1,051,1).Uвнут/(89.p) = (1,051,1).95.103/(89.0,45.106) = (2,492,61).10-3 м или (0,2490,261) см. По уточняющей формуле: l4* = Uрасч/[89.p.(1 + a/(p.r0)m)] = = (1,051,1).Uвнут/[89.p.(1 + a/(p.r0)m)] = (1,051,1).95.103/[89.0,45.106.(1 + 9,4/(0,45.106.25.10-3)0,54)] = = (2,3482,46).10-3 м или (0,2350,246) см.

См. таблицу 2.1.2, {7, стр. 88;139, формулы (3-52);(3-54)}.

2. Для промежутка l5 минимальная длина в равномерном поле составляет:

l5* = Uрасч/(89.p) = (1,051,1).Uвнут/(n.89.p) = (1,051,1).95.103/(2.89.0,45.106) = (1,2451,305).10-3 м или (0,1250,131) см. По уточняющей формуле: l5* = Uрасч/[89.p.(1 + a/(p.r0)m)] = = (1,051,1).Uвнут/[n.89.p.(1 + a/(p.r0)m)]=(1,051,1).95.103/[2.89.0,45.106.(1 + 9,5/(0,45.106.30.10-3)0,56)]= = (1,1901,247).10-3 м или (0,1190,125) см.

См. таблицу 2.1.2, {7, стр. 88;139, формулы (3-52);(3-54)}.


2.6.2. ПРОВЕРКА ПО ИМПУЛЬСНОМУ НАПРЯЖЕНИЮ


1. Для промежутка l4 минимальная длина в равномерном поле составляет:

l4* = Uрасч/(89.p) = (1,051,1).Uвнут/(89.p) = (1,051,1).185.103/(89.0,45.106) = (4,8495,080).10-3 м или (0,4850,508) см. По уточняющей формуле: l4* = Uрасч/[89.p.(1 + a/(p.r0)m)] = = (1,051,1).Uвнут/[89.p.(1 + a/(p.r0)m)] = (1,051,1).185.103/[89.0,45.106.(1 + 9,4/(0,45.106.25.10-3)0,54)] = = (4,5724,790).10-3 м или (0,4570,479) см.

См. таблицу 2.1.2, {7, стр. 88;139, формулы (3-52);(3-54)}.

2. Для промежутка l5 минимальная длина в равномерном поле составляет:

l5* = Uрасч/(89.p) = (1,051,1).Uвнут/(n.89.p) = (1,051,1).185.103/(2.89.0,45.106) = (2,4242,540).10-3 м или (0,2420,254) см. По уточняющей формуле: l5* = Uрасч/[89.p.(1 + a/(p.r0)m)] = =(1,051,1).Uвнут/[n.89.p.(1+ a/(p.r0)m)]=(1,051,1).185.103/[2.89.0,45.106.(1 + 9,5/(0,45.106.30.10-3)0,56)]= = (2,3172,428).10-3 м или (0,2320,243) см.

См. таблицу 2.1.2, {7, стр. 88;139, формулы (3-52);(3-54)}.

2.7. ПРОВЕРКА ИЗОЛЯЦИИ ПО ДЛИНЕ ПУТИ УТЕЧКИ


Конструкция ВГБ-35 включает в себя шесть проходных изоляторов, у которых конструктивная величина кратчайшего расстояния по поверхности от металлических частей, находящихся под максимальным фазным напряжением 33 кВ (Uн.р.2/3= 40,5.2/3 = 33,068 кВ) до заземлённых частей, составляет Lут = 80+10+15 = 105 см (при определении Lут использовались данные чертежа проходного изолятора {3} и таблицы значений {7, стр. 97, таблица 3-15}). Длина пути утечки изолятора показана на рис. 2.7. Минимальное значение длины пути утечки Lут = 33,068.2,6 = 85,977 см, где 33,068 кВ - максимальное значение напряжения между фазой и заземлённой частью; 2,6 см/кВ - удельная длина утечки по ГОСТ для изоляции категории II (усиленное исполнение) с изолированной нейтралью {ГОСТ 9920-80}. Lут > Lут (105>85,977) - соотношение выдерживается.


Проверка по длине пути утечки


Рис. 2.7


2.8. ИТОГОВЫЕ РЕЗУЛЬТАТЫ РАСЧЁТОВ


Расчётной длиной изоляционного промежутка будет большее из значений, полученных при определении её по напряжению промышленной частоты, по грозовым и коммутационным импульсам.

Конструктивные величины изоляционных промежутков, как видно из таблицы 2.8, имеют несколько большие значения, чем рассчитанные выше величины, т. е. в реальной конструкции ВГБ-35 изоляционные промежутки взяты с небольшим запасом.


Таблица 2.8

Промежуток

l1

l2

l3

l4

l5

Расчётная

величина, см

31,0-34,0

31,0-34,0

31,0-34,0

0,46-0,48

0,23-0,24

Конструктивная

величина, см

47,5

(Lут > 105)

55,0

98,0

6,0

3,0


ГЛАВА ТРЕТЬЯ

РАСЧЁТ ТОКОВЕДУЩЕГО КОНТУРА


3.1. РАСЧЁТ ТОКОВЫХ ХАРАКТЕРИСТИК


В качестве исходных параметров для расчёта токовых характеристик ВГБ-35 взяты номинальный ток выключателя Iном = 630 А и номинальный ток отключения Iном.о = 12,5 кА. Расчёту подлежат:


1. Ток отключения


Допустимое значение апериодической составляющей в токе, %, характеризуется коэффициентом ном, который определяется по кривой {9, стр. 43, рис. 2.2} для времени, равного собственному времени отключения tсоб.о = 0,04 + 0,005 выключателя (см. таблицу 1.6) с добавлением 0,01 с (время защиты). Т. о. ном = 30 %. Ток отключения Iо = Iном.о.1+2.ном2=12,5.1+2.0,302=13,578 кА.


2. Эффективное значение тока КЗ за один период промышленной частоты


Iэфф (1) = m.Iном.о = 1,5.12,5 = 18,75 кА.


3. Ударный ток короткого замыкания


iуд = kа.m.Iном.о = (2.Iп + Iа)/(Iп2 + Iа2).Iэфф (1) = 1,73.1,5.12,5 = 2,55.12,5= 31,875 кА.


4. Ток термической стойкости


Подробный расчёт для основных токоведущих элементов выключателя ВГБ-35 рассматривается ниже в п. 3.2.


5. Ток электродинамической стойкости


По ГОСТ 687-78 для высоковольтных выключателей между током электродинамической стойкости Iдин и током Iном.о обязательно соотношение


Iдин 1,8.2.Iном.о, т. е. Iдин 2,546.12,5 Iдин 31,820 кА {7, стр. 15, ф. (1-1)}.

(Заявленное значение в {3}, см. таблицу 1.6 - 35 кВ).


6. Ток включения


Для наибольшего гарантированного изготовителем значения тока КЗ, которое выключатель может включить без повреждений обязательно соотношение


iвкл 2,55.Iном.о, т. е. iвкл 2,55.12,5 iвкл 31,875 кА.

3.2. ПРОВЕРКА ТОКОВЕДУЩЕЙ СИСТЕМЫ

ПО ТОКУ ТЕРМИЧЕСКОЙ СТОЙКОСТИ


Проверка выполняется по формуле Iт = (Ак - Ан).S2/tт, где Ак и Ан - параметры конкретного материала, определяемые графическим путём {6, стр. 202, рис. 5-5} и зависящие от начальной н и конечной к температуры токоведущего элемента (ТЭ), А.с/м2; S - площадь поперечного сечения ТЭ, м2; tт - допустимая длительность тока КЗ, с; Iт - действующее значение тока КЗ, А. Расчёту подлежат:


1. Медный ТЭ проходного изолятора с параметрами н= 90С {ГОСТ 8024-84}, к = 250С Ан = 1,65.1016 А.с/м2, Ак = 3,7.1016 А.с/м2 {6, стр. 202, рис. 5-5}; S = 4,909.10-4 м2 {3}; tт = 3 с {3; таблица 1.6}, для которого Iт = (3,7.1016 - - 1,65.1016).(4,909.10-4)2/3=40,580 кА. (Заявленное значение 12,5 кА, см. п. 1.6; {3 }).


2. Алюминиевый ТЭ, соединяющий проходной изолятор с неподвижным контактом и имеющий следующие параметры н = 120С {ГОСТ 8024-84}, к = 200С Ан = 0,8.1016 А.с/м2, Ак = 1,45.1016 А.с/м2 {6, стр. 202, рис. 5-5}; S = 2,75.10-4 м2 {3}; tт = 3 с {3; таблица 1.6}, для которого Iт = (1,45.1016 - - 0,8.1016).(2,75.10-4)2/3 = 12,801 кА. (Заявленное значение 12,5 кА, см. п. 1.6; {3 }).


1. Медный ТЭ подвижного контакта с параметрами н = 105С {ГОСТ 8024-84}, к = 250С Ан= 1,77.1016 А.с/м2, Ак= 3,7.1016 А.с/м2 {6, стр. 202, рис. 5-5}; S = 4,909.10-4 м2 {3}; tт = 3 с {3; таблица 1.6}, для которого Iт = (3,7.1016 - - 1,77.1016).(4,909.10-4)2/3=39,374 кА. (Заявленное значение 12,5 кА, см. п. 1.6; {3 }).


3.3. ЭЛЕКТРОДИНАМИЧЕСКИЕ УСИЛИЯ В ТОКОВЕДУЩЕЙ СИСТЕМЕ


В аварийных режимах по ТЭ аппарата протекают большие токи, которые вызывают значительные механические усилия между ТЭ одного полюса аппарата, причём эти усилия могут быть ещё большими вследствие влияния других полюсов (см. рис. 3.3.1; рис. 3.3.2). Произведём расчёт ЭДУ для системы подвижных контактов 4, расположенных на траверсе 8 (см. рис. 1.8.2, а; б).


Воздействие

s1 = s2 = a = 0,273 м; l = 0,175 м;

d1 = d2= l 2 + a 2 = 0,324 м;

kг=(2.0,324-2.0,273)/0,273=0,376.


1. Номинальный режим:

FЭДУ = 0,866.0/(4.).Iном2.kг = = 0,866.10-7.6302.0,376 = 0,013 Н.

2. Режим отключения:

FЭДУ = 0,866.0/(4.).Iном.о2.kг = =0,866.10-7.125002.0,376=5,089 Н. 3. Аварийный режим: FЭДУ = 0,866.0/(4.).Iпик2.kг = = 0,866.10-7.350002.kг = 39,899 Н.

Коэффициент

ЭДУ на ТЭ контура ЭДУ



iB





Рис 3.3.1 Рис 3.3.2


3.4. ОПРЕДЕЛЕНИЕ ПОТЕРЬ МОЩНОСТИ

В СИСТЕМЕ ПОДВИЖНЫХ КОНТАКТОВ


На рис. 3.4 показана трёхфазная симметричная система токов (токи в фазах равны друг другу и сдвинуты на 120) при расположении сплошных круглых т­оковедущих элементов (ТЭ) в вершинах равностороннего треугольника. Исполь­зуя примеры подобных расчётов в {6, стр. 117}, определим потери в ТЭ.


Система подвижных контактов


Исходными данными служат геометриче­ские размеры ТЭ r = 0,0125 м; R = 0,1575 м; a = 2.R.Cos30 = 0,2728 м; l = 0,175 м. Удель­ное сопротивле­ние меди при 0С 0 = 1,62.10-8 Ом.м. Температурный коэффици­ент сопротивления меди cu = 4,3.10-3 К-1. Мак­симально допустимая температура мед­ных ТЭ в элегазе (номинальный режим) доп = 105С. Расчёту подлежат:

Рис. 3.4

1. Площадь поперечного сечения ТЭ S = .r2 = .0,01252 = 4,909.10-4 м2.

2. Сопротивление постоянному току R= = 0.(1 + cu.доп).l/S = 1,62.10-8.(1 + 4,3 10-3.105).0,175/4,909.10-4 =8,401.10-6 Ом.

3. Параметр = 0,5.r.(0/R0) = 0,5.0,0125.(2..50.4..10-7/8,401.10-6) = 0,809.

4. Параметр g() = 0,167 {6, стр. 369, таблица П-3}.

5. Параметр h1() = 0,00327 {6, стр. 369, таблица П-3}.

6. Параметр h2() = - 0,00008 {6, стр. 369, таблица П-3}.

7. Параметр h3() = 0,00007 {6, стр. 369, таблица П-3}.

8. Параметр h4() = 0,00003 {6, стр. 369, таблица П-3}.

9. Параметр T = 2.g() = 0,0922.0,167 = 1,403.10-3 {6, стр. 118}.

10. Параметр B = 0,5.(1 - T) = 0,5.(1 - 1,403.10-3) = 0,499 {6, стр. 115}.

11. Параметр E = 4.h1() - 4.(1 - 2).h2() + 8.h3() + 10.h4()/(2.B) = 0,0924.0,00327 - - 0,0924.(1 - 0,0922).(- 0,00008) + 0,0928.0,00007+0,09210.0,00003/(2.0,499) = 2,362.10-7.

12. Параметр F = B + B2 + E =0,499 + 0,4992 + 2,362.10-7 = 0,9993.

13. Параметр Q = 1 + 0,25.T - (5/24).T 2 - 0,375.T 8 = 1 + 0,25.1,403.10-3 - (5/24) (1,403.10-3 )2 - 0,375.( 1,403.10-3)8 = 1,00035 {6, стр. 118}.

14. Коэффициент эффекта близости kб = Q/F = 1,00035/0,9993 = 1,001052.

15. Коэффициент поверхностного эффекта kп.э() = 1,033 {6, стр. 369, таблица П-3}.

16. Коэффициент добавочных потерь kд.п = kп.э.kт.и = 1,033.1,001052 = 1,034.

17. Активное сопротивление ТЭ R = R=.kд.п = 8,401.10-6.1,034 = 8,687.10-6 Ом.

18. Потери мощности в одном ТЭ P1 = Iном2R = 6302.8,687.10-6 = 3,448 Вт.

19. Потери мощности в одном ТЭ при откл. P2 = Iном.о2.R=125002.8,687.10-6 = 1357 Вт.

20. Потери мощности в трёх ТЭ P3 = 3.Iном2R = 3.6302.8,687.10-6 = 10,343 Вт.

21. Потери мощности в трёх ТЭ при откл. P4 = 3.Iном.о2.R=3.125002.8,687.10-6=4071 Вт.


3.5. РАСЧЁТ НАГРЕВА ТОКОВЕДУЩИХ

ЭЛЕМЕНТОВ В ЭЛЕГАЗЕ


Для определения температуры поверхности системы подвижных контактов 4, расположенных на траверсе 8 (см. рис. 1.8.2, а; б), выполняем следующее:


1. Задаёмся начальной температурой ТЭ ном = 57С при токе Iном = 630 А.

2. Определяющая температура элегаза опр = 0,5.(ном+0) = 0,5.(57+40) = 48,5С.

3. Критерий Прандтля при опр = 48,5С Pr = 0,75185 {6, стр. 138, таблица 4-2}.

4. Определяющий размер ТЭ x = 2.r = 2.0,0125 = 0,025 м (см. п. 3.4.).

5. Коэффициент объёмного расширения элегаза = 1/(опр + 273) = 0,00311.

6. Превышение температуры ТЭ над температурой элегаза = 57 - 40 = 17С.

7. Кинематическая вязкость элегаза при опр = 48,5С составляет = 25,18.10-7 м2/с.

  1. Критерий Грасгофа

Gr = 9,81...x3/2 = 9,81.0,00311.0,0253.17/(25,18-7)2=1,278.106.

9. Произведение критериев Грасгофа и Прандтля

Gr.Pr = 1,278.106.0,75185 = 9,608.105.

10. Режим теплообмена при Gr.Pr = 9,608.105 отвечает расчётной формуле :

kт.к = A2.(/x)1/4 = 2,069.(17/0,025)1/4 = 10,565 Вт/(м2.К) {6, стр. 146, таблица 4-5}.


11. Постоянная излучения = 0,25 {6, стр. 155, таблица 4-7}.

12. Коэффициент теплообмена излучением

kт.и = 5,673.10-8..(ном4-04)/ = 5,673.10-8.0,25.(3304-3134)/17 = 1,887 Вт/(м2.К).


13. Суммарный коэффициент теплообмена

kт.с = kт.к + kт.и = 10,565 + 1,887 = 12,452 Вт/(м2.К).

(Значение используется в программном расчёте токоведущего контура для Г2).


14. Площадь поверхности подвижных контактов, общей длиной S = 3.l.2..r = = 3.0,175.2..0,0125 = 0,04123 м2 (см. данные из п. 3.4.).


15. Активное сопротивление ТЭ при ном = 57С (см. данные из п. 3.4.)

R=kд.п.0.(1+cu.ном).l/S=1,034.1,62.10-8.(1+4,33.10-3.57).0,175/4,909.10-4=7,446.10-6 Ом.


16. Суммарный тепловой поток, выделяющийся в трёх подвижных контактах при номинальном токе Ф = 3.Iном2.R = 3.6302.7,446.10-6 = 8,866 Вт (см. п. 3.4.).


17. Температура поверхности ТЭ

ном = Ф/(kт.с.S) + 0 = 8,886/(12,452.0,04123) + 40 = 57,3 С.


Кроме нагрева подвижных контактов имеет место нагрев в контактных узлах (самый значительный по сути!), неподвижных контактах, алюм. шинах, соединяющих выводы проходных изоляторов с неподвижными контактами. Всё это рассматривается и учитывается в программном расчёте токоведущей системы высоковольтных выключателей {5}.


3.6. ПОРЯДОК ТЕПЛОВОГО РАСЧЁТА ТОКОВЕДУЩИХ СИСТЕМ

МЕТОДОМ ТЕПЛОВЫХ СХЕМ


1. Разработка тепловой модели токоведущих систем (ТС) аппарата в виде стержневой системы, в которой выделяются участки однородности.

2. По тепловой модели строится тепловая схема. Несовершенство теплового и электрического контакта на стыке стержней учитывается в тепловой схеме источниками теплового потока и теплового сопротивления.

3. Расчёт всех сопротивлений и источников, входящих в тепловую схему.

4. Тепловая схема рассчитывается по методам, применяем в электротехнике, и находятся температуры на границах каждого участка.

5. По уравнениям связи для каждого участка определяются параметры, необходимые в дальнейшем для построения графика распределения теплового потока вдоль токоведущей системы.


3.7. ПОСТРОЕНИЕ ТЕПЛОВОЙ МОДЕЛИ ТОКОВЕДУЩЕЙ СИСТЕМЫ


Для теплового расчёта ТС ВГБ-35 программой {5}, необхо­димо упростить исходную токоведущую систему до системы коаксиальных ци­линдров, что в принципе возможно, при замене корпуса бака выключателя экви­валентным цилиндром того же объёма, имеющим ось симметрии, совпадающую с осью симметрии одного из шести проходных изоляторов выключателя. (Рассматриваем только одну фазу и в силу вертикальной симметрии конструкции бака с проходными изоляторами, ограничиваемся следующей цепочкой: ввод проходного изолятора токопровод изолятора алюминиевая шина, соединяющая вывод изолятора с неподвижным контак­том контактный узел подвижный контакт половинной длины элегаз). Алюминиевая шина прямоугольного сечения заменяется эквивалентным стержнем, имеющим такое же сечение и длину.

График распределения теплового потока данной модели (см. приложение) необходимо зеркально отразить по горизонтали из-за причин, обрисованных выше. Схема тепловой модели показана на рис. 3.7.




Где 1 - токопровод проходного изолятора; 2 - воздушный промежуток; 3 - фарфор; 4 - винипол; 5 - стеклоэпоксид; 6 - сталь колпака трансформатора тока; 7 - изоляция трансформатора тока; 8 - подвижный контакт половиной длины; 9 - алюминиевая шина; 10 - элегаз под давлением 0,45 МПа; 11 - стальной корпус бака; I..VIII - участки однородности токоведущей системы; КУ -контактный узел.


3.8. ИСХОДНЫЕ ДАННЫЕ ДЛЯ МАШИННОГО РАСЧЁТА


Исходные данные для расчёта токоведущего контура пр-мой {5} приведены в таблице 3.3.


Таблица 3.3


Параметры

I

II

III

IV

V

VI

VII

VIII


L, м

0,075

0,425

0,010

0,180

0,040

0,180

0,190

0,090


S, м*10-6

78,540

78,540

78,540

78,540

78,540

78,540

58,786

78,540


F, м. кв.*10-6

490,874

490,874

490,874

490,874

490,874

490,874

275,0

490,874


, Омм*10-8

1,62

1,62

1,62

1,62

1,62

1,62

3,30

1,62


, Вт/(м°С)

390

390

390

390

390

390

160

390


, 1/°С*10-3

4,33

4,33

4,33

4,33

4,33

4,33

4,2

4,33

1

r2/r1

0,050/

0,0125

0,030/

0,0125

0,040/

0,0125

0,040/

0,0125

0,100/

0,0125

0,040/

0,0125

0,230/

0,009

0,230/

0,025


P, МПа

0,1

0,1

0,1

0,1

0,1

0,1

0,45

0,45

2

r3/r2

0,070/

0,050

0,050/

0,030

0,115/

0,040

0,080/

0,040

0,115/

0,100

0,230/

0,040

0,250/

0,230

0,250/

0,230


P, МПа


0,1


0,1

0,1

0,45



3

r4/r3


0,090/

0,050


0,100/

0,080

0,125/

0,115

0,250/

0,230




P, МПа




0,1





4

r5/r4




0,110/

0,100






P, МПа










Где L - длина участка с однородной изоляцией, м; S - периметр токоведущего стержня на участке однородности, 10-6 м, F - сечение токопровода на участке однородности, 10-6 м2; 0 - удельное сопротивление материала токопровода при 0С, Ом.м.10-8; - коэффициент теплопроводности материала токопровода на участке при 0С, Вт/(м.С); - температурный коэффициент сопротивления материала токопровода, 10-3 К-1; P -абсолютное давление слоёв изоляции, МПа; 1..4 - слой однородной изоляции на участке; r2/r1..r5/r4 - внешний/внутренний диаметры слоёв изоляции. I..VIII - участки однородности токоведущей системы.


3.9. РЕЗУЛЬТАТЫ ТЕПЛОВОГО РАСЧЁТА


Результаты расчёта приведены в приложении.


ГЛАВА ЧЕТВЁРТАЯ

РАСЧЁТ КОНТАКТНОГО УЗЛА


Расчёт параметров контактной системы при номинальном токе сводится к определению необходимого контактного нажатия при заданном значении тока и максимальной температуре площадки контактирования применительно к разрабатываемой конструкции коммутационного аппарата.


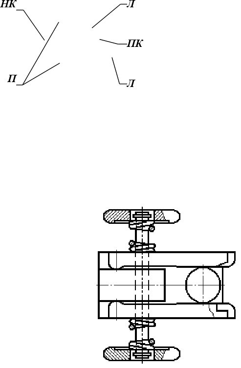
4.1. ТИП КОНТАКТНОЙ СИСТЕМЫ ВГБ-35


Контакты ВГБ-35 относятся к ламельным (пальцевым) контактам без гибких связей (см. рис. 4.1, а; 4.1, б), в которых подвижная контакт-деталь (ПК), выполненная в виде стержня входит в неподвижную контакт-деталь (НК). Контактное нажатие создаётся двумя пружинами (П). Общее количество ламелей (Л), расположенных на НК - четыре (две сверху, две снизу), причём одна пара (верхняя и нижняя Л) имеет больший горизонтальный размер, чем другая. Эта же пара снабжена дугостойкими металлокерамическими напайками. ПК соответственно тоже снабжены наконечниками из дугостоикой металлокерамики.


Контактный узел ВГБ-35




Рис. 4.1, а Рис. 4.1, б


ПК-подвижный контакт; НК-неподвижный контакт; П-пружина; Л-ламель.


4.2. РАСЧЁТ ПАРАМЕТРОВ КОНТАКТНОЙ СИСТЕМЫ

ПРИ НОМИНАЛЬНОМ ТОКЕ


4.2.1. ИСХОДНЫЕ ДАННЫЕ ДЛЯ РАСЧЁТА

КОНТАКТНОГО НАЖАТИЯ


Номинальный ток выключателя Iном = 630 А;

Максимальная температура контактов из меди и

медных сплавов с покрытием серебром в элегазе {6} доп = 105C;

Превышение температуры контакта над температурой

удалённых точек  = 5 К;

Количество ламелей m = 4;

Количество точек касания для линейного контакта n = 2;

Удельное сопротивление меди при 0C {6} 0=1,62.10-8 Ом.м;

Температурный коэффициент электрического

сопротивления меди при 0C {6} =0,00433 K-1;

Теплопроводность меди при 0C {6} 0=388 Вт/(м.К);

Микротвёрдость меди при 0C {6} H=730 МПа;

Температура плавления меди {6} 0 = 1083 С;

Температурный коэффициент электрического

сопротивления меди при 0C {6} = 0,00433 K-1;

Коэффициент шероховатости поверхности м =1;

Коэффициент неравномерности по точкам касания kн = 1,11,3.


Расчёту подлежат:


= 0.(1+cu.доп) = 1,62.10-8.(1 + 0,00433.105) = 2,357.10-8 Ом.м;

= 0.(1 - т.доп) = 388.(1 - 1,8.10-4.105) = 381 Вт/(м.К);

н = 273 + доп = 273 + 105 = 378 К; пл = 273 + пл = 273 + 1083 = 1356 К;

H=H.[1-(н/пл)2/3]/[1-(273/пл)2/3]=730.[1-(378/1356)2/3]/[1-(273/1356)2/3]=638 МПа;


4.2.2. РАСЧЁТ КОНТАКТНОГО НАЖАТИЯ


Fк= n.[Iном.kн/(n.m)]2...H/(32..) = 2.[630.1,2/(2.4)]2.2,357.10-8..638.106/(32.381.5) = = 13,841 Н {6, стр. 267, формула (7-13а)}.


4.2.3. РАСЧЁТ КОНТАКТНОГО НАЖАТИЯ

ПО ЭЛЛИПТИЧЕСКОЙ ФОРМУЛЕ


Fк.элл = [n.(Iном/(n.m).kн)2.kл..м.Hб]/[16.2.(аrccos(Tк/Tм))2] = [2.(630/(2.4).1,2)2.2,357 10-8.3,14159.3,7.108]/[16.3812.(аrccos(378/383))2] = 7,228 H.


4.2.4. РАСЧЁТ КОНТАКТНОГО НАЖАТИЯ

ПО СФЕРИЧЕСКОЙ ФОРМУЛЕ


Fк.сфр = [n.(Iном/(n.m).kн)2...см]/[32..(Tк - Tм)] = [2.(630/(2.4).1,2)2.2,357.10-8.3,1415 3,7.108]/[32.381.(387 - 383)] = 7,636 H.


Усреднённое значение силы контактного нажатия, см. п. 4.2.2 - 4.2.4:


Fк = (Fк + Fк.элл + Fк.сфр)/3 = (13,841 + 7,228 + 7,636)/3 = 9,568 Н.


4.2.5. РАСЧЁТ ПЕРЕХОДНОГО СОПРОТИВЛЕНИЯ

КОНТАКТНОГО УЗЛА


Производится по формуле из {6, стр. 264}:


Rпер = /(0,102.Fк)m, где


Rпер - переходное сопротивление контактного соединения (КД); - коэффициент, учитывающий физические свойства металла КД, состояние рабочей поверхности (степень её окисления) и вид контакта; Fк - контактное нажатие, Н; m - коэффициент, полученный опытным путём для контактов разного вида.


Для ВГБ-35 переходное сопротивление КД составляет:


Rпер = /(0,102.Fк)m = 0,14.10-3/(0,102.9,568)0,7 = 1,424.10-4 Ом.


4.2.6. РАСЧЁТ ТЕПЛОВОГО ПОТОКА КОНТАКТНОЙ СИСТЕМЫ


Тепловой поток, приходящийся на весь контактный узел

определяем по формуле


Qк = Rпер.n.m.[Iном.kн/(n.m)]2 = 1,424.10-4.2.4.[630.1,2/(2.4)2] = 10,173 Вт.


Значение теплового потока КУ используется в программе {5}.


Т. к. в конструкции ВГБ-35 предусмотрено шесть контактных узлов, то общий тепловой поток, выделяющийся в бак, заполненный элегазом, при протекании номинального тока (включенное положение) составляет 6.10,173 = 61,038 Вт. С учётом тепловых потерь в подвижных контактах, тепловой поток, выделяющийся в бак составляет 61,038 + 10,343 = = 71,381 Вт (см. п. 3.4.).


4.2.7. РАСЧЁТ МАКСИМАЛЬНОЙ ТЕМПЕРАТУРЫ ТОЧКИ

КАСАНИЯ КОНТАКТОВ


H=H.[1-(н/пл)2/3]/[1-(273/пл)2/3]=730.[1-(1000/1356)2/3]/[1-(273/1356)2/3]=204 МПа;


Tм=То/[cos((Iэфф(1)/(m.n).kн..A.H)/(4..Fк))]=378/[cos((18,75.103/(4.2).1,2.3,14.2,310-8.204.106)/ /(4.381.9,568))]=???


4.2.8. РАСЧЁТ СВАРИВАЮЩЕГО ТОКА


Iпл = mсв.(0,102.n.m.Fк)nсв.103 = 2,0.(0,102.2.4.7.432)0,5.103 = 13,931 кА.

См. {6, стр. 289}.


Параметры mсв и mсв взяты из {6, таблица 7-7}.


4.3. РАСЧЁТ ПАРАМЕТРОВ КОНТАКТНОЙ СИСТЕМЫ

ПРОГРАММОЙ "CONT" {6}


4.3.1. ИСХОДНЫЕ ДАННЫЕ


Исходные данные для расчёта взяты из {1, таблица П.7.}, {3}.


Материал контактной пары медь/медь;

Номинальный ток 630 А;

Номинальный ток отключения 12500 А;

Допустимая температура в номинальном режиме 105+273=378 К;

Допустимая температура при КЗ 250+273=523 К;

Температура плавления 1083+273=1356 К;

Твердость по Бринелю при 0С 5.108 Н/м2;

Теплопроводность 388 Вт/(м.К);

Длина ламели 0,08 м;

Внутренний диаметр ламели 0,023 м;

Внешний диаметр ламели 0,044 м;

Сечение ламели 0,000289 м2;

Число ламелей 4;

Число точек касания 2.


4.3.2. РЕЗУЛЬТАТЫ РАСЧЁТА


В номинальном режиме сила контактной пружины 10,887 Н;

В режиме короткого замыкания максимальная

температура точки касания 1125 К;

Электродинамическая сила притяжения,

действующая на одну ламель 55,331 Н;

Электродинамическая сила отталкивания,

действующая на одну ламель 10,582 Н;

Фактическое нажатие 50,193 Н;

Переходное сопротивление контакта 2.31.10-5 Ом;

Тепловые потери в контакте 9.173 Вт.


Результаты расчёта данной программы несколько отличаются от расчётов, выполненных в п. 4.2. Это объясняется тем, что данная программа в первую очередь предназначена для расчёта контактов розеточного типа, которые имеют радиальную геометрию контактной системы, отсутствующую в ВГБ-35.


ГЛАВА ПЯТАЯ

К

E

ИНЕМАТИЧЕСКАЯ СХЕМА И ПЛАН СКОРОСТЕЙ

ГЛАВА ШЕСТАЯ

СИСТЕМА ДУГОГАШЕНИЯ ВГБ-35


Одним из быстроразвивающихся направлений создания новых выключателей переменного тока высокого и сверхвысокого напряжения, отличающихся меньшими габаритами и отвечающих требованиям современной энергетики по коммутационной способности и надёжности, являются выключатели с дугогасящей средой, более эффективной по сравнению со сжатым воздухом и маслом. Использование элегаза для этих целей обусловлено его высокими изоляционными и дугогасящими свойствами.

В дугогасительных устройствах (ДУ) элегазовых выключателей применяются различные способы гашения дуги в зависимости от номинального напряжения, номинального тока отключения и условия восстановления напряжения.


Один из способов - охлаждение электрической дуги элегазом при перетоке газа из резервуара высокого давления (около 2 МПа) в резервуар низкого давления (0,3 МПа), т.е. используется тот же принцип, что и в воздушном выключателе. Однако, основное отличие состоит в том, что в элегазовых ДУ при гашении дуги истечение газа через сопло происходит не в атмосферу, а в замкнутый объём камеры, заполненный элегазом при относительно небольшом избыточном давлении. Гашение мощной дуги в аппаратах высокого напряжения возможно лишь при интенсивном теплоотводе, который в высоковольтных выключателях обеспечивается интенсивным дутьём. Для того чтобы избежать перехода элегаза в жидкость при отрицательной температуре (-40C), бак высокого давления необходимо подогревать до температуры 12C, т. к. при переходе элегаза в жидкое состояние уменьшается плотность газовой фазы и ухудшается его дугогасящая способность. Для подогрева газа служит автоматическая система, которая сильно усложняет конструкцию выключателя.


Другой способ применяется в автокомпрессионных выключателях, в которых бак заполнен элегазом при давлении 0,3-0,4 МПа. При этом обеспечивается высокая электрическая прочность газа и возможность работы без подогрева при температуре до -40C. В таких выключателях перепад давления, необходимый для гашения дуги, создаётся специальным компрессионным устройством, механически связанным с подвижным контактом аппарата. В процессе гашения получается перепад p=0,60,8 МПа. При этом обеспечиваются условия для получения критической скорости истечения и эффективного гашения дуги.


Существует и третий способ гашения дуги, который и имеет место в конструкции ВГБ-35. Это способ гашения дуги, перемещающейся под действием магнитного поля в неподвижном элегазе.

Теплоотвод от дуги существенно возрастает при быстром её перемещении силами магнитного поля в неподвижном газе. Электромагнитное дутьё в воздухе широко используется в аппаратах низкого напряжения. При замене воздуха элегазом электромагнитный способ гашения дуги оказалась возможным распространить и на область высоких напряжений.

Принципиальные схемы дугогасительных устройств с электромагнитным гашением дуги в элегазе показаны на рисунке. В них на каждую единицу длины дуги действует сила F1, возникающая при взаимодействии тока дуги с нормальной к её стволу составляющей напряжённости магнитного поля. Под действием этой силы дуга перемещается по электродам со скоростью, зависящей от различных параметров, и в частности конструктивных. Маг


нитное поле создаётся самим отключаемым током при прохождении его по одной катушке (рис. 6, а) или по двум встречно включенным катушкам (рис. 6, б). Во включенном состоянии аппарата катушки шунтированы главными контактами, которые при отключении размыкаются первыми.

Возникающая между подвижными и неподвижными контактами дуга начинает двигаться не сразу, а лишь после того, как сила F1 достигнет некоторого значения, ибо, чтобы сдвинуть дугу с места первоначального её образования, необходимо приложить вполне определённую силу Fмин, которую можно вычислить (в ньютонах) по формуле Fмин=I.H.10-6, где I-ток дуги, H-напряжённость магнитного поля катушки.

F



Система дугогашения


Рис. 6, а


1 - путь тока при включенном положении аппарата, 2 - путь тока в процессе отключения, 3 - главные контакты, 4 - дугогасительные контакты, 5 - катушка.


Рис. 6, б


ГЛАВА СЕДЬМАЯ

ПРАВИЛА МОНТАЖА И ОБСЛУЖИВАНИЯ


7.1. Перед вскрытием упаковки выключателя необходимо убедиться в её исправности. При вскрытии упаковки принять меры предосторожности, чтобы не повредить изоляционную часть вводов и стекло сигнализатора давления.

7.2. После вскрытия упаковки произвести внешний осмотр выключателя. На выключателе не должно быть повреждений и следов коррозии. Проверить комплектность согласно паспорту. По результатам внешнего осмотра выключателя и проверки комплектности составить акт.

7.3. Собственно выключатель при монтаже поднимать за пластины, находящиеся между вводами выключателя. Привод поднимать за скобы, приваренные к крышке шкафа.

7.4. Маркировочный номер шкафа привода должен совпадать с номером выключателя, указанным на табличке технических данных.

7.5. Рабочее напряжение, токовая нагрузка и токи короткого замыкания выключателей не должны превышать паспортных значений.

7.6. На предприятии-изготовителе выключатель отвакуумирован и заполнен элегазом до избыточного давления в соответствии с документацией. Перед вводом в эксплуатацию, необходимо снять показания индикатора давления. Если избыточное давление ниже 0,4 МПа, выключатель в эксплуатацию не вводить, вызвать представителя предприятия-изготовителя.

7.7. Перед разборкой выключателя, необходимо выпустить из бака элегаз в соответствии с указаниями приведёнными в технической документации.

7.8. Рекомендуется для проведения работ по ревизии или ремонту выключателя вызывать представителя предприятия-изготовителя.

7.9. Ревизия или ремонт выключателя, связанные с вскрытием бака, должны проводиться в специальных помещениях. Все эти помещения должны быть изолированы от улицы и других помещений (в том числе и друг от друга). Они должны быть особо чистыми. Должны быть приняты меры, исключающие попадания пыли. Стены и потолок должны быть окрашены пыленеобразующей краской. Уборка помещений должна производиться вакуумным способом. Должно быть обеспеченно хорошее естественное либо электрическое освещение.

Должно быть предусмотрено наличие переносных ламп на напряжение 12 В с мощностью не ниже 40 Вт.

7.10. В части требований безопасности эксплуатация выключателя должна осуществляться в соответствии с требованиями ГОСТ 12.2.007.3-75, "Правилами технической эксплуатации электроустановок потребителей", "Правилами техники безопасности при эксплуатации электроустановок потребителей".


ЗАКЛЮЧЕНИЕ


В качестве заключения мне бы хотелось отметить основные достоинства выключателей серии ВГБ-35, такие как:


Полная заводская готовность, обеспечивающая простой и быстрый монтаж (выключатель приходит заказчику полностью отрегулированным, заполненным элегазом до рабочего давления и не требует при монтаже и наладке дозаправки элегазом);

Небольшие масса и габариты, отсутствие дополнительных динамических нагрузок на фундамент при коммутации токов короткого замыкания (возможна установка на одной опоре с облегчённым фундаментом);

Экологическая чистота эксплуатации;

Способность отключать ёмкостные токи до 630 А без повторных пробоев;

Минимум обслуживания, т. к. большие механический и коммутационный ресурсы обеспечивают работу без ремонта с вскрытием бака в течение всего срока службы выключателя;

Высокая надёжность (даже при падении избыточного давления элегаза до нуля, выключатель выдерживает напряжение 1,5 Uф и отключает ток нагрузки до 630 А), обеспечивается эксплуатация выключателя без включения подогрева до температуры минус 45C;

Трансформаторы тока имеют только одно исполнение, рассчитанное на весь диапазон первичных токов от 50 до 600 А (вместо 3-х исполнений у масляных выключателей С-35), переключение отводов для изменения коэффициента трансформации производится без разборки выключателя;

Увеличенное количество и улучшенные характеристики встроенных трансфор­маторов тока позволяют в большинстве случаев отказаться от приме­нения выносных трансформаторов тока наружной установки;

Возможность работы выключателя без аккумуляторной батареи, дополнительных выпрямительных устройств, блоков питания индуктивных накопителей энергии;

Взрыво и пожаробезопасность.


БИБЛИОГРАФИЧЕСКИЙ СПИСОК


  1. Буткевич Г. В., Дегтярь В. Г., Сливинская А. Г. Задачник по электрическим аппаратам. - М.: Высшая школа, 1987. - 232 с.;

  2. Кукеков Г. А. Выключатели переменного тока высокого напряжения. - Л.: Энергия, 1972. - 336 с.;

  3. Листок-каталог. Выключатель элегазовый серии ВГБ-35. Е.: Уралэлектротяжмаш, 1993. - 19 с.

  4. Полтев А. И. Конструкции и расчёт элегазовых аппаратов высокого напряжения. - Л.: Энергия, 1979. -239 с.;

  5. Проектирование электрических аппаратов/ Под редакцией Г. Н. Александрова. - Л.: Энергоатомиздат, 1985. - 448 с.;

  6. Справочник по расчёту и конструированию контактных частей сильноточных электрических аппаратов/ Под редакцией В. В. Афанасьева. - Л.: Энергоатомиздат, 1988. - 384 с.;

  7. Справочник по электрическим аппаратам высокого напряжения/ Под редакцией В. В. Афанасьева. - Л.: Энергоатомиздат, 1987. - 544 с.;

  8. Таев И. С. Электрические аппараты управления М.: Высшая школа, 1984. -247 с.;

  9. Чунихин А. А., Жаворонков М. А. Аппараты высокого напряжения. - М.: Энергоатомиздат, 1985. - 432 с.;

  10. Электрические аппараты высокого напряжения/ Под редакцией Г. Н. Александрова. - - Л.: Энергоатомиздат, 1989. - 344 с.;


ПРОГРАММНОЕ ОБЕСПЕЧЕНИЕ


1. Графический пакет Photoshop 4.0.

Copyright by Adobe, 1996.

2. Математический пакет MathCAD 7.0.

Copyright by MathSoft , 1997.

3. Операционная система DOS 7.0.

Copyright by Microsoft Corporation, 1995.

4. Операционная система Windows’95.

Copyright by Microsoft Corporation, 1995.

5. Программа теплового расчёта токоведущей системы высоковоль-х выключателей TRTS.

Copyright by Slepuhina I. A. & Luzgin V. I., 1995.

6. Программа расчёта контактной системы розеточного контакта в номинальном режиме и режиме короткого замыкания CONT.

Copyright by Slepuhina I. A. & Luzgin V. I., 1996.

7. Табличный процессор Excel 7.0.

Copyright by Microsoft Corporation, 1995.

8. Текстовый редактор Word 7.0.

Copyright by Microsoft Corporation, 1995.


ПРИЛОЖЕНИЕ




© 2012 Рефераты, курсовые и дипломные работы.