рефераты
Главная

Рефераты по рекламе

Рефераты по физике

Рефераты по философии

Рефераты по финансам

Рефераты по химии

Рефераты по хозяйственному праву

Рефераты по цифровым устройствам

Рефераты по экологическому праву

Рефераты по экономико-математическому моделированию

Рефераты по экономической географии

Рефераты по экономической теории

Рефераты по этике

Рефераты по юриспруденции

Рефераты по языковедению

Рефераты по юридическим наукам

Рефераты по истории

Рефераты по компьютерным наукам

Рефераты по медицинским наукам

Рефераты по финансовым наукам

Рефераты по управленческим наукам

Психология и педагогика

Промышленность производство

Биология и химия

Языкознание филология

Издательское дело и полиграфия

Рефераты по краеведению и этнографии

Рефераты по религии и мифологии

Рефераты по медицине

Рефераты по сексологии

Рефераты по информатике программированию

Краткое содержание произведений

Статья: О методике решения задач на относительность движения при изучении основ кинематики в 9 классе общеобразовательной школы

Статья: О методике решения задач на относительность движения при изучении основ кинематики в 9 классе общеобразовательной школы

Петровых Н.П., Горбанева Л.В. (кафедра общей физики ХГПУ)

Одним из сложных и недостаточно разработанных вопросов методики физики является методика решения задач на относительность движения. Анализ  специальной литературы и имеющийся практический опыт  убеждают в том, что учащиеся школы и студенты не умеют решать задачи на относительность движения. В методических пособиях предлагается преимущественно логические приемы решения, иллюстрируемые иногда рисунками.

Мы предлагаем способ решения задач на относительность движения, который позволяет конкретизировать представления учащихся и студентов о законе сложения скоростей и перемещений, о понятии неподвижной системы отсчета (НСО) и подвижной системы отсчета (ПСО). Учит определять скорости, перемещения тел относительно различных систем отсчета (СО) и другие величины,  убеждает в относительности скорости и перемещения тел.

Сущность предлагаемого способа решения задач сводится к следующему алгоритму:

Анализ условия задачи, выделение движущихся тел. Краткая запись условия задачи. Определение неподвижной и подвижной системы отсчета (НСО и ПСО), движущегося тела.

Записать закон сложения скоростей или перемещений в векторной форме.

Изобразить графически параметры заданных движений, при этом выбрать начальный момент времени и совместить начало НСО и ПСО.

Отобразить на графике, который строится под первоначальным, изменение величин,  описанных в задаче  со временем.

Сравнение закона сложения скоростей (перемещений) и графика.

Записать закон сложения скоростей (перемещений) в проекциях на оси координат, объединив их в систему (или найти геометрическую сумму путем сложения векторов).

Решить полученную систему уравнений. Подставить в решение общего вида значения величин и произвести вычисления.

На примерах решения типовых задач на относительность движения покажем применение данного способа решения.

Задача № 1.

Два поезда движутся равномерно друг за другом. Скорость первого 80 км/ч, а второго 60 км/ч. Какова скорость второго поезда относительно первого ?

1. Первый и второй поезда движутся относительно Земли с некоторыми скоростями. Скорость первого поезда V, скорость второго V2 (жирным шрифтом обозначены векторные величины).

Дано:                              Решение:

V = 80 км/ч      За НСО примем Землю, за ПСО – первый поезд.

V2 = 60 км/ч      Скорость ПСО относительно НСО – V.

V1 - ?                  Движущимся телом является второй поезд.

                     Скорость движущегося тела относительно НСО – V2.

                     Неизвестная скорость второго поезда относительно первого (ПСО) – V1.

О методике решения задач на относительность движения при изучении основ кинематики в 9 классе общеобразовательной школы2. Закон сложения скоростей V2 = V + V1. Скорость второго поезда относительно НСО равна геометрической сумме скорости второго поезда  относительно ПСО и скорости ПСО относительно НСО.

3. Систему координат XY свяжем с Землей (НСО).

 Систему координат X¢ Y¢  параллельную XY свяжем с первым поездом (ПСО)

 В начальный момент времени (t = 0) совместим НСО и ПСО.         

             4. Через t = 1 час положение ПСО (первого поезда) изменится на расстояние, равное 80 км, а второго поезда, относительно НСО окажется на расстоянии 60 км.

О методике решения задач на относительность движения при изучении основ кинематики в 9 классе общеобразовательной школы 

            5. Соотнесем график и формулу закона сложения скоростей V2 = V + V1. Убеждаемся в том, что обе формы отражения закона совпадают.

            6. Для вычисления скорости второго поезда относительно первого найдем проекции и запишем:    

О методике решения задач на относительность движения при изучении основ кинематики в 9 классе общеобразовательной школы                                                       V2x = Vx + V1x

                                                                                 V2y = Vy + V1y 

                                                     V2 = V - V1

                                                    -V1 = V2 – V

                                                      V1 = V – V2

                                                      V1 = 80 км/ч -  60 км/ч = 20 км/ч

                          Ответ: скорость второго относительно первого поезда равна 20 км/ч.

Задача №2

Скорость течения реки V= 1,5 м/с. Каков модуль скорости V1 катера относительно воды, если катер движется перпендикулярно к берегу со скоростью V2 = 2 м/с относительно него.

  1.    Дано:

О методике решения задач на относительность движения при изучении основ кинематики в 9 классе общеобразовательной школы V= 1,5 м/с           За НСО примем берег реки,

V2  = 2 м/с             за ПСО – реку (скорость течения реки V),

О методике решения задач на относительность движения при изучении основ кинематики в 9 классе общеобразовательной школыV - ?                      движущееся тело – катер.

                  2. Закон сложения скоростей V2 = V + V1. Скорость катера относительно НСО (берега реки) равна геометрической сумме скорости катера относительно ПСО (течения реки) и скорости течения реки.

                   3. Свяжем НСО с системой координат  XY, а  ПСО с системой координат X`Y`. Ось OX направим вдоль берега, а ось OY поперек реки (O`X` и O`Y` соответственно).

О методике решения задач на относительность движения при изучении основ кинематики в 9 классе общеобразовательной школы                    4.

                     5. Сравним закон сложения скоростей и графика. Для простоты решения найдем геометрическую сумму векторов скорости.

                     6. Так как полученный треугольник прямоугольный, то

О методике решения задач на относительность движения при изучении основ кинематики в 9 классе общеобразовательной школы

О методике решения задач на относительность движения при изучении основ кинематики в 9 классе общеобразовательной школы

Ответ: модуль скорости катера относительно реки  2,5 м/с.

Задача № 3

Два поезда движутся навстречу друг другу со скоростями 72 и 54 км/ч. Пассажир, находящийся в первом поезде, замечает, что второй поезд проходит мимо него в течение 14 с. Какова длина второго поезда ?

О методике решения задач на относительность движения при изучении основ кинематики в 9 классе общеобразовательной школы1.    Дано: 

V1 =72 км/ч =20 м/с            Так как движение поездов можно считать равномерным,       

V2  = 54 км/ч = 15 м/с          то длину второго поезда можно найти по формуле

l - ?                                        l = V21× t, где V21 – скорость второго поезда относительно                                          первого поезда.    Значит,  для  определения  l  необходимо  найти  V21.

             Примем за НСО Землю, а за ПСО – первый поезд,  движущееся тело – второй поезд.  V2  скорость второго поезда относительно НСО. Скорость ПСО - V1.    

О методике решения задач на относительность движения при изучении основ кинематики в 9 классе общеобразовательной школы           2. Закон сложения скоростей V2 = V2 1 + V1. Скорость второго поезда относительно НСО равна геометрической сумме скорости второго поезда относительно ПСО (первого поезда) и скорости ПСО (первого поезда).

           3.      4.

О методике решения задач на относительность движения при изучении основ кинематики в 9 классе общеобразовательной школы 

          5. На графике V2  и  V2 1  направлены в одну сторону, а V1 в противоположную,

               тогда                      -V2 = V1 - V21

         6  V2 1 = V1 + V2

О методике решения задач на относительность движения при изучении основ кинематики в 9 классе общеобразовательной школыl = (V1 + V2)× t

l = (20 м/с + 15 м/с)× 14 с = 490 м.

Ответ: длина второго поезда 490 м.

Задача  № 4

Катер, двигаясь против течения реки, проплывает около стоящего на якоре буя и встречает там плот. Через 12 минут после встречи катер повернул обратно и догнал плот на расстоянии 800м ниже буя. Найти скорость течения реки.

О методике решения задач на относительность движения при изучении основ кинематики в 9 классе общеобразовательной школы   Дано:

t = 12 мин = 720с           НСО свяжем с буем, ПСО – плот (движущийся со скоростью

  S = 800 м                         течения реки  V0), движущееся тело – катер.

V0 - ?                                Скорость катера относительно НСО – V, 

                                         а относительно ПСО – V1.

 Закон сложения скоростей для катера, движущегося по течению и против течения реки, в геометрической форме совпадает: V =  V0  +  V1. Скорость катера относительно НСО равна геометрической сумме скорости ПСО (течения реки) и скорости катера относительно ПСО.

 Найдем скорость катера, двигающегося против течения реки

V =  V0  +  V1

- V  = V0  - V1

V =  V1  - V0

Аналогично найдем скорость катера, двигающегося по течению реки

V =  V0  +  V1

V =  V0  +  V1

         Запишем уравнения движения плота и катера:

О методике решения задач на относительность движения при изучении основ кинематики в 9 классе общеобразовательной школы                          Sпл. = V0 × t

  

                  Sк= S1 - S2 , где S1 – расстояние, пройденное катером по течению,

                                              S2 – расстояние, пройденное катером против течения.

О методике решения задач на относительность движения при изучении основ кинематики в 9 классе общеобразовательной школы                       Sпл. = V0×t

                                 

                     Sк = -( V1  - V0 ) × t1 + (V0  +  V1) × (t – t1)

Расстояние, пройденное катером от буя до того места, где катер догнал плот,  равно расстоянию пройденному плотом,  то есть  Sпл  = Sк, то

О методике решения задач на относительность движения при изучении основ кинематики в 9 классе общеобразовательной школыО методике решения задач на относительность движения при изучении основ кинематики в 9 классе общеобразовательной школы                       V0 × t  =  -( V1  - V0 ) × t1 + (V0  +  V1) × (t – t1)

                       V0 × t = -- V1× t1 + V0 × t1 + V0 × t + V1 × t – V0  × t1  -  V1× t1

                       V1× t = 2 V1× t1    

                       t = 2 t1

                      О методике решения задач на относительность движения при изучении основ кинематики в 9 классе общеобразовательной школы         О методике решения задач на относительность движения при изучении основ кинематики в 9 классе общеобразовательной школы

Ответ: скорость течения реки  0,55 м/с.

Задача  №  5

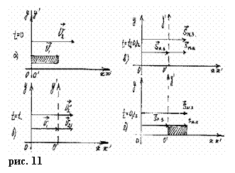
Автоколонна длиной 2 км движется со скоростью 40 км/ч. Мотоциклист выехал из хвоста колонны со скоростью 60 км/ч. За какое время он достигнет головной машины ? Какой путь за это время пройдет мотоциклист относительно Земли ?

О методике решения задач на относительность движения при изучении основ кинематики в 9 классе общеобразовательной школыДано:

l = 2 км.                     Примем за НСО  землю,

           V1 = 40км/ч                 за ПСО – колонну, движущееся тело – мотоциклиста.

          V2  = 60 км/ч                Время, за которое мотоциклист догонит головную

t` - ? Sм.з. - ?               машину О методике решения задач на относительность движения при изучении основ кинематики в 9 классе общеобразовательной школы, где V2 1 – скорость  мотоциклиста

относительно ПСО (колонны)..

           2. Закон сложения скоростей для данной задачи запишем в                                                 виде:  V2 = V1 + V2 1. Скорость мотоциклиста относительно НСО равна геометрической сумме скорости колонны и скорости мотоциклиста относительно колонны.

О методике решения задач на относительность движения при изучении основ кинематики в 9 классе общеобразовательной школы3. Отразим на рисунке – чертеже процесс, описанный в условии задачи.

 Обозначим колонну прямоугольником, и совместим её конец (начало ПСО) с началом НСО в начальный момент времени  (t = 0). 

Укажем скорости V1 и V2 (рис. а).

4. Отразим геометрически закон сложения скоростей, выяснив, что произойдет через 1 час.

5. Сравним чертеж и формулу закона. Убедимся, что V2 = V1 + V2 1 соответствует геометрическому чертежу (рис. б).

6. Найдем проекции скоростей и вычислим время t` .

V2 = V1 + V2 1

V2 1 = V2 - V 1

О методике решения задач на относительность движения при изучении основ кинематики в 9 классе общеобразовательной школы

Определить путь можно алгебраически по известной формуле ( S.=V× t) и проиллюстрировать чертежом (рис. в, г ) при t = t1=0,1 ч.

По закону сложения перемещений Sм.з = Sк.з. + Sм.к

где Sм.з – перемещение мотоциклиста за 0,1 часа относительно Земли

Sм.к. -  перемещение мотоциклиста за 0,1 часа относительно колонны,

Sк.з. – перемещение колонны за 0,1 часа относительно Земли.

Произведя вычисления  Sм.з = 6 км.

Ответ: через 0,1 часа мотоциклист достигнет головной машины колонны, при этом пройдет путь 6 км.

Задача № 6 

Эскалатор метро поднимает неподвижно стоящего на нем пассажира в течение 1 мин. По неподвижному эскалатору пассажир поднимается за 3 мин. Сколько времени будет подниматься идущий вверх пассажир по движущемуся эскалатору ?

О методике решения задач на относительность движения при изучении основ кинематики в 9 классе общеобразовательной школыДано:

        tэ.з. = 1 мин. =60 с.         Примем за НСО – Землю, за ПСО – эскалатор,

        tч.э. = 3 мин. = 180 с       движущееся тело – человек.

        tч.з. – ?                             tэ.з. – время движения эскалатора относительно НСО,

                                           tч.э. – время движения пассажира относительно ПСО,

                                              tч.з. – время движения пассажира относительно НСО.

2. Запишем закон сложения скоростей  Vч.з. = Vэ.з.. + Vч.э..  Скорость человека относительно НСО (идущего вверх по движущемуся эскалатору) равна геометрической сумме скорости эскалатора относительно НСО и скорости человека относительно ПСО ( неподвижному эскалатору).

О методике решения задач на относительность движения при изучении основ кинематики в 9 классе общеобразовательной школыО методике решения задач на относительность движения при изучении основ кинематики в 9 классе общеобразовательной школы3.

4.                   

 5.  Vч.з. = Vэ.з.. + Vч.э.        

                 Vч.з. = Vэ.з.. + Vч.э.

 О методике решения задач на относительность движения при изучении основ кинематики в 9 классе общеобразовательной школы - скорость движения человека относительно эскалатора,    О методике решения задач на относительность движения при изучении основ кинематики в 9 классе общеобразовательной школы - скорость движения эскалатора относительно Земли, О методике решения задач на относительность движения при изучении основ кинематики в 9 классе общеобразовательной школы - скорость движения человека относительно Земли. Подставив в полученную формулу,  получим:

                                   О методике решения задач на относительность движения при изучении основ кинематики в 9 классе общеобразовательной школы

Так как путь, пройденный человеком один и тот же, то

О методике решения задач на относительность движения при изучении основ кинематики в 9 классе общеобразовательной школы,      О методике решения задач на относительность движения при изучении основ кинематики в 9 классе общеобразовательной школы,     О методике решения задач на относительность движения при изучении основ кинематики в 9 классе общеобразовательной школы

        Ответ: пассажир идущий вверх по движущемуся эскалатору поднимется за 45 с.

Примерные вопросы к учащимся (студентам) по анализу и решению задач на относительность можно сформулировать следующим образом.

Движение каких тел рассматривается в задаче ?

Что известно о движущихся телах ?

С какими телами можно связать подвижную и неподвижную системы отсчета ?

Какой момент времени можно принять за начальный ?

Как на чертеже отразить начальные условия состояния тел ?

Как записать закон сложения скоростей (или перемещений) для данной задачи ?

В какой точке чертежа (графика) будет находится начало отсчета подвижной системы относительно неподвижной через единицу времени (если речь идет о скоростях движения) ?

Как это отразить на чертеже ?

В какой точке чертежа будет находится движущееся тело относительно НСО и ПСО ?

Как геометрически отразить процесс перемещения тел за единицу времени?

Сравните геометрический чертеж с законом сложения скоростей ? Сделайте вывод.

Найдите проекции скоростей, проведите вычисления искомой величины.

При необходимости можно напомнить основные формулы перемещения и координатный метод решения задач.

Данная статья является исходным моментом для разработки методики решения задач на относительность движения. Дальнейшее её развитие возможно на пути рассмотрения движения тел относительно разных систем отсчета.

Материал статьи может быть использован студентами физмат факультетов и учителями физики базовой школы.


© 2012 Рефераты, курсовые и дипломные работы.