рефераты
Главная

Рефераты по рекламе

Рефераты по физике

Рефераты по философии

Рефераты по финансам

Рефераты по химии

Рефераты по хозяйственному праву

Рефераты по цифровым устройствам

Рефераты по экологическому праву

Рефераты по экономико-математическому моделированию

Рефераты по экономической географии

Рефераты по экономической теории

Рефераты по этике

Рефераты по юриспруденции

Рефераты по языковедению

Рефераты по юридическим наукам

Рефераты по истории

Рефераты по компьютерным наукам

Рефераты по медицинским наукам

Рефераты по финансовым наукам

Рефераты по управленческим наукам

Психология и педагогика

Промышленность производство

Биология и химия

Языкознание филология

Издательское дело и полиграфия

Рефераты по краеведению и этнографии

Рефераты по религии и мифологии

Рефераты по медицине

Рефераты по сексологии

Рефераты по информатике программированию

Краткое содержание произведений

Реферат: Усилитель модулятора системы записи компакт-дисков

Реферат: Усилитель модулятора системы записи компакт-дисков

Министерство образования

Российской Федерации


ТОМСКИЙ УНИВЕРСИТЕТ СИСТЕМ

УПРАВЛЕНИЯ И РАДИОЭЛЕКТРОНИКИ

(ТУСУР)


Кафедра радиоэлектроники и защиты информации (РЗИ)


Усилитель модулятора системы записи

компакт-дисков.


Пояснительная записка к курсовому проекту

по дисциплине:

«Схемотехника аналоговых электронных устройств»


Выполнил

студент гр.149-3

________ Радишевский Е.В.

Проверил

преподаватель каф. РЗИ

________ Титов А.А.


2002

РЕФЕРАТ


Курсовая работа 36с., 12 рис., 1 табл., 10 источников, 1 приложение.

УСИЛИТЕЛЬНЫЙ КАСКАД, ТРАНЗИСТОР, КОЭФФИЦИЕНТ ПЕРЕДАЧИ, ЧАСТОТНЫЕ ИСКАЖЕНИЯ, ДИАПАЗОН ЧАСТОТ, НАПРЯЖЕНИЕ, МОЩНОСТЬ, ТЕРМОСТАБИЛИЗАЦИЯ, КОРРЕКТИРУЮЩАЯ ЦЕПЬ, ОДНОНАПРАВЛЕННАЯ МОДЕЛЬ.

Объектом исследования в данной курсовой работе являются методы расчета усилительных каскадов на основе транзисторов.

Цель работы - приобрести практические навыки в расчете усилительных каскадов на примере решения конкретной задачи.

В процессе работы производился расчет различных элементов широкополосного усилителя.

Пояснительная записка выполнена в текстовом редакторе Microsoft Word ХР.


Содержание


1.Введение…………………………………………………………..4

2.Техническое задание……………………………………………..7

3.Расчётная часть…………………………………………………...8

3.1 Структурная схема усилителя………………………………8

3.2 Распределение линейных искажений в области ВЧ……….8

3.3 Расчёт выходного каскада ………………………………….8

3.3.1 Выбор рабочей точки……………………………...8

3.3.2 Выбор транзистора………………………………..12

3.3.3 Расчёт эквивалентной схемы транзистора………13

3.3.4 Расчёт полосы пропускания………………………16

3.3.5 Расчёт цепей термостабилизации………………...17

3.4 Расчёт промежуточного каскада

по постоянному току.………………………………………..23

3.4.1 Выбор рабочей точки……………………………...23

3.4.2 Выбор транзистора………………………………...23

3.4.3 Расчет промежуточного каскада………………….24

3.4.4 Расчет полосы пропускания………………………25

3.4.5 Расчёт цепей термостабилизации.………………..26

3.5 Расчёт входного каскада

по постоянному току.………………………………………..26

3.5.1 Выбор рабочей точки……………………………...26

3.5.2 Выбор транзистора………………………………...26

3.5.3 Расчет входного каскада…………………………..27

3.5.4 Расчет полосы пропускания………………………27

3.5.5 Расчёт цепей термостабилизации.………………..29

3.6 Расчёт разделительных и блокировочных ёмкостей………………………………………………………30

4 Заключение…………………………………………….………….32

Список использованных источников……………………………...33

Приложение А………………………………………………………33

Схема принципиальная……………………………………………..34

РТФ КП.468740.001 ПЗ. Перечень элементов………………… 35,36


1.Введение


Целью данной работы являлось проектирование усилителя модулятора системы записи компакт дисков [1] (усилителя модулятора лазерного излучения [2]). Данный усилитель является важным компонентом дефлектора или другими словами устройства предназначенного для управления светового пучка, в данном случае лазерного излучения [3],[4]. Работа дефлектора целесообразна при условии возникновения угла Брэга и основана на явлении дифракции света на звуке. Через звукопровод изготовленный из кристалла парателлурита, в котором при помощи пьезо преобразователя возбуждается звуковая волна образующая внутри данного кристалла бегущую дифракционную решетку. Проходящий луч дифрагирует на этой решетке, то есть отклоняется от первоначального направления на угол пропорционально частоте звука. При этом его интенсивность оказывается пропорциональна мощности звуковых колебаний. Пьезо элемент играет роль переходника, между кристаллом и усилителем мощности в работе дефлектора и представляет собой пьезоэлектрик преобразующий колебания электрического сигнала в колебания звукового сигнала. Данный преобразователь характеризуется импедансом или другими словами комплексным сопротивлением (который в нашем случае составляет ). К входу данного преобразователя подключается разработанный усилитель. Дефлектор используется для сканирования лазерного пучка в одной плоскости, но при параллельном включении двух дефлекторов, возможно управление световым пучком и в двух мерном пространстве. В результате высокой монохроматичности, лазерное излучение имеет низкий уровень расходимости, что позволяет добиться хорошей фокусировки на больших расстояниях. Данное явление за счет своей зрелищности находит широкое применение при проведении тожеств, приемах, в рекламных компаниях и в предвыборных гонках. Имея так же большую точность, то есть возможность добиться при использовании дефлектора очень незначительных отклонений светового пучка от заданной точки, данный прибор может применяться в микрохирургии и изготовлении сверхсложных печатей, штампов, документов и ценных бумаг.

На примере можем рассмотреть принцип работы дисковода CD-ROM и осуществление записи на компакт-диск [5].

Обычный процесс изготовления компакт-диска состоит из нескольких этапов. Как правило, они включают в себя следующие операции: подготовку информации для записи на мастер-диск (первый образец), изготовление самого мастер-диска и матриц (негатив мастер-диска), тиражирование компакт-дисков. Закодированная информация наносится на мастер-диск лазерным лучом, который создает на его поверхности микроскопические впадины, разделяемые плоскими участками. Цифровая информация представляется здесь чередованием впадин (неотражающих пятен) и отражающих свет островков. Копии негатива мастер-диска (матрицы) используются для прессования самих компакт-дисков. Отметим, что сформированные лазерным лучом впадины очень малы по размеру. Примерно 30-40 впадин соответствуют толщине человеческого волоса, а это примерно 50 мкм.

В приводе компакт-дисков можно выделить несколько базовых элементов: лазерный диод, сервомотор, оптическую систему (включающую в себя расщепляющую призму) и фотодетектор.

Итак, считывание информации с компакт-диска, так же как и запись, происходит при помощи лазерного луча, но, разумеется, меньшей мощности. Сервомотор по команде от внутреннего микропроцессора привода перемещает отражающее зеркало. Это позволяет точно позиционировать лазерный луч на конкретную дорожку. Такой луч, попадая на отражающий свет островок, через расщепляющую линзу отклоняется на фотодетектор, который интерпретирует это как двоичную единицу. Луч лазера, попадающий во впадину, рассеивается и поглощается - фотодетектор фиксирует двоичный ноль. В качестве отражающей поверхности компакт-дисков обычно используется алюминий. Разумеется, вся поверхность компакт-диска покрыта прозрачным защитным слоем.

В отличие, например, от винчестеров, дорожки которых представляют концентрические окружности, компакт-диск имеет всего одну физическую дорожку в форме непрерывной спирали, идущей от наружного диаметра диска к внутреннему. Тем не менее, одна физическая дорожка может быть разбита на несколько логических.

В то время как все магнитные диски вращаются с постоянным числом оборотов в минуту, то есть с неизменной угловой скоростью (CAV, Constant Angular Velocity), компакт-диск вращается обычно с переменной угловой скоростью, чтобы обеспечить постоянную линейную скорость при чтении (CLV, Constant Linear Velocity). Таким образом, чтение внутренних сторов осуществляется с увеличенным, а наружных - с уменьшенным числом оборотов.Именно этим обуславливается достаточно низкая скорость доступа к данным для компакт-дисков по сравнению, например, с винчестерами.

Теперь перейдем непосредственно к принципиальной схеме.

Из-за большой нагрузочной емкости происходит заметный спад амплитудно-частотной характеристики в области высоких частот. В результате чего появляется основная проблема при проектировании данного усилителя заключающаяся в том, чтобы обеспечить требуемый коэффициент усиления в заданной полосе частот.

Наибольшей широкополосностью, при работе на ёмкостную нагрузку, обладает усилительный каскад с параллельной отрицательной обратной связью по напряжению [6]. Он и был выбран в качестве выходного каскада разработанного широкополосного усилителя мощности. Так же по сравнению с обыкновенным резистивным каскадом выбранный вариант более экономичный. Для компенсации завала АЧХ в области верхних частот при применении резистивного каскада пришлось бы ставить в цепи коллектора очень малое сопротивление порядка 6 Ом, для уменьшения общего выходного сопротивления каскада, что естественно привело бы к увеличению тока в цепи коллектора и рассеиваемой мощности, а соответственно и к выбору более дорогого по всем параметрам транзистора. Для выходного, каскада была использована эмиттерная термостабилизация [7]. В результате предложенного решения на первом каскаде, добились усиления в 6 дБ с искажениями составляющие 1дБ. В качестве промежуточного и входного использованы каскады с комбинированной обратной связью [6], обладающие активным и постоянным в полосе пропускания выходным сопротивлением. Эти каскады реализованы на транзисторах 2T996А. Для обеспечения требуемой температурной стабилизации вполне подошла эмиттерная стабилизация. В результате на втором каскаде, добились усиления 18 дБ, и на третьем также 18 дБ.

Для уменьшения потребляемой мощности и увеличения КПД с 1,4 до 28 процентов, в цепи коллектора сопротивление заменяем дросселем сопротивление которого в рабочем диапазоне частот много больше, чем общее сопротивление нагрузки.

В результате предложенного решения общий коэффициент усиления составил 42 дБ.


2. Техническое задание


Усилитель должен отвечать следующим требованиям:

  1. Рабочая полоса частот: 1-100 МГц.

  2. Линейные искажения

в области нижних частот не более 3 дБ,

в области верхних частот не более 3 дБ.

  1. Коэффициент усиления 30 дБ.

  2. Амплитуда выходного напряжения Uвых=4 В.

  3. Диапазон рабочих температур: от +10 до +60 С0.

  4. Сопротивление источника сигнала Rг=50 Ом.

  5. Сопротивления нагрузки Rн=1000 Ом.

  6. Емкость нагрузки Сн=40 пФ.


3. Расчётная часть


3.1 Структурная схема усилителя.

Для обеспечения заданного коэффициента усиления равного 30 дБ при коэффициенте усиления транзистора около 10дБ, примем число каскадов усилителя равное 3.

Структурная схема, представленная на рисунке 3.1, содержит кроме усилительных каскадов цепи отрицательной обратной связи, источник сигнала и нагрузку.



3.2 Распределение линейных искажений в области ВЧ


Расчёт усилителя будем проводить исходя из того, что искажения [7] распределены между каскадами равномерно, а так как всего три каскада и общая неравномерность должна быть не больше 3 дБ, то на каждый каскад приходится по 1 дБ.


    1. Расчёт выходного каскада


3.3.1 Выбор рабочей точки


Как отмечалось выше в качестве выходного каскада будем использовать каскад с параллельной отрицательной обратной связью по напряжению обладающий наибольшей широкополосностью, при работе на ёмкостную нагрузку.

Рассчитаем рабочую точку двумя способами:

1.При использовании дросселя в цепи коллектора.

2.При использовании активного сопротивления Rк в цепи коллектора.


1.Расчет рабочей точки при использовании при использовании дросселя в цепи коллектора.




Сопротивление обратной связи Rос находим исходя из запланированного на выходной каскад коэффициента усиления, сопротивления генератора или другими словами выходного сопротивления предыдущего каскада и рассчитываем по следующей формуле [6]:

, . (3.3.1)

Координаты рабочей точки можно приближённо рассчитать по следующим формулам [7]:

, (3.3.2)

где , (3.3.3)

, (3.3.4)

, (3.3.5)

где – начальное напряжение нелинейного участка выходных

характеристик транзистора, .

, (3.3.6)

, (3.3.7)

. (3.3.8)

Рассчитывая по формулам 3.3.2 и 3.3.5, получаем следующие координаты рабочей точки:

,

,

,

,

.

Найдём потребляемую мощность и мощность рассеиваемую на коллекторе

,

, , , тогда

Выбранное сопротивление Rос обеспечивает заданный диапазон частот.

Произведём построение нагрузочных прямых для дроссельного каскада: Еп = 6,5(В), Uкэ0 = 6,5(В), Iк0 = 0,121(А), , где , , Uк найдём по формуле: , а .




2. Расчет рабочей точки при использовании активного сопротивления Rk в цепи коллектора.


Выберем Rк=Rн =1000 (Ом).

Координаты рабочей точки можно приближённо рассчитать по следующим формулам [7]:

, (3.3.9)

, (3.3.10)

. (3.3.11)

Рассчитывая по формулам 3.3.9 и 3.3.10, получаем следующие значения:

,

,

,

,

,

, где .

Найдём потребляемую мощность и мощность рассеиваемую на коллекторе по формулам (3.3.7) и (3.3.8) соответственно:

, , , где , .

Результаты выбора рабочей точки двумя способами приведены в таблице 3.1.

Таблица 3.1.


Eп, (В)

Iко, (А)

Uко, (В)

Pрасс.,(Вт)

Pпотр.,(Вт)

С Rк

129,043 0,123 6,5 0,797 15,813

С Lк

6,5 0,121 6,5 0,785 0,785

Из таблицы 3.1 видно, что для данного курсового задания целесообразно использовать дроссель в цепи коллектора.

Произведём построение нагрузочных прямых для резистивного каскада: Еп = 129,043(В), Uкэ0 = 6,5(В), Iк0 = 0,123(А), , где , , Uк найдём по формуле: , а .



3.3.2 Выбор транзистора


Выбор транзистора осуществляется с учётом следующих предельных параметров:

  1. Граничной частоты усиления транзистора по току в схеме с ОЭ

;

  1. Предельно допустимого напряжения коллектор-эмиттер

;

  1. Предельно допустимого тока коллектора

;

  1. Предельной мощности, рассеиваемой на коллекторе

.

Этим требованиям полностью соответствует транзистор КТ 610 А . Его основные технические характеристики приведены ниже.


Электрические параметры:

  1. Граничная частота коэффициента передачи тока в схеме с ОЭ МГц;

  2. Постоянная времени цепи обратной связи пс;

  3. Статический коэффициент передачи тока в схеме с ОЭ ;

  4. Ёмкость коллекторного перехода при В пФ;

  5. Индуктивность вывода базы нГн;

  6. Индуктивность вывода эмиттера нГн.

Предельные эксплуатационные данные:

  1. Постоянное напряжение коллектор-эмиттер В;

  2. Постоянный ток коллектора мА;

  3. Постоянная рассеиваемая мощность коллектора Вт;

  4. Температура перехода К.


3.3.3 Расчёт эквивалентной схемы транзистора


3.3.3.1 Схема Джиаколетто


Многочисленные исследования показывают, что даже на умеренно высоких частотах транзистор не является безынерционным прибором. Свойства транзистора при малом сигнале в широком диапазоне частот удобно анализировать при помощи физических эквивалентных схем. Наиболее полные из них строятся на базе длинных линий и включают в себя ряд элементов с сосредоточенными параметрами. Наиболее распространенная эквивалентная схема- схема Джиаколетто, которая представлена на рисунке 3.6. Подробное описание схемы можно найти [8].


Достоинство этой схемы заключается в следующем: схема Джиаколетто с достаточной для практических расчетов точностью отражает реальные свойства транзисторов на частотах f 0.5fт ; при последовательном применении этой схемы и найденных с ее помощью Y- параметров транзистора достигается наибольшее единство теории ламповых и транзисторных усилителей.

Рис. 3.6 Схема Джиаколетто.


Расчитаем элементы схемы, воспользовавшись справочными данными и приведенными ниже формулами [6].

при В

Справочные данные для транзистора КТ610А:

Ск=4∙10-12(Ф) при Uкэ=10(В) , τс=20∙10-12(с) при Uкэ=10(В) , fт=1∙109(Гц),

Iкmax=0,3∙(А), Uкэmax=26(В), где Cк- емкость коллекторного перехода, с- постоянная времени обратной связи, Н21э=о- статический коэффициент передачи тока в схеме с ОЭ.

Найдем значение емкости коллектора при Uкэ=10В по формуле :

(3.3.12)

где Uкэосправочное или паспортное значение напряжения;

Uкэо – требуемое значение напряжения.

.

Сопротивление базы рассчитаем по формуле:

, . (3.3.13)

Используя формулу (3.3.12), найдем значение коллекторной емкости в рабочей точке :

Статический коэффициент передачи тока в схеме с ОБ найдем по формуле:

, (3.3.14)

Найдем ток эмиттера по формуле:

, (3.3.15)

.

Найдем сопротивление эмиттера по формуле:

(3.3.16)

где Iэо – ток в рабочей точке, занесенный в формулу в мА.

.

Проводимость база-эмиттер расчитаем по формуле:

, (3.3.17)

.

Определим диффузионную емкость по формуле:

, (3.3.18)

.

Крутизну транзистора определим по формуле:


, (3.3.19)

.

3.3.3.2 Однонаправленная модель


Поскольку рабочие частоты усилителя заметно больше частоты , то из эквивалентной схемы можно исключить входную ёмкость, так как она не влияет на характер входного сопротивления транзистора. Индуктивность же выводов транзистора напротив оказывает существенное влияние и потому должна быть включена в модель. Эквивалентная высокочастотная модель представлена на рисунке 3.7. Описание такой модели можно найти в [6].

Рис. 3.7 Однонаправленная модель.


Параметры эквивалентной схемы рассчитываются по приведённым ниже формулам [6].

Входная индуктивность:

, (3.3.20)

где –индуктивности выводов базы и эмиттера.

Входное сопротивление:

, (3.3.21)

где , причём , где

и – справочные данные.

Крутизна транзистора:

, (3.3.22)

где , , .

Выходное сопротивление:

. (3.3.23)

Выходная ёмкость:

. (3.3.24)

В соответствие с этими формулами получаем следующие значения элементов эквивалентной схемы:

,

,

,

,

,

,

.


3.3.4 Расчет полосы пропускания.


Проверим обеспечит ли выбранное сопротивлении обратной связи Rос, расчитанное в пункте 3.3.1, на нужной полосе частот требуемый коэффициент усиления, для этого воспользуемся следующими формулами[6]:

(3.3.25)

(3.3.26)

Найдем значение емкости коллектора при Uкэ=10В по формуле (3.3.12):

.

Найдем сопротивление базы по формуле (3.3.13):

.

Статический коэффициент передачи тока в схеме с ОБ найдем по формуле (3.3.14):

.

Найдем ток эмиттера по формуле (3.3.15):

.

Найдем сопротивление эмиттера по формуле (3.3.16):

.

Определим диффузионную емкость по формуле (3.3.18):

,

, (3.3.27)

, (3.3.28)

где Yн – искажения, дБ,

(3.3.29)

.

Выбранное сопротивление Rос обеспечивает заданный диапазон частот.


3.3.5 Расчёт цепей термостабилизации


Существует несколько вариантов схем термостабилизации. Их использование зависит от мощности каскада и от того, насколько жёсткие требования к термостабильности. В данной работе рассмотрены три схемы термостабилизации: пассивная коллекторная, активная коллекторная и эмиттерная [7].


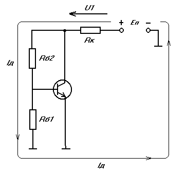
3.3.5.1 Пассивная коллекторная термостабилизация.


Данный вид термостабилизации (схема представлена на рисунке 3.8) используется на малых мощностях и менее эффективен, чем две другие, потому что напряжение отрицательной обратной связи, регулирующее ток через транзистор подаётся на базу через базовый делитель.


Рис. 3.8 Пассивная коллекторая термостабилизация.


Расчёт, подробно описанный в [8], заключается в следующем: выбираем напряжение (в данном случае 6,5В) и ток делителя (в данном случае , где – ток базы), затем находим элементы схемы по формулам:

; (3.3.30)

, (3.3.31)

где – напряжение на переходе база-эмиттер равное 0.7 В;

. (3.3.32)

Получим следующие значения:

,

,

.


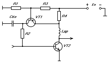
3.3.5.2 Активная коллекторная термостабилизация.


Активная коллекторная термостабилизация используется в мощных каскадах и является очень эффективной, её схема представлена на рисунке 3.9. Её описание и расчёт можно найти в [6].


Рис. 3.9 . Активная коллекторная термостабилизация.


В качестве VT1 возьмём КТ361А. Выбираем падение напряжения на резисторе из условия (пусть ), затем производим следующий расчёт:

; (3.3.33)

; (3.3.34)

; (3.3.35)

; (3.3.36)

, (3.3.37)

где – статический коэффициент передачи тока в схеме с ОБ транзистора КТ361А;

; (3.3.38)

; (3.3.39)

. (3.3.40)


Получаем следующие значения:

,

,

,

,

,

,

,

.

Величина индуктивности дросселя выбирается таким образом, чтобы переменная составляющая тока не заземлялась через источник питания, а величина блокировочной ёмкости – таким образом, чтобы коллектор транзистора VT1 по переменному току был заземлён.


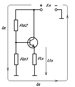
3.3.5.3 Эмиттерная термостабилизация.


Для выходного каскада выбрана эмиттерная термостабилизация, схема которой приведена на рисунке 3.10. Метод расчёта и анализа эмиттерной термостабилизации подробно описан в [8].

Рис. 3.10 Эмиттерная термостабилизация.


Расчёт производится по следующей схеме:

1.Выбираются напряжение эмиттера и ток делителя (см. рис. 3.4), а также напряжение питания ;

2. Затем рассчитываются .

3. Производится поверка – будет ли схема термостабильна при выбранных значениях и . Если нет, то вновь осуществляется подбор и .

В данной работе схема является термостабильной при и . Учитывая то, что в коллекторной цепи отсутствует резистор, то напряжение питания рассчитывается по формуле . Расчёт величин резисторов производится по следующим формулам:

; (3.3.41)

; (3.3.42)

. (3.3.43)

Для того, чтобы выяснить будет ли схема термостабильной производится расчёт приведённых ниже величин.

Тепловое сопротивление переход – окружающая среда:

, (3.3.44)

где , – справочные данные;

– нормальная температура.

Температура перехода:

, (3.3.45)

где – температура окружающей среды (в данном случае взята максимальная рабочая температура усилителя);

– мощность, рассеиваемая на коллекторе.

Неуправляемый ток коллекторного перехода:

, (3.3.46)

где –отклонение температуры транзистора от нормальной;

лежит в пределах ;

– коэффициент, равный 0.063ч0.091 для германия и 0.083ч0.120 для кремния.

Параметры транзистора с учётом изменения температуры:

, (3.3.47)

где равно 2.2(мВ/градус Цельсия) для германия и

3(мВ/градус Цельсия) для кремния.

, (3.3.48)

где (1/ градус Цельсия).

Определим полный постоянный ток коллектора при изменении температуры:

, 3.3.49)

. (3.3.50)


Для того чтобы схема была термостабильна необходимо выполнение условия:

,

где . (3.3.51)

Рассчитывая по приведённым выше формулам, получим следующие значения:

,

,

,

,

,

,

,

,

,

,

..


3.4 Расчёт промежуточного каскада по постоянному току.


3.4.1 Выбор рабочей точки


При расчёте требуемого режима транзистора промежуточного каскада по постоянному току, координаты рабочей точки выберем следующие: , где примем , а . Мощность, рассеиваемая на коллекторе .


3.4.2 Выбор транзистора


Выбор транзистора осуществляется в соответствии с требованиями, приведенными в пункте 3.3.2. Этим требованиям отвечает транзистор 2Т996А. Его основные технические характеристики приведены ниже.

Электрические параметры:

  1. Граничная частота коэффициента передачи тока в схеме с ОЭ ГГц;

  2. Постоянная времени цепи обратной связи пс;

  3. Статический коэффициент передачи тока в схеме с ОЭ ;

  4. Ёмкость коллекторного перехода при В пФ;

  5. Индуктивность вывода базы нГн;

  6. Индуктивность вывода эмиттера нГн.


Предельные эксплуатационные данные:

  1. Постоянное напряжение коллектор-эмиттер В;

  2. Постоянный ток коллектора мА;

  3. Постоянная рассеиваемая мощность коллектора

Вт;

  1. Температура перехода К.


3.4.3 Расчет промежуточного каскада.


Как уже отмечалось в качестве промежуточного каскада будем использовать каскад с комбинированной отрицательной обратной связью состоящую из и .


Достоинством схемы является то, что при условиях и , (3.4.1)

схема оказывается согласованной по входу и выходу с КСВН не более 1,3 в диапазоне частот, где выполняется условие 0,7. Поэтому практически отсутствует взаимное влияние каскадов друг на друга при их каскадировании [6].

При выполнении условия (3.4.1), коэффициент усиления каскада в области верхних частот описывается выражением:

, (3.4.2)

где , (3.4.3)

, (3.4.4)

. (3.4.5)

Из (3.4.1), (3.4.3) не трудно получить, что при заданном значении

. (3.4.6)

При заданном значении , каскада равна:

, (3.4.7)

где .

3.4.4 Расчёт полосы пропускания.

Расчёт производится по формулам, приведённым в пункте 3.3.3.1.

Проверим добьемся ли нужной полосы частот при выбранном сопротивлении Rос, для этого воспользуемся следующими формулами [6] (3.4.3), (3.4.4), (3.4.5), (3.4.7).

Используя формулы (3.3.18) и (3.3.19) найдем коэффициент N:

, , где

Используя формулы (3.3.12), (3.3.13), (3.3.14), (3.3.15), (3.3.16), (3.3.18), и характеристики транзистора приведенной в пункте 3.4.2, убедимся в том, что выбранное сопротивление обратной связи обеспечит на нужной полосе частот требуемый коэффициент усиления:

,

, ,

, ,

,

,

, , .

Выбранное сопротивление Rос обеспечивает на заданном диапазоне частот коэффициент усиления равный 18дБ.


3.4.4 Расчёт цепи термостабилизации


Для промежуточного каскада также выбрана эмиттерная термостабилизация, схема которой приведена на рисунке 3.10.

Метод расчёта схемы идентичен приведённому в пункте 3.3.4.3. Эта схема термостабильна при и . Напряжение питания рассчитывается по формуле .

Рассчитывая по формулам 3.3.28–3.3.38 получим:

,

,

,

Рассеиваемую мощность на вычислим следующим образом: , тогда .


3.5 Расчёт входного каскада по постоянному току.


3.5.1 Выбор рабочей точки


При расчёте требуемого режима транзистора входного каскада по постоянному току, координаты рабочей точки выберем следующие: , а . Мощность, рассеиваемая на коллекторе .


3.5.2 Выбор транзистора


Выбор транзистора осуществляется в соответствии с требованиями, приведенными в пункте 3.3.2. Этим требованиям отвечает транзистор 2Т996А. Его основные технические характеристики приведены ниже.


Электрические параметры:

1.Граничная частота коэффициента передачи тока в схеме с ОЭ ГГц;

2.Постоянная времени цепи обратной связи пс;

3.Статический коэффициент передачи тока в схеме с ОЭ ;

4.Ёмкость коллекторного перехода при В пФ;

5.Индуктивность вывода базы нГн;

6.Индуктивность вывода эмиттера нГн.


Предельные эксплуатационные данные:

1. Постоянное напряжение коллектор-эмиттер В;

2. Постоянный ток коллектора мА;

3. Постоянная рассеиваемая мощность коллектора

Вт;

4. Температура перехода К.


3.5.3 Расчет входного каскада.


Как уже отмечалось в качестве входного каскада будем использовать каскад с комбинированной отрицательной обратной связью состоящую из и .


Рис. 3.12 Каскад с комбинированной отрицательной

обратной связью.



Достоинством схемы является то, что при условиях и , (3.5.1)

схема оказывается согласованной по входу и выходу с КСВН не более 1,3 в диапазоне частот, где выполняется условие 0,7. Поэтому практически отсутствует взаимное влияние каскадов друг на друга при их каскадировании [6].

При выполнении условия (3.5.1), коэффициент усиления каскада в области верхних частот описывается выражением:

, (3.5.2)

где , (3.5.3)

, (3.5.4)

. (3.5.5)

Из (3.4.1), (3.4.3) не трудно получить, что при заданном значении

. (3.5.6)

При заданном значении , каскада равна:

, (3.5.7)

где .

3.5.4 Расчёт полосы пропускания.

Расчёт производится по формулам, приведённым в пункте 3.3.3.1.

Проверим добьемся ли нужной полосы частот при выбранном сопротивлении Rос, для этого воспользуемся следующими формулами [6] (3.5.3), (3.5.4), (3.5.5), (3.5.7).

Используя формулы (3.3.18) и (3.3.19) найдем коэффициент N:

, , где

Используя формулы (3.3.12), (3.3.13), (3.3.14), (3.3.15), (3.3.16), (3.3.18), и характеристики транзистора приведенной в пункте 3.4.2, убедимся в том, что выбранное сопротивление обратной связи обеспечит на нужной полосе частот требуемый коэффициент усиления:

,

, ,

, ,

,

,

, , .

Выбранное сопротивление Rос обеспечивает на заданном диапазоне частот коэффициент усиления равный 18дБ.


3.5.5 Расчёт цепи термостабилизации


Для входного каскада также выбрана эмиттерная термостабилизация, схема которой приведена на рисунке 3.10.

Метод расчёта схемы идентичен приведённому в пункте 3.3.4.3. Эта схема термостабильна при и . Напряжение питания рассчитывается по формуле .

Рассчитывая по формулам 3.3.28–3.3.38 получим:

,

,

,

Рассеиваемую мощность на вычислим следующим образом: , тогда .

Общий коэффициент усиления составил: .

3.6 Расчёт разделительных и блокировочных ёмкостей


Рассчитаем номиналы элементов. Расчёт производится в соответствии с методикой описанной в [7].


Для расчета емкостей обратной связи Сос1, Cос2, и Сос3 воспользуемся следующим соотношением:

, (3.6.1)

,

,

.

Для расчета емкостей Сэ1, Cэ2, Сэ3 воспользуемся следующим соотношением:

, (3.6.2)

,


,

.

Дроссель в коллекторной цепи ставится для того, чтобы выход транзистора по переменному току не был заземлен. Его величина выбирается исходя из условия:

. (3.6.3)

, , .

Так как ёмкости, стоящие в эмиттерных цепях, а также разделительные ёмкости вносят искажения в области нижних частот, то их расчёт следует производить, руководствуясь допустимым коэффициентом частотных искажений. В данной работе этот коэффициент составляет 3дБ. Всего ёмкостей четыре, поэтому можно распределить на каждую из них по 0,75дБ.

Величину разделительного конденсатора найдём по формуле:

, (3.6.4)

где – допустимые частотные искажения.

R1– сопротивление предыдущего каскада.

R2– сопротивление нагрузки.

,

,

,

.


Так же в усилителе имеется Сф, его роль не пропустить переменную составляющую на источник питания. Расчет производится аналогично блокировочным емкостям, разница лишь в том что в формуле (3.6.2) вместо Rэ ставится Rф. Исходя из этого, получим следующие значения:

;

.


4. Заключение


Рассчитанный усилитель имеет следующие технические характеристики:


1. Рабочая полоса частот: 1-100 МГц

2. Линейные искажения

в области нижних частот не более 3 дБ

в области верхних частот не более 3 дБ

3. Коэффициент усиления 42дБ

4. Амплитуда выходного напряжения Uвых=4 В

5. Питание однополярное, Eп=12 В

6. Диапазон рабочих температур: от +10 до +60 градусов Цельсия

Усилитель рассчитан на нагрузку Rн=1000 Ом


Литература


    1. Дьяков В. Ф. Тарасов Л. В. Оптическое когерентное излучение, М.: Советское радио, 1974.

    2. Справочник по лазерной технике. М: Энергоатомиздат, 1991.

    3. Оокоси Е. Оптоэлектроника и оптическая связь, М.: Мир, 1988.

    4. Федоров Б. Ф. Лазеры. Основы устройства и применения, М.: ДОСААФ СССР, 1988.

    5. PC Magazine Russian Edition, 1994, N6.

    6. Титов А.А. Расчет корректирующих цепей широкополосных усилительных каскадов на биполярных транзисторах – http://referat.ru/download/ref-2764.zip.

    7. Красько А.С., Проектирование усилительных устройств, методические указания – Томск : ТУСУР, 2000 – 29 с.

    8. Болтовский Ю.Г., Расчёт цепей термостабилизации электрического режима транзисторов, методические указания – Томск : ТУСУР, 1981.

    9. Титов А.А., Григорьев Д.А., Расчёт элементов высокочастотной коррекции усилительных каскадов на полевых транзисторах, учебно-методическое пособие – Томск : ТУСУР, 2000 – 27 с.

    10. Полупроводниковые приборы: транзисторы. Справочник / Под ред. Горюнов Н.Н. – 2-е изд. М.: Энергоатомиздат, 1985-903с.


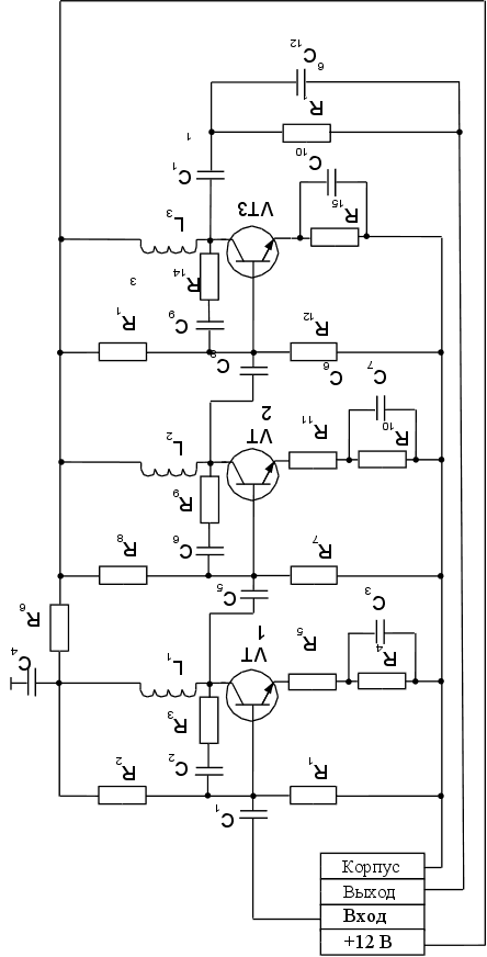
Приложение А


Принципиальная схема представлена на стр. 33.


Перечень элементов приведен на стр. 34,35.
















РТФ КП 468740.001 ПЗ













Лит

Масса

Масштаб

Изм

Лист

Nдокум.

Подп.

Дата

УСИЛИТЕЛЬ МОДУЛЯТОРА





Выпол

Радишевск



СИСТЕМЫ ЗАПИСИ






Проверил

Титов



КОМПАКТ-ДИСКОВ











Лист

Листов






ТУСУР РТФ




Принципиальная
Кафедра РЗИ




Схема

гр. 149-3


Поз.

Обозна-

Чение


Наименование


Кол.


Примечание













Транзисторы







VT1 КТ610А 1
VT2

2T996A

1
VT3

2T996А

1





Конденсаторы







С1

КД-2-6,63 нФ 5 ОЖО.460.203 ТУ

1

С2

КД-2-16 нФ 5 ОЖО.460.203 ТУ

1

С3

КД-2-38 нФ 5 ОЖО.460.203 ТУ

1

С4

КД-2-120 3,5 нФ 5 ОЖО.460.203 ТУ

1

С5

КД-2-120 3,5 нФ 5 ОЖО.460.203 ТУ

1

С6

КД-2-4,1 нФ 5 ОЖО.460.203 ТУ

1

С7

КД-2-35 нФ 5 ОЖО.460.203 ТУ

1

С8

КД-2-3,65 нФ 5 ОЖО.460.203 ТУ

1

С9

КД-2-3,5 нФ 5 ОЖО.460.203 ТУ

1

С10

КД-2-4,4 нФ 5 ОЖО.460.203 ТУ

1

С11

КД-2-331,8 пФ 5 ОЖО.460.203 ТУ

1

С12

КД-2-40 пФ 5 ОЖО.460.203 ТУ

1

Катушки индуктивности







L1

Индуктивность 0.3мкГн 5

1
L2

Индуктивность 0.3мкГн 5

1
L3

Индуктивность 7.9нГн 5

1







































РТФ КП 468740.001 ПЗ













Лит

Масса

Масштаб

Изм

Лист

Nдокум.

Подп.

Дата

УСИЛИТЕЛЬ МОДУЛЯТОРА





Выполнил

Радишевский



СИСТЕМЫ ЗАПИСИ






Провер.

Титов



КОМПАКТ-ДИСКОВ











Лист

Листов






ТУСУР РТФ




Перечень элементов
Кафедра РЗИ





гр. 149-3

Поз.

Обозна-

Чение


Наименование


Кол.


Примечание





Резисторы







R1

МЛТ – 0.125 – 2.7 кОм 10ГОСТ7113-77

1

R2

МЛТ – 0.125 – 4,45 кОм 10ГОСТ7113-77

1

R3

МЛТ – 0.125 – 0,1 кОм 10ГОСТ7113-77

1

R4

МЛТ – 0.125 – 41,3 Ом 10ГОСТ7113-77

1

R5

МЛТ – 0.125 – 5,6 Ом 10ГОСТ7113-77

1

R6

МЛТ – 0.125 – 0,17 кОм 10ГОСТ7113-77

1

R7

МЛТ – 0.125 – 0,35 кОм 10ГОСТ7113-77

1

R8

МЛТ – 0.125 – 0,6 кОм 10ГОСТ7113-77

1

R9

МЛТ – 0.125 – 0,45 кОм 10ГОСТ7113-77

1

R10

МЛТ – 0.125 – 45 Ом 10ГОСТ7113-77

1

R11

МЛТ – 0.125 – 5,6 Ом 10ГОСТ7113-77

1

R12

МЛТ – 0.125 – 0,6 кОм 10ГОСТ7113-77

1

R13

МЛТ – 0.125 – 0,6 кОм 10ГОСТ7113-77

1

R14

МЛТ – 0.125 – 0,45 кОм 10ГОСТ7113-77

1

R15

МЛТ – 0.125 – 0,36 кОм 10ГОСТ7113-77

1

R16

МЛТ – 0.125 – 1 кОм 10ГОСТ7113-77

1











































































РТФ КП 468740.001 ПЗ













Лит

Масса

Масштаб

Изм

Лист

Nдокум.

Подп.

Дата

УСИЛИТЕЛЬ МОДУЛЯТОРА





Выполнил

Радишевский



СИСТЕМЫ ЗАПИСИ






Провер.

Титов



КОМПАКТ-ДИСКОВ











Лист

Листов






ТУСУР РТФ




Перечень элементов
Кафедра РЗИ





гр. 149-3



© 2012 Рефераты, курсовые и дипломные работы.