рефераты
Главная

Рефераты по рекламе

Рефераты по физике

Рефераты по философии

Рефераты по финансам

Рефераты по химии

Рефераты по хозяйственному праву

Рефераты по цифровым устройствам

Рефераты по экологическому праву

Рефераты по экономико-математическому моделированию

Рефераты по экономической географии

Рефераты по экономической теории

Рефераты по этике

Рефераты по юриспруденции

Рефераты по языковедению

Рефераты по юридическим наукам

Рефераты по истории

Рефераты по компьютерным наукам

Рефераты по медицинским наукам

Рефераты по финансовым наукам

Рефераты по управленческим наукам

Психология и педагогика

Промышленность производство

Биология и химия

Языкознание филология

Издательское дело и полиграфия

Рефераты по краеведению и этнографии

Рефераты по религии и мифологии

Рефераты по медицине

Рефераты по сексологии

Рефераты по информатике программированию

Краткое содержание произведений

Реферат: Проектирование радиоприёмника

Реферат: Проектирование радиоприёмника

1.  ЗАДАНИЕ НА КУРСОВУЮ РАБОТУ.

     

   Необходимо рассчитать радиоприёмник супергетеродинного типа на основании данных, приведённых в таблице 1.

                                                                                                              Таблица 1.

вар

Вид

принимаемого

сигнала

Диапазон

(МГц)

Выход.

мощ-ть

(Вт)

3 ТЛГ, ОБП 14,0 – 14,35 12

Чувствительность:

 Чувствительность приёмника зависит, в первую очередь, от рабочего диапазона РПУ.

Значения чувствительности приёмника на данной частоте, приведённы в табл. 2.

                                                                                                             Таблица 2.

Чувствительность приёмника, мкВ Диапазон, м
20
В городе 2,6
В пригороде 0,54

Считается, что используется настроенная антенна с сопротивлением 75 Ом. 

Условные обозначения:

-     ТЛГ – амплитудная телеграфия с полосой 100 Гц;

-     ОБП – телефонный однополосный сигнал с подавленной несущей с полосой 3 кГц;

 

 

 

Дополнительные данные:

 

Односигнальная селективность:

Селективность РПУ по соседнему каналу представляет собой ослабление сигнала при расстройке приёмника на ± 9 кГц и составляет не менее 26 дБ.

Подавления  зеркального канала:  его необходимо ослабить для КВ по меньшей мере на  10 дБ.

Тип функциональной схемы радиоприемника:

В данной работе проектируется приемник 4 класса и строится по схеме с плавным первым гетеродином.

Полоса пропускания и коэффициент прямоугольности:

Полоса пропускания общего радиотракта приемника определяется реальной шириной спектра принимаемого сигнала  и составляет 3 кГц для телефонного однополосного сигнала с подавленной несущей и 100 Гц для амплитудной телеграфии. Коэффициент прямоугольности частотной характеристики радиотракта  лежит в пределах 1, 7 … 2, 5.

Количество преобразований:

На КВ диапазоне требуется двойное преобразование частоты.

Распределение избирательности и усиления по трактам:

Коэффициент усиления в тракте сигнальной частоты (до 1-го смесителя):

              ,       

где:  - допустимое напряжение на входе преобразователя частоты, которое можно положить равным 100…200 мВ

Еа- чувствительность приемника.

В тракте первой промежуточной частоты коэффициент усиления   берется не выше 10…20. Коэффициент усиления в тракте 2-й промежуточной частоты должен довести усиление сигнала до нормального уровня, необходимого для детектирования радиосигналов в наилучших условиях, и выбирается по формуле:

,

где:  К З =10…20 –запас усиления на случай старения элементной базы,


Величина   U дет равна нормальному значению напряжения на входе детектора и выбирается в зависимости от типа детектора. Для АМ детектора эта величина составляет 0,5…1 В (диодная схема);  0,1…0,2 В (транзисторная схема). Для однополосного детектора  0.02….0.04 В.

2. Состав и назначение элементов  РПУ.

2.1      Данное радиоприемное устройство построено по супергетеродинной схеме с двойным преобразованием частоты и имеет фильтры в тракте звуковой частоты. Эти фильтры предназначены для: ТЛГ – амплитудная телеграфия с полосой 100 Гц и ОБП – телефонный однополосный сигнал с подавленной несущей с полосой 3 кГц .

Питается данное РПУ от двухполярного источника питания, который в свою очередь питается от сети переменного напряжения 220В., 50Гц.

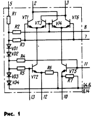
2.2       Функциональная схема РПУ.


Функциональная схема РПУ представлена на рисунке 1.

Рис.1.

В состав РПУ входит:

· Входная цепь – предназначена для выделения несущей частоты и согласования антенны с последующими каскадами схемы. Также, входная цепь обеспечивает подавление сигнала по зеркальной частоте.

· Усилитель высокой частоты – обеспечивает нужное усиление несущей для последующих преобразований.

· Смеситель и гетеродин – обеспечивают понижение частоты для последующей фильтрации, т.к. на более низких частотах добротность фильтров намного выше, чем на высоких частотах.

· Полосовой фильтр –  осуществляет избирательность по соседнему каналу.

· Усилитель промежуточной частоты и автоматическая регулировка частоты - – обеспечивает автоматическое усиление промежуточной частоты  для последующей дешифрации.

· Детектор  - выделяет полезный сигнал звуковой частоты из высокочастотного.

· Фильтр низкой частоты - предназначен для фильтрации на низких частотах (ТЛГ – амплитудная телеграфия с полосой 100 Гц и ОБП – телефонный однополосный сигнал с подавленной несущей с полосой 3 кГц ).

· Усилитель звуковой частоты – предназначен для конечного усиления звуковой частоты до значения мощности, пригодной для воспроизведения через громкоговорители.

3.Расчеты цепей РПУ.

1)   Входная цепь :

 

Частота несущей:  ;

Исходя из различных схем построения РПУ на частотах близких к 14 МГц , емкость конденсаторов в контурах входных цепей приблизительно равна 40 пФ ,  Þ  индуктивность будет равна  3,23.10-6 Гн. Селективность  по зеркальному каналу не менее - 26 дБ.

2)   УВЧ:

Коэффициент усиления в тракте сигнальной частоты (до 1-го смесителя):

                     

где:  - допустимое напряжение на входе преобразователя частоты, которое можно положить равным 100…200 мВ

Еа- чувствительность приемника, равная для города 2,6 мкВ.

Ксч »

Параметры полевого транзистора даны в приложение 1.

3)   Смеситель и гетеродин:

 

 Гетеродин и смеситель первой промежуточной частоты построены на специализированной ИМС К174ПС1. Колебательный контур подключенный к этой ИМС собран по трехточечной схеме и настроен на частоту 12 мГц. На выходе ИМС образуется первая промежуточная частота 2 мГц. Гетеродин и смеситель второй промежуточной частоты построены на транзисторе V2. Этот каскад является неперестраивавым и стабилизирован кварцевым резонатором. Частота гетеродина составляет 1,35 МГц.

В результате образуется вторая промежуточная частота равная 465 кГц.  Также  в тракте первой промежуточной частоты коэффициент усиления   равен 10…20 , за счет усиления на V2.

Параметры специализированной ИМС К174ПС1 и биполярных транзисторов V2, V3  даны в приложение 2 и 3 соответственно.

4)   Полосовой  фильтр:

 Полосовой  фильтр представляет собой конструктивно законченную систему пъезокерамических или кварцевых резонаторов связанных между собой. Что бы полосовой фильтр работал нормально нужно согласовать его вход и выход с предыдущими и последующими каскадами. У  П.Ф. низкое входное сопротивление. Низкое входное сопротивление первого фильтра согласовано с низким выходным сопротивлением первого смесителя. А вот для согласования второго П.Ф. с выхода второго смесителя сигнал промежуточной частоты цоступает на вход эмиттерного повторителя, собранного на транзисторе VT3. Он согласует высокое выходное сопротивление смесителя собранного на биполярном транзисторе с низким входным сопротивлением пьезокерамического фильтра ZQ2. Полосовые фильты определяют селективность по соседнему каналу. Селективность по соседнему каналу составляет 40 дБ.

Параметры П.Ф. даны в приложение 4.

5)   Усилитель промежуточной частоты:

 Усилитель промежуточной частоты выполнен на ИМС К157ХА2.

 Коэффициент усиления в тракте 2-й промежуточной частоты должен довести усиление сигнала до нормального уровня, необходимого для детектирования радиосигналов в наилучших условиях, и выбирается по формуле:

,

где:  К З =10…20 –запас усиления на случай старения элементной базы,


Для АМ
величина   U дет детектора   составляет 0,01…0,02 В.



Параметры ИМС К157ХА2 даны в приложение 5.

6)   ОБП и ТЛГ детектор:

Для неискаженного детектирования максимальная амплитуда однополосного или телеграфного сигнала на входе детектора должна быть порядка 20 мВ. Для детектирования ОБП с подавленной несущей, в его цепь включен третий гетеродин, настроенный на частоту второй промежуточной частоты – 465 КГц. В качестве детектора  в данном РПУ используется ИМС дифференциальный усилитель – К175УВ4.

Параметры К175УВ4 даны в приложение: 6.

7)   Фильтр низких частот:

 

ФНЧ предназначен для фильтрации на низких частотах (ТЛГ – амплитудная телеграфия с полосой 100 Гц и ОБП – телефонный однополосный сигнал с подавленной несущей с полосой 3 кГц ). Он собран на ИМС К140УД1А представляющей из себя дифференциальный усилитель. Резонансная частота полосы пропускания определяется из отношения :

;

При заданных частотах конденсаторы имеют следующие емкости:

C32 = 3.67 мкФ для f=100 Гц, и С31 =4 нФ для f=3 кГц.

 Также на этой ИМС может производится предварительное усиление сигнала. Коэффициент усиления ее равен отношению сопротивлений R21 к R18 соответственно.

Параметры ИМС К140УД1А  даны в приложение: 7.

8)   Усилитель звуковых частот предназначен для конечного усиления звуковой частоты до значения заданной мощности: Pвых=12Вт. Усилитель звуковых частот собран на микросхеме К174УН11. Питание у этой микросхемы – двухполярное. Параметры этой МС даны в приложение.

 

Параметры К174УН11даны в приложение: 8.

4. Описание работы РПУ.

Колебательный контур, выделяет радиосигнал  с частотой  14 МГц из множества радиосигналов наводимых в антенне. Этот колебательный контур имеет плавную перестройку по частоте с помощью блока переменных емкостей входящих в него. Он же производит селекцию по зеркальному каналу. Далее сигнал усиливается до нужного значения усилителем высоких частот. После усиления, сигнал попадает на смеситель, на котором происходит преобразование сигнала высокой частоты в более низкую. Так получается первая промежуточная частота. Затем сигнал попадает на  полосовой фильтр для селекции по соседнему каналу. После этого происходит еще одно подобное преобразование, после которого получается вторая промежуточная частота.  Затем она усиливается усилителем промежуточной частоты до нужного значения, усиление которого контролируется АРУ. После происходит детектирование промежуточной частоты с помощью специализированной микросхемы. Затем сигнал звуковой частоты попадает на активный фильтр собранный на операционном усилителе. Этот фильтр имеет переключатель режимов приема радиосигналов (ТЛГ – амплитудная телеграфия с полосой 100 Гц и ОБП – телефонный однополосный сигнал с подавленной несущей с полосой 3 кГц ). После этого сигнал попадает на усилитель звуковых частот,

 предназначенный для конечного усиления звуковой частоты до значения мощности, пригодной для воспроизведения через громкоговорители.

 Принципиальная схема  РПУ представлена в приложение 9.

5. Блок питания.

Для питания  данного РПУ требуется двухполярный источник питания, т.к. в его состав входит УЗЧ с двухполярным питанием.

На рисунке приведена схема простого преобразователя, который позволяет получать от источника ~220 В , стабилизированное напряжение -12 В. Ток нагрузки по цепи -12В может быть до 150мА.

Он состоит из понижающего трансформатора T1, двух полупериодных выпрямителей VD1,VD2 и двцух интегральных стабилизаторов DA1 и DA2. Емкости С1-С4 служат для сглаживания пульсаций напряжения.

Принципиальная схема  блока питания представлена в приложение 10.

Приложение 1.

КП303А.

Транзистор полевой P- типа, маломощный, среднечастотный, предназначен для использования в усилителях , в генераторах, и т.д.

Тип
прибора

Структура

Предельные значения параметров
при Т=25°С

Значения параметров
при Т=25°С

Тк.макс.

°С

Корпус

Uкэ.мах
(Uкэ.и.мах.)
В

Iк.мах.
(Iк.и.мах.)
мА

Рк.мах.
(Рк.и.мах.)
мВт

fгр.

мГц

h21Э


Кш

дБ

Iк.обр.
(Iэ.обр.)
мкА

1 2 3 4 5 6 7 8 9 10 11
КП303А p 60 130 (230) 250 150 160...2800 16 0,07 (13) -40...+85 ТО-18

Приложение 2.

К174ПС1

Большой универсальностью обладает функциональная микросхема К174ПС1. Она может работать в широком диапазоне частот, ее можно использовать не только в низкочастотной радиоаппаратуре, но и в радиовещательных и телевизионных устройствах.

Она представляет собой балансный смеситель, обладающий следующими основными техническими характеристиками. 

Крутизна преобразования, мА/В, не менее....... 4,5
Коэффициент шума, дБ, не более . . . . . 8
Напряжение стабилизации, В, не более ... 1
Входное напряжение, В, не более ..... 1
Верхняя частота входного сигнала, МГц, не менее .... 200
Напряжение питания, В 9±10 %
Потребляемый ток, мА, не более ..... 2,5
Предельные допустимые напряжения питания. В,
при токе нагрузки, мА:
2,5, не менее . . . 4,5
4,5, не более. . . . 15
Масса в корпусе 201.141, S г, не более, . . . . 1,5


Приложение 3.

КТ3102А

Транзистор биполярный, n-p-n типа, маломощный, высокочастотный, предназначен для использования в усилителях высокой частоты, в генераторах, и т.д.

Тип
прибора

Прово-
димость

Предельные значения параметров
при Т=25°С

Значения параметров
при Т=25°С

Тк.макс.

°С

Корпус

Uкэ.мах
(Uкэ.и.мах.)
В

Iк.мах.
(Iк.и.мах.)
мА

Рк.мах.
(Рк.и.мах.)
мВт

fгр.

мГц

h21Э


Кш

дБ

Iк.обр.
(Iэ.обр.)
мкА

1 2 3 4 5 6 7 8 9 10 11
КТ3102А n-p-n 50 100 (200) 250 300 100...250 10 0,05 (10) -40...+85 КТ-26

Приложение 4.

Полосовой фильтр ФПП-056.

Технические характеристики ФПП-056
Средняя полоса пропускания, кГц 2 МГц ± 2
Полоса пропускания по уровню –6 дБ, кГц 3,5
Неравномерность в полосе пропускания не более, дБ 1,4
Избирательность при расстройке от средней частоты  ± 9 кГц не менее, дБ 50
Вносимое затухание в полосе пропускания не более,  дБ 16,5
Вес неболее, г 3

Полосовой фильтр ФПП-023.

Технические характеристики ФПП-023
Средняя полоса пропускания, кГц 465 ± 2
Полоса пропускания по уровню –6 дБ, кГц 9,5
Неравномерность в полосе пропускания не более, дБ 2
Избирательность при расстройке от средней частоты  ± 9 кГц не менее, дБ 40
Вносимое затухание в полосе пропускания не более,  дБ 9,5
Вес неболее, г 3

Приложение 5.

К174ХА2

Микросхема К174ХА2 предназначена для использования в радиовещательных супергетеродинных приемниках I-IV классов с амплитудной модуляцией. Эта микросхема содержит следующие узлы: усилитель промежуточной частоты и АРУ.

Основные технические характеристики

Напряжение питания. В, не более 12
Ток потребления, мА 6.. .13

Чувствительность при соотношения сигнал/шум 20 дБ
на частоте 1060 кГц. мкВ, не более .............

20
Выходное напряжение, мВ . . . 60

Предельные эксплуатационные данные

Напряжение питания, В 16
Частота входного сигнала, МГц 30
Ток потребления, мА 16
Температура окружающей среды, °С -25. . . +56



Приложение 6.

К175УВ4

К175УВ4 - дифференциальный  усилитель. Микросхема К175УВ4 предназначена для использования в предусилителях высокой частоты.

Основные технические характеристики

Напряжение питания. В, не более 12
Ток потребления, мА 9.. .18

Чувствительность при соотношения сигнал/шум 20 дБ
на частоте 1060 кГц. мкВ, не более .............

45
Выходное напряжение, мВ . . . 85

Приложение 7.

К140УД1Б

К140УД1Б - операционный усилитель средней точности.

Электрические параметры:

ХАРАКТЕРИСТИКА ЗНАЧЕНИЕ
Номинальное напряжение 12,6 В.
Потребляемый ток 12 мА
Коэффициент усиления напряжения 1000-1200
Напряжение смещения нуля 7 мВ
Температурный коэффициент 20мкВ / ° С
Входной ток 8000 нА
Разностный входной ток 1500 нА

Коэффициент ослабления

синфазного сигнала

60 дБ
Частота единичного усиления 8 МГц

Скорость наростания выходного

напряжения

0,5 В/мкс

Наибольшая амплитуда выходного

напряжения

5,7 В.
Входное сопротивление 0,004МОм.

Приложение 8.


Микросхема представляет собой усилитель мощности звуковой частоты с номинальной выходной мощность 15 Вт на нагрузку 4 Ома. Имеет защиту выходного каскада от короткого замыкания и перегрузок. Аналог микросхемы TDA2020. Содержит 150 интегральный элемента. Конструктивно оформлена в корпусе типа 201.14.-12. Масса не более 1,5 гр.

1 Номинальное напряжение питания (двухполярное) ± 17В ± 10%
2

Ток потребления при Uп = ± 17 В, Uвх = 0 В не более

100 мА
3

Выходная мощность при Uп = ± 17 В, Rн = 4 Ома, Кг = 1%

15 Вт

4

Коэффициент гармоник при Uп = ± 17 В, Rн = 4 Ома,
Рвых = 0,15…15 Вт


£ 1 %

5

Максимальное входное напряжение при Uп = ± 17 В,
Рвых = 10 Вт не более


250 мВ

6

Напряжение шумов на выходе при Uп = ± 17 В, Rн = 4 Ома

£ 1,0 мВ
7 Коэффициент подавления пульсаций частотой 100 Гц ³ 45 Дб
8

Входное сопротивление при Uп = ± 17 В, fвх = 1 кГц

³ 100 кОм

Предельно допустимые режимы эксплуатации

1 Напряжение питания ± 5 … ± 18 В
2

Максимальный ток нагрузки при Uп = ± 17 В, Rн = 0,1 Ома

2,4 А
3 Максимальное входное напряжение £ 10 В

4

Тепловое сопротивление:
кристалл-среда


70°С/Вт

5 Температура окружающей среды - 10 …+ 55°С
6 Температура кристалла + 150 °С

© 2012 Рефераты, курсовые и дипломные работы.