рефераты
Главная

Рефераты по рекламе

Рефераты по физике

Рефераты по философии

Рефераты по финансам

Рефераты по химии

Рефераты по хозяйственному праву

Рефераты по цифровым устройствам

Рефераты по экологическому праву

Рефераты по экономико-математическому моделированию

Рефераты по экономической географии

Рефераты по экономической теории

Рефераты по этике

Рефераты по юриспруденции

Рефераты по языковедению

Рефераты по юридическим наукам

Рефераты по истории

Рефераты по компьютерным наукам

Рефераты по медицинским наукам

Рефераты по финансовым наукам

Рефераты по управленческим наукам

Психология и педагогика

Промышленность производство

Биология и химия

Языкознание филология

Издательское дело и полиграфия

Рефераты по краеведению и этнографии

Рефераты по религии и мифологии

Рефераты по медицине

Рефераты по сексологии

Рефераты по информатике программированию

Краткое содержание произведений

Реферат: Алмазные пленки

Реферат: Алмазные пленки

СОДЕРЖАНИЕ


Введение 3

Синтез углеродных алмазоподобных пленок ионным

методом 3

Метод ионно-лучевого осаждения 3

Описание установки 6

Характеристики ионного источника 8

Синтез алмазных пленок при взаимодействии низкотемпературной плазмы с поверхностью молибдена 10

Экспериментальная установка 11

Литература 13

ВВЕДЕНИЕ


Алмаз - самый твердый материал из всех ныне известных, и в наименьшей степени, чем какой-либо другой материал, поддается сжатию. Алмаз обладает также большой теплопроводностью при комнатной температуре, и если в нем нет дефектов и посторонних включений, это один из самых прозрачных для видимого света материал.

Свойства алмаза обусловлены его необычной кристаллической структурой. Помимо чисто научного интереса необычные свойства алмаза делают его весьма полезным для технических целей. Этот драгоценный камень широко используется как абразив в промышленности, в промышленности, как режущий инструмент в хирургии и как теплоотвод в электронных приборах. Установлено, что алмазы, содержащие различные примеси, ведут себя как полупроводники. Но природные кристаллы слишком малы и дороги для практического применения. Сейчас положение в этой области исследования меняется. В течении последних лет специалисты разработали немало технологических приемов осаждения алмазных пленок толщина которых лежит от сотен ангстрем до нескольких миллиметров. Синтез алмазных и алмазоподобных пленок является актуальной задачей на сегодняшний день.

Тонкие алмазные пленки привлекают к себе все большее внимание благодаря таким уникальным свойствам, как чрезвычайно высокая твердость, высокая теплопроводность, прозрачность в широком оптическом диапазоне, большое удельное сопротивление. Кроме того, алмазные пленки со специально введенными примесями могут использоваться в качестве полупроводниковых материалов. В большинстве случаев специфические свойства пленок обусловливаются различными типами дефектов, многие из которых могут быть обнаружены с помощью ЭПР. Однако их идентификация сталкивается с огромными трудностями, поскольку микрокристаллиты в этих пленках, как правило, частично ориентированы. Более определенными в этом отношении оказываются полностью неупорядоченные поликристаллические алмазы, карбонадо.

ССМ изображение алмазоподобной пленки на поверхности стекла. Размер скана 286x280 нм.

Синтез углеродных алмазоподобных пленок ионным методом.


Метод ионно-лучевого осаждения


Одним из основных достоинств метода осаждения из ионных пучков является возможность получения веществ, не существующих в природе или находящихся при нормальных условиях в метастабильном состоянии (например, алмаз, карбид кремния).

Ранее такие материалы получали только при высоких давлениях и температуре или в сильных ударных волнах. Рост пленки при ионно-лучевом осаждении позволяет получать плотные кристаллические модификации, не прибегая к традиционным методам.

Существует большое количество веществ имеющих ряд устойчивых кристаллических модификаций. В каждом состоянии решетка будет обладать своим минимумом свободной энергии. Так для углерода существует несколько устойчивых модификаций соответствующих графиту, алмазу, металлическому углероду и другим плотным алмазоподобным структурам. В таком случае обеспечить ионам энергию, необходимого для преодоления потенциального барьера, отделяющего одну кристаллическую фазу от другой, можно простым регулированием потенциала подложки. Причем разброс ионов по энергии не должен превышать разность в высоте потенциальных барьеров, разделяющих две близких кристаллических модификации. Максимальная энергия падающих ионов определяется энергетическим порогом дефектообразования (для алмаза 60-80 эВ). С учетом возможной потери энергии падающих ионов и диапазон их энергетического распределения является важнейшим, но не единственным условием, т.к. механизм взаимодействия при синтезе материалов из энергетических ионных пучков сложен. Осаждение иона на поверхность сопровождается релаксационными колебаниями, разогревом поверхности за счет выделения энергии. Перечисленные эффекты, безусловно, не охватывают весь комплекс явлений сопровождающих процесс конденсации. Действие некоторых из них будет отрицательным для синтеза. Воздействовать на степень того или иного эффекта можно различными путями, например, изменять температуру подложки или условия подлета ионов к поверхности или одновременно с осаждением ионов облучать поверхность электронными или ионными пучками. В исследовании источником ионов является прототип космического электрореактивного двигателя (ЭРД), который в литературе называют ускорителем с анодным слоем и азимутальным дрейфом (УАД). В УАД разгон ионов происходит в квазинейтральной плазме, а потому могут быть получены более высокие, чем обычно, значения плотностей ионного тока. УАД обладает также рядом других достоинств: универсальностью к рабочему веществу, возможностью управления потока и т.д. Принципиальная схема источника показана на рис.1.

Со стороны анода в ускоритель поступает поток ионов, которые создаются вблизи анода путем ионизации нейтральных атомов. Металлические стенки ускорительного канала находятся под катодным потенциалом. Магнитная система создает в кольцевом зазоре ускорителя радиальное магнитное поле, постепенно спадающее в области анода и у среза ускорителя. Магнитное поле в основном имеет поперечную компоненту, а электрическое - продольную, поэтому такие системы называют еще ускорителями в скрещенных электрических и магнитных полях или ВЕ разрядом. В скрещенных В и Е полях на электроны действует сила Лоренца, вызывая их дрейф в азимутальном направлении. В результате, в кольцевом зазоре формируется двойной азимутально-однородный электрический слой. В этих условиях подвижность электронов поперек магнитного поля резко ограничена и внешнее электрическое поле совершает работу главным образом над ионами, ускоряя их вдоль оси системы.


Рис.1
Источник ионов (ЭРД).
1.-магнитопровод. 2.-анод. 3.-металлическая оболочка-катод. 4.-изолятор.
5.- канал для подвода рабочего вещества.

Ток и энергия пучка ускоренных частиц - это основные характеристики ускорителя любого типа, позволяющие определить производительность установки и возможность ее использования в том или ином производственном процессе или эксперименте. Цилиндр Фарадея - это наиболее распространенный прибор, используемый в качестве первичного эталонного прибора для измерения токов пучков заряженных частиц. При измерении тока, пучок частиц попадает на изолированный от окружающих предметов электрод, который задерживает частицы пучка и почти все вторичные частицы, образующиеся при столкновении частиц пучка с материалом электрода.

Основные достоинства рассматриваемого метода - высокая точность и возможность измерения весьма малых токов. К недостаткам цилиндра Фарадея относятся большие размеры и невозможность получить информацию о токе пучка, не нарушив его. Принципиальная схема цилиндра Фарадея показана на рис.2.

Рис.2 Зонд для измерения плотности тока.

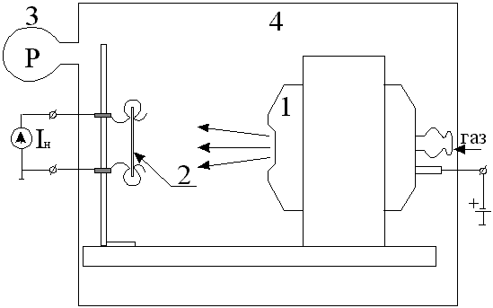
Описание установки.

Схема используемой установки для напыления пленок показана на рис.3. В рабочий откачиваемый объем помещен источник ионов (1), формирующий поток ионизированного газа. Перед соплом источника крепится подложка (2) - пластина монокристалла кремния, нагреваемая пропусканием постоянного тока.

Рис.3 Схема установки.

Температура подложки определялась по температурной зависимости сопротивления кремня, измеренной в ходе предварительной работы.

Характеристики ионного источника

При работе с ионным источником необходимо знать его характеристики. На рис.4,5 представлены зависимости плотности ионного тока в зависимости от расстояния до источника и угла в плоскости оси источника соответственно.

Рис.4 Зависимость плотности плотности тока
пучка ионов от расстояния до источника.

Скорость роста пленок в подобных экспериментах малы. Помещая подложку в область с максимальной плотностью падающих частиц, увеличивается скорость осаждения. Зная геометрическое распределение потока можно оценить неоднородность толщины напыленной пленки или принять специальные меры для ликвидации этой неоднородности.


Рис.5 Зависимость плотности тока пучка ионов от угла.

СИНТЕЗ АЛМАЗНЫХ ПЛЁНОК
ПРИ ВЗАИМОДЕЙСТВИИ НИЗКОТЕМПЕРАТУРНОЙ ПЛАЗМЫ
С ПОВЕРХНОСТЬЮ МОЛИБДЕНА


Особый интерес для синтеза алмазных плёнок представляют плазменные "тонкоплёночные" технологии, которые позволяют получать плёнки высокого качества [2,3]. Как правило, это вакуумные способы. В работах [4,5] описан плазменный метод синтеза алмазных поликристаллических плёнок при горении ацетилена в кислороде при атмосферном давлении.

Одна из важных проблем при получении покрытий данным способом связана со стабильностью свойств плёнки при нормальных условиях после её охлаждения (адгезия, например). Необходимо оптимизировать теплофизические условия синтеза, среди которых - понижение температуры подложки - одна из основных проблем.
Установлено, что для синтеза плёнок оптимальная температура подложки (Мо, Si ): Тп = 1070-1300К [6 -14]. Тем не менее возникают вопросы, связанные с точностью измерения температуры поверхности. При использовании пирометрического двух-лучевого способа измерения необходимы поправки с учетом свойств пламени и оптических свойств изменяющейся растущей углеродной плёнки. Термопарный метод так же нуждается в поправках, связанными с теплофизическими свойствами подложки и способами крепления термопары. Известно, что пламенный метод характеризуется значительными тепловыми потоками ( > 2 Mвт/м2) и температура поверхности роста может существенно отличаться от измеряемой температуры подложки. Важно определить температуру поверхности на начальной стадии роста, когда монокристаллы растут свободно: перед тем, как вырастет сплошная плёнка. Такой подход позволит лучше понять механизм зарождения алмазной плёнки.


ЭКСПЕРИМЕНТАЛЬНАЯ УСТАНОВКА


Установка позволяет провести исследования при известных [6-14] условиях синтеза: температура подложки - от 300 до 1500 К; расход газов: 1 - 4 л /мин и их отношение: R = О2 /C2H2 - до 2.5; расстояние между ядром пламени и подложкой - более 0.5мм. На рис.1 изображены: горелка - 1 (диаметр сопла: 1мм) над поверхностью подложки - 2, помещенной в теплообменник - 3 с зажимами - 4; теплоизолятор - 5 между подложкой и теплообменником, укреплённым на координатнике - 6; термопара - 7 вставлена в тело подложки и поджата пружинами - 8; измерители расхода воды - 9 и газов -10. В качестве материала подложки использовали молибденовые цилиндры (высота 5 и диаметр 10 мм). Спай термопары прижимался к подложке с помощью пружин. Проведенное исследование с помощью теплового датчика показало, что температура поверхности выше температуры подложки в точке измерения не более чем на 17 К при Тп = 900 К, а ошибка в измерении температуры, связанная со способом крепления термопары в молибденовой подложке, не превышает 60К при температуре 900К и определялась по точкам плавления химически чистого олова и меди в качестве реперов в специальном эксперименте.

Поверхностный слой плёнок исследовался на спектрометре комбинационного рассеяния (КР) "TRIPLEMATE (SPEX - USA) и на сканирующем электронном микроскопе "Fillips". При электронно-графическом исследовании на просвечивающем микроскопе "Jeol - 100 СX" для калибровки использовали частицы золота и природные алмазы.



Рис. 1. Схема экспериментальной установки.

Литература


  1. АЛМАЗ в электронной технике. Сборник статей. Отв. ред. В.Б. Квасков. Москва, Энергоатомиздат. 1990 г. 245стр.

  2. Рассеяние света в твёрдых телах. Под. ред. М. Кардона и Г. Гюнтеродта// Вып. 3, М.: Мир, 1985.

  3. В.А. Черепанов, А.С. Золкин, Б.А. Колесов, К.Т. Мурзахметов, B.И. Семёнов. АЛМАЗОПОДОБНЫЕ ГРАНУЛИРОВАННЫЕ ПЛЁНКИ НА КРЕМНИИ, ПОЛУЧЕННЫЕ ПРИ ГОРЕНИИ АЦЕТИЛЕНА.

http://www.nsu.ru/cgi-in/psj?fname=http://src.nsu.ru/win/journals/phys_stud/articles/paper5.html

14



© 2012 Рефераты, курсовые и дипломные работы.