рефераты
Главная

Рефераты по рекламе

Рефераты по физике

Рефераты по философии

Рефераты по финансам

Рефераты по химии

Рефераты по хозяйственному праву

Рефераты по цифровым устройствам

Рефераты по экологическому праву

Рефераты по экономико-математическому моделированию

Рефераты по экономической географии

Рефераты по экономической теории

Рефераты по этике

Рефераты по юриспруденции

Рефераты по языковедению

Рефераты по юридическим наукам

Рефераты по истории

Рефераты по компьютерным наукам

Рефераты по медицинским наукам

Рефераты по финансовым наукам

Рефераты по управленческим наукам

Психология и педагогика

Промышленность производство

Биология и химия

Языкознание филология

Издательское дело и полиграфия

Рефераты по краеведению и этнографии

Рефераты по религии и мифологии

Рефераты по медицине

Рефераты по сексологии

Рефераты по информатике программированию

Краткое содержание произведений

Реферат: Электрокинетические явления при фильтрации жидкости в пористой среде

Реферат: Электрокинетические явления при фильтрации жидкости в пористой среде

Министерство общего и профессионального образования РФ

Башкирский государственный университет

Физический факультет

Кафедра прикладной физики

КУРСОВАЯ РАБОТА

Тема: «Электрокинетические явления и их роль при фильтрации углеводородной жидкости в пористой среде»

Выполнил: студент III курса

 группы ФГД Магадеев А.В.

Научный руководитель:

Академик РАЕН, член-корр.

 АН РБ, доктор физ. - мат. наук,

 проф. Саяхов Ф.Л.

Уфа-1999

Оглавление

1.         Физика электрокинетических явлений                                                3

2.         Потенциал и ток течения фильтрации жидкости в пористой среде. Методы их экспериментального исследования                 7

3.      Электрокинетические явления при  воздействии   внешнего

электрического поля                                                                     9

4.     Электрокинетические явления в нефтедобыче                                     15

ЛИТЕРАТУРА                                                                               17


1.         Физика электрокинетических явлений

Электрокинетические явления определяют многие особенности фильтрации жидкостей через пористые среды. Эти особенности, очевидно, связаны с электрофизическими свойствами, как пористой среды, так и насыщающей жидкости. Эти явления связаны с наличием ионно-электростатических полей и границ поверхностей в растворах электролитов (двойной электрический слой). Распределение ионов в электролите у заряженной поверхности пористой среды имеет диффузный характер, т.е. противоионы не располагаются в каком-то одном слое, за пределами которого электрическое поле отсутствует, а находиться у поверхности в виде “ионной атмосферы”, возникающей вследствие теплового движения ионов и молекул жидкости. Концентрация ионов, наибольшая вблизи адсорбированного слоя, убывает с расстоянием от твердой поверхности до тех пор, пока не сравняется со средней их концентрацией в растворе. Область между диффузной частью двойного  слоя и поверхностью твердого тела называют плотной частью двойного электрического слоя (слой Гельмгольца) на рисунке 1 схематически показано распределение потенциала в двойном электрическом слое (при отсутствии специфической, т.е. не электростатической адсорбции). Толщина плотной части d двойного  электрического слоя  приблизительно равна радиусу ионов, составляющих слой.

Подпись: lПодпись: jРис. 1: Распределение потенциала в двойном электрическом слое

Подпись: ζПодпись: dj - потенциал между поверхностью твердого тела и электролитом, ζ - потенциал диффузной части двойного слоя

Толщина диффузной части λ двойного слоя в очень разбавленных растворах составляет  несколько сотен нанометров.

При относительном движении твердой и жидкой фазы скольжение происходит не у самой твердой поверхности, а на некотором расстоянии, имеющем размеры, близкие к молекулярным.

Интенсивность электрокинетических процессов характеризуются не всем скачком потенциала между твердой фазой и жидкостью, а значит его между частью жидкости, неразрывно связанной с твердой фазой, и остальным раствором (электрокинетический потенциал или   ζ – потенциал). Наличие двойного электрического слоя на границах разделов способствует возникновению электрокинетических явлений (электроосмоса, электрофореза, потенциала протекания и др.). Все они имеют общий механизм возникновения связанный с относительным движением твердой фазы. При движении электролита в пористой среде образуется электрическое поле (потенциал протекания). Если на пористую среду будет действовать электрическое поле, то под влиянием ионов происходит движение раствора электролита в связи с тем, что направленный поток избыточных  ионов диффузного слоя увлекает за собой массу жидкости в пористой среде под действием трения и молекулярного сцепления. Этот процесс называется электроосмосом. При действии электрического поля на смесь дисперсных частиц происходит движение дисперсной фазы. Это называется электрофорезом. В таком случае частицы раздробленной твердой или жидкой фазы переносятся к катоду или аноду в массе неподвижной дисперсной среды.

По природе электрофорез зеркальное отображение электроосмоса, и поэтому эти явления описываются уравнениями имеющими одинаковую структуру. Количественно зависимость скорости электроосмоса от параметров электрического поля и свойств пористой среды и жидкостей описывается формулой Гельмгольца-Смолуховского:

                       (1.1)

где υ - расход жидкости под действием электроосмоса;

S – суммарная площадь поперечного сечения капиллярных каналов пористой среды;

ζ – падение потенциала в подвижной части двойного слоя (дзета-потенциал);

D – диэлектрическая проницаемость;

h = E/L – градиент потенциала;

Е. – потенциал, приложенный к пористой среде длинной L;

μ – вязкость жидкости.

Учитывая, что сопротивление жидкости

 ,    (1.2)            а        (1.3)

            (1.4)

где χ –удельная электропроводимость жидкости;

I – сила тока, можно написать

                                (1.5)

Формулу (1.1) можно представить по формуле аналогичной закону Дарси.

               (1.6)

Здесь F – площадь образца, m – пористость образца;

Rэ – электроосмотический коэффициент проницаемости.

По закону Дарси расход жидкости

                      (1.7)

При совпадении направления фильтрации с результатом проявления электроосмоса суммарный расход жидкости

                    (1.8)

или

                         (1.8а)

Для оценки степени участия в потоке электроосмических процессов в зависимости приложенного потенциала можно также использовать соотношение

                     (1.9)

Принципиальная возможность повышение скорости фильтрации за счет электроосмоса доказано экспериментально. Однако многие вопросы приложения электрокинетических явлений в нефтепромысловой практике недостаточно изучены.

Как следует, из уравнения Гельмгольца-Смолуховского, интенсивность электроосмоса зависит в значительной мере от ζ – потенциала, который обладает характерными свойствами, зависящими от строения диффузного слоя. Особый интерес для промысловой практики представляет зависимость значения ζ – потенциала от концентрации и свойств электролитов. Сопровождается уменьшением толщины диффузного слоя и снижением электрокинетического потенциала. При некоторой концентрации электролита скорость электрокинетических процессов становиться равной нулю.

Электрокинетический потенциал может при этом не только быть равным  нулю, но и приобретать противоположный знак. Это явление наблюдается при значительной адсорбции ионов на поверхности когда общий заряд ионов в плотном слое может оказаться больше заряда поверхности твердого тела.

2.         Потенциал и ток течения фильтрации жидкости в пористой среде. Методы их экспериментального исследования

Проницаемость пористой среды определялась для радиальной фильтрации по формуле

                        (2.1)

где       η – вязкость жидкости,

Q – расход жидкости,

D – наружный диаметр керна,

d – внутренний диаметр керна,

h – высота керна,

∆p – перепад давления между входом и выходом пористой среды.

Как следует из теории Гельмгольца-Смолуховского, потенциал протекания описывается формулой

,           (2.2)

где       ε – диэлектрическая проницаемость жидкости,

∆p – перепад давления,

ζ – электрический потенциал,

δ- удельная электропроводимость,

η – вязкость,

а ток течения

                     (2.3)

где       Q – расход жидкости в единицу времени.

Сравнивая формулы (2.2) и (2.3) можно получить:

                           (2.4)

Как видно из этих формул, электрокинетические явления в насыщенных пористых средах можно изучать, измеряя потенциал или ток протекания. Для воды измеряется потенциал протекания, а для трансформаторного масла – ток течения.

Уменьшение потенциала ведет к уменьшению электрокинетических сил, противодействующих движению, а, следовательно, расход постепенно увеличивается. Одновременно с этим происходит увеличение вязкости жидкости по квадратичному закону, в соответствии с формулой (2.2) происходит еще большее уменьшение потенциала протекания. Увеличение вязкости ведет к уменьшению расхода.

Однако, по мере увеличения напряженности поля, происходит утолщение двойного электрического слоя и диффузионной части за счет энергии внешнего электрического поля, к увеличению ζ – потенциала, а, следовательно, к увеличению потенциала протекания. Для трансформаторного масла наоборот. Таким образом, можно сделать вывод, что изменение напряженности внешнего электрического поля, перпендикулярного потоку можно управлять расходом жидкости и потенциалом, или током течения, а, следовательно, и свойствами двойного электрического слоя.

3.           электрокинетические явления при  воздействии   внешнего электрического поля

При воздействии электрических полей на двойной электрический слой, показывает, что при движении жидкости вблизи межфазной поверхности в электрическом поле, возникает ряд явлений, из которых можно отметить некоторые моменты. В электролите внешнее электрическое поле вызывает движение ионов. В двойном слое существует местное преобладание ионов одного знака. Вследствие этого под действием внешнего электрического поля движение ионов происходит в одном направлении, что вызывает механическое перемещение жидкости. Сила воздействия электрического поля на двойной электрический слой описывается соотношением:

                    (3.1)

где       ρe – плотность заряда в диффузном слое;

E – напряженность электрического поля.

Профиль скорости при наличии электрического поля существенно отличается от профиля скорости при отсутствии движущихся сил в двойном электрическом слое.

При движении жидкости у границы раздела фаз в двойном слое возникает перенос зарядов - ток переноса. Этот ток компенсируется возвратным током проводимости. Взаимодействие тока с равномерным магнитным полем вызывает дополнительное движение жидкости вдоль направления движения.

При наложении скрещенных электрического и магнитного полей дополнительно возникает движение, обусловленное взаимодействием токов.


Зависимость явлений переноса вблизи поверхности раздела фаз от свойств двойного слоя, с одной стороны, и возможность в известных пределах управлять движением и свойствами двойного слоя, с другой стороны – позволяют управлять процессами обмена между фазами и,  в частности, интенсифицировать их. Большой эффект в интенсификации процесса следует ожидать при использовании двух жидких фаз. Действием электрического поля и магнитного поля можно заставить межфазную поверхность двигаться в желаемом направлении со значительной скоростью. Движение межфазной поверхности и прилегающих слоев приводит к интенсивному перемешиванию жидкости в каждой из фаз, что также способствует интенсификации обмена.

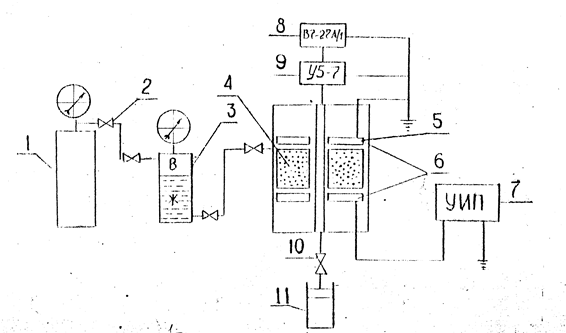
Рис. 2 Схема экспериментальной установки.

Комплекс экспериментов, связанных с исследованием электрокинетических явлений при фильтрации жидкости через пористую среду и воздействия электромагнитных полей на эти явления позволяет проводить разработанная экспериментальная установка (рис.1 – 2).

Установка включает в себя кернодержатель особой конструкции с пористой средой 4 и электродами 6, электрометрический усилитель 9 с цифровым вольтметром 8, баллон с воздухом 1, колонку 3 с исследуемой жидкостью, источник электрического поля 7, мерный цилиндр 11.


Главным узлом в экспериментальной установке является кернодержатель специальной конструкции, который включает в себя (рис. 3): цилиндрический корпус 1, с центральной трубкой 2, между которыми установлен кольце образный образец пористой среды 3, зажатый между фторопластовыми шайбами 4 и герметизирующими втулками 5. Необходимый упор осуществляется крышками 6,

Рис.3 Кернодержатель для изучения электрокинетических явлений.

герметизация втулок производиться нефтестойкими кольцами 8, установленными в канавках, прижатыми сальниками 9. Для подачи жидкости в пористую среду служит кольцо 7, в котором имеются посадочные места для вентилей.

Для создания внешнего электрического поля в кольцевых выточках втулок установлены электроды 11, от которых отходят выводы 10 для подключения к источнику электрического поля, на корпусе и центральной трубке по окружности просверлена система отверстий, образующих своеобразную сетку, которые служат для равномерной подачи и выхода жидкости в пористой среде и эффективного отбора заряда из потока жидкости.

Размеры электродов 11 выбраны из соображений малости искажения линий напряженности электрического поля, и чтобы уменьшить вероятность пробоя, при больших напряжениях. Все это ведет к уменьшению возникающих нелинейных факторов.

Конструкция кернодержателя позволяет изменить высоту и толщину кольца образца пористой среды. Все это дает возможность исследовать электрокинетические явления в образцах пористых сред в большом интервале проницаемости. В качестве прибора, регистрирующего потенциал протекания и тока течения, используется электрометрический усилитель У5-7, обладающий большим входным сопротивлением и малыми токами утечки и позволяющий измерить постоянные и медленно меняющиеся токи положительно заряженных частиц от источников с большим внутренним сопротивлением, а также Э.Д.С.. Погрешность самого прибора составляет 4 % для Э.Д.С. и 6 % для токов.

Для повышения точности отсчета к выходу усилителя подключается вольтметр 8, типа В7-27. Источником  электрического поля 7 служит универсальный источник питания УИП-1, позволяющий подавать стабилизированное напряжение на электроде, при малой величине пульсаций выходных напряжений. Для подачи жидкости в пористую среду использовалась 3-х литровая колонка высокого давления 3, которая заполнялась исследуемой жидкостью. Давление в колонке поддерживалось с помощью баллона 1. Вытекающая из кернодержателя жидкость собиралась в мерный цилиндр 11.

В качестве пористой среды в экспериментах использовался искусственный керн из огнеупорной керамики. Керн в виде кольца с тщательно прошлифованными торцами, зажимается между фторопластовыми шайбами с помощью герметизирующих втулок 5 и крышек 6. Вследствие достаточной эластичности фторопласта, керн вжимался в него, этим самым исключалось проскальзывание фильтрующей жидкости вдоль фторопластовой шайбы, которая одновременно служила для изоляции электродов от керна. Далее кернодержатель насыщался под вакуумом исследуемой жидкостью и подключался к установке. В качестве адсорбируемых жидкостей использовались дистиллированная вода и очищенное фильтрацией через селикагель и активированный сульфоуголь, трансформаторное масло.

Проницаемость пористой среды определялась для радиальной фильтрации по формуле

              (3.2)

где       η – вязкость жидкости,

Q – расход жидкости,

D – наружный диаметр керна,

d – внутренний диаметр керна,

h – высота керна,

∆p – перепад давления между входом и выходом пористой среды.

Как следует из теории Гельмгольца-Смолуховского, потенциал протекания описывается формулой

            (3.3)

где       ε – диэлектрическая проницаемость жидкости,

∆p – перепад давления,

ζ – электрический потенциал,

δ- удельная электропроводимость,

η – вязкость,

а ток течения

                     (3.4)

где       Q – расход жидкости в единицу времени.

Сравнивая формулы (3.3) и (3.4) можно получить:

                           (3.5)

Как видно из этих формул, электрокинетические явления в насыщенных пористых средах можно изучать, измеряя потенциал или ток протекания. Для воды измеряется потенциал протекания, а для трансформаторного масла – ток течения.

Методика проведения экспериментов сводилась к измерению потенциала протекания или тока течения при различных расходах жидкости, зависящих от перепада давления, как без наложения, так и с наложением внешнего постоянного электрического поля.

В процессе эксперимента исследуемая жидкость из колонки 3 под давлением, создаваемым баллоном 1 поступила в кернодержатель и, пройдя через пористую среду, собиралась в мерном цилиндре 11.

При повышении напряжения на электродах, образуется электрическое поле, перпендикулярное потоку воды в пористой среде и которое, взаимодействуя с зарядами двойного электрического слоя в его диффузионной части, приводит к связыванию зарядов за счет электрических сил и, тем самым, приводит к уменьшению зарядов, выносимых потоком жидкости, и уменьшению потенциала протекания.

Уменьшение потенциала ведет к уменьшению электрокинетических сил, противодействующих движению, а, следовательно, расход постепенно увеличивается. Одновременно с этим происходит увеличение вязкости жидкости по квадратичному закону, в соответствии с формулой (3.3) происходит еще большее уменьшение потенциала протекания. Увеличение вязкости ведет к уменьшению расхода. Однако, по мере увеличения напряженности поля, происходит утолщение  и диффузионной части за счет энергии внешнего электрического поля, к увеличению ζ – потенциала, а,

Подобная картина наблюдается и при исследовании тока течения и для трансформаторного масла. Разница заключается лишь в том, что ток течения описывается формулой (3.4) и увеличивается с перегибом кривой в области максимума расхода.

Таким образом, можно сделать вывод, что изменение напряженности внешнего электрического поля, перпендикулярного потоку можно управлять расходом жидкости и потенциалом, или током течения, а, следовательно, и свойствами двойного электрического слоя.

В данном разделе рассмотрена роль электрокинетических явлений при фильтрации жидкостей через пористые среды и влияние электромагнитных полей и различных факторов на эти явления. Разработанная экспериментальная установка позволила освоить методику исследования электрокинетических явлений в насыщенных пористых средах при наложении внешних электрических полей.

4.Электрокинетические явления

в нефтедобыче

Электрокинетические явления определяют многие особенности фильтрации жидкостей через пористые среды. Эти особенности, очевидно, связаны с электрофизическими свойствами, как пористой среды, так и насыщающей жидкости. Поэтому вопросы изучения роли электрокинетических явлений и возможности влияния на них внешними электрическими полями представляют большой интерес для нефтяной промышленности. При воздействии электрических полей на двойной электрический слой, показывает, что при движении жидкости вблизи межфазной поверхности в электрическом поле, возникает ряд явлений, из которых можно отметить некоторые моменты. В электролите внешнее электрическое поле вызывает движение ионов. В двойном слое существует местное преобладание ионов одного знака. Вследствие этого под действием внешнего электрического поля движение ионов происходит в одном направлении, что вызывает механическое перемещение жидкости. При движении жидкости у границы раздела фаз в двойном слое возникает перенос зарядов - ток переноса. Этот ток компенсируется возвратным током проводимости. Взаимодействие тока с равномерным магнитным полем вызывает дополнительное движение жидкости вдоль направления движения.

При наложении скрещенных электрического и магнитного полей дополнительно возникает движение, обусловленное взаимодействием токов. Зависимость явлений переноса вблизи поверхности раздела фаз от свойств двойного слоя, с одной стороны, и возможность в известных пределах управлять движением и свойствами двойного слоя, с другой стороны – позволяют управлять процессами обмена между фазами и,  в частности, интенсифицировать их. Большой эффект в интенсификации процесса следует ожидать при использовании двух жидких фаз. Действием электрического поля и магнитного поля можно заставить межфазную поверхность двигаться в желаемом направлении со значительной скоростью. Движение межфазной поверхности и прилегающих слоев приводит к интенсивному перемешиванию жидкости в каждой из фаз, что также способствует интенсификации обмена. Этим самым мы можем сказать, что с помощью электрокинетических сил можно придать нефти не только направление, но и скорость течения.


© 2012 Рефераты, курсовые и дипломные работы.